CN218759790U - Tunnel blast hole cleaning device - Google Patents
Tunnel blast hole cleaning device Download PDFInfo
- Publication number
- CN218759790U CN218759790U CN202223253502.4U CN202223253502U CN218759790U CN 218759790 U CN218759790 U CN 218759790U CN 202223253502 U CN202223253502 U CN 202223253502U CN 218759790 U CN218759790 U CN 218759790U
- Authority
- CN
- China
- Prior art keywords
- dust
- cover
- dust recovery
- box
- box body
- Prior art date
- Legal status (The legal status is an assumption and is not a legal conclusion. Google has not performed a legal analysis and makes no representation as to the accuracy of the status listed.)
- Active
Links
- 238000004140 cleaning Methods 0.000 title claims abstract description 17
- 239000000428 dust Substances 0.000 claims abstract description 89
- 238000011084 recovery Methods 0.000 claims abstract description 48
- 239000002184 metal Substances 0.000 claims abstract description 26
- 238000005422 blasting Methods 0.000 claims abstract description 8
- 239000002893 slag Substances 0.000 claims description 15
- 238000007789 sealing Methods 0.000 claims description 5
- 238000010926 purge Methods 0.000 abstract description 8
- 239000000463 material Substances 0.000 abstract description 2
- 238000007664 blowing Methods 0.000 description 2
- 230000009286 beneficial effect Effects 0.000 description 1
- 238000010586 diagram Methods 0.000 description 1
- 238000005553 drilling Methods 0.000 description 1
- 239000002360 explosive Substances 0.000 description 1
- 238000000034 method Methods 0.000 description 1
- 230000000241 respiratory effect Effects 0.000 description 1
- 239000007921 spray Substances 0.000 description 1
Images
Landscapes
- Filtering Of Dispersed Particles In Gases (AREA)
Abstract
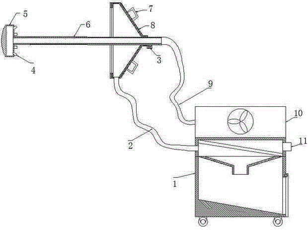
本实用新型公开了一种隧道爆破孔清理装置,包括箱体、粉尘回收罩,所述箱体的内部固定有倾斜布置的粉尘滤网,所述箱体的内部且位于粉尘滤网的下方固定有接料漏斗,所述箱体的侧边连通有排气管,所述箱体的顶部安装有鼓风机;所述粉尘回收罩的内部滑动套接有金属导风管,所述粉尘回收罩上安装有用于带动金属导风管平移的平移机构,所述金属导风管的一端通过送风软管与鼓风机的出气口连通,所述粉尘回收罩通过粉尘回收软管与箱体连通,所述金属导风管的另一端连通有气罩,所述气罩的侧边连通有喷管。本实用新型箱体用于回收吹扫产生的粉尘,过滤后的气体通过排气管排出,这样就不会造成吹扫时尘土飞扬而影响操作者和周边人员的健康。
The utility model discloses a tunnel blasting hole cleaning device, which comprises a box body and a dust recovery cover. The inside of the box body is fixed with an obliquely arranged dust filter screen, and the inside of the box body is fixed below the dust filter screen. There is a material receiving funnel, an exhaust pipe is connected to the side of the box, and a blower is installed on the top of the box; the inside of the dust recovery cover is slidingly sleeved with a metal air duct, and the dust recovery cover is A translation mechanism is installed to drive the translation of the metal air guide pipe. One end of the metal air guide pipe communicates with the air outlet of the blower through the air supply hose, and the dust recovery cover communicates with the box through the dust recovery hose. The other end of the metal air duct communicates with an air cover, and the side of the air cover communicates with a nozzle. The box body of the utility model is used to recover the dust produced by purging, and the filtered gas is discharged through the exhaust pipe, so that the dust will not fly during the purging and affect the health of the operator and surrounding personnel.
Description
技术领域technical field
本实用新型涉及爆破孔清理技术领域,尤其涉及一种隧道爆破孔清理装置。The utility model relates to the technical field of blast hole cleaning, in particular to a tunnel blast hole cleaning device.
背景技术Background technique
我们知道,隧道炮孔在钻孔完成后需要对内部进行清理,以避免内部的尘土等对炸药装填造成影响。授权公告号为CN217647055U的中国专利,公开了一种爆破用炮孔高压风吹扫装置,该专利可以对炮孔进行充分吹扫,达到清理炮孔的目的。但是在实际的使用中我们发现,吹出的粉尘没有收集而是弥漫在周围,对使用者和周边的人员造成严重的粉尘污染,影响他们的呼吸健康。We know that the inside of the tunnel blast hole needs to be cleaned after the drilling is completed, so as to avoid the impact of the internal dust on the explosive loading. Authorized notification number is the Chinese patent of CN217647055U, discloses a kind of blasting blast hole high-pressure wind blowing device, and this patent can carry out sufficient blowing to blast hole, reaches the purpose of cleaning blast hole. However, in actual use, we found that the blown dust was not collected but diffused around, causing serious dust pollution to users and surrounding personnel, and affecting their respiratory health.
实用新型内容Utility model content
本实用新型的目的是为了解决现有技术中存在的缺点,而提出的一种隧道爆破孔清理装置。The purpose of the utility model is to solve the shortcomings in the prior art, and propose a tunnel blast hole cleaning device.
为了实现上述目的,本实用新型采用了如下技术方案:In order to achieve the above object, the utility model adopts the following technical solutions:
一种隧道爆破孔清理装置,包括箱体、粉尘回收罩,所述箱体的内部固定有倾斜布置的粉尘滤网,所述箱体的内部且位于粉尘滤网的下方固定有接料漏斗,所述箱体的侧边连通有排气管,所述箱体的顶部安装有鼓风机;A tunnel blasting hole cleaning device, comprising a box body and a dust recovery cover, the inside of the box body is fixed with a dust filter screen arranged obliquely, and the inside of the box body is fixed with a material receiving funnel under the dust filter screen, The side of the box is connected with an exhaust pipe, and the top of the box is equipped with a blower;
所述粉尘回收罩的内部滑动套接有金属导风管,所述粉尘回收罩上安装有用于带动金属导风管平移的平移机构,所述金属导风管的一端通过送风软管与鼓风机的出气口连通,所述粉尘回收罩通过粉尘回收软管与箱体连通,所述金属导风管的另一端连通有气罩,所述气罩的侧边连通有喷管。The inside of the dust recovery cover is slidingly sleeved with a metal air guide tube, and a translation mechanism for driving the metal air guide tube to translate is installed on the dust recovery cover. One end of the metal air guide tube passes through the air supply hose and the blower. The air outlet is connected, the dust recovery cover is connected with the box through the dust recovery hose, the other end of the metal air guide tube is connected with the gas cover, and the side of the gas cover is connected with the nozzle.
优选的,所述箱体的底部安装有滚轮,所述箱体的内部底部为坡面结构,所述粉尘回收罩的侧边固定有把手。Preferably, the bottom of the box is equipped with rollers, the inner bottom of the box is a slope structure, and the side of the dust recovery cover is fixed with a handle.
优选的,所述箱体的侧边底部开设有排渣孔,所述排渣孔上铰接有排渣门。Preferably, a slag discharge hole is opened at the bottom of the side of the box, and a slag discharge door is hinged on the slag discharge hole.
优选的,所述平移机构包括支架、电机、齿轮、齿条,所述电机通过支架固定在粉尘回收罩上,所述电机的输出轴套接有齿轮,所述齿条固定在金属导风管上。Preferably, the translation mechanism includes a bracket, a motor, a gear, and a rack, the motor is fixed on the dust recovery cover through the bracket, the output shaft of the motor is sleeved with a gear, and the rack is fixed on the metal air duct superior.
优选的,所述粉尘回收罩上靠近气罩的一端为敞口,所述粉尘回收罩的敞口边缘固定有密封垫圈。Preferably, one end of the dust recovery hood close to the gas hood is open, and a sealing gasket is fixed on the opening edge of the dust recovery hood.
与现有技术相比,本实用新型的有益效果是:Compared with the prior art, the beneficial effects of the utility model are:
1、本实用新型中,将粉尘回收罩顶在隧道爆破孔的端口,电机可带动齿轮转动,通过齿轮与齿条的啮合可带动齿条平移,齿条带动金属导风管同步移动,从而可通过平移机构将气罩送入到隧道爆破孔内,鼓风机产生高压气流,高压气流依次通过送风软管、金属导风管、气罩、喷管并从喷管喷出吹扫在隧道爆破孔内,吹起来的尘土通过粉尘回收罩回收,然后通过粉尘回收管进入到箱体内,粉尘通过粉尘滤网过滤后,尘土落入箱体内,箱体用于回收吹扫产生的粉尘,过滤后的气体通过排气管排出,这样就不会造成吹扫时尘土飞扬而影响操作者和周边人员的健康;1. In this utility model, the dust recovery cover is placed on the port of the tunnel blast hole, the motor can drive the gear to rotate, and the gear rack can be driven to translate through the meshing of the gear and the rack, and the rack drives the metal air duct to move synchronously, so that The air cover is sent into the blast hole of the tunnel through the translation mechanism, the blower generates high-pressure airflow, and the high-pressure air flow passes through the air supply hose, the metal air guide pipe, the air cover, and the nozzle in sequence, and is sprayed from the nozzle to blow the blast hole in the tunnel. Inside, the blown dust is recovered through the dust recovery cover, and then enters the box through the dust recovery pipe. After the dust is filtered through the dust filter, the dust falls into the box. The box is used to recover the dust generated by purging. The gas is discharged through the exhaust pipe, so that it will not cause dust to fly during purging and affect the health of the operator and surrounding personnel;
2、本实用新型中,滚轮方便箱体移动,箱体的内部底部为坡面结构,坡面结构便于粉尘从箱体内排出,把手方便使用者将粉尘回收罩压在隧道爆破孔上,打开排渣门即可通过排渣孔排出粉尘,密封垫圈有助于提高粉尘回收罩与隧道爆破孔外侧的贴合,便于更好的收集粉尘。2. In the utility model, the rollers facilitate the movement of the box body. The inner bottom of the box body is a slope structure, which facilitates the discharge of dust from the box body. The slag door can discharge the dust through the slag discharge hole, and the sealing gasket helps to improve the fit between the dust recovery cover and the outside of the tunnel blast hole, so as to facilitate better dust collection.
附图说明Description of drawings
图1为本实用新型提出的一种隧道爆破孔清理装置的结构示意图;Fig. 1 is the structural representation of a kind of tunnel blast hole cleaning device proposed by the utility model;
图2为本实用新型提出的一种隧道爆破孔清理装置的箱体的剖视图;Fig. 2 is the sectional view of the casing of a kind of tunnel blast hole cleaning device proposed by the utility model;
图3为本实用新型提出的一种隧道爆破孔清理装置的气罩的剖视图;Fig. 3 is the sectional view of the air cover of a kind of tunnel blasting hole cleaning device proposed by the utility model;
图4为本实用新型提出的一种隧道爆破孔清理装置的平移机构的结构示意图。Fig. 4 is a structural schematic diagram of a translation mechanism of a tunnel blast hole cleaning device proposed by the utility model.
图中:1箱体、2粉尘回收软管、3平移机构、31支架、32电机、33齿轮、34齿条、4喷管、5气罩、6金属导风管、7把手、8粉尘回收罩、9送风软管、10鼓风机、11排气管、12滚轮、13接料漏斗、14粉尘滤网、15排渣门、16排渣孔。In the figure: 1 box body, 2 dust recovery hose, 3 translation mechanism, 31 bracket, 32 motor, 33 gear, 34 rack, 4 nozzle, 5 air cover, 6 metal air duct, 7 handle, 8 dust recovery Cover, 9 air supply hose, 10 blower, 11 exhaust pipe, 12 roller, 13 receiving funnel, 14 dust filter, 15 slag discharge door, 16 slag discharge hole.
具体实施方式Detailed ways
下面将结合本实用新型实施例中的附图,对本实用新型实施例中的技术方案进行清楚、完整地描述,显然,所描述的实施例仅仅是本实用新型一部分实施例,而不是全部的实施例。The technical solutions in the embodiments of the present invention will be clearly and completely described below in conjunction with the accompanying drawings in the embodiments of the present invention. Obviously, the described embodiments are only part of the embodiments of the present invention, not all of them. example.
参照图1-3,一种隧道爆破孔清理装置,包括箱体1、粉尘回收罩8,箱体1用于回收吹扫产生的粉尘,箱体1的内部固定有倾斜布置的粉尘滤网14,箱体1的内部且位于粉尘滤网14的下方固定有接料漏斗13,箱体1的侧边连通有排气管11,箱体1的顶部安装有鼓风机10;粉尘回收罩8的内部滑动套接有金属导风管6,粉尘回收罩8上安装有用于带动金属导风管6平移的平移机构3,金属导风管6的一端通过送风软管9与鼓风机10的出气口连通,粉尘回收罩8通过粉尘回收软管2与箱体1连通,金属导风管6的另一端连通有气罩5,气罩5的侧边连通有喷管4,将粉尘回收罩8顶在隧道爆破孔的端口,通过平移机构3将气罩5送入到隧道爆破孔内,鼓风机10产生高压气流,高压气流依次通过送风软管9、金属导风管6、气罩5、喷管4并从喷管4喷出吹扫在隧道爆破孔内,吹起来的尘土通过粉尘回收罩8回收,然后通过粉尘回收管2进入到箱体1内,粉尘通过粉尘滤网13过滤后,尘土落入箱体1内,过滤后的气体通过排气管11排出,这样就不会造成吹扫时尘土飞扬而影响操作者和周边人员的健康。Referring to Figures 1-3, a tunnel blast hole cleaning device includes a
箱体1的底部安装有滚轮12,滚轮12方便箱体1移动,箱体1的内部底部为坡面结构,坡面结构便于粉尘从箱体1内排出,粉尘回收罩8的侧边固定有把手7,把手7方便使用者将粉尘回收罩8压在隧道爆破孔上,箱体1的侧边底部开设有排渣孔16,排渣孔16上铰接有排渣门15,打开排渣门15即可通过排渣孔16排出粉尘,粉尘回收罩8上靠近气罩5的一端为敞口,粉尘回收罩8的敞口边缘固定有密封垫圈,密封垫圈有助于提高粉尘回收罩8与隧道爆破孔外侧的贴合,便于更好的收集粉尘。The bottom of the
参照图4,平移机构3包括支架31、电机32、齿轮33、齿条34,电机32通过支架31固定在粉尘回收罩8上,电机32的输出轴套接有齿轮33,齿条34固定在金属导风管6上,电机32可带动齿轮33转动,通过齿轮33与齿条34的啮合可带动齿条34平移,齿条34带动金属导风管6同步移动。With reference to Fig. 4, translation mechanism 3 comprises
工作原理:使用时,将粉尘回收罩8顶在隧道爆破孔的端口,电机32可带动齿轮33转动,通过齿轮33与齿条34的啮合可带动齿条34平移,齿条34带动金属导风管6同步移动,从而可通过平移机构3将气罩5送入到隧道爆破孔内,鼓风机10产生高压气流,高压气流依次通过送风软管9、金属导风管6、气罩5、喷管4并从喷管4喷出吹扫在隧道爆破孔内,吹起来的尘土通过粉尘回收罩8回收,然后通过粉尘回收管2进入到箱体1内,粉尘通过粉尘滤网13过滤后,尘土落入箱体1内,箱体1用于回收吹扫产生的粉尘,过滤后的气体通过排气管11排出,这样就不会造成吹扫时尘土飞扬而影响操作者和周边人员的健康;Working principle: When in use, put the
滚轮12方便箱体1移动,箱体1的内部底部为坡面结构,坡面结构便于粉尘从箱体1内排出,把手7方便使用者将粉尘回收罩8压在隧道爆破孔上,打开排渣门15即可通过排渣孔16排出粉尘,密封垫圈有助于提高粉尘回收罩8与隧道爆破孔外侧的贴合,便于更好的收集粉尘。The
以上所述,仅为本实用新型较佳的具体实施方式,但本实用新型的保护范围并不局限于此,任何熟悉本技术领域的技术人员在本实用新型揭露的技术范围内,根据本实用新型的技术方案及其实用新型构思加以等同替换或改变,都应涵盖在本实用新型的保护范围之内。The above is only a preferred embodiment of the utility model, but the scope of protection of the utility model is not limited thereto. The equivalent replacement or change of the new technical solution and the concept of the utility model shall be covered by the protection scope of the utility model.
Claims (5)
Priority Applications (1)
| Application Number | Priority Date | Filing Date | Title |
|---|---|---|---|
| CN202223253502.4U CN218759790U (en) | 2022-12-06 | 2022-12-06 | Tunnel blast hole cleaning device |
Applications Claiming Priority (1)
| Application Number | Priority Date | Filing Date | Title |
|---|---|---|---|
| CN202223253502.4U CN218759790U (en) | 2022-12-06 | 2022-12-06 | Tunnel blast hole cleaning device |
Publications (1)
| Publication Number | Publication Date |
|---|---|
| CN218759790U true CN218759790U (en) | 2023-03-28 |
Family
ID=85680875
Family Applications (1)
| Application Number | Title | Priority Date | Filing Date |
|---|---|---|---|
| CN202223253502.4U Active CN218759790U (en) | 2022-12-06 | 2022-12-06 | Tunnel blast hole cleaning device |
Country Status (1)
| Country | Link |
|---|---|
| CN (1) | CN218759790U (en) |
-
2022
- 2022-12-06 CN CN202223253502.4U patent/CN218759790U/en active Active
Similar Documents
| Publication | Publication Date | Title |
|---|---|---|
| CN108150119B (en) | Dry type filtering and dust removing system for mining drilling hole | |
| CN209116361U (en) | A kind of energy saving and environment friendly coal-burning boiler | |
| CN218759790U (en) | Tunnel blast hole cleaning device | |
| CN219272518U (en) | Fuel filtering equipment | |
| CN221933400U (en) | Automatic ash removal structure of sack cleaner | |
| CN211913075U (en) | Bag-type dust collector | |
| CN222754670U (en) | Welding device for automobile covering part | |
| CN219848821U (en) | Dust-containing air treatment equipment | |
| CN218451978U (en) | Dust removal structure with dust collection structure | |
| CN218610766U (en) | A dust collection device for circuit board production and processing | |
| CN213077796U (en) | A pulse dust collector for feed production | |
| CN216630057U (en) | Telescopic dust removal mechanism for coal breaker | |
| CN222445816U (en) | Dust removing device for factory building | |
| CN117323765A (en) | Anti-blocking clinker cement production line waste gas treatment device | |
| CN215026989U (en) | Device for improving dust removal efficiency of bag-type dust remover | |
| CN211189605U (en) | Incinerator smoke collecting device | |
| CN116727400A (en) | New energy-saving and environmentally friendly laboratory CNC fume hood | |
| CN208852567U (en) | A long-bag pulse bag filter for garbage disposal | |
| CN209952438U (en) | A high temperature resistant filter bag dust removal device | |
| CN217041767U (en) | Automatic ash removal device for air filter element | |
| CN220276601U (en) | The method comprises the following steps of: industrial flue gas purifying device for treatment | |
| CN218653543U (en) | Welding fume dust remover | |
| CN219744228U (en) | Portable bag type dust collector | |
| CN216464028U (en) | Vacuum dust type shot blasting machine | |
| CN223144365U (en) | Clear stifled device of dust remover |
Legal Events
| Date | Code | Title | Description |
|---|---|---|---|
| GR01 | Patent grant | ||
| GR01 | Patent grant |
