CN218745869U - Special welding jig of intelligence wrist-watch PCBA board - Google Patents
Special welding jig of intelligence wrist-watch PCBA board Download PDFInfo
- Publication number
- CN218745869U CN218745869U CN202223218357.6U CN202223218357U CN218745869U CN 218745869 U CN218745869 U CN 218745869U CN 202223218357 U CN202223218357 U CN 202223218357U CN 218745869 U CN218745869 U CN 218745869U
- Authority
- CN
- China
- Prior art keywords
- fixed
- fixture
- arc
- pcba board
- shaped
- Prior art date
- Legal status (The legal status is an assumption and is not a legal conclusion. Google has not performed a legal analysis and makes no representation as to the accuracy of the status listed.)
- Active
Links
Images
Landscapes
- Butt Welding And Welding Of Specific Article (AREA)
Abstract
本实用新型公开了一种智能手表PCBA板专用焊接夹具,包括夹具,所述夹具上端面的四个端脚均固定设有定位杆,所述夹具的上方设有压板,所述压板的四个端脚均开设有定位槽,四个所述定位杆均卡入四个所述定位槽内,所述夹具的内部设有插槽,所述插槽内部的两侧均设有固定弧形块,两个所述固定弧形块与所述夹具之间设有活动轴,所述固定弧形块与所述夹具通过活动轴活动连接,所述固定弧形块与所述夹具内壁之间设有弹簧A,所述插槽内部的两侧均设有固定板,所述固定板的一侧固定设有弹性杆,所述弹性杆的外部套设有弹簧B,所述压板的上方设有固定压块。本实用新型通过一种新型的夹具,加强夹持的稳定性,提高工作效率。
The utility model discloses a special welding fixture for the PCBA board of a smart watch, which comprises a fixture. Positioning rods are fixed on the four end legs of the upper end surface of the fixture, and a pressing plate is arranged above the fixture. The end legs are all provided with positioning slots, the four positioning rods are all snapped into the four positioning slots, the inside of the clamp is provided with slots, and both sides of the slots are provided with fixed arc blocks , a movable shaft is provided between the two fixed arc-shaped blocks and the fixture, the fixed arc-shaped block and the fixture are movably connected through a movable shaft, and a movable shaft is arranged between the fixed arc-shaped block and the inner wall of the fixture There is a spring A, both sides of the inside of the slot are provided with a fixed plate, one side of the fixed plate is fixed with an elastic rod, the outside of the elastic rod is provided with a spring B, and the top of the pressure plate is provided with Fixed block. The utility model strengthens the clamping stability and improves the work efficiency through a novel clamp.
Description
技术领域technical field
本实用新型涉及手表PCBA板专用焊接夹具技术领域,具体为一种智能手表PCBA板专用焊接夹具。The utility model relates to the technical field of special welding fixtures for watch PCBA boards, in particular to a special welding fixture for smart watch PCBA boards.
背景技术Background technique
随着社会经济的快速发展,PCBA指的是将PCB板进行SMT贴片、DIP插件以及测试等装配,制成一个成品,我们可以理解为它是一个成品的线路板。With the rapid development of social economy, PCBA refers to the assembly of PCB boards by SMT, DIP plug-in and testing to make a finished product. We can understand it as a finished circuit board.
在对其进行焊接时便需要用到一种夹具,将其固定在进行焊接,保证焊接的准确和稳定性。Just need to use a kind of fixture when it is welded, it is fixed on welding, guarantees the accuracy and stability of welding.
但是,现有的夹具不能很好的对PCBA板进行夹持,降低了工作效率;因此,不满足现有的需求,对此我们提出了一种智能手表PCBA板专用焊接夹具。However, the existing fixture cannot clamp the PCBA board very well, which reduces the work efficiency; therefore, it does not meet the existing needs, and we propose a special welding fixture for the smart watch PCBA board.
实用新型内容Utility model content
本实用新型的目的在于提供一种智能手表PCBA板专用焊接夹具,以解决上述背景技术中提出的现有的夹具不能很好的对PCBA板进行夹持,降低了工作效率等问题。The purpose of this utility model is to provide a special welding jig for smart watch PCBA boards, to solve the problems that the existing jigs proposed in the above-mentioned background technology cannot clamp the PCBA boards well and reduce work efficiency.
为实现上述目的,本实用新型提供如下技术方案:一种智能手表PCBA板专用焊接夹具,包括夹具,所述夹具上端面的四个端脚均固定设有定位杆,所述夹具的上方设有压板,所述压板的四个端脚均开设有定位槽,四个所述定位杆均卡入四个所述定位槽内,所述夹具的内部设有插槽,所述插槽内部的两侧均设有固定弧形块,两个所述固定弧形块与所述夹具之间设有活动轴,所述固定弧形块与所述夹具通过活动轴活动连接,所述固定弧形块与所述夹具内壁之间设有弹簧A,所述插槽内部的两侧均设有固定板,所述固定板的一侧固定设有弹性杆,所述弹性杆的外部套设有弹簧B,所述压板的上方设有固定压块,所述固定压块的下方设有弧形插杆,所述弧形插杆插入所述插槽内,所述弧形插杆内部的两侧均设有弧形槽,所述固定弧形块卡入所述弧形槽内。In order to achieve the above purpose, the utility model provides the following technical solutions: a special welding fixture for smart watch PCBA boards, including a fixture, the four end legs of the upper end surface of the fixture are fixed with positioning rods, and the top of the fixture is provided with Pressing plate, the four end pins of the pressing plate are all provided with positioning grooves, the four positioning rods are all snapped into the four positioning grooves, the inside of the clamp is provided with slots, and the two inside the slots Both sides are provided with fixed arc-shaped blocks, a movable shaft is arranged between the two fixed arc-shaped blocks and the clamp, the fixed arc-shaped block and the clamp are movably connected through a movable shaft, and the fixed arc-shaped block A spring A is provided between the inner wall of the fixture, a fixed plate is provided on both sides of the inside of the slot, an elastic rod is fixed on one side of the fixed plate, and a spring B is sleeved on the outside of the elastic rod , a fixed pressing block is arranged above the pressing plate, and an arc-shaped inserting rod is arranged under the fixed pressing block, and the arc-shaped inserting rod is inserted into the slot, and both sides inside the arc-shaped inserting rod are An arc-shaped slot is provided, and the fixed arc-shaped block is snapped into the arc-shaped slot.
优选的,所述夹具的内部设有安置槽,所述PCBA板卡入所述安置槽内,用于PCBA板的固定。Preferably, a placement groove is provided inside the clamp, and the PCBA board is snapped into the placement groove for fixing the PCBA board.
优选的,所述压板的两侧均开设有凹型槽,所述固定压块卡入所述凹型槽内,起到定位的固定作用。Preferably, both sides of the pressing plate are provided with concave grooves, and the fixed pressing block is snapped into the concave grooves to play a role of positioning and fixing.
优选的,所述固定板为橡胶材质,加强对弧形插杆的固定。Preferably, the fixing plate is made of rubber to strengthen the fixing of the arc-shaped insertion rod.
优选的,所述夹具的四个端脚均设有防撞垫,起到防撞的作用。Preferably, the four end legs of the clamp are provided with anti-collision pads to play a role in anti-collision.
优选的,所述压板的四个端面均设有延伸块,加强对PCBA板的夹持固定。Preferably, the four end surfaces of the pressure plate are all provided with extension blocks to strengthen the clamping and fixing of the PCBA board.
与现有技术相比,本实用新型的有益效果是:Compared with the prior art, the beneficial effects of the utility model are:
1、本实用新型通过将PCBA板放置到夹具当中,在通过压板压在PCBA板的上方,则通过压板四个端脚所开设的定位槽对准夹具上端面四个端脚的定位杆将其卡入,则刚好将PCBA板压住,再将带有弧形插杆的固定压块对准压板内部的插槽将其插入,在插入之后则插槽内部两侧的固定弧形块会在弧形插杆的压力下被向两侧压动,则同时固定弧形块在活动轴的带动下向两侧移动,则同时固定弧形块与夹具内部的弹簧A进行压缩运动,则当弧形插杆完全插入插槽内部之后刚好固定弧形块到达弧形插杆两侧内部的弧形槽,则同时被压缩的弹簧A弹出,将固定弧形块卡入弧形槽内部便可对其进行固定。1. In the utility model, the PCBA board is placed in the fixture, and the pressure plate is pressed on the top of the PCBA board, and the positioning grooves opened by the four end legs of the pressure plate are aligned with the positioning rods of the four end legs on the upper end surface of the fixture. Just press the PCBA board, and then align the fixed pressing block with the arc-shaped insertion rod with the slot inside the pressing plate and insert it. After insertion, the fixed arc-shaped blocks on both sides inside the slot will be in place. The arc-shaped plunger is pressed to both sides, and at the same time the fixed arc-shaped block moves to both sides under the drive of the movable shaft, and the fixed arc-shaped block and the spring A inside the fixture perform compression movement at the same time, then when the arc After the plunger is fully inserted into the slot, just when the fixed arc block reaches the inner arc grooves on both sides of the arc plunger, the compressed spring A pops up at the same time, and the fixed arc block is snapped into the arc groove. It is fixed.
附图说明Description of drawings
图1为本实用新型整体的结构示意图;Fig. 1 is the overall structural representation of the utility model;
图2为本实用新型压板的结构示意图;Fig. 2 is the structural representation of the utility model pressing plate;
图3为本实用新型插接结构的局部结构示意图;Fig. 3 is a partial structural schematic diagram of the plug-in structure of the utility model;
图4为本实用新型插接结构A处的局部放大结构示意图。Fig. 4 is a schematic diagram of a partially enlarged structure of the insertion structure A of the present invention.
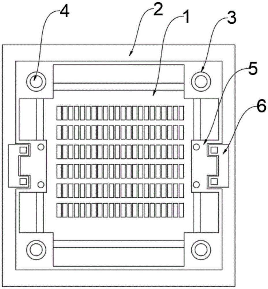
图中:1、PCBA板;2、夹具;3、定位槽;4、定位杆;5、压板;6、固定压块;7、活动轴;8、弧形插杆;9、插槽;10、固定弧形块;11、弹簧A;12、弹簧B;13、固定板;14、弧形槽;15、弹性杆。In the figure: 1, PCBA board; 2, fixture; 3, positioning groove; 4, positioning rod; 5, pressure plate; 6, fixed pressing block; 7, movable shaft; 11. Spring A; 12. Spring B; 13. Fixed plate; 14. Arc groove; 15. Elastic rod.
具体实施方式Detailed ways
下面将结合本实用新型实施例中的附图,对本实用新型实施例中的技术方案进行清楚、完整地描述,显然,所描述的实施例仅仅是本实用新型一部分实施例,而不是全部的实施例。The technical solutions in the embodiments of the present invention will be clearly and completely described below in conjunction with the accompanying drawings in the embodiments of the present invention. Obviously, the described embodiments are only part of the embodiments of the present invention, not all of them. example.
请参阅图1至图4,本实用新型提供的一种实施例:一种智能手表PCBA板专用焊接夹具,包括夹具2,夹具2上端面的四个端脚均固定设有定位杆4,夹具2的上方设有压板5,压板5的四个端脚均开设有定位槽3,四个定位杆4均卡入四个定位槽3内,夹具2的内部设有插槽9,插槽9内部的两侧均设有固定弧形块10,两个固定弧形块10与夹具2之间设有活动轴7,固定弧形块10与夹具2通过活动轴7活动连接,固定弧形块10与夹具2内壁之间设有弹簧A11,插槽9内部的两侧均设有固定板13,固定板13的一侧固定设有弹性杆15,弹性杆15的外部套设有弹簧B12,压板5的上方设有固定压块6,固定压块6的下方设有弧形插杆8,弧形插杆8插入插槽9内,弧形插杆8内部的两侧均设有弧形槽14,固定弧形块10卡入弧形槽14内,通过将PCBA板1放置到夹具2当中,在通过压板5压在PCBA板1的上方,则通过压板5四个端脚所开设的定位槽3对准夹具2上端面四个端脚的定位杆4将其卡入,则刚好将PCBA板1压住。Please refer to Fig. 1 to Fig. 4, an embodiment provided by the utility model: a special welding fixture for smart watch PCBA board, including a
进一步,夹具2的内部设有安置槽,PCBA板1卡入安置槽内,用于PCBA板1的固定。Further, the inside of the
进一步,压板5的两侧均开设有凹型槽,固定压块6卡入凹型槽内,起到定位的固定作用。Further, both sides of the
进一步,固定板13为橡胶材质,加强对弧形插杆8的固定。Further, the
进一步,夹具2的四个端脚均设有防撞垫,起到防撞的作用。Further, the four end legs of the
进一步,压板5的四个端面均设有延伸块,加强对PCBA板1的夹持固定。Further, the four end surfaces of the
工作原理:使用时,再将带有弧形插杆8的固定压块6对准压板5内部的插槽9将其插入,在插入之后则插槽9内部两侧的固定弧形块10会在弧形插杆8的压力下被向两侧压动,则同时固定弧形块10在活动轴7的带动下向两侧移动,则同时固定弧形块10与夹具2内部的弹簧A11进行压缩运动,则当弧形插杆8完全插入插槽9内部之后刚好固定弧形块10到达弧形插杆8两侧内部的弧形槽14,则同时被压缩的弹簧A11弹出,将固定弧形块10卡入弧形槽14内部便可对其进行固定。Working principle: when in use, align the fixed
对于本领域技术人员而言,显然本实用新型不限于上述示范性实施例的细节,而且在不背离本实用新型的精神或基本特征的情况下,能够以其他的具体形式实现本实用新型。因此,无论从哪一点来看,均应将实施例看作是示范性的,而且是非限制性的,本实用新型的范围由所附权利要求而不是上述说明限定,因此旨在将落在权利要求的等同要件的含义和范围内的所有变化囊括在本实用新型内。不应将权利要求中的任何附图标记视为限制所涉及的权利要求。It is obvious to those skilled in the art that the present invention is not limited to the details of the above exemplary embodiments, and that the present invention can be implemented in other specific forms without departing from the spirit or essential features of the present invention. Therefore, no matter from all points of view, the embodiments should be regarded as exemplary and non-restrictive, and the scope of the present invention is defined by the appended claims rather than the above description, so it is intended to fall within the scope of the claims All changes within the meaning and range of equivalents of the required elements are included in the present invention. Any reference sign in a claim should not be construed as limiting the claim concerned.
Claims (6)
Priority Applications (1)
| Application Number | Priority Date | Filing Date | Title |
|---|---|---|---|
| CN202223218357.6U CN218745869U (en) | 2022-12-02 | 2022-12-02 | Special welding jig of intelligence wrist-watch PCBA board |
Applications Claiming Priority (1)
| Application Number | Priority Date | Filing Date | Title |
|---|---|---|---|
| CN202223218357.6U CN218745869U (en) | 2022-12-02 | 2022-12-02 | Special welding jig of intelligence wrist-watch PCBA board |
Publications (1)
| Publication Number | Publication Date |
|---|---|
| CN218745869U true CN218745869U (en) | 2023-03-28 |
Family
ID=85677145
Family Applications (1)
| Application Number | Title | Priority Date | Filing Date |
|---|---|---|---|
| CN202223218357.6U Active CN218745869U (en) | 2022-12-02 | 2022-12-02 | Special welding jig of intelligence wrist-watch PCBA board |
Country Status (1)
| Country | Link |
|---|---|
| CN (1) | CN218745869U (en) |
-
2022
- 2022-12-02 CN CN202223218357.6U patent/CN218745869U/en active Active
Similar Documents
| Publication | Publication Date | Title |
|---|---|---|
| CN205790179U (en) | A kind of lug apparatus for shaping | |
| CN218745869U (en) | Special welding jig of intelligence wrist-watch PCBA board | |
| CN207806833U (en) | A kind of I-shaped chip inductor pin scolding tin fixture | |
| CN218873556U (en) | A lead bending device for processing electronic components | |
| CN108672595A (en) | Three-pin inductor forming and testing integrated machine | |
| CN219598346U (en) | A PCB board pin repair welding device | |
| CN110320455B (en) | A multi-station inspection device for transformer production | |
| CN110883265B (en) | A resistance automatic bending foot device | |
| CN215682799U (en) | A double-sided DIP wave soldering fixture for double-sided SMT components | |
| CN208099176U (en) | A three-legged inductance forming and testing all-in-one machine | |
| CN206775924U (en) | A kind of jig component of power supply adaptor automatic production line | |
| CN219633150U (en) | Positioning fixture for automatic equipment | |
| CN213240277U (en) | PCBA test fixture | |
| CN205491467U (en) | A PCBA fixture | |
| CN219046109U (en) | On-line test equipment functional circuit board maintenance platform | |
| CN220156749U (en) | Press fit jig | |
| CN207639089U (en) | A kind of assembled fixture of PCB and shell | |
| CN207681889U (en) | A kind of screw tightening machine with self-starting function | |
| CN215773740U (en) | Auxiliary crimping fixture table for PCB welding | |
| CN221849154U (en) | Robot welding frock | |
| CN210850214U (en) | SMT paster storage rack | |
| CN222830885U (en) | Welding pin foot tool of LED lamp plate | |
| CN209394127U (en) | It is a kind of for guaranteeing the positioning device of component assembly height | |
| CN205987559U (en) | A clamping device for FPC board clamping equipment | |
| CN221019588U (en) | A press-fit tool for oil seal |
Legal Events
| Date | Code | Title | Description |
|---|---|---|---|
| GR01 | Patent grant | ||
| GR01 | Patent grant | ||
| CP03 | Change of name, title or address | ||
| CP03 | Change of name, title or address |
Address after: 523000 Guangdong Province, Humen Town, Jinning Road No. 14, Room 301 and 402 Patentee after: Dongguan Weixin Electronic Technology Co.,Ltd. Country or region after: China Address before: 523000 3rd floor, building e, Jinfeng Industrial Zone, Jinning Road, xiaojiejiao community, Humen Town, Dongguan City, Guangdong Province Patentee before: Dongguan Weixin Electronic Technology Co.,Ltd. Country or region before: China |
