CN218613946U - A mould clamping device for mould processing - Google Patents
A mould clamping device for mould processing Download PDFInfo
- Publication number
- CN218613946U CN218613946U CN202222918476.6U CN202222918476U CN218613946U CN 218613946 U CN218613946 U CN 218613946U CN 202222918476 U CN202222918476 U CN 202222918476U CN 218613946 U CN218613946 U CN 218613946U
- Authority
- CN
- China
- Prior art keywords
- baffle
- moving shaft
- mold
- clamping device
- support column
- Prior art date
- Legal status (The legal status is an assumption and is not a legal conclusion. Google has not performed a legal analysis and makes no representation as to the accuracy of the status listed.)
- Expired - Fee Related
Links
Images
Classifications
-
- Y—GENERAL TAGGING OF NEW TECHNOLOGICAL DEVELOPMENTS; GENERAL TAGGING OF CROSS-SECTIONAL TECHNOLOGIES SPANNING OVER SEVERAL SECTIONS OF THE IPC; TECHNICAL SUBJECTS COVERED BY FORMER USPC CROSS-REFERENCE ART COLLECTIONS [XRACs] AND DIGESTS
- Y02—TECHNOLOGIES OR APPLICATIONS FOR MITIGATION OR ADAPTATION AGAINST CLIMATE CHANGE
- Y02P—CLIMATE CHANGE MITIGATION TECHNOLOGIES IN THE PRODUCTION OR PROCESSING OF GOODS
- Y02P40/00—Technologies relating to the processing of minerals
- Y02P40/50—Glass production, e.g. reusing waste heat during processing or shaping
- Y02P40/57—Improving the yield, e-g- reduction of reject rates
Landscapes
- Moulds For Moulding Plastics Or The Like (AREA)
Abstract
本实用新型公开了一种用于模具加工的模具夹持装置,涉及到一种模具加工领域,包括底座顶部设置有支撑柱,支撑柱外部设置有第一移动轴,第一移动轴内侧设置有第二移动轴,第二移动轴一侧设置有第二调节把手,第二移动轴一侧设置有限位盘,第二移动轴一侧设置有第一挡板,第一挡板一侧设置有第二挡板,第二挡板底部设置有第三挡板,第三挡板底部设置有第四挡板,第四挡板顶部设置有待加工的模具。本实用新型通过设置套筒固定于不同的定位孔,达到调整装置高度的目的,适用于不同高度的模具,通过设置插栓与不同的固定槽插接,可以调整第二移动轴的旋转角度,可以适用与不同角度的模具。
The utility model discloses a mold clamping device for mold processing, and relates to the field of mold processing, comprising a supporting column arranged on the top of the base, a first moving shaft arranged outside the supporting column, and a first moving shaft arranged inside the first moving shaft The second moving shaft, a second adjustment handle is arranged on one side of the second moving shaft, a limit plate is arranged on one side of the second moving shaft, a first baffle is arranged on one side of the second moving shaft, and a first baffle is arranged on one side of the first baffle The second baffle, the bottom of the second baffle is provided with a third baffle, the bottom of the third baffle is provided with a fourth baffle, and the top of the fourth baffle is provided with a mold to be processed. The utility model achieves the purpose of adjusting the height of the device by setting the sleeve to be fixed in different positioning holes, and is suitable for molds of different heights. The rotation angle of the second moving shaft can be adjusted by setting the plug and plugging in different fixing slots. It can be applied to molds with different angles.
Description
技术领域technical field
本实用新型涉及一种模具加工领域,特别涉及一种用于模具加工的模具夹持装置。The utility model relates to the field of mold processing, in particular to a mold clamping device for mold processing.
背景技术Background technique
如专利一种用于模具加工的模具夹持装置(申请号:CN202121700545.5)中,该一种便于模具斜面加工的夹具设计合理,使用时,首先通过推手和脚轮的配合对底框进行移动,将装置移动到需要夹持的模具外侧,然后通过开关控制电机开始工作,从而对移动板的高度位置进行调节,使得底框插入到模具加工台的底部,此时夹持架两端的导向轮和柔性环套起到对夹持架端部导向的作用,避免夹持架的端部直接撞击在模具上,然后通过开关控制电动缸开始工作,电动缸带动电动夹板对模具进行夹持,同时夹板带动托板移动到模具的下方对模具形成托举,此时导向杆起到对夹板的导向和支撑作用,完成对模具的夹持工作,但不可调整模具的大小、不便于不同尺寸模具使用,因此,发明一种便于模具斜面加工的夹具来解决上述问题很有必要。For example, in the patent of a mold clamping device for mold processing (application number: CN202121700545.5), the design of the fixture for mold slope processing is reasonable. When in use, the bottom frame is first moved by the cooperation of the push handle and the casters , move the device to the outside of the mold that needs to be clamped, and then control the motor to start working through the switch, so as to adjust the height of the moving plate, so that the bottom frame is inserted into the bottom of the mold processing table, and the guide wheels at both ends of the clamping frame And the flexible ring plays a role in guiding the end of the clamping frame to prevent the end of the clamping frame from directly hitting the mold, and then the electric cylinder is controlled by the switch to start working, and the electric cylinder drives the electric splint to clamp the mold, and at the same time The splint drives the supporting plate to move to the bottom of the mold to lift the mold. At this time, the guide rod guides and supports the splint to complete the clamping work of the mold, but the size of the mold cannot be adjusted, which is not convenient for different size molds. , Therefore, it is necessary to invent a fixture that facilitates mold slope processing to solve the above problems.
实用新型内容Utility model content
本实用新型的目的在于提供一种用于模具加工的模具夹持装置,以解决上述背景技术中提出的不可调整模具的大小、不便于不同尺寸模具使用问题。The purpose of this utility model is to provide a mold clamping device for mold processing, so as to solve the problem that the size of the mold cannot be adjusted and it is inconvenient to use molds of different sizes proposed in the above background technology.
为实现上述目的,本实用新型提供如下技术方案:一种用于模具加工的模具夹持装置,包括底座,所述底座顶部设置有支撑柱,所述支撑柱外部设置有第一移动轴,所述第一移动轴内侧设置有第二移动轴,所述第二移动轴一侧设置有第二调节把手,所述第二移动轴一侧设置有限位盘,所述第二移动轴一侧设置有第一挡板,所述第一挡板一侧设置有第二挡板,所述第二挡板底部设置有第三挡板,所述第三挡板底部设置有第四挡板,所述第四挡板顶部设置有待加工的模具。In order to achieve the above object, the utility model provides the following technical solutions: a mold clamping device for mold processing, including a base, a support column is provided on the top of the base, and a first moving shaft is provided outside the support column. The inner side of the first moving shaft is provided with a second moving shaft, one side of the second moving shaft is provided with a second adjustment handle, one side of the second moving shaft is provided with a limit plate, and one side of the second moving shaft is provided There is a first baffle, a second baffle is provided on one side of the first baffle, a third baffle is provided at the bottom of the second baffle, and a fourth baffle is provided at the bottom of the third baffle, so A mold to be processed is arranged on the top of the fourth baffle.
优选的,所述支撑柱外部设置有套筒,所述套筒与支撑柱固定连接。Preferably, a sleeve is arranged on the outside of the support column, and the sleeve is fixedly connected with the support column.
优选的,所述支撑柱顶部设置有限位块,所述支撑柱与限位块固定连接。Preferably, a limit block is arranged on the top of the support column, and the support column is fixedly connected with the limit block.
优选的,所述支撑柱顶部设置有限位块,所述支撑柱与限位块固定连接。Preferably, a limit block is arranged on the top of the support column, and the support column is fixedly connected with the limit block.
优选的,所述第一移动轴顶部设置有插栓,所述第二移动轴内部开设有固定槽,所述与第一移动轴与第二移动轴通过插栓与固定槽固定连接。Preferably, a plug is provided on the top of the first moving shaft, a fixing groove is opened inside the second moving shaft, and the first moving shaft and the second moving shaft are fixedly connected to the fixing groove through the plug.
优选的,所述第二挡板顶部设置有第一固定螺丝,所述第二挡板底部设置有调节轴,所述第二挡板与调节轴通过第一固定螺丝固定连接。Preferably, the top of the second baffle is provided with a first fixing screw, the bottom of the second baffle is provided with an adjustment shaft, and the second baffle is fixedly connected to the adjustment shaft through the first fixing screw.
优选的,所述调节轴底部设置有垫片,所述垫片顶部设置有第二固定螺丝,所述调节轴与第三挡板通过垫片与第二固定螺丝固定连接。Preferably, a gasket is provided at the bottom of the adjustment shaft, and a second fixing screw is provided at the top of the gasket, and the adjustment shaft and the third baffle are fixedly connected to the second fixing screw through the gasket.
本实用新型的技术效果和优点:Technical effect and advantage of the present utility model:
1、该一种用于模具加工的模具夹持装置,通过设置套筒固定于不同的定位孔,达到调整装置高度的目的,适用于不同高度的模具;1. This kind of mold clamping device for mold processing can achieve the purpose of adjusting the height of the device by setting sleeves and fixing them in different positioning holes, and is suitable for molds of different heights;
2、该一种用于模具加工的模具夹持装置,通过设置插栓与不同的固定槽插接,可以调整第二移动轴的旋转角度,可以适用与不同角度的模具;2. This kind of mold clamping device for mold processing can adjust the rotation angle of the second moving axis by setting plugs to connect with different fixing grooves, and can be applied to molds with different angles;
3、该一种用于模具加工的模具夹持装置,通过设置调节轴的高度,可以调整第二挡板与第三挡板之间的距离,从而使第三挡板与第四挡板之间可以放下不同尺寸的模具,适用与不同尺寸的模具,提高装置的利用率。3. The mold clamping device for mold processing can adjust the distance between the second baffle and the third baffle by setting the height of the adjustment shaft, so that the distance between the third baffle and the fourth baffle can be adjusted. Molds of different sizes can be placed in the room, which is suitable for molds of different sizes and improves the utilization rate of the device.
附图说明Description of drawings
图1为本实用新型一种用于模具加工的模具夹持装置结构的正面示意图。Fig. 1 is a schematic front view of the structure of a mold clamping device for mold processing according to the present invention.
图2为本实用新型一种用于模具加工的模具夹持装置结构的俯视示意图。Fig. 2 is a schematic top view of the structure of a mold clamping device for mold processing according to the present invention.
图3为本实用新型一种用于模具加工的模具夹持装置结构的侧视示意图。Fig. 3 is a schematic side view of the structure of a mold clamping device for mold processing of the present invention.
图4为本实用新型一种用于模具加工的模具夹持装置结构的仰视示意图。Fig. 4 is a schematic bottom view of the structure of a mold clamping device for mold processing according to the present invention.
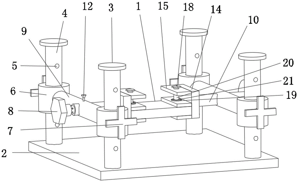
图中:1、待加工的模具;2、底座;3、限位块;4、支撑柱;5、定位孔;6、套筒;7、第一调节把手;8、第二调节把手;9、第一移动轴;10、第二移动轴;11、固定槽;12、插栓;13、限位盘;14、第一挡板;15、第二挡板;16、第三挡板;17、第四挡板;18、第一固定螺丝;19、垫片;20、调节轴;21、第二固定螺丝。In the figure: 1. The mold to be processed; 2. The base; 3. The limit block; 4. The support column; 5. The positioning hole; 6. The sleeve; 7. The first adjustment handle; 8. The second adjustment handle; 9 , the first moving shaft; 10, the second moving shaft; 11, the fixed slot; 12, the plug; 13, the limit plate; 14, the first baffle; 15, the second baffle; 16, the third baffle; 17. The fourth baffle; 18. The first fixing screw; 19. The spacer; 20. The adjustment shaft; 21. The second fixing screw.
具体实施方式Detailed ways
下面将结合本实用新型实施例中的附图,对本实用新型实施例中的技术方案进行清楚、完整地描述,显然,所描述的实施例仅仅是本实用新型一部分实施例,而不是全部的实施例。基于本实用新型中的实施例,本领域普通技术人员在没有做出创造性劳动前提下所获得的所有其他实施例,都属于本实用新型保护的范围。The technical solutions in the embodiments of the present invention will be clearly and completely described below in conjunction with the accompanying drawings in the embodiments of the present invention. Obviously, the described embodiments are only part of the embodiments of the present invention, not all of them. example. Based on the embodiments of the present utility model, all other embodiments obtained by persons of ordinary skill in the art without making creative efforts belong to the scope of protection of the present utility model.
本实用新型提供了如图1-4所示的一种用于模具加工的模具夹持装置,一种用于模具加工的模具夹持装置,包括底座2,底座2顶部设置有支撑柱4,支撑柱4外部设置有第一移动轴9,第一移动轴9内侧设置有第二移动轴10,第二移动轴10一侧设置有第二调节把手8,第二移动轴10一侧设置有限位盘13,第二移动轴10一侧设置有第一挡板14,第一挡板14一侧设置有第二挡板15,第二挡板15底部设置有第三挡板16,第三挡板16底部设置有第四挡板17,第四挡板17顶部设置有待加工的模具1。The utility model provides a mold clamping device for mold processing as shown in Figure 1-4, a mold clamping device for mold processing, including a
本实施例中,作为本实用新型的优选技术方案,支撑柱4外部设置有套筒6,套筒6外设置有第一调节把手7,套筒6通过第一调节把手7与支撑柱4固定连接。In this embodiment, as a preferred technical solution of the present utility model, a
作为本实用新型的优选技术方案,支撑柱4内部开设有定位孔5,第一调节把手7通过定位孔5与支撑柱4旋接。As a preferred technical solution of the present invention, a
作为本实用新型的优选技术方案,支撑柱4顶部设置有限位块3,支撑柱4与限位块3固定连接。As a preferred technical solution of the present utility model, a
作为本实用新型的优选技术方案,第一移动轴9顶部设置有插栓12,第二移动轴10内部开设有固定槽11,与第一移动轴9与第二移动轴10通过插栓12与固定槽11固定连接。As a preferred technical solution of the present utility model, the top of the first moving
作为本实用新型的优选技术方案,第二挡板15顶部设置有第一固定螺丝18,第二挡板15底部设置有调节轴20,第二挡板15与调节轴20通过第一固定螺丝18固定连接。As a preferred technical solution of the present utility model, the top of the
作为本实用新型的优选技术方案,调节轴20底部设置有垫片19,垫片19顶部设置有第二固定螺丝21,调节轴20与第三挡板16通过垫片19与第二固定螺丝21固定连接。As a preferred technical solution of the present utility model, the bottom of the
工作原理:该一种用于模具加工的模具夹持装置使用时,使用者通过设置第一调节把手7的固定程度,使套筒6上下移动,通过调整第一调节把手7与定位孔5的旋接,使套筒6固定于定位孔5上不同的位置,达到调整装置高度的目的,适用于不同高度的模具,使用者通过设置插栓12与不同的固定槽插接11,可以调整第二移动轴10的旋转角度,可以适用与不同角度的模具,使用者通过设置调节轴20的高度,可以调整第二挡板15与第三挡板16之间的距离,使第三挡板16、第四挡板17之间可以放下不同尺寸的模具,适用与不同尺寸的模具,提高装置的利用率。Working principle: When the mold clamping device for mold processing is used, the user can move the
Claims (7)
Priority Applications (1)
| Application Number | Priority Date | Filing Date | Title |
|---|---|---|---|
| CN202222918476.6U CN218613946U (en) | 2022-10-31 | 2022-10-31 | A mould clamping device for mould processing |
Applications Claiming Priority (1)
| Application Number | Priority Date | Filing Date | Title |
|---|---|---|---|
| CN202222918476.6U CN218613946U (en) | 2022-10-31 | 2022-10-31 | A mould clamping device for mould processing |
Publications (1)
| Publication Number | Publication Date |
|---|---|
| CN218613946U true CN218613946U (en) | 2023-03-14 |
Family
ID=85423381
Family Applications (1)
| Application Number | Title | Priority Date | Filing Date |
|---|---|---|---|
| CN202222918476.6U Expired - Fee Related CN218613946U (en) | 2022-10-31 | 2022-10-31 | A mould clamping device for mould processing |
Country Status (1)
| Country | Link |
|---|---|
| CN (1) | CN218613946U (en) |
-
2022
- 2022-10-31 CN CN202222918476.6U patent/CN218613946U/en not_active Expired - Fee Related
Similar Documents
| Publication | Publication Date | Title |
|---|---|---|
| CN209970126U (en) | Multi-angle clamping mechanism for production of fan motor | |
| CN218613946U (en) | A mould clamping device for mould processing | |
| CN221688900U (en) | Bracket for circuit board processing | |
| CN215998420U (en) | Fixing device for bending and processing bottom plate | |
| CN213758195U (en) | Angle-adjustable anesthesia depth detector | |
| CN223039558U (en) | A wire arrangement device for power lines | |
| CN112872803B (en) | Tapping and drilling integrated numerical control lathe | |
| CN211508856U (en) | Brushless motor rotor inserts axle positioner | |
| CN217665908U (en) | A novel draw machine for bicycle handlebar processing | |
| CN218342523U (en) | Granite tombstone is engraving device for stone | |
| CN207823755U (en) | A clamp to prevent loosening | |
| CN222627462U (en) | Precise copper taper shaft machining device | |
| CN221871197U (en) | Mechanical clamp table | |
| CN223342168U (en) | PVC-UH low pressure blowdown drain pipe hoist device | |
| CN221824322U (en) | A device for adjusting the placement direction of tapered rollers | |
| CN223519325U (en) | A grinding equipment for forklift metal parts production | |
| CN217985561U (en) | Production clamp for circuit board | |
| CN218517559U (en) | Stamping die anchor clamps | |
| CN220347776U (en) | Frock with adjustable dish machine tooling high accuracy hydraulic pressure of stopping | |
| CN216371202U (en) | Multifunctional clamping device for machining | |
| CN222986779U (en) | Cutting positioning jig convenient to installation | |
| CN221658651U (en) | A add clamping apparatus for hydraulic cylinder bottom | |
| CN223044083U (en) | A chamfering device for a computer spring machine | |
| CN222971981U (en) | Adjustable hold-down device for mold making | |
| CN215548461U (en) | Model making devices for architectural design |
Legal Events
| Date | Code | Title | Description |
|---|---|---|---|
| GR01 | Patent grant | ||
| GR01 | Patent grant | ||
| CF01 | Termination of patent right due to non-payment of annual fee |
Granted publication date: 20230314 |
|
| CF01 | Termination of patent right due to non-payment of annual fee |
