CN218611447U - Wire processing and grinding mechanism for metal smelting rolled product - Google Patents
Wire processing and grinding mechanism for metal smelting rolled product Download PDFInfo
- Publication number
- CN218611447U CN218611447U CN202222192180.0U CN202222192180U CN218611447U CN 218611447 U CN218611447 U CN 218611447U CN 202222192180 U CN202222192180 U CN 202222192180U CN 218611447 U CN218611447 U CN 218611447U
- Authority
- CN
- China
- Prior art keywords
- fixedly connected
- base
- grinding mechanism
- metal smelting
- wire rod
- Prior art date
- Legal status (The legal status is an assumption and is not a legal conclusion. Google has not performed a legal analysis and makes no representation as to the accuracy of the status listed.)
- Active
Links
Images
Classifications
-
- Y—GENERAL TAGGING OF NEW TECHNOLOGICAL DEVELOPMENTS; GENERAL TAGGING OF CROSS-SECTIONAL TECHNOLOGIES SPANNING OVER SEVERAL SECTIONS OF THE IPC; TECHNICAL SUBJECTS COVERED BY FORMER USPC CROSS-REFERENCE ART COLLECTIONS [XRACs] AND DIGESTS
- Y02—TECHNOLOGIES OR APPLICATIONS FOR MITIGATION OR ADAPTATION AGAINST CLIMATE CHANGE
- Y02P—CLIMATE CHANGE MITIGATION TECHNOLOGIES IN THE PRODUCTION OR PROCESSING OF GOODS
- Y02P70/00—Climate change mitigation technologies in the production process for final industrial or consumer products
- Y02P70/10—Greenhouse gas [GHG] capture, material saving, heat recovery or other energy efficient measures, e.g. motor control, characterised by manufacturing processes, e.g. for rolling metal or metal working
Landscapes
- Finish Polishing, Edge Sharpening, And Grinding By Specific Grinding Devices (AREA)
Abstract
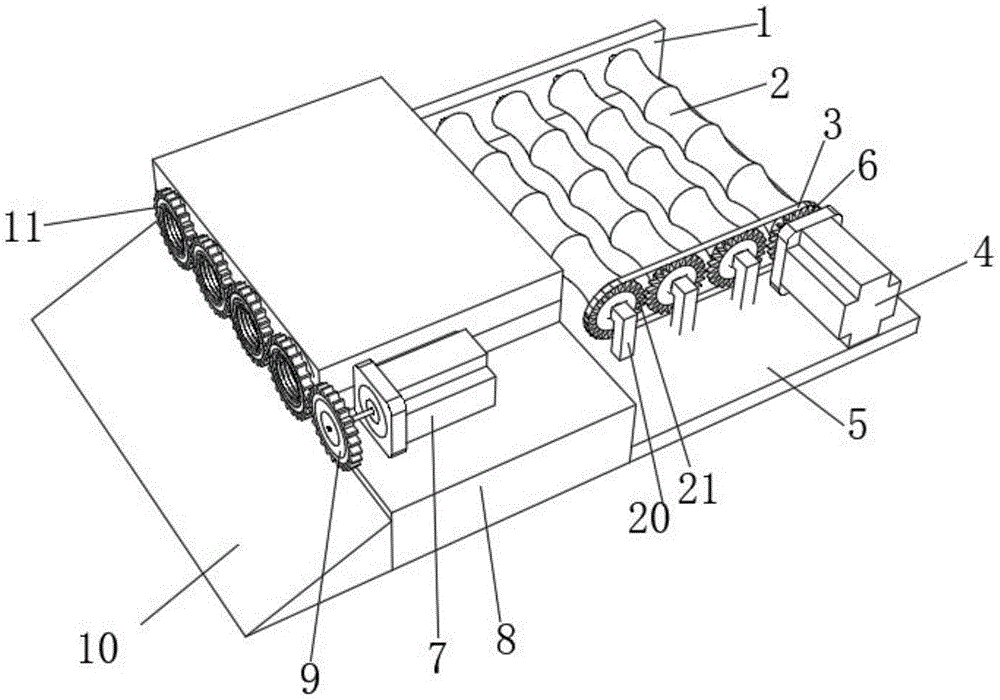
本实用新型公开了一种金属冶炼压延品用线材加工研磨机构,包括底座,所述底座后端固定连接有支架,所述支架前侧设置有均匀分布的过渡辊,所述过渡辊前后两端中心位置处均固定连接有转轴,前端左侧三个所述转轴贯穿并固定连接有皮带盘,所述底座顶部前端右侧固定连接有第一驱动电机,所述底座左端固定连接有卡槽底座,所述卡槽底座顶部后方固定连接有第二卡尺块,所述第二卡尺块顶部固定连接有第一卡尺块,本实用新型中,过渡辊传过去的线材进入滚轮中,当第二电机工作,由齿轮啮合转动,带动滚轮转动,经过锯齿的全方位切割,研磨块的打磨,毛刷的清理,可以达到均匀研磨效果,提高了工作。
The utility model discloses a wire material processing and grinding mechanism for metal smelting and rolling products, which comprises a base. The central position is fixedly connected with a rotating shaft, the three rotating shafts on the left side of the front end are penetrated and fixedly connected with a belt pulley, the front right side of the top of the base is fixedly connected with the first drive motor, and the left end of the base is fixedly connected with a card slot base , a second caliper block is fixedly connected to the top of the slot base, and a first caliper block is fixedly connected to the top of the second caliper block. In the utility model, the wire passed by the transition roller enters the roller, and when the second motor Working, the gears are meshed and rotated, driving the rollers to rotate, through the all-round cutting of the sawtooth, the grinding of the grinding block, and the cleaning of the brush, it can achieve a uniform grinding effect and improve the work.
Description
技术领域technical field
本实用新型涉及线材加工领域,尤其涉及一种金属冶炼压延品用线材加工研磨机构。The utility model relates to the field of wire processing, in particular to a wire processing and grinding mechanism for metal smelting and rolling products.
背景技术Background technique
在线材制作加工过程中,研磨机构被广泛地用来对各种线材进行研磨处理,首先通过拉丝机将线材拉丝成型,然后通过研磨机构工具对线材进行研磨,从而剔除线材表面的毛刺,使得线材更加光滑均匀。In the process of wire rod production and processing, the grinding mechanism is widely used to grind various wire rods. First, the wire rod is drawn into shape by a wire drawing machine, and then the wire rod is ground by the grinding mechanism tool to remove the burr on the wire rod surface, making the wire rod Smoother and more even.
目前,在研磨机构工具对线材加工处理作业的过程中便于研磨加工,通常通过人工的方式对线材进行表面处理,且需要一根一根的研磨,不断的翻面,导致这种处理方式效率低下,人工成本高,且研磨不均匀。At present, in the process of processing the wire rod by the grinding mechanism tool, it is convenient for grinding. Usually, the surface treatment of the wire rod is carried out manually, and it needs to be ground one by one and turned over continuously, which leads to the inefficiency of this processing method. , high labor costs, and uneven grinding.
实用新型内容Utility model content
本实用新型的目的是为了解决现有技术中存在的缺点,而提出的一种金属冶炼压延品用线材加工研磨机构。The purpose of the utility model is to solve the shortcomings in the prior art, and propose a wire rod processing and grinding mechanism for metal smelting and rolling products.
为了实现上述目的,本实用新型采用了如下技术方案:一种金属冶炼压延品用线材加工研磨机构,包括底座,所述底座后端固定连接有支架,所述支架前侧设置有均匀分布的过渡辊,所述过渡辊前后两端中心位置处均固定连接有转轴,前端左侧三个所述转轴贯穿并固定连接有皮带盘,所述底座顶部前端右侧固定连接有第一驱动电机,所述底座左端固定连接有卡槽底座,所述卡槽底座顶部后方固定连接有第二卡尺块,所述第二卡尺块顶部固定连接有第一卡尺块,所述第二卡尺块与第一卡尺块之间均贯穿并设置有均匀分布的凹槽,所述凹槽内均贯穿并转动连接有滚轮,所述滚轮内径右侧固定连接有均匀分布的锯齿块,所述滚轮内径中心位置处固定连接有研磨块,所述滚轮内径左侧固定连接有均匀分布的毛刷,所述滚轮左侧均贯穿并固定连接有齿轮,所述卡槽底座顶部前端固定连接有第二驱动电机,所述第二驱动电机输出端贯穿并固定连接有驱动齿轮。In order to achieve the above purpose, the utility model adopts the following technical scheme: a wire processing and grinding mechanism for metal smelting and rolling products, including a base, the rear end of the base is fixedly connected with a bracket, and the front side of the bracket is provided with evenly distributed transitions There are rotating shafts fixedly connected to the centers of the front and rear ends of the transition roller, the three rotating shafts on the left side of the front end run through and are fixedly connected to belt pulleys, and the right side of the front end of the top of the base is fixedly connected to the first drive motor. The left end of the base is fixedly connected with a card slot base, the top rear of the card slot base is fixedly connected with a second caliper block, the top of the second caliper block is fixedly connected with a first caliper block, and the second caliper block is connected with the first caliper block. There are evenly distributed grooves running through the blocks, and rollers are connected in the grooves and rotated. The right side of the inner diameter of the rollers is fixedly connected with evenly distributed sawtooth blocks, and the center of the inner diameter of the rollers is fixed. Grinding blocks are connected, the left side of the inner diameter of the roller is fixedly connected with evenly distributed brushes, the left side of the roller is penetrated and fixedly connected with gears, and the front end of the top of the slot base is fixedly connected with a second drive motor. The output end of the second drive motor is penetrated and fixedly connected with a drive gear.
作为上述技术方案的进一步描述:As a further description of the above technical solution:
左侧第一所述皮带盘与电机皮带盘之间设置有皮带盘传送带。A pulley conveyor belt is arranged between the first pulley on the left side and the motor pulley.
作为上述技术方案的进一步描述:As a further description of the above technical solution:
所述卡槽底座左端固定连接有滑梯。A slide is fixedly connected to the left end of the card slot base.
作为上述技术方案的进一步描述:As a further description of the above technical solution:
所述驱动齿轮啮合连接有齿轮。The drive gear is engaged with gears.
作为上述技术方案的进一步描述:As a further description of the above technical solution:
前端所述转轴前端固定连接有支杆,后端所述转轴与支架之间转动连接。The front end of the rotating shaft at the front end is fixedly connected with a strut, and the rotating shaft at the rear end is rotationally connected with the support.
作为上述技术方案的进一步描述:As a further description of the above technical solution:
所述皮带盘中心位置处转动连接有支杆。A support rod is rotatably connected to the central position of the belt pulley.
作为上述技术方案的进一步描述:As a further description of the above technical solution:
所述第一驱动电机输出端贯穿并固定连接有电机皮带盘。The output end of the first drive motor is penetrated and fixedly connected with a motor belt pulley.
本实用新型具有如下有益效果:The utility model has the following beneficial effects:
1、本实用新型中,首先第一驱动电机工作,带动转轴,转轴连接着电机皮带盘,由皮带盘传送带带动电机皮带盘,通过电机皮带盘连接过渡辊,过渡辊运作,可以依次传送多根线材,并且多根研磨,节约时间和人工劳动力。1. In the utility model, firstly, the first driving motor works, drives the rotating shaft, and the rotating shaft is connected to the motor belt pulley, and the belt pulley belt drives the motor belt pulley, and connects the transition roller through the motor belt pulley, and the transition roller operates to transmit multiple pieces in sequence. Wire, and multiple grinding, saving time and labor.
2、本实用新型中,过渡辊传过去的线材进入滚轮中,当第二电机工作时,由齿轮啮合转动,不需要翻面,由滚轮带动旋转,经过锯齿的切割,研磨块的打磨,毛刷的清理,可以达到均匀研磨的效果,提高了工作效率。2. In the utility model, the wire passed by the transition roller enters the roller, and when the second motor is working, it is rotated by the gear mesh without turning over, and is driven by the roller to rotate, after the sawtooth cutting, the grinding of the grinding block, the hair The cleaning of the brush can achieve the effect of uniform grinding and improve the work efficiency.
附图说明Description of drawings
图1为本实用新型提出的一种金属冶炼压延品用线材加工研磨机构的立体图;Fig. 1 is the three-dimensional view of a kind of metal smelting rolled product that the utility model proposes and uses the wire rod processing grinding mechanism;
图2为本实用新型提出的一种金属冶炼压延品用线材加工研磨机构的俯视图;Fig. 2 is a top view of a wire rod processing and grinding mechanism for metal smelting and rolling products proposed by the utility model;
图3为本实用新型提出的一种金属冶炼压延品用线材加工研磨机构的滚轮剖面图。Fig. 3 is a roller sectional view of a wire processing and grinding mechanism for metal smelting and rolling products proposed by the utility model.
图例说明:illustration:
1、支架;2、过渡辊;3、皮带盘传送带;4、第一驱动电机;5、底座;6、电机皮带盘;7、第二驱动电机;8、卡槽底座;9、驱动齿轮;10、滑梯;11、齿轮;12、滚轮;13、第一卡齿块;14、第二卡齿块;15、转轴;16、锯齿块;17、研磨块;18、毛刷;19、凹槽;20、支杆;21、皮带盘。1. Bracket; 2. Transition roller; 3. Pulley conveyor belt; 4. First driving motor; 5. Base; 6. Motor belt pulley; 7. Second driving motor; 8. Card slot base; 9. Driving gear; 10, slide; 11, gear; 12, roller; 13, the first locking block; 14, the second locking block; 15, rotating shaft; 16, sawtooth block; 17, grinding block; 18, brush; 19, concave Groove; 20, pole; 21, belt pulley.
具体实施方式Detailed ways
下面将结合本实用新型实施例中的附图,对本实用新型实施例中的技术方案进行清楚、完整地描述,显然,所描述的实施例仅仅是本实用新型一部分实施例,而不是全部的实施例。基于本实用新型中的实施例,本领域普通技术人员在没有做出创造性劳动前提下所获得的所有其他实施例,都属于本实用新型保护的范围。The technical solutions in the embodiments of the present invention will be clearly and completely described below in conjunction with the accompanying drawings in the embodiments of the present invention. Obviously, the described embodiments are only part of the embodiments of the present invention, not all of them. example. Based on the embodiments of the present utility model, all other embodiments obtained by persons of ordinary skill in the art without making creative efforts belong to the scope of protection of the present utility model.
在本实用新型的描述中,需要说明的是,术语“中心”、“上”、“下”、“左”、“右”、“竖直”、“水平”、“内”、“外”等指示的方位或位置关系为基于附图所示的方位或位置关系,仅是为了便于描述本实用新型和简化描述,而不是指示或暗示所指的装置或元件必须具有特定的方位、以特定的方位构造和操作,因此不能理解为对本实用新型的限制;术语“第一”、“第二”、“第三”仅用于描述目的,而不能理解为指示或暗示相对重要性,此外,除非另有明确的规定和限定,术语“安装”、“相连”、“连接”应做广义理解,例如,可以是固定连接,也可以是可拆卸连接,或一体地连接;可以是机械连接,也可以是电连接;可以是直接相连,也可以通过中间媒介间接相连,可以是两个元件内部的连通。对于本领域的普通技术人员而言,可以具体情况理解上述术语在本实用新型中的具体含义。In the description of the present utility model, it should be noted that the terms "center", "upper", "lower", "left", "right", "vertical", "horizontal", "inner", "outer" The orientation or positional relationship indicated by etc. is based on the orientation or positional relationship shown in the drawings, which is only for the convenience of describing the utility model and simplifying the description, rather than indicating or implying that the device or element referred to must have a specific orientation, use a specific Therefore, it cannot be construed as a limitation on the present invention; the terms "first", "second", and "third" are only used for descriptive purposes, and cannot be interpreted as indicating or implying relative importance. In addition, Unless otherwise clearly specified and limited, the terms "installation", "connection" and "connection" should be interpreted in a broad sense, for example, it may be a fixed connection, a detachable connection, or an integral connection; it may be a mechanical connection, It can also be an electrical connection; it can be a direct connection, or an indirect connection through an intermediary, or an internal communication between two components. Those of ordinary skill in the art can understand the specific meanings of the above terms in the present utility model in specific situations.
参照图1-3,本实用新型提供的一种实施例:一种金属冶炼压延品用线材加工研磨机构,包括底座5,底座5后端固定连接有支架1,支架1前侧设置有均匀分布的过渡辊2,过渡辊2前后两端中心位置处均固定连接有转轴15,前端左侧三个所述转轴15贯穿并固定连接有皮带盘21,底座5顶部前端右侧固定连接有第一驱动电机4,底座5左端固定连接有卡槽底座8,卡槽底座8顶部后方固定连接有第二卡尺块14,第二卡尺块14顶部固定连接有第一卡尺块13,第二卡尺块14与第一卡尺块13之间均贯穿并设置有均匀分布的凹槽19,凹槽19内均贯穿并转动连接有滚轮12,滚轮12内径右侧固定连接有均匀分布的锯齿块16,滚轮12内径中心位置处固定连接有研磨块17,滚轮12内径左侧固定连接有均匀分布的毛刷18,滚轮12左侧均贯穿并固定连接有齿轮11,卡槽底座8顶部前端固定连接有第二驱动电机7,第二驱动电机7输出端贯穿并固定连接有驱动齿轮9,滚轮12是进出口,线材都要从此处过去,滚轮12里面包括了锯齿块16,可以切割掉线材表面的颗粒,研磨块17可以使切割过的线材经过打磨更光滑,毛刷18可以使线材表面的灰屑清扫干净,滚轮12的左端连接着驱动齿轮9和齿轮11,它们之间是啮合关系,由驱动齿轮9连接输出端第二驱动电机工作带动。Referring to Figures 1-3, an embodiment of the utility model is provided: a wire rod processing and grinding mechanism for metal smelting and rolling products, including a
左侧第一所述皮带盘6与21电机皮带盘之间设置有皮带盘传送带3,卡槽底座8左端固定连接有滑梯10,驱动齿轮9啮合连接有齿轮11,前端转轴15转动连接有支杆20,后端所述转轴15与支架1之间转动连接,皮带盘21中心位置处转动连接有支杆20,第一驱动电机4输出端贯穿并固定连接有电机皮带盘6,第一驱动电机4带动电机皮带盘6驱动,电机皮带盘6和皮带盘21靠皮带盘传送带3带动旋转,且转轴15贯穿着过渡辊2,过渡辊2又与电机皮带盘6连接着,为了稳固皮带盘21,加上了支杆20,过渡辊2旋转,带动多根线材的传送。A pulley conveyor belt 3 is arranged between the
工作原理:第一驱动电机4带动电机皮带盘6驱动,电机皮带盘6和皮带盘21靠皮带盘传送带3带动旋转,且转轴15贯穿着过渡辊2,过渡辊2又与电机皮带盘6连接着,为了稳固皮带盘21,加上了支杆20,过渡辊2旋转,带动多根线材的传送,滚轮12是进出口,线材都要从此处过去,滚轮12里面包括了锯齿块16,可以切割掉线材表面的颗粒,研磨块17可以使切割过的线材经过打磨更光滑,毛刷18可以使线材表面的灰屑清扫干净,滚轮12的左端连接着驱动齿轮9和齿轮11,它们之间是啮合关系,由驱动齿轮9连接输出端第二驱动电机工作带动,打磨完成之后就可以从驱动齿轮9和齿轮11出来,掉落滑梯10上端,滑落下来。Working principle: the
最后应说明的是:以上所述仅为本实用新型的优选实施例而已,并不用于限制本实用新型,尽管参照前述实施例对本实用新型进行了详细的说明,对于本领域的技术人员来说,其依然可以对前述各实施例所记载的技术方案进行修改,或者对其中部分技术特征进行等同替换,凡在本实用新型的精神和原则之内,所作的任何修改、等同替换、改进等,均应包含在本实用新型的保护范围之内。Finally, it should be noted that: the above is only a preferred embodiment of the utility model, and is not intended to limit the utility model, although the utility model has been described in detail with reference to the foregoing embodiments, for those skilled in the art , it can still modify the technical solutions recorded in the foregoing embodiments, or perform equivalent replacements on some of the technical features. Any modifications, equivalent replacements, improvements, etc. made within the spirit and principles of the present utility model, All should be included within the protection scope of the present utility model.
Claims (7)
Priority Applications (1)
| Application Number | Priority Date | Filing Date | Title |
|---|---|---|---|
| CN202222192180.0U CN218611447U (en) | 2022-08-19 | 2022-08-19 | Wire processing and grinding mechanism for metal smelting rolled product |
Applications Claiming Priority (1)
| Application Number | Priority Date | Filing Date | Title |
|---|---|---|---|
| CN202222192180.0U CN218611447U (en) | 2022-08-19 | 2022-08-19 | Wire processing and grinding mechanism for metal smelting rolled product |
Publications (1)
| Publication Number | Publication Date |
|---|---|
| CN218611447U true CN218611447U (en) | 2023-03-14 |
Family
ID=85458171
Family Applications (1)
| Application Number | Title | Priority Date | Filing Date |
|---|---|---|---|
| CN202222192180.0U Active CN218611447U (en) | 2022-08-19 | 2022-08-19 | Wire processing and grinding mechanism for metal smelting rolled product |
Country Status (1)
| Country | Link |
|---|---|
| CN (1) | CN218611447U (en) |
-
2022
- 2022-08-19 CN CN202222192180.0U patent/CN218611447U/en active Active
Similar Documents
| Publication | Publication Date | Title |
|---|---|---|
| CN208359001U (en) | A kind of chip removing device for Chinese fir board polishing | |
| CN112518481B (en) | Copper strips processing is with two-sided high-efficient burring device with dust fall function | |
| CN101362312A (en) | A kind of glaze polishing machine | |
| CN218611447U (en) | Wire processing and grinding mechanism for metal smelting rolled product | |
| CN216503894U (en) | Rubber roll processing surface treatment grinding device | |
| CN215588789U (en) | Burnishing machine convenient to metal product transposition | |
| CN213194054U (en) | Grinder is used in chicory powder production and processing | |
| CN210879017U (en) | Angle steel surface grinds flat equipment with collection dirt effect | |
| CN210413866U (en) | Adjustable steel pipe burr removal equipment | |
| CN218463290U (en) | A high-efficient stoving mechanism for printing machine | |
| CN108466125B (en) | Glass light guide plate side burnishing device | |
| CN111571349A (en) | Dry type frosting and deburring machine for plates | |
| CN213319251U (en) | Burr removing device for furniture | |
| CN208977508U (en) | A kind of grinding device for automobile parts | |
| CN209175496U (en) | A kind of surface polishing device of handware processing | |
| CN212399032U (en) | Polishing device for processing flat steel | |
| CN211515733U (en) | Material feeding unit is used in baking pan aluminum tray processing production | |
| CN210758005U (en) | Hair trimming device for producing brush roller | |
| CN210099130U (en) | Quick bar peeling machine | |
| CN210938699U (en) | A quartz stone plate polishing machine | |
| CN208942914U (en) | A kind of pellet processing machine | |
| CN221640403U (en) | Deburring device for metal product | |
| CN215510428U (en) | Burnishing device is used in sun gear processing with dust processing function | |
| CN218225888U (en) | Side edging equipment based on aluminium alloy processing | |
| CN221791286U (en) | Gear grinding device for gear shaft production and processing |
Legal Events
| Date | Code | Title | Description |
|---|---|---|---|
| GR01 | Patent grant | ||
| GR01 | Patent grant | ||
| TR01 | Transfer of patent right | ||
| TR01 | Transfer of patent right |
Effective date of registration: 20250411 Address after: UPARK International Yuelinhui 503-1, northeast corner of the intersection of East Second Ring Road and Mine Road in Chanba Ecological Zone, Xi'an City, Shaanxi Province, 710000 Patentee after: Xi'an Zhuoyang Industrial Co.,Ltd. Country or region after: China Address before: Room 1301, No. 1539, Xiangcheng Avenue, Yuanhe Street, Xiangcheng District, Suzhou City, Jiangsu Province, 215133 Patentee before: Suzhou Tuopu Automation Equipment Co.,Ltd. Country or region before: China |
