CN218532513U - Punching and bending die for excavator shell - Google Patents
Punching and bending die for excavator shell Download PDFInfo
- Publication number
- CN218532513U CN218532513U CN202220705328.3U CN202220705328U CN218532513U CN 218532513 U CN218532513 U CN 218532513U CN 202220705328 U CN202220705328 U CN 202220705328U CN 218532513 U CN218532513 U CN 218532513U
- Authority
- CN
- China
- Prior art keywords
- block
- die
- punching
- wall
- shaped
- Prior art date
- Legal status (The legal status is an assumption and is not a legal conclusion. Google has not performed a legal analysis and makes no representation as to the accuracy of the status listed.)
- Active
Links
Images
Landscapes
- Perforating, Stamping-Out Or Severing By Means Other Than Cutting (AREA)
Abstract
本实用新型公开了一种挖掘机外壳用冲孔折弯模具,涉及到模具设计领域,包括底模,所述底模顶部的四个拐角处均开设有滑面,所述滑面顶部的开设有T形滑槽,所述T形滑槽的内壁滑动安装有T形块,所述T形块的顶部安装有滑块。本实用新型中滑块在冲压组件的作用力下,沿着T形滑槽移动,直至滑块的顶部平面与底模的顶部平面重合,滑块与底模形成金属板所要成形的形状,在冲压组件的作用力下,矩形金属板被折弯成所要成形形状,然后冲压组件撤销外力,顶出组件用于将滑块向上顶出,四个滑块相互靠近,使成形后的金属板脱离底模,同时使其四周内壁不与滑块的外侧壁相接触,这样不会成形外壳会卡在模具上。
The utility model discloses a punching and bending mold for an excavator casing, relates to the field of mold design, and comprises a bottom mold, four corners of the top of the bottom mold are provided with sliding surfaces, and the top of the sliding surface is provided with sliding surfaces. There is a T-shaped chute, the inner wall of the T-shaped chute is slidably installed with a T-shaped block, and the top of the T-shaped block is equipped with a slide block. In the utility model, the slider moves along the T-shaped chute under the force of the stamping assembly until the top plane of the slider coincides with the top plane of the bottom mold, and the slider and the bottom mold form the shape to be formed by the metal plate. Under the force of the stamping component, the rectangular metal plate is bent into the desired shape, and then the stamping component cancels the external force, and the ejector component is used to push the slider upward, and the four sliders are close to each other, so that the formed metal plate is separated. Bottom mold, make its surrounding inner wall not be in contact with the outer side wall of slide block at the same time, can not form shell like this and be stuck on the mould.
Description
技术领域technical field
本实用新型涉及模具设计领域,特别涉及一种挖掘机外壳用冲孔折弯模具。The utility model relates to the field of mold design, in particular to a punching and bending mold for an excavator shell.
背景技术Background technique
模具,工业生产上用以注塑、吹塑、挤出、压铸或锻压成型、冶炼、冲压等方法得到所需产品的各种模子和工具,简而言之,模具是用来制作成型物品的工具,这种工具由各种零件构成,不同的模具由不同的零件构成,它主要通过所成型材料物理状态的改变来实现物品外形的加工,素有“工业之母”的称号,在外力作用下使坯料成为有特定形状和尺寸的制件的工具,广泛用于冲裁、模锻、冷镦、挤压、粉末冶金件压制、压力铸造,以及工程塑料、橡胶、陶瓷等制品的压塑或注塑的成形加工中,模具具有特定的轮廓或内腔形状,应用具有刃口的轮廓形状可以使坯料按轮廓线形状发生分离(冲裁)。Molds, various molds and tools used in industrial production for injection molding, blow molding, extrusion, die-casting or forging forming, smelting, stamping, etc. to obtain the required products, in short, molds are tools used to make shaped objects , this kind of tool is composed of various parts, and different molds are composed of different parts. It mainly realizes the processing of the shape of the object through the change of the physical state of the formed material. It is known as the "mother of industry". It is a tool for making blanks into workpieces with specific shapes and sizes. It is widely used in blanking, die forging, cold heading, extrusion, powder metallurgy parts pressing, pressure casting, and compression molding or molding of engineering plastics, rubber, ceramics and other products. In the forming process of injection molding, the mold has a specific contour or cavity shape, and the application of the contour shape with a cutting edge can separate the blank according to the contour line shape (punching).
在现有技术中,一般的挖掘机外壳使用冲孔折弯模具,当挖掘机的成形外壳会卡在模具上,往往需要工人使用相关的工具进外壳撬起的,这样费事费力,同时也容易将挖掘机外壳用冲孔折弯模具破坏。In the prior art, the general excavator casing uses punching and bending dies. When the formed casing of the excavator is stuck on the mold, workers often need to use related tools to pry into the casing, which is laborious and easy. Destroy the excavator shell with a punching and bending die.
实用新型内容Utility model content
本申请的目的在于提供一种挖掘机外壳用冲孔折弯模具,以解决上述背景技术中提出的问题,采用滑块脱模的原理,使成形的外壳容易从模具脱落。The purpose of this application is to provide a punching and bending die for an excavator shell to solve the problems raised in the above-mentioned background technology. The principle of sliding block demoulding is adopted to make the formed shell easy to fall off from the die.
为实现上述目的,本申请提供如下技术方案:一种挖掘机外壳用冲孔折弯模具,包括底模,所述底模顶部的四个拐角处均开设有滑面,所述滑面顶部的开设有T形滑槽,所述T形滑槽的内壁滑动安装有T形块,所述T形块的顶部安装有滑块,四个所述滑块的一侧部设置有顶出组件,所述顶出组件用于将所述滑块向上顶出,所述底模的底部设置有支撑组件,所述支撑组件是用于支撑整个模具,所述支撑组件的顶部设置有冲压组件,所述冲压组件可以对材料进行冲压折弯。In order to achieve the above object, the application provides the following technical solutions: a punching and bending mold for an excavator shell, including a bottom mold, sliding surfaces are provided at the four corners at the top of the bottom mold, and sliding surfaces are provided on the top of the sliding surface. There is a T-shaped chute, the inner wall of the T-shaped chute is slidingly installed with a T-shaped block, the top of the T-shaped block is equipped with a slider, and one side of the four sliders is provided with an ejection assembly. The ejector assembly is used to eject the slider upwards, the bottom of the bottom mold is provided with a support assembly, the support assembly is used to support the entire mold, and the top of the support assembly is provided with a stamping assembly, so The above stamping assembly can stamp and bend materials.
借由上述结构:将该模具放置在对应的液压机上,然后将规则的矩形金属板放置在底模的顶部上方,即放置在四个滑块的顶部,进行矩形金属板的中心与底模顶部的中心对齐后,在液压机的作用,冲压组件可以对矩形金属板进行冲压折弯,此过程中,滑块在冲压组件的作用力下,沿着T形滑槽移动,直至滑块的顶部平面与底模的顶部平面重合,滑块与底模形成金属板所要成形的形状,在冲压组件的作用力下,矩形金属板被折弯成所要成形形状,然后冲压组件撤销外力,顶出组件用于将滑块向上顶出,四个滑块相互靠近,使成形后的金属板脱离底模,同时使其四周内壁不与滑块的外侧壁相接触,这样不会成形外壳会卡在模具上。By means of the above structure: the mold is placed on the corresponding hydraulic press, and then the regular rectangular metal plate is placed on the top of the bottom mold, that is, placed on the top of the four slide blocks, and the center of the rectangular metal plate is connected to the top of the bottom mold. After the centers are aligned, the stamping assembly can punch and bend the rectangular metal plate under the action of the hydraulic press. During this process, the slider moves along the T-shaped chute under the force of the stamping assembly until it reaches the top plane of the slider. Coincident with the top plane of the bottom mold, the slider and the bottom mold form the desired shape of the metal plate. Under the force of the stamping component, the rectangular metal plate is bent into the desired shape, and then the stamping component cancels the external force and ejects the component. Push the slider upwards, and the four sliders are close to each other, so that the formed metal plate is separated from the bottom mold, and at the same time, the inner wall around it is not in contact with the outer wall of the slider, so that the formed shell will not be stuck on the mold .
优选地,所述底模顶部的中部开设有滑动腔,所述顶出组件包括顶出柱,所述顶出柱滑动安装在所述滑动腔的内壁上,所述顶出柱的底部设置有第一复位弹簧,所述第一复位弹簧的两端分别与所述顶出柱和所述滑动腔的底部相接触,所述顶出柱的顶部设置有连接组件。Preferably, a sliding cavity is opened in the middle of the top of the bottom mold, the ejection assembly includes an ejection column, and the ejection column is slidably mounted on the inner wall of the sliding cavity, and the bottom of the ejection column is provided with A first return spring, the two ends of the first return spring are in contact with the ejection column and the bottom of the sliding chamber respectively, and a connecting assembly is arranged on the top of the ejection column.
进一步的,当滑块在冲压组件的作用力下向下移动的时候,第一复位弹簧被压缩,当冲压组件不再施加作用力的时候,第一复位弹簧复位,通过顶出柱和连接组件将滑块推向原位。Further, when the slider moves downward under the force of the stamping assembly, the first return spring is compressed, and when the stamping assembly no longer exerts force, the first return spring resets, through the ejection column and the connecting assembly Push the slider back into place.
优选地,所述连接组件包括十字壳板和四个导向板,四个所述导向板平均滑动安装在所述十字壳板四端的内壁上,所述导向板的一侧部安装在所述滑块上,所述十字壳板底部的中部安装在所述顶出柱的顶部。Preferably, the connection assembly includes a cross shell plate and four guide plates, and the four guide plates are evenly slidably mounted on the inner walls of the four ends of the cross shell plate, and one side of the guide plate is installed on the sliding On the block, the middle part of the bottom of the cross shell plate is installed on the top of the ejection column.
进一步的,十字壳板和四个导向板相互配合,可以使四个滑块做同步运动。Further, the cross shell plate and the four guide plates cooperate with each other to make the four sliders move synchronously.
优选地,所述支撑组件包括底板,所述底板的顶部安装有多个等距离分布的支撑板,所述支撑板顶部安装在所述底模的底部上,所述底板的顶部安装有四个的定位杆,每个所述定位杆平均靠近所述底模四个垂直所述底板一面上,所述底板顶部的四个拐角处均设置有缓冲组件。Preferably, the support assembly includes a bottom plate, a plurality of equidistant support plates are installed on the top of the bottom plate, the top of the support plate is installed on the bottom of the bottom mold, and four support plates are installed on the top of the bottom plate Each of the positioning rods is close to the four sides of the bottom mold perpendicular to the bottom plate on average, and buffer components are arranged at the four corners of the top of the bottom plate.
进一步的,支撑板将底模抬高,可以冲压组件在底模冲孔时,冲出的废料掉落在底板上,不在底模内部,便于打扫。Further, the support plate raises the bottom mold, so that when the stamping component is punched by the bottom mold, the punched waste falls on the bottom plate and is not inside the bottom mold, which is convenient for cleaning.
优选地,所述缓冲组包括定位柱和固定筒,所述定位柱的底部安装在所述底板上,所述定位柱的外侧壁滑动安装在所述固定筒的顶部,所述固定筒的顶部安装有顶块,所述顶块底部的中部安装有成形模块,所述定位柱的外侧壁套接安装有第三复位弹簧,所述第三复位弹簧的两端分别与所述固定筒和所述底板相接触。Preferably, the buffer group includes a positioning column and a fixing cylinder, the bottom of the positioning column is installed on the bottom plate, the outer side wall of the positioning column is slidably installed on the top of the fixing cylinder, and the top of the fixing cylinder A top block is installed, the middle part of the bottom of the top block is installed with a forming module, the outer wall of the positioning column is sleeved with a third return spring, and the two ends of the third return spring are connected to the fixed cylinder and the fixed cylinder respectively. contact with the bottom plate.
进一步的,在外力作用下,第三复位弹簧被压缩,同时产生对抗力,在外力作用下去除的情况下,此时对抗力施加在固定筒的底部,使整个顶块回归原位。Further, under the action of external force, the third return spring is compressed, and at the same time, a counter force is generated. When it is removed under the action of external force, the counter force is applied to the bottom of the fixed cylinder at this time, so that the entire top block returns to its original position.
优选地,所述顶块的顶部开设有多个等距离分布的固定杆,所述固定杆的顶部设置受力块,所述受力块底部的四个拐角处均开设有圆孔,所述固定杆滑动安装在圆孔的内壁上,所述固定杆的外侧壁套接安装有第二复位弹簧,所述第二复位弹簧的两端分别与所述受力块和所述顶块相接触,所述底模的顶部开设有多个成形孔,所述顶块的顶部开设多个出刀孔,所述出刀孔与所述成形孔相对应,所述出刀孔的内壁滑动安装有冲孔刀,所述冲孔刀的顶部安装在所述受力块的底部。Preferably, the top of the top block is provided with a plurality of equidistantly distributed fixing rods, the top of the fixed rods is provided with a force block, the four corners of the bottom of the force block are all provided with round holes, and the The fixed rod is slidably installed on the inner wall of the round hole, and the outer wall of the fixed rod is sleeved with a second return spring, and the two ends of the second return spring are in contact with the force-bearing block and the top block respectively , the top of the bottom mold is provided with a plurality of forming holes, the top of the top block is provided with a plurality of knife holes, the knife holes correspond to the forming holes, and the inner wall of the knife hole is slidably installed with A punching knife, the top of the punching knife is installed on the bottom of the stressed block.
进一步的,在外力作用下,第二复位弹簧被压缩,同时产生对抗力,在外力作用下去除的情况下,此时对抗力施加在受力块的底部。Furthermore, under the action of the external force, the second return spring is compressed, and at the same time generates an opposing force, and when removed under the action of the external force, the opposing force is applied to the bottom of the force receiving block at this time.
优选地,所述T形块与所述T形滑槽相对的一面开设有卡接槽,所述T形滑槽与所述T形块相对的一面开设有移动槽,所述移动槽的内壁滑动安装有斜形块,所述斜形块的一边开设有导向孔,所述导向孔的内壁滑动安装有导向杆,所述导向杆的一边安装在所述移动槽内壁的一边,所述导向杆的外侧壁套接安装有顶出弹簧,所述顶出弹簧的两端分别与所述斜形块和所述移动槽的一边相接触。Preferably, the side of the T-shaped block opposite to the T-shaped chute is provided with a locking groove, and the side of the T-shaped chute opposite to the T-shaped block is provided with a moving groove, and the inner wall of the moving groove A slanted block is slidably installed, and a guide hole is provided on one side of the slanted block, and a guide rod is slidably installed on the inner wall of the guide hole, and one side of the guide rod is installed on one side of the inner wall of the moving groove. An ejection spring is sleeved on the outer side wall of the rod, and the two ends of the ejection spring are respectively in contact with the oblique block and one side of the moving groove.
进一步的,当T形滑槽的移动槽与T形块的卡接槽相对齐的时候,此时顶出弹簧对斜形块的一边施加作用,使斜形块进入到卡接槽的内部,此时T形块不能向上移动,完成限位,防止滑块脱离底模。Further, when the moving groove of the T-shaped chute is aligned with the engagement groove of the T-shaped block, the ejection spring acts on one side of the oblique block, so that the oblique block enters the interior of the engagement groove, At this time, the T-shaped block cannot move upwards, and the limit is completed to prevent the slide block from breaking away from the bottom mold.
本实用工作原理:The working principle of this utility:
综上,本实用新型的技术效果和优点:In summary, the technical effects and advantages of the present utility model:
1、本实用新型中,滑块在冲压组件的作用力下,沿着T形滑槽移动,直至滑块的顶部平面与底模的顶部平面重合,滑块与底模形成金属板所要成形的形状,在冲压组件的作用力下,矩形金属板被折弯成所要成形形状,然后冲压组件撤销外力,顶出组件用于将滑块向上顶出,四个滑块相互靠近,使成形后的金属板脱离底模,同时使其四周内壁不与滑块的外侧壁相接触,这样不会成形外壳会卡在模具上。1. In the utility model, the slider moves along the T-shaped chute under the force of the stamping assembly until the top plane of the slider coincides with the top plane of the bottom mold, and the slider and the bottom mold form the metal plate to be formed. shape, under the force of the stamping assembly, the rectangular metal plate is bent into the desired shape, and then the stamping assembly cancels the external force, and the ejection assembly is used to push the slider upwards, and the four sliders are close to each other to make the formed shape The metal plate is separated from the bottom mold, and the inner wall around it is not in contact with the outer wall of the slider, so that the formed shell will not be stuck on the mold.
2、本实用新型中,当T形滑槽的移动槽与T形块的卡接槽相对齐的时候,此时顶出弹簧对斜形块的一边施加作用,使斜形块进入到卡接槽的内部,此时T形块不能向上移动,完成限位,防止滑块脱离底模。2. In the utility model, when the moving groove of the T-shaped chute is aligned with the clamping groove of the T-shaped block, the ejection spring acts on one side of the oblique block so that the oblique block enters into the clamping slot. Inside the groove, the T-shaped block cannot move upwards at this time, and the limit is completed to prevent the slide block from breaking away from the bottom mold.
附图说明Description of drawings
为了更清楚地说明本申请实施例或现有技术中的技术方案,下面将对实施例或现有技术描述中所需要使用的附图作简单地介绍,显而易见地,下面描述中的附图仅是本申请的一些实施例,对于本领域技术人员来讲,在不付出创造性劳动的前提下,还可以根据这些附图获得其他的附图。In order to more clearly illustrate the technical solutions in the embodiments of the present application or the prior art, the following will briefly introduce the drawings that need to be used in the description of the embodiments or the prior art. Obviously, the drawings in the following description are only These are some embodiments of the present application. For those skilled in the art, other drawings can also be obtained based on these drawings without creative work.
图1为本实施例中一种挖掘机外壳用冲孔折弯模具的立体结构示意图;Fig. 1 is a schematic diagram of the three-dimensional structure of a punching and bending die for an excavator shell in the present embodiment;
图2为图1的剖切结构示意图;Fig. 2 is the schematic diagram of the cross-sectional structure of Fig. 1;
图3为本实施例中的俯视结构示意图;Fig. 3 is the top view structure schematic diagram among the present embodiment;
图4为图3的A-A剖切结构示意图;Fig. 4 is a schematic diagram of the cut-away structure of A-A of Fig. 3;
图5为图4的A处放大结构示意图。FIG. 5 is a schematic diagram of the enlarged structure at A in FIG. 4 .
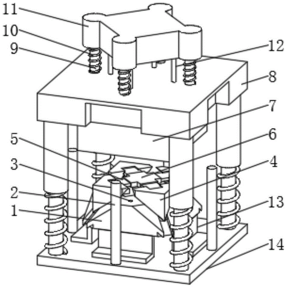
图中:1、底模;2、定位杆;3、成形孔;4、滑块;5、导向板;6、十字壳板;7、成形模块;8、顶块;9、固定杆;10、第二复位弹簧;11、受力块;12、冲孔刀;13、支撑板;14、底板;15、定位柱;16、T形块;17、顶出柱;18、固定筒;19、第一复位弹簧;20、斜形块;21、顶出弹簧;22、导向杆。In the figure: 1, bottom mold; 2, positioning rod; 3, forming hole; 4, slider; 5, guide plate; 6, cross shell plate; 7, forming module; 8, top block; 9, fixed rod; 10 1, second return spring; 11, force block; 12, punching knife; 13, support plate; 14, bottom plate; 15, positioning column; 16, T-shaped block; 17, ejector column; , the first return spring; 20, the oblique block; 21, the ejection spring; 22, the guide rod.
具体实施方式Detailed ways
下面将结合本实用新型实施例中的附图,对本实用新型实施例中的技术方案进行清楚、完整地描述,显然,所描述的实施例仅仅是本实用新型一部分实施例,而不是全部的实施例。基于本实用新型中的实施例,本领域普通技术人员在没有做出创造性劳动前提下所获得的所有其他实施例,都属于本实用新型保护的范围。The technical solutions in the embodiments of the present invention will be clearly and completely described below in conjunction with the accompanying drawings in the embodiments of the present invention. Obviously, the described embodiments are only part of the embodiments of the present invention, not all of them. example. Based on the embodiments of the present utility model, all other embodiments obtained by persons of ordinary skill in the art without making creative efforts belong to the scope of protection of the present utility model.
实施例:参考图1-5所示的一种挖掘机外壳用冲孔折弯模具,包括底模1,这里需要进行说明底模1的形状是根据挖掘机外壳所制定的。Embodiment: Referring to a punching and bending die for an excavator casing shown in Figures 1-5, including a
底模1顶部的四个拐角处均开设有滑面,滑面顶部的开设有T形滑槽,T形滑槽的内壁滑动安装有T形块16,这里需要进行说明T形滑槽与T形块16相互配合,可以保证滑块4沿着滑面做向上直线运动。The four corners of the top of the
T形块16的顶部安装有滑块4,四个滑块4的一侧部设置有顶出组件,顶出组件用于将滑块4向上顶出,底模1的底部设置有支撑组件,支撑组件是用于支撑整个模具,支撑组件的顶部设置有冲压组件,冲压组件可以对材料进行冲压折弯,这里需要进行说明该模具适用于规则的矩形金属板。The top of the T-shaped
借由上述结构:将该模具放置在对应的液压机上,然后将规则的矩形金属板放置在底模1的顶部上方,即放置在四个滑块4的顶部,进行矩形金属板的中心与底模1顶部的中心对齐后,在液压机的作用,冲压组件可以对矩形金属板进行冲压折弯,此过程中,滑块4在冲压组件的作用力下,沿着T形滑槽移动,直至滑块4的顶部平面与底模1的顶部平面重合,滑块4与底模1形成金属板所要成形的形状,在冲压组件的作用力下,矩形金属板被折弯成所要成形形状,然后冲压组件撤销外力,顶出组件用于将滑块4向上顶出,四个滑块4相互靠近,使成形后的金属板脱离底模1,同时使其四周内壁不与滑块4的外侧壁相接触,这样不会成形外壳会卡在模具上。By means of the above structure: the mold is placed on the corresponding hydraulic press, and then the regular rectangular metal plate is placed on the top of the
作为本实施例的一种优选的实施方式,如图5所示,底模1顶部的中部开设有滑动腔,顶出组件包括顶出柱17,顶出柱17滑动安装在滑动腔的内壁上,顶出柱17的底部设置有第一复位弹簧19,第一复位弹簧19的两端分别与顶出柱17和滑动腔的底部相接触,顶出柱17的顶部设置有连接组件,当滑块4在冲压组件的作用力下向下移动的时候,第一复位弹簧19被压缩,当冲压组件不再施加作用力的时候,第一复位弹簧19复位,通过顶出柱17和连接组件将滑块4推向原位。As a preferred implementation of this embodiment, as shown in Figure 5, a sliding cavity is provided in the middle of the top of the
本实施例中,如图1所示,连接组件包括十字壳板6和四个导向板5,四个导向板5平均滑动安装在十字壳板6四端的内壁上,导向板5的一侧部安装在滑块4上,十字壳板6底部的中部安装在顶出柱17的顶部,十字壳板6和四个导向板5相互配合,可以使四个滑块4做同步运动。In this embodiment, as shown in Figure 1, the connection assembly includes a
作为本实施例的一种优选的实施方式,如图5所示,支撑组件包括底板14,底板14的顶部安装有多个等距离分布的支撑板13,支撑板13顶部安装在底模1的底部上,底板14的顶部安装有四个的定位杆2,每个定位杆2平均靠近底模1四个垂直底板14一面上,底板14顶部的四个拐角处均设置有缓冲组件,支撑板13将底模1抬高,可以冲压组件在底模1冲孔时,冲出的废料掉落在底板14上,不在底模1内部,便于打扫。As a preferred implementation of this embodiment, as shown in Figure 5, the support assembly includes a
本实施例中,如图2所示,缓冲组包括定位柱15和固定筒18,定位柱15的底部安装在底板14上,定位柱15的外侧壁滑动安装在固定筒18的顶部,固定筒18的顶部安装有顶块8,顶块8底部的中部安装有成形模块7,定位柱15的外侧壁套接安装有第三复位弹簧,第三复位弹簧的两端分别与固定筒18和底板14相接触,在外力作用下,第三复位弹簧被压缩,同时产生对抗力,在外力作用下去除的情况下,此时对抗力施加在固定筒18的底部,使整个顶块8回归原位。In this embodiment, as shown in Figure 2, the buffer group includes a
本实施例中,如图1所示,顶块8的顶部开设有多个等距离分布的固定杆9,固定杆9的顶部设置受力块11,受力块11底部的四个拐角处均开设有圆孔,固定杆9滑动安装在圆孔的内壁上,固定杆9的外侧壁套接安装有第二复位弹簧10,第二复位弹簧10的两端分别与受力块11和顶块8相接触,底模1的顶部开设有多个成形孔3,顶块8的顶部开设多个出刀孔,出刀孔与成形孔3相对应,出刀孔的内壁滑动安装有冲孔刀12,冲孔刀12的顶部安装在受力块11的底部,在外力作用下,第二复位弹簧10被压缩,同时产生对抗力,在外力作用下去除的情况下,此时对抗力施加在受力块11的底部。In this embodiment, as shown in Figure 1, the top of the
作为本实施例的一种优选的实施方式,如图5所示,T形块16与T形滑槽相对的一面开设有卡接槽,T形滑槽与T形块16相对的一面开设有移动槽,移动槽的内壁滑动安装有斜形块20,斜形块20的一边开设有导向孔,导向孔的内壁滑动安装有导向杆22,导向杆22的一边安装在移动槽内壁的一边,导向杆22的外侧壁套接安装有顶出弹簧21,顶出弹簧21的两端分别与斜形块20和移动槽的一边相接触,当T形滑槽的移动槽与T形块16的卡接槽相对齐的时候,此时顶出弹簧21对斜形块20的一边施加作用,使斜形块20进入到卡接槽的内部,此时T形块16不能向上移动,完成限位,防止滑块4脱离底模1。As a preferred implementation of this embodiment, as shown in Figure 5, the side of the T-shaped
本实用工作原理:The working principle of this utility:
将该模具放置在对应的液压机上,然后将规则的矩形金属板放置在底模1的顶部上方,即放置在四个滑块4的顶部,进行矩形金属板的中心与底模1顶部的中心对齐后,在液压机的作用,冲压组件可以对矩形金属板进行冲压折弯,此过程中,滑块4在冲压组件的作用力下,沿着T形滑槽移动,直至滑块4的顶部平面与底模1的顶部平面重合,滑块4与底模1形成金属板所要成形的形状,在冲压组件的作用力下,矩形金属板被折弯成所要成形形状,然后冲压组件撤销外力,顶出组件用于将滑块4向上顶出,四个滑块4相互靠近,使成形后的金属板脱离底模1,同时使其四周内壁不与滑块4的外侧壁相接触,这样不会成形外壳会卡在模具上。The mold is placed on the corresponding hydraulic press, and then the regular rectangular metal plate is placed on the top of the
当T形滑槽的移动槽与T形块16的卡接槽相对齐的时候,此时顶出弹簧21对斜形块20的一边施加作用,使斜形块20进入到卡接槽的内部,此时T形块16不能向上移动,完成限位,防止滑块4脱离底模1;支撑板13将底模1抬高,可以使底模1冲孔时,冲出的废料掉落在底板14上,不在底模1内部,便于打扫。When the moving groove of the T-shaped chute is aligned with the clamping groove of the T-shaped
最后应说明的是:以上所述仅为本实用新型的优选实施例而已,并不用于限制本实用新型,尽管参照前述实施例对本实用新型进行了详细的说明,对于本领域的技术人员来说,其依然可以对前述各实施例所记载的技术方案进行修改,或者对其中部分技术特征进行等同替换,凡在本实用新型的精神和原则之内,所作的任何修改、等同替换、改进等,均应包含在本实用新型的保护范围之内。Finally, it should be noted that: the above is only a preferred embodiment of the utility model, and is not intended to limit the utility model, although the utility model has been described in detail with reference to the foregoing embodiments, for those skilled in the art , it can still modify the technical solutions recorded in the foregoing embodiments, or perform equivalent replacements on some of the technical features. Any modifications, equivalent replacements, improvements, etc. made within the spirit and principles of the present utility model, All should be included within the protection scope of the present utility model.
Claims (7)
Priority Applications (1)
| Application Number | Priority Date | Filing Date | Title |
|---|---|---|---|
| CN202220705328.3U CN218532513U (en) | 2022-03-29 | 2022-03-29 | Punching and bending die for excavator shell |
Applications Claiming Priority (1)
| Application Number | Priority Date | Filing Date | Title |
|---|---|---|---|
| CN202220705328.3U CN218532513U (en) | 2022-03-29 | 2022-03-29 | Punching and bending die for excavator shell |
Publications (1)
| Publication Number | Publication Date |
|---|---|
| CN218532513U true CN218532513U (en) | 2023-02-28 |
Family
ID=85258669
Family Applications (1)
| Application Number | Title | Priority Date | Filing Date |
|---|---|---|---|
| CN202220705328.3U Active CN218532513U (en) | 2022-03-29 | 2022-03-29 | Punching and bending die for excavator shell |
Country Status (1)
| Country | Link |
|---|---|
| CN (1) | CN218532513U (en) |
-
2022
- 2022-03-29 CN CN202220705328.3U patent/CN218532513U/en active Active
Similar Documents
| Publication | Publication Date | Title |
|---|---|---|
| CN208116530U (en) | A kind of stamping head of stamping die protective device | |
| CN210816910U (en) | Electrical apparatus contact stamping die | |
| CN218532513U (en) | Punching and bending die for excavator shell | |
| CN210523579U (en) | Full-periphery inward-bending punch forming die | |
| CN214644256U (en) | Punching die for special-shaped pipe | |
| CN217098749U (en) | Hardware mould ejection mechanism | |
| CN213997294U (en) | Automatic forming die for one-step bending multi-edge angle of large-scale plate | |
| CN213052347U (en) | Forming die for handrail support in elevator car | |
| CN219338442U (en) | Injection molding die of toy | |
| CN214108527U (en) | An environmentally friendly lunch box forming mold | |
| CN211662451U (en) | Mold ejection system | |
| CN213317670U (en) | Improved electrode block pressing die structure | |
| CN210589671U (en) | Stamping die for plastic product processing | |
| CN210412201U (en) | A precision cold stamping die | |
| CN216150929U (en) | A punching die structure for a workpiece with a high and low level difference in an automobile | |
| CN216032746U (en) | Precision die capable of discharging rapidly | |
| CN216263033U (en) | Discharging structure and sheet metal part stamping die | |
| CN214977089U (en) | Porous mould assembly | |
| CN221602933U (en) | Double-buffering type traceless bending precision die | |
| CN215544622U (en) | Separable cold-heading device that takes precautions against earthquakes | |
| CN218798712U (en) | Bending die convenient to drawing of patterns | |
| CN219378579U (en) | Automobile control arm body flanging forming die | |
| CN212684612U (en) | Refrigerator door handle injection mold with prevent deformation | |
| CN217192070U (en) | Mould convenient for quick demoulding | |
| CN213703704U (en) | Anti-adhesion flexible circuit board stamping die |
Legal Events
| Date | Code | Title | Description |
|---|---|---|---|
| GR01 | Patent grant | ||
| GR01 | Patent grant | ||
| TR01 | Transfer of patent right | ||
| TR01 | Transfer of patent right |
Effective date of registration: 20250122 Address after: No. 62 Chengzainei, Wutu Village, Xinmin Town, Tong'an District, Xiamen City, Fujian Province 361113 Patentee after: Xu Jiansen Country or region after: China Address before: 272000 Nanzhang sub District Office (Sujia Village), Rencheng District, Jining City, Shandong Province Patentee before: Jining Shihong Precision Technology Co.,Ltd. Country or region before: China |
|
| TR01 | Transfer of patent right | ||
| TR01 | Transfer of patent right |
Effective date of registration: 20250623 Address after: 361001 Fujian Province, Xiamen City, Siming District, Qianpu Middle Road No. 323, Lianqian Group Building, 2nd Floor, Unit 2-A717 Patentee after: Fujian Huzong Municipal Landscape Engineering Co.,Ltd. Country or region after: China Address before: No. 62 Chengzainei, Wutu Village, Xinmin Town, Tong'an District, Xiamen City, Fujian Province 361113 Patentee before: Xu Jiansen Country or region before: China |
