CN218514838U - A pasture crushing and juicing all-in-one machine - Google Patents
A pasture crushing and juicing all-in-one machine Download PDFInfo
- Publication number
- CN218514838U CN218514838U CN202221883361.1U CN202221883361U CN218514838U CN 218514838 U CN218514838 U CN 218514838U CN 202221883361 U CN202221883361 U CN 202221883361U CN 218514838 U CN218514838 U CN 218514838U
- Authority
- CN
- China
- Prior art keywords
- box
- box body
- juicing
- crushing
- horizontally
- Prior art date
- Legal status (The legal status is an assumption and is not a legal conclusion. Google has not performed a legal analysis and makes no representation as to the accuracy of the status listed.)
- Active
Links
- 238000012545 processing Methods 0.000 claims abstract description 49
- 235000011389 fruit/vegetable juice Nutrition 0.000 claims abstract description 24
- 238000000227 grinding Methods 0.000 claims abstract description 23
- 238000005520 cutting process Methods 0.000 claims description 37
- 238000012216 screening Methods 0.000 claims description 32
- 244000025254 Cannabis sativa Species 0.000 claims description 19
- 230000005540 biological transmission Effects 0.000 claims description 12
- 210000001503 joint Anatomy 0.000 claims description 3
- 238000007599 discharging Methods 0.000 claims 4
- 238000003466 welding Methods 0.000 claims 3
- 230000000149 penetrating effect Effects 0.000 claims 2
- 239000000463 material Substances 0.000 abstract description 12
- 239000002893 slag Substances 0.000 abstract description 6
- 239000002699 waste material Substances 0.000 abstract description 4
- 238000000926 separation method Methods 0.000 abstract description 2
- 238000012546 transfer Methods 0.000 abstract description 2
- 238000001125 extrusion Methods 0.000 description 6
- 239000004459 forage Substances 0.000 description 5
- 238000010586 diagram Methods 0.000 description 4
- 238000013019 agitation Methods 0.000 description 2
- 238000004891 communication Methods 0.000 description 2
- 244000144972 livestock Species 0.000 description 2
- 238000000034 method Methods 0.000 description 2
- 241000196324 Embryophyta Species 0.000 description 1
- 230000009286 beneficial effect Effects 0.000 description 1
- 238000002474 experimental method Methods 0.000 description 1
- 238000000605 extraction Methods 0.000 description 1
- 230000008929 regeneration Effects 0.000 description 1
- 238000011069 regeneration method Methods 0.000 description 1
- 241000894007 species Species 0.000 description 1
- 239000011573 trace mineral Substances 0.000 description 1
- 235000013619 trace mineral Nutrition 0.000 description 1
- 239000011782 vitamin Substances 0.000 description 1
- 229940088594 vitamin Drugs 0.000 description 1
- 229930003231 vitamin Natural products 0.000 description 1
- 235000013343 vitamin Nutrition 0.000 description 1
Images
Landscapes
- Crushing And Grinding (AREA)
Abstract
本实用新型公开了一种牧草粉碎榨汁一体机,涉及牧草粉碎领域,包括处理箱体,所述处理箱体的底面均匀水平对接有底垫块,所述处理箱体的底面焊接有投料斗,所述处理箱体的一侧边水平开设有排汁槽,所述处理箱体的内侧边斜焊接有导向底板,采用切割式的粉碎结构下使得粉碎的更加的彻底高效,同时环形刀片辊压式粉碎使得对牧草粉碎时不会造成粘连而形成的堵塞情况,而堵塞后会影响到粉碎的效率,且在粉碎和榨汁一体化结构,使得对牧草的加工更加的高效,不用对粉碎后的牧草进行转移到榨汁位置加工操作,而转移粉碎物料会造成掉落形成浪费情况,在榨汁和排渣分离式结构可以有效的对物料进行分类收集,而挤压研磨式的结构使得榨汁更加的彻底全面。
The utility model discloses an all-in-one machine for pasture crushing and juicing, which relates to the field of pasture crushing. , one side of the processing box is horizontally provided with a juice discharge groove, and the inner side of the processing box is obliquely welded with a guide bottom plate, and the cutting-type crushing structure is adopted to make the crushing more thorough and efficient, while the ring blade Roller crushing prevents clogging caused by sticking when crushing pasture, and the clogging will affect the efficiency of crushing, and the integrated structure of crushing and juicing makes the processing of pasture more efficient. The crushed pasture is transferred to the juicing position for processing, and the transfer of crushed materials will cause falling and waste. The separation structure of juicing and slag discharge can effectively classify and collect materials, while the squeezing and grinding structure Makes juicing more thorough and comprehensive.
Description
技术领域technical field
本实用新型涉及牧草粉碎技术领域,具体是一种牧草粉碎榨汁一体机。The utility model relates to the technical field of pasture crushing, in particular to a pasture crushing and juicing integrated machine.
背景技术Background technique
牧草,一般指供饲养的牲畜食用的草或其他草本植物。牧草再生力强,一年可收割多次,富含各种微量元素和维生素,因此成为饲养家畜的首选。牧草品种的优劣直接影响到畜牧业经济效益的高低,需加以重视。Grass generally refers to grass or other herbaceous plants that are eaten by livestock. Forage grass has strong regeneration ability, can be harvested several times a year, and is rich in various trace elements and vitamins, so it becomes the first choice for raising livestock. The quality of pasture species directly affects the level of economic benefits of animal husbandry, so it needs to be paid attention to.
对于现在的牧草在进行加工时,需要对其进行粉碎和榨汁操作,传统的粉碎和榨汁均是分开加工操作的,导致了在粉碎后还需要将粉碎后的物料进行搬运到榨汁设备内部榨汁操作,在搬运时会造成物料的掉落造成浪费,同时在粉碎时采用的搅动粉碎使得会对内部形成堵塞情况,堵塞后会影响到对牧草的粉碎加工效率,而榨汁就是采用了挤压式的操作,使得挤压的力受限而让榨汁的成汁率较低,还需要单独的对设备内部的渣料掏出形成不便性。For the current forage grass, it needs to be crushed and juiced when it is processed. The traditional crushing and juicing are processed separately, resulting in the need to transport the crushed material to the juicer after crushing. The internal juicing operation will cause the material to drop and cause waste during transportation. At the same time, the agitation and crushing used in the crushing will cause blockage inside the interior. After the blockage, it will affect the crushing efficiency of the pasture. Juicing is to use In addition to the extrusion operation, the extrusion force is limited and the juice yield of the juice is low, and it is inconvenient to take out the slag inside the equipment separately.
实用新型内容Utility model content
本实用新型的目的在于提供一种牧草粉碎榨汁一体机,以解决上述背景技术中提出的对于现在的牧草在进行加工时,需要对其进行粉碎和榨汁操作,传统的粉碎和榨汁均是分开加工操作的,导致了在粉碎后还需要将粉碎后的物料进行搬运到榨汁设备内部榨汁操作,在搬运时会造成物料的掉落造成浪费,同时在粉碎时采用的搅动粉碎使得会对内部形成堵塞情况,堵塞后会影响到对牧草的粉碎加工效率,而榨汁就是采用了挤压式的操作,使得挤压的力受限而让榨汁的成汁率较低,还需要单独的对设备内部的渣料掏出形成不便性的问题。The purpose of this utility model is to provide an all-in-one forage grass crushing and juicing machine to solve the problem that the pasture grass needs to be crushed and squeezed when it is processed. It is processed separately, which leads to the need to transport the crushed materials to the inside of the juicing equipment for juice extraction after crushing. During the transportation, the materials will fall and cause waste. At the same time, the agitation and crushing used in crushing makes It will form a blockage inside, which will affect the crushing and processing efficiency of pasture grass, and juicing is a squeezing operation, which limits the force of squeezing and makes the juice yield of juicing low, and also It is necessary to separate the problem of inconvenience caused by taking out the slag inside the equipment.
为实现上述目的,本实用新型提供如下技术方案:In order to achieve the above object, the utility model provides the following technical solutions:
一种牧草粉碎榨汁一体机,包括处理箱体,所述处理箱体的底面均匀水平对接有底垫块,所述处理箱体的底面焊接有投料斗,所述处理箱体的一侧边水平开设有排汁槽,所述处理箱体的内侧边斜焊接有导向底板,所述处理箱体的一侧边镶嵌有控制面板,所述处理箱体的一侧边水平螺栓连接有侧盒体,所述侧盒体在远离处理箱体的一侧边螺栓连接有固定盒,所述处理箱体的顶面水平开设有顶通槽,所述处理箱体的内侧边水平对称设置有切割辊,所述侧盒体的内侧边设置有传输齿轮,所述固定盒的内侧边螺栓连接有切割电机,所述处理箱体的内侧边水平焊接有导向斗,所述处理箱体的内侧边对称焊接有固定底块,所述固定底块之间侧边水平固定卡接有底筛选板,所述处理箱体的内侧边设置有挤压辊,所述挤压辊的外侧边固定套接有研磨层,所述处理箱体的一侧边斜开设有侧排料槽,所述处理箱体的底面均匀开设有底螺孔,所述底垫块的顶面固定插接有连接螺杆,所述处理箱体在远离控制面板的一侧边螺栓连接有研磨电机。An all-in-one machine for pasture crushing and juicing, comprising a processing box, the bottom surface of the processing box is evenly and horizontally connected with a bottom pad, the bottom surface of the processing box is welded with a feeding hopper, and one side of the processing box is There is a juice discharge tank horizontally, the inner side of the treatment box is obliquely welded with a guide bottom plate, one side of the treatment box is inlaid with a control panel, and one side of the treatment box is horizontally bolted with a side Box body, the side box body is bolt-connected with a fixed box on the side far away from the processing box body, the top surface of the processing box body is horizontally provided with a top through groove, and the inner side of the processing box body is horizontally and symmetrically arranged There is a cutting roller, the inner side of the side box is provided with a transmission gear, the inner side of the fixed box is bolted to a cutting motor, the inner side of the processing box is horizontally welded with a guide bucket, the processing The inner side of the box body is symmetrically welded with fixed bottom blocks, and the sides between the fixed bottom blocks are horizontally fixed and fixed with a bottom screening plate. The inner side of the processing box is provided with extrusion rollers, and the extrusion The outer side of the roller is fixedly sleeved with a grinding layer, one side of the treatment box is obliquely provided with a side discharge groove, the bottom surface of the treatment box is uniformly provided with bottom screw holes, and the top of the bottom cushion block The surface is fixedly plugged with a connecting screw, and the processing box is bolt-connected with a grinding motor on the side far away from the control panel.
作为本实用新型的一种优选实施方式:所述底垫块的个数为四块,且四块底垫块的顶面均一一对应对接设置在底螺孔的底开口端位置,投料斗的底端垂直向下对接设置在顶通槽的顶开口端位置,且投料斗的内部与顶通槽的内部相互之间保持通接设置。As a preferred embodiment of the present utility model: the number of the bottom pads is four, and the top surfaces of the four bottom pads are evenly arranged at the bottom opening end of the bottom screw hole one by one, and the feeding hopper The bottom end of the feeder is vertically downwardly connected to the top opening end of the top-through groove, and the inside of the feeding hopper and the inside of the top-through groove are kept in communication with each other.
作为本实用新型的一种优选实施方式:所述排汁槽水平贯穿式开设在处理箱体的一侧边靠近底面位置,且排汁槽水平设置在固定底块之间位置,导向底板的一端斜向下固定设置在排汁槽的一侧开口底面位置,且导向底板呈倾斜状设置在底筛选板的底面位置。As a preferred embodiment of the present utility model: the juice discharge tank is horizontally opened on one side of the processing box close to the bottom surface, and the juice discharge tank is horizontally arranged between the fixed bottom blocks, leading to one end of the bottom plate It is fixedly arranged on the bottom surface of one side opening of the juice discharge tank obliquely downward, and the guide bottom plate is arranged obliquely on the bottom surface of the bottom screening plate.
作为本实用新型的一种优选实施方式:所述侧盒体水平固定设置在处理箱体的一侧边靠近顶端位置,固定盒固定设置在侧盒体的一侧边靠近一端位置,顶通槽水平开设在处理箱体的顶面中心位置,且顶通槽的内部与处理箱体的内部保持通接设置,切割辊的个数为两根,且两根切割辊相互之间平行设置,切割辊的外侧边设置的切割刀片相互交错式排布,切割辊水平设置在处理箱体的内侧靠近顶面位置。As a preferred embodiment of the present utility model: the side box is fixed horizontally on one side of the processing box close to the top, the fixed box is fixed on one side of the side box close to one end, and the top through groove It is set horizontally at the center of the top surface of the processing box, and the inside of the top through groove is kept connected with the inside of the processing box. The number of cutting rollers is two, and the two cutting rollers are arranged parallel to each other. The cutting blades arranged on the outer sides of the rollers are arranged in a staggered manner, and the cutting rollers are horizontally arranged on the inner side of the processing box close to the top surface.
作为本实用新型的一种优选实施方式:所述传输齿轮分别一一对应固定套接设置在切割辊的一端轴端位置,且传输齿轮相互之间齿接设置,切割电机的输出端水平焊接设置在一根切割辊的一端轴端位置,导向斗的底开端设置在底筛选板的一端顶面位置,固定底块相互平行固定设置,底筛选板呈弧形水平固定设置在固定底块之间顶端位置。As a preferred embodiment of the present utility model: the transmission gears are fixedly sleeved at one end of the cutting roller in one-to-one correspondence, and the transmission gears are set in gear connection with each other, and the output end of the cutting motor is horizontally welded. At the axial end of one end of a cutting roller, the bottom opening of the guide bucket is set at the top surface of one end of the bottom screening plate, the fixed bottom blocks are fixed and arranged parallel to each other, and the bottom screening plate is fixed and horizontally arranged between the fixed bottom blocks in an arc shape top position.
作为本实用新型的一种优选实施方式:所述挤压辊设置在底筛选板的圆中心位置,且研磨层的底面对接设置在底筛选板的顶面位置,侧排料槽贯穿式设置在靠近底筛选板的一端位置,研磨电机的输出端水平贯穿处理箱体的侧壁延伸至内部,且延伸端水平焊接设置在挤压辊的中心位置。As a preferred embodiment of the present utility model: the squeeze roller is arranged at the center of the bottom screening plate, and the bottom surface of the grinding layer is arranged on the top surface of the bottom screening plate, and the side discharge groove is arranged through the Near one end of the bottom screening plate, the output end of the grinding motor extends horizontally through the side wall of the processing box to the inside, and the extension end is horizontally welded and arranged at the center of the extrusion roller.
与现有技术相比,本实用新型的有益效果是:Compared with the prior art, the beneficial effects of the utility model are:
本实用新型通过将牧草进行投入到投料斗的内部,在向下落入后通过顶通槽进入到处理箱体的内部,在切割电机的转动下使得传输齿轮转动作用,使得内部的切割辊相互之间转动对之间位置进行切割操作,将牧草进行切割粉碎后使得粉碎后的物料向下落入到导向斗的内部,然后在导向斗的导向下使得粉碎物料向下落入到底筛选板的顶面一端位置,而在研磨电机的转动下使得挤压辊带动着研磨层在底筛选板的顶面进行转动作用,在研磨层和底筛选板相互研磨操作,使得对之间位置的粉碎牧草进行挤压研磨处理,而研磨的汁液通过底筛选板进行筛选将汁料向下漏出,通过导向底板的导向下从排汁槽向外排出,而在转动的带动下使得将底筛选板的顶面渣料向侧排料槽的方向运动,通过侧排料槽向外排出收集处理,在采用了切割式的粉碎结构下使得粉碎的更加的彻底高效,同时环形刀片辊压式粉碎使得对牧草粉碎时不会造成粘连而形成的堵塞情况,而堵塞后会影响到粉碎的效率,且在粉碎和榨汁一体化结构,使得对牧草的加工更加的高效,不用对粉碎后的牧草进行转移到榨汁位置加工操作,而转移粉碎物料会造成掉落形成浪费情况,在榨汁和排渣分离式结构可以有效的对物料进行分类收集,而挤压研磨式的结构使得榨汁更加的彻底全面。The utility model puts the forage grass into the inside of the feeding hopper, and enters the inside of the processing box through the top through groove after falling downwards, and makes the transmission gear rotate under the rotation of the cutting motor, so that the internal cutting rollers are in contact with each other. Rotate between the pairs for cutting operation, cut and crush the pasture, make the crushed material fall down into the inside of the guide bucket, and then make the crushed material fall down into the top end of the bottom screening plate under the guidance of the guide bucket position, and under the rotation of the grinding motor, the extrusion roller drives the grinding layer to rotate on the top surface of the bottom screening plate, and the grinding layer and the bottom screening plate grind each other, so that the crushed pasture in the middle position is squeezed Grinding process, and the ground juice is screened through the bottom screening plate to leak the juice downward, and is discharged from the juice discharge tank under the guidance of the guiding bottom plate, and driven by the rotation to make the top slag of the bottom screening plate It moves in the direction of the side discharge chute, and is discharged and collected through the side discharge chute. The cutting-type crushing structure makes the crushing more thorough and efficient. At the same time, the annular blade roller crushing makes it easy to crush the grass It will cause blockage caused by adhesion, and the blockage will affect the efficiency of crushing, and the integrated structure of crushing and juicing makes the processing of pasture more efficient, and there is no need to transfer the crushed pasture to the juicing position Processing operation, while transferring crushed materials will cause falling and waste, the separation structure of juicing and slag discharge can effectively classify and collect materials, and the structure of squeezing and grinding makes juicing more thorough and comprehensive.
附图说明Description of drawings
通过阅读参照以下附图对非限制性实施例所作的详细描述,本实用新型的其它特征、目的和优点将会变得更明显:Other features, objects and advantages of the present invention will become more apparent by reading the detailed description of non-limiting embodiments with reference to the following drawings:
图1为一种牧草粉碎榨汁一体机的立体结构示意图;Fig. 1 is a three-dimensional structural schematic diagram of an all-in-one machine for pasture crushing and juicing;
图2为一种牧草粉碎榨汁一体机的处理箱体正视剖面连接细节的结构示意图;Fig. 2 is a structural schematic diagram of the connection details of the front view section of the treatment box of a pasture crushing and juicing machine;
图3为一种牧草粉碎榨汁一体机的处理箱体俯视剖面连接细节的结构示意图;Fig. 3 is a structural schematic diagram of the connection details of the top view section of the treatment box of a pasture crushing and juicing machine;
图4为一种牧草粉碎榨汁一体机的挤压辊侧视剖面连接细节的结构示意图。Fig. 4 is a schematic structural diagram of the connection details of the squeeze roller in a side view section of an all-in-one forage grass crushing and juicing machine.
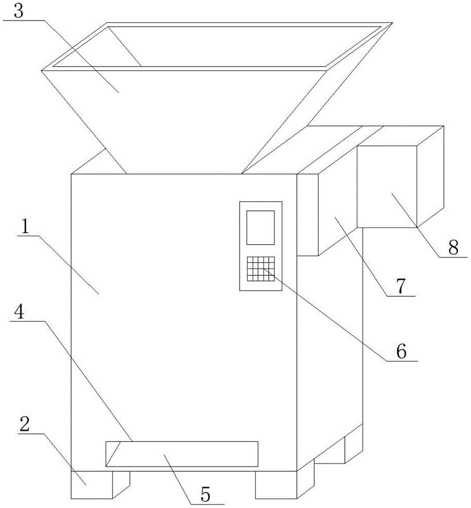
图中:1、处理箱体;2、底垫块;3、投料斗;4、排汁槽;5、导向底板;6、控制面板;7、侧盒体;8、固定盒;9、顶通槽;10、切割辊;11、传输齿轮;12、切割电机;13、导向斗;14、固定底块;15、底筛选板;16、挤压辊;17、研磨层;18、侧排料槽;19、底螺孔;20、连接螺杆;21、研磨电机。In the figure: 1. Processing box; 2. Bottom cushion block; 3. Feeding hopper; 4. Juice discharge tank; 5. Guide bottom plate; 6. Control panel; 7. Side box body; 8. Fixed box; 9. Top Through groove; 10. Cutting roller; 11. Transmission gear; 12. Cutting motor; 13. Guide bucket; 14. Fixed bottom block; 15. Bottom screening plate; 16. Squeeze roller; 17. Grinding layer; Feed trough; 19, bottom screw hole; 20, connecting screw; 21, grinding motor.
具体实施方式Detailed ways
请参阅图1,本实用新型实施例中,一种牧草粉碎榨汁一体机,包括处理箱体1,处理箱体1的底面均匀水平对接有底垫块2,处理箱体1的底面焊接有投料斗3,底垫块2的个数为四块,且四块底垫块2的顶面均一一对应对接设置在底螺孔19的底开口端位置,投料斗3的底端垂直向下对接设置在顶通槽9的顶开口端位置,且投料斗3的内部与顶通槽9的内部相互之间保持通接设置,处理箱体1的一侧边水平开设有排汁槽4,处理箱体1的内侧边斜焊接有导向底板5,排汁槽4水平贯穿式开设在处理箱体1的一侧边靠近底面位置,且排汁槽4水平设置在固定底块14之间位置,导向底板5的一端斜向下固定设置在排汁槽4的一侧开口底面位置,且导向底板5呈倾斜状设置在底筛选板15的底面位置,处理箱体1的一侧边镶嵌有控制面板6,处理箱体1的一侧边水平螺栓连接有侧盒体7,侧盒体7在远离处理箱体1的一侧边螺栓连接有固定盒8,侧盒体7水平固定设置在处理箱体1的一侧边靠近顶端位置,固定盒8固定设置在侧盒体7的一侧边靠近一端位置;Please refer to Fig. 1, in the embodiment of the utility model, a pasture crushing and juicing all-in-one machine includes a
请参阅图2-4,本实用新型实施例中,一种牧草粉碎榨汁一体机,其中处理箱体1的顶面水平开设有顶通槽9,处理箱体1的内侧边水平对称设置有切割辊10,顶通槽9水平开设在处理箱体1的顶面中心位置,且顶通槽9的内部与处理箱体1的内部保持通接设置,切割辊10的个数为两根,且两根切割辊10相互之间平行设置,切割辊10的外侧边设置的切割刀片相互交错式排布,切割辊10水平设置在处理箱体1的内侧靠近顶面位置,侧盒体7的内侧边设置有传输齿轮11,固定盒8的内侧边螺栓连接有切割电机12,处理箱体1的内侧边水平焊接有导向斗13,处理箱体1的内侧边对称焊接有固定底块14,固定底块14之间侧边水平固定卡接有底筛选板15,传输齿轮11分别一一对应固定套接设置在切割辊10的一端轴端位置,且传输齿轮11相互之间齿接设置,切割电机12的输出端水平焊接设置在一根切割辊10的一端轴端位置,导向斗13的底开端设置在底筛选板15的一端顶面位置,固定底块14相互平行固定设置,底筛选板15呈弧形水平固定设置在固定底块14之间顶端位置,处理箱体1的内侧边设置有挤压辊16,挤压辊16的外侧边固定套接有研磨层17,处理箱体1的一侧边斜开设有侧排料槽18,处理箱体1的底面均匀开设有底螺孔19,底垫块2的顶面固定插接有连接螺杆20,处理箱体1在远离控制面板6的一侧边螺栓连接有研磨电机21,挤压辊16设置在底筛选板15的圆中心位置,且研磨层17的底面对接设置在底筛选板15的顶面位置,侧排料槽18贯穿式设置在靠近底筛选板15的一端位置,研磨电机21的输出端水平贯穿处理箱体1的侧壁延伸至内部,且延伸端水平焊接设置在挤压辊16的中心位置。Please refer to Figures 2-4. In the embodiment of the present utility model, there is an all-in-one grass crushing and juicing machine, wherein the top surface of the
部件均为通用标准件或本领域技术人员知晓的部件,其结构和原理都为本技术人员均可通过技术手册得知或通过常规实验方法获知。The components are common standard parts or components known to those skilled in the art, and their structures and principles can be known to those skilled in the art through technical manuals or through conventional experimental methods.
本实用新型的工作原理是:The working principle of the utility model is:
将牧草进行投入到投料斗3的内部,在向下落入后通过顶通槽9进入到处理箱体1的内部,在切割电机12的转动下使得传输齿轮11转动作用,使得内部的切割辊10相互之间转动对之间位置进行切割操作,将牧草进行切割粉碎后使得粉碎后的物料向下落入到导向斗13的内部,然后在导向斗13的导向下使得粉碎物料向下落入到底筛选板15的顶面一端位置,而在研磨电机21的转动下使得挤压辊16带动着研磨层17在底筛选板15的顶面进行转动作用,在研磨层17和底筛选板15相互研磨操作,使得对之间位置的粉碎牧草进行挤压研磨处理,而研磨的汁液通过底筛选板15进行筛选将汁料向下漏出,通过导向底板5的导向下从排汁槽4向外排出,而在转动的带动下使得将底筛选板15的顶面渣料向侧排料槽18的方向运动,通过侧排料槽18向外排出收集处理。Put pasture grass into the inside of the
以上所述的,仅为本实用新型较佳的具体实施方式,但本实用新型的保护范围并不局限于此,任何熟悉本技术领域的技术人员在本实用新型揭露的技术范围内,根据本实用新型的技术方案及其实用新型构思加以等同替换或改变,都应涵盖在本实用新型的保护范围之内。The above is only a preferred embodiment of the utility model, but the scope of protection of the utility model is not limited thereto. Any equivalent replacement or change of the technical solution of the utility model and the concept of the utility model shall be covered by the protection scope of the utility model.
Claims (6)
Priority Applications (1)
| Application Number | Priority Date | Filing Date | Title |
|---|---|---|---|
| CN202221883361.1U CN218514838U (en) | 2022-07-21 | 2022-07-21 | A pasture crushing and juicing all-in-one machine |
Applications Claiming Priority (1)
| Application Number | Priority Date | Filing Date | Title |
|---|---|---|---|
| CN202221883361.1U CN218514838U (en) | 2022-07-21 | 2022-07-21 | A pasture crushing and juicing all-in-one machine |
Publications (1)
| Publication Number | Publication Date |
|---|---|
| CN218514838U true CN218514838U (en) | 2023-02-24 |
Family
ID=85242562
Family Applications (1)
| Application Number | Title | Priority Date | Filing Date |
|---|---|---|---|
| CN202221883361.1U Active CN218514838U (en) | 2022-07-21 | 2022-07-21 | A pasture crushing and juicing all-in-one machine |
Country Status (1)
| Country | Link |
|---|---|
| CN (1) | CN218514838U (en) |
-
2022
- 2022-07-21 CN CN202221883361.1U patent/CN218514838U/en active Active
Similar Documents
| Publication | Publication Date | Title |
|---|---|---|
| CN213468088U (en) | A reducing mechanism for processing of phosphate food additive production facility | |
| CN206585998U (en) | Cattle feed pulverizer is herded in one kind cultivation | |
| CN214514862U (en) | Crushing mechanism of feed granulator | |
| CN208338356U (en) | Feed-processing device with impurity removal function | |
| CN218514838U (en) | A pasture crushing and juicing all-in-one machine | |
| CN204220257U (en) | Stalk is squeezed the juice pulverizing all-in-one | |
| CN213187264U (en) | Shredding device is used in animal husbandry forage grass processing | |
| CN108848968A (en) | The processing unit (plant) of impurity in raw material can be removed | |
| CN205988793U (en) | A kind of feed stuff reducing device | |
| CN210987146U (en) | straw crushing mixer | |
| CN209663402U (en) | Multi-functional environment-friendly feed granulator | |
| CN208338361U (en) | A kind of disintegrating apparatus used suitable for Feed Manufacturing | |
| CN207897442U (en) | A kind of continous way plant pulverizer | |
| CN111688254A (en) | Vegetable oil squeezing device for deep processing of food | |
| CN210159709U (en) | Reducing mechanism for feed production | |
| CN213792117U (en) | Secondary circulation reducing mechanism for feed processing | |
| CN214961215U (en) | Forming device is smashed in feed processing | |
| CN211660069U (en) | Corn flour mill capable of automatically cleaning screening net | |
| CN211982739U (en) | Pasture crushing apparatus for animal husbandry | |
| CN210474177U (en) | Pulverizer for processing aquatic feed | |
| CN222446752U (en) | A Huoshan Dendrobium pulp crushing device | |
| CN218423198U (en) | feed storage device | |
| CN221832474U (en) | Crushing apparatus for feed raw materials | |
| CN220143546U (en) | Fodder breaks up crushing apparatus | |
| CN218167677U (en) | Feed processing preprocessing device |
Legal Events
| Date | Code | Title | Description |
|---|---|---|---|
| GR01 | Patent grant | ||
| GR01 | Patent grant |
