CN218324009U - Be used for building engineering assistor of building a wall - Google Patents
Be used for building engineering assistor of building a wall Download PDFInfo
- Publication number
- CN218324009U CN218324009U CN202222285484.1U CN202222285484U CN218324009U CN 218324009 U CN218324009 U CN 218324009U CN 202222285484 U CN202222285484 U CN 202222285484U CN 218324009 U CN218324009 U CN 218324009U
- Authority
- CN
- China
- Prior art keywords
- splint
- threaded rod
- mortar
- building
- wall
- Prior art date
- Legal status (The legal status is an assumption and is not a legal conclusion. Google has not performed a legal analysis and makes no representation as to the accuracy of the status listed.)
- Expired - Fee Related
Links
Images
Landscapes
- Conveying And Assembling Of Building Elements In Situ (AREA)
Abstract
本实用新型涉及建筑工程技术领域,且公开了一种用于建筑工程砌墙辅助器,包括夹板,夹板顶面一端设置有支架,支架顶面设置有导轨,导轨内部设置有连接块,夹板二和夹板侧面分别开设有滑槽,滑槽内部设置有螺纹杆,螺纹杆底面设置有限位条,螺纹杆外周面设置有螺母。该用于建筑工程砌墙辅助器,根据需要堆砌的砂浆的厚度,推动螺纹杆在滑槽内的高度,使限位条与要求的砂浆厚度保持一致,拧紧螺母,使限位条保持在当前位置后,将砂浆填充在夹板与夹板二之间,涂抹砂浆使砂浆与限位条顶面一致,将砖块放置在砂浆上即可砌墙,从而避免了需要工人通过肉眼观察砂浆厚度后,再调整砂浆厚度,从而提高了工人砌墙的效率。
The utility model relates to the technical field of construction engineering, and discloses an auxiliary device for building walls in construction engineering, which includes a splint, a bracket is arranged on one end of the top surface of the splint, a guide rail is arranged on the top surface of the bracket, a connecting block is arranged inside the guide rail, and two splints are provided. A chute is respectively provided on the side of the splint, a threaded rod is arranged inside the chute, a limit bar is arranged on the bottom surface of the threaded rod, and a nut is arranged on the outer peripheral surface of the threaded rod. This auxiliary device for building walls in construction projects, according to the thickness of the mortar that needs to be piled up, pushes the height of the threaded rod in the chute, so that the limit bar is consistent with the required mortar thickness, and tightens the nut to keep the limit bar at the current position. After positioning, fill the mortar between the splint and the second splint, apply the mortar to make the mortar consistent with the top surface of the limit bar, and place the bricks on the mortar to build the wall, thus avoiding the need for workers to observe the thickness of the mortar with the naked eye. Then adjust the thickness of the mortar, thereby improving the efficiency of workers in building walls.
Description
技术领域technical field
本实用新型涉及建筑工程技术领域,具体为一种用于建筑工程砌墙辅助器。The utility model relates to the technical field of construction engineering, in particular to an auxiliary device for building walls in construction engineering.
背景技术Background technique
砌墙是筑墙,最坚固的筑墙方式是逐块搭砌,筑墙时,大多数业主还是像以前那样选择常规的坛工建筑方法,用这种方式建造的房屋墙壁能起到气温缓冲的作用,从而可以确保室内温度、湿度适中,此外厚重的砖墙也保证了良好的隔音效果,辅助砌墙装置便于更快更还来进行砌墙,为此实用新型专利CN209942260U公布了一种建筑工程砌墙辅助装置,通过设有主端板与副端板,由主端板内腔设有的卡杆与副端板顶部设有的卡块相结合,便于调节侧板距离,进而适应墙体宽度,但在砌墙时,对砂浆的厚度有着不同的要求,该辅助无法辅助工人控制砂浆厚度,需要工人依靠肉眼观察砂浆厚度,从而降低了砌墙效率。Building walls is building walls, and the strongest way to build walls is to build them block by block. When building walls, most owners still choose the conventional altar construction method as before. The walls of houses built in this way can buffer the temperature In addition, the thick brick wall also ensures a good sound insulation effect, and the auxiliary wall-laying device facilitates faster and faster wall-laying. For this reason, the utility model patent CN209942260U has announced a building The auxiliary device for building walls in engineering is equipped with the main end plate and the auxiliary end plate, and the clamping rod provided in the inner cavity of the main end plate is combined with the clamping block provided on the top of the auxiliary end plate to facilitate the adjustment of the distance between the side plates and adapt to the wall. However, when building walls, there are different requirements for the thickness of the mortar. This assistance cannot assist workers to control the thickness of the mortar, and requires workers to observe the thickness of the mortar with the naked eye, thereby reducing the efficiency of wall building.
实用新型内容Utility model content
(一)解决的技术问题(1) Solved technical problems
针对现有技术的不足,本实用新型提供了一种用于建筑工程砌墙辅助器,具备避免需要工人通过肉眼观察砂浆厚度后,再调整砂浆厚度,从而提高了工人砌墙的效率等优点,解决了上述技术问题。Aiming at the deficiencies of the prior art, the utility model provides an auxiliary device for building walls in construction engineering, which has the advantages of avoiding the need for workers to observe the thickness of the mortar with the naked eye, and then adjust the thickness of the mortar, thereby improving the efficiency of the workers in building walls. The above-mentioned technical problems are solved.
(二)技术方案(2) Technical solutions
为实现上述目的,本实用新型提供如下技术方案:一种用于建筑工程砌墙辅助器,包括夹板,所述夹板顶面一端设置有支架,所述支架顶面设置有导轨,所述导轨内部设置有连接块,所述连接块底面设置有支架二,所述支架二底面设置有夹板二,所述夹板二和夹板侧面分别开设有滑槽,所述滑槽内部设置有螺纹杆,所述螺纹杆底面设置有限位条,所述螺纹杆外周面设置有螺母。In order to achieve the above object, the utility model provides the following technical solutions: a wall-building auxiliary device for construction engineering, including a splint, a bracket is provided on one end of the top surface of the splint, a guide rail is provided on the top surface of the bracket, and the inside of the guide rail is A connection block is provided, the bottom surface of the connection block is provided with a
优选的,所述夹板侧面中端和靠近夹板正面一端分别开设有滑槽,所述夹板二侧面中端和靠近夹板二正面一端分别开设有滑槽,所述滑槽内部滑动连接有螺纹杆,所述螺纹杆底面固定安装有限位条,所述限位条位于夹板和夹板二之间,所述限位条设置有两个。Preferably, the middle end of the side of the splint and the end close to the front of the splint are provided with chute respectively, the middle end of the two sides of the splint and the end close to the front of the two splint are respectively provided with a chute, and the inside of the chute is slidably connected with a threaded rod. The bottom surface of the threaded rod is fixedly installed with a limit bar, the limit bar is located between the splint and the second splint, and there are two limit bars.
优选的,所述螺纹杆外周面螺纹连接有螺母。Preferably, the outer peripheral surface of the threaded rod is threaded with a nut.
优选的,所述夹板顶面远离夹板正面一端固定安装有支架,所述支架顶面与导轨底面一端固定安装,所述夹板二顶面远离夹板二正面一端固定安装有支架二,所述支架二底面固定安装有连接块,所述连接块与导轨滑动连接。Preferably, a bracket is fixedly installed on the top surface of the splint away from the front side of the splint, and a bracket is fixedly installed on the top surface of the bracket and the bottom surface of the guide rail. A connection block is fixedly installed on the bottom surface, and the connection block is slidably connected with the guide rail.
优选的,所述夹板侧面设置有螺纹杆二,所述夹板二侧面设置有橡胶垫。Preferably, two threaded rods are arranged on the side of the splint, and rubber pads are arranged on the two sides of the splint.
优选的,所述夹板侧面螺纹连接有螺纹杆二,所述螺纹杆二底面可转动式连接有橡胶垫二,且所述螺纹杆二和橡胶垫二设置有三组,所述夹板二侧面固定安装有三个橡胶垫,且所述橡胶垫与橡胶垫二对称安装。Preferably, the side of the splint is threaded with threaded
与现有技术相比,本实用新型提供了一种用于建筑工程砌墙辅助器,具备以下有益效果:Compared with the prior art, the utility model provides a wall-laying auxiliary device for construction engineering, which has the following beneficial effects:
1、本实用新型通过在夹板侧面中端和靠近夹板正面一端分别开设滑槽,夹板二侧面中端和靠近夹板二正面一端分别开设有滑槽,滑槽内部滑动连接有螺纹杆,螺纹杆底面安装有限位条,螺纹杆外轴面螺纹连接有螺母,根据需要堆砌的砂浆的厚度,推动螺纹杆在滑槽内的高度,使限位条与要求的砂浆厚度保持一致,拧紧螺母,使限位条保持在当前位置后,将砂浆填充在夹板与夹板二之间,涂抹砂浆使砂浆与限位条顶面一致,将砖块放置在砂浆上即可砌墙,从而避免了需要工人通过肉眼观察砂浆厚度后,再调整砂浆厚度,从而提高了工人砌墙的效率。1. The utility model sets up chute respectively at the middle end of the side of the splint and the end close to the front of the splint. The middle end of the two sides of the splint and the end close to the front of the second splint are respectively provided with a chute. The inside of the chute is slidably connected with a threaded rod, and the bottom surface of the threaded rod Install the limit bar, the outer axial surface of the threaded rod is threaded with a nut, according to the thickness of the mortar that needs to be piled up, push the height of the threaded rod in the chute, so that the limit bar is consistent with the required mortar thickness, and tighten the nut to make the limit After the positioning bar is kept at the current position, fill the mortar between the splint and the second splint, apply the mortar to make the mortar consistent with the top surface of the limiting bar, and place the bricks on the mortar to build the wall, thus avoiding the need for workers to pass through the naked eye After observing the thickness of the mortar, adjust the thickness of the mortar, thereby improving the efficiency of workers in building walls.
2、本实用新型通过在夹板顶面安装支架,支架顶面安装导轨,夹板二顶面安装支架二,支架二顶面安装有连接块,连接块与导轨滑动连接,夹板侧面螺纹连接有螺纹杆二,螺纹杆二底面可转动式安装有橡胶垫二,夹板二侧面安装有橡胶垫,将橡胶垫与砖块贴合后,旋转螺纹杆二,控制螺纹杆二向砖块方向位移,使橡胶垫二与砖块贴合,使砌墙辅助器与墙体贴合,从而可以根据不同厚度的墙体,旋转螺纹杆二控制夹板与夹板二之间的间距,从而使砌墙辅助器可以适用不同厚度的墙体,提高了砌墙辅助器的适用性。2. The utility model installs the bracket on the top surface of the splint, installs the guide rail on the top surface of the bracket, installs the second bracket on the top surface of the second splint, and installs the connecting block on the top surface of the second bracket, the connecting block is slidingly connected with the guide rail, and the side of the splint is threadedly connected with a threaded
附图说明Description of drawings
图1为本实用新型结构立体示意图;Fig. 1 is a three-dimensional schematic diagram of the structure of the utility model;
图2为本实用新型结构正面示意图;Fig. 2 is the front schematic diagram of structure of the utility model;
图3为本实用新型结构图1中A局部放大示意图;Fig. 3 is the partially enlarged schematic diagram of A in structure Fig. 1 of the utility model;
图4为本实用新型结构图2中B局部放大示意图。Fig. 4 is a partially enlarged schematic diagram of B in Fig. 2 of the structure of the utility model.
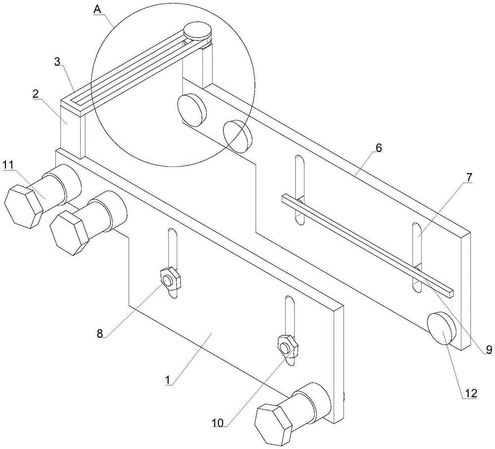
其中:1、夹板;2、支架;3、导轨;4、连接块;5、支架二;6、夹板二;7、滑槽;8、螺纹杆;9、限位条;10、螺母;11、螺纹杆二;12、橡胶垫;13、橡胶垫二。Among them: 1. Plywood; 2. Bracket; 3. Guide rail; 4. Connecting block; 5. Bracket 2; 6.
具体实施方式detailed description
下面将结合本实用新型实施例中的附图,对本实用新型实施例中的技术方案进行清楚、完整地描述,显然,所描述的实施例仅仅是本实用新型一部分实施例,而不是全部的实施例。基于本实用新型中的实施例,本领域普通技术人员在没有做出创造性劳动前提下所获得的所有其他实施例,都属于本实用新型保护的范围。The technical solutions in the embodiments of the present invention will be clearly and completely described below in conjunction with the accompanying drawings in the embodiments of the present invention. Obviously, the described embodiments are only part of the embodiments of the present invention, not all of them. example. Based on the embodiments of the present utility model, all other embodiments obtained by persons of ordinary skill in the art without making creative efforts belong to the scope of protection of the present utility model.
请参阅图1-4,一种用于建筑工程砌墙辅助器,包括夹板1,夹板1顶面一端设置有支架2,支架2顶面设置有导轨3,导轨3内部设置有连接块4,连接块4底面设置有支架二5,支架二5底面设置有夹板二6,夹板二6和夹板1侧面分别开设有滑槽7,滑槽7内部设置有螺纹杆8,螺纹杆8底面设置有限位条9,螺纹杆8外周面设置有螺母10。Please refer to Fig. 1-4, an auxiliary device for building walls in construction engineering, including a
具体的,夹板1侧面中端和靠近夹板1正面一端分别开设有滑槽7,夹板二6侧面中端和靠近夹板二6正面一端分别开设有滑槽7,滑槽7内部滑动连接有螺纹杆8,螺纹杆8底面固定安装有限位条9,限位条9位于夹板1和夹板二6之间,限位条9设置有两个,螺纹杆8外周面螺纹连接有螺母10。优点是,通过在夹板1侧面中端和靠近夹板1正面一端分别开设滑槽7,夹板二6侧面中端和靠近夹板二6正面一端分别开设有滑槽,滑槽7内部滑动连接有螺纹杆8,螺纹杆8底面安装有限位条9,螺纹杆8外轴面螺纹连接有螺母10,根据需要堆砌的砂浆的厚度,推动螺纹杆8在滑槽7内的高度,使限位条9与要求的砂浆厚度保持一致,拧紧螺母10,使限位条9保持在当前位置后,将砂浆填充在夹板1与夹板二6之间,涂抹砂浆使砂浆与限位条9顶面一致,将砖块放置在砂浆上即可砌墙,从而避免了需要工人通过肉眼观察砂浆厚度后,再调整砂浆厚度,从而提高了工人砌墙的效率。Specifically, the middle end of the side of the
具体的,夹板1顶面远离夹板1正面一端固定安装有支架2,支架2顶面与导轨3底面一端固定安装,夹板二6顶面远离夹板二6正面一端固定安装有支架二5,支架二5底面固定安装有连接块4,连接块4与导轨3滑动连接,夹板1侧面设置有螺纹杆二11,夹板二6侧面设置有橡胶垫12,夹板1侧面螺纹连接有螺纹杆二11,螺纹杆二11底面可转动式连接有橡胶垫二13,且螺纹杆二11和橡胶垫二13设置有三组,夹板二6侧面固定安装有三个橡胶垫12,且橡胶垫12与橡胶垫二13对称安装。优点是,通过在夹板1顶面安装支架2,支架2顶面安装导轨3,夹板二6顶面安装支架二5,支架二5顶面安装有连接块4,连接块4与导轨3滑动连接,夹板1侧面螺纹连接有螺纹杆二11,螺纹杆二11底面可转动式安装有橡胶垫二13,夹板二6侧面安装有橡胶垫12,将橡胶垫12与砖块贴合后,旋转螺纹杆二11,控制螺纹杆二11向砖块方向位移,使橡胶垫二13与砖块贴合,使砌墙辅助器与墙体贴合,从而可以根据不同厚度的墙体,旋转螺纹杆二11控制夹板1与夹板二6之间的间距,从而使砌墙辅助器可以适用不同厚度的墙体,提高了砌墙辅助器的适用性。Specifically, the top surface of the
在使用时,将墙体两侧分别放置夹板1和夹板二6,将橡胶垫12与砖块贴合后,旋转螺纹杆二11,控制螺纹杆二11向砖块方向位移,使橡胶垫二13与砖块贴合,使砌墙辅助器与墙体贴合,根据需要堆砌的砂浆的厚度,推动螺纹杆8在滑槽7内的高度,使限位条9与要求的砂浆厚度保持一致,拧紧螺母10,使限位条9保持在当前位置后,将砂浆填充在夹板1与夹板二6之间,涂抹砂浆使砂浆与限位条9顶面一致,将砖块放置在砂浆上,即可砌墙。When in use,
尽管已经示出和描述了本实用新型的实施例,对于本领域的普通技术人员而言,可以理解在不脱离本实用新型的原理和精神的情况下可以对这些实施例进行多种变化、修改、替换和变型,本实用新型的范围由所附权利要求及其等同物限定。Although the embodiments of the present invention have been shown and described, those skilled in the art can understand that various changes and modifications can be made to these embodiments without departing from the principle and spirit of the present invention , replacements and modifications, the scope of the present utility model is defined by the appended claims and their equivalents.
Claims (6)
Priority Applications (1)
| Application Number | Priority Date | Filing Date | Title |
|---|---|---|---|
| CN202222285484.1U CN218324009U (en) | 2022-08-26 | 2022-08-26 | Be used for building engineering assistor of building a wall |
Applications Claiming Priority (1)
| Application Number | Priority Date | Filing Date | Title |
|---|---|---|---|
| CN202222285484.1U CN218324009U (en) | 2022-08-26 | 2022-08-26 | Be used for building engineering assistor of building a wall |
Publications (1)
| Publication Number | Publication Date |
|---|---|
| CN218324009U true CN218324009U (en) | 2023-01-17 |
Family
ID=84885278
Family Applications (1)
| Application Number | Title | Priority Date | Filing Date |
|---|---|---|---|
| CN202222285484.1U Expired - Fee Related CN218324009U (en) | 2022-08-26 | 2022-08-26 | Be used for building engineering assistor of building a wall |
Country Status (1)
| Country | Link |
|---|---|
| CN (1) | CN218324009U (en) |
Cited By (1)
| Publication number | Priority date | Publication date | Assignee | Title |
|---|---|---|---|---|
| CN117071924A (en) * | 2023-08-31 | 2023-11-17 | 玖三(安徽)建设集团有限公司 | A brick stacking device |
-
2022
- 2022-08-26 CN CN202222285484.1U patent/CN218324009U/en not_active Expired - Fee Related
Cited By (1)
| Publication number | Priority date | Publication date | Assignee | Title |
|---|---|---|---|---|
| CN117071924A (en) * | 2023-08-31 | 2023-11-17 | 玖三(安徽)建设集团有限公司 | A brick stacking device |
Similar Documents
| Publication | Publication Date | Title |
|---|---|---|
| CN218324009U (en) | Be used for building engineering assistor of building a wall | |
| CN204609040U (en) | A kind of combination non-bearing self heat insulation wall | |
| CN204492211U (en) | Semi-automatic thin layer masonry mortar apparatus of plastering | |
| CN105155780B (en) | Thin-walled cold-bent pipe regenerated aggregate concrete Special-Shaped Column | |
| CN107605098A (en) | A kind of assembled architecture self-insulating external wall panel and assembled architecture self-heat conserving external wall body | |
| CN210032618U (en) | K-plate leveling rod | |
| CN109356368B (en) | Masonry top leveling device and method for compressive strength measurement | |
| CN206693646U (en) | The level of laying bricks spreads grey servicing unit | |
| CN207597648U (en) | Modularization haydite concrete internal partition wall | |
| CN208052217U (en) | Stair tread pours mold | |
| CN217501057U (en) | An anti-cracking concrete formwork | |
| CN217500690U (en) | Special crack control layering of cavity inner membrance metal mesh partition wall | |
| CN105604211B (en) | Fill wall and the anticracking construction method of Vierendeel girder junction | |
| CN208502022U (en) | A kind of light gauge cold-formed steel shape house damping sound insulating floor slab with pea gravel concreten layer | |
| CN222525932U (en) | Reinforced structure of crack wall body | |
| CN220285050U (en) | A kind of insulation layer positioning device | |
| CN221741852U (en) | A wall tile fixer | |
| CN218668256U (en) | Anti structure that ftractures of building outer wall | |
| CN221481468U (en) | Mortar joint filling construction tool | |
| CN221372985U (en) | Masonry mortar joint quality control device | |
| CN220134819U (en) | Multi-pipeline fixing structure of high-rise water and electricity pipe well | |
| CN218623301U (en) | A new type of concrete anti-sill reinforcement device | |
| CN219083159U (en) | an anchoring structure | |
| CN217711256U (en) | A crack-proof light steel keel partition wall for architectural decoration | |
| CN220566124U (en) | Water stop clamp |
Legal Events
| Date | Code | Title | Description |
|---|---|---|---|
| GR01 | Patent grant | ||
| GR01 | Patent grant | ||
| CF01 | Termination of patent right due to non-payment of annual fee | ||
| CF01 | Termination of patent right due to non-payment of annual fee |
Granted publication date: 20230117 |
