CN218251629U - 一种光伏发电用光伏板的清洁装置 - Google Patents
一种光伏发电用光伏板的清洁装置 Download PDFInfo
- Publication number
- CN218251629U CN218251629U CN202221285267.6U CN202221285267U CN218251629U CN 218251629 U CN218251629 U CN 218251629U CN 202221285267 U CN202221285267 U CN 202221285267U CN 218251629 U CN218251629 U CN 218251629U
- Authority
- CN
- China
- Prior art keywords
- board
- photovoltaic
- power generation
- cleaning device
- fixedly connected
- Prior art date
- Legal status (The legal status is an assumption and is not a legal conclusion. Google has not performed a legal analysis and makes no representation as to the accuracy of the status listed.)
- Active
Links
- 238000004140 cleaning Methods 0.000 title claims abstract description 19
- 238000010248 power generation Methods 0.000 title claims abstract description 19
- 230000007423 decrease Effects 0.000 claims abstract description 15
- 238000009434 installation Methods 0.000 claims abstract description 12
- 244000309464 bull Species 0.000 claims description 8
- 230000000694 effects Effects 0.000 abstract description 7
- 230000009286 beneficial effect Effects 0.000 abstract description 3
- 230000002349 favourable effect Effects 0.000 description 2
- 230000000149 penetrating effect Effects 0.000 description 2
- 230000004075 alteration Effects 0.000 description 1
- 238000006243 chemical reaction Methods 0.000 description 1
- 238000010586 diagram Methods 0.000 description 1
- 239000000428 dust Substances 0.000 description 1
- 238000004146 energy storage Methods 0.000 description 1
- 239000004744 fabric Substances 0.000 description 1
- 238000000034 method Methods 0.000 description 1
- 238000012986 modification Methods 0.000 description 1
- 230000004048 modification Effects 0.000 description 1
- 238000012544 monitoring process Methods 0.000 description 1
- 238000006467 substitution reaction Methods 0.000 description 1
Images
Landscapes
- Photovoltaic Devices (AREA)
Abstract
本实用新型公开了一种光伏发电用光伏板的清洁装置,一块太阳能板,所述太阳能板外部固定套接有一个安装机构,所述安装机构两侧内部滑动连接有一个移动机构,所述移动机构中部螺纹连接有一个下降机构,本实用新型的有益效果是:通过设置第一转盘和螺纹孔方便带动螺纹杆转动,从而在第二滑槽和螺纹杆的转动作用快速推动清扫板下降,同时在魔术贴勾面以及魔术贴毛面的粘贴作用可以快速更换使用后的清扫板的,避免后续清洁不干净,通过设置第二转盘配合安装板方便带动齿轮转动,从而啮合带动齿条板移动,从而可以通过第一滑槽和滑块的作用下带动移动板移动,移动板移动时会通过清扫板对太阳能板进行清洁,清扫方便。
Description
技术领域
本实用新型涉及光伏发电技术领域,具体为一种光伏发电用光伏板的清洁装置。
背景技术
光伏发电指通过光伏发电系统将太阳能转化为电能的过程,通常系统主要由太阳光伏组件、汇流箱、逆变器、变压器及配电设备构成,同时再加上监控系统、有功无功控制系统、功率预测系统、五防系统及无功补偿装置等辅助系统组成一套完整的光伏发电系统,一般光伏发电都是通过光伏板进行蓄能转换。
现在的光伏发电用光伏板都是长期暴露在空旷的地方上,时间久了表面容易堆积灰尘,长时间不清理容易降低太阳能的吸收率,同时现在的清理方式都是通过人工用布进行擦拭,工人需要不断来回走动,清洁不方便,而且增加工人的拉动强度,使用不方便。
实用新型内容
本实用新型的目的在于提供一种光伏发电用光伏板的清洁装置,以解决上述背景技术中提出的问题。
为实现上述目的,本实用新型提供如下技术方案:一种光伏发电用光伏板的清洁装置,一块太阳能板,所述太阳能板外部固定套接有一个安装机构,所述安装机构两侧内部滑动连接有一个移动机构,所述移动机构中部螺纹连接有一个下降机构,且所述安装机构远离下降机构的一侧上端转动连接有一个驱动机构;
所述安装机构包括一个安装架,所述安装架两侧开设有两个安装槽,两个所述安装槽两侧内槽壁开设有四个第一滑槽,且所述安装架一侧固定连接有一块安装板;
所述移动机构包括四个滑块,四个所述滑块滑动连接在四个第一滑槽内,且四个所述滑块相向一侧固定连接有两块竖板,两块所述竖板相向一侧均开设有一个第二滑槽,两块所述竖板上端共同固定连接有一块用移动板,且所述移动板中心处贯穿开设有一个螺纹孔。
优选的,所述下降机构包括一根螺纹杆,所述螺纹杆螺纹连接在螺纹孔内,且所述螺纹杆下端转动连接有一块下降板,所述下降板两侧滑动连接在两个第二滑槽内,且所述下降板下表面固定连接有一块魔术贴毛面,所述魔术贴毛面下表面粘贴有一块魔术贴勾面,所述魔术贴勾面下表面固定连接有一块清扫板。
优选的,所述驱动机构包括一根转杆,所述转杆转动连接在安装板上表面一侧,且所述转杆上端固定连接有一个齿轮,且所述齿轮一侧啮合连接有一个齿条板,所述齿条板另一侧固定连接在移动板中心处。
优选的,所述螺纹杆上端固定连接有一个第一转盘。
优选的,所述转杆顶端杆壁固定连接有一个第二转盘。
优选的,所述安装架下表面两侧固定连接有四根立柱。
与现有技术相比,本实用新型的有益效果是:通过设置第一转盘和螺纹孔方便带动螺纹杆转动,从而在第二滑槽和螺纹杆的转动作用快速推动清扫板下降,同时在魔术贴勾面以及魔术贴毛面的粘贴作用可以快速更换使用后的清扫板的,避免后续清洁不干净,通过设置第二转盘配合安装板方便带动齿轮转动,从而啮合带动齿条板移动,从而可以通过第一滑槽和滑块的作用下带动移动板移动,移动板移动时会通过清扫板对太阳能板进行清洁,清扫方便。
附图说明
图1为本实用新型的正面剖视结构示意图;
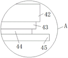
图2为本实用新型图1中A部分的放大结构示意图;
图3为本实用新型安装架的左侧剖视结构示意图;
图4为本实用新型安装槽的侧面剖视结构示意图;
图5为本实用新型的俯视结构示意图。
图中:1、太阳能板;
2、安装机构;21、安装架;22、安装槽;23、第一滑槽;24、安装板;
3、移动机构;31、滑块;32、竖板;33、第二滑槽;34、移动板;35、螺纹孔;
4、下降机构;41、螺纹杆;42、下降板;43、魔术贴毛面;44、魔术贴勾面;45、清扫板;46、第一转盘;
5、驱动机构;51、转杆;52、齿轮;53、齿条板;54、第二转盘;
6、立柱。
具体实施方式
下面将结合本实用新型实施例中的附图,对本实用新型实施例中的技术方案进行清楚、完整地描述,显然,所描述的实施例仅仅是本实用新型一部分实施例,而不是全部的实施例。基于本实用新型中的实施例,本领域普通技术人员在没有做出创造性劳动前提下所获得的所有其他实施例,都属于本实用新型保护的范围。
请参阅图1-5,本实用新型提供一种技术方案:一种光伏发电用光伏板的清洁装置,一块太阳能板1,太阳能板1外部固定套接有一个安装机构2,安装机构2两侧内部滑动连接有一个移动机构3,移动机构3中部螺纹连接有一个下降机构4,且安装机构2远离下降机构4的一侧上端转动连接有一个驱动机构5;
安装机构2包括一个安装架21,安装架21两侧开设有两个安装槽22,两个安装槽22两侧内槽壁开设有四个第一滑槽23,且安装架21一侧固定连接有一块安装板24;
移动机构3包括四个滑块31,四个滑块31滑动连接在四个第一滑槽23内,且四个滑块31相向一侧固定连接有两块竖板32,两块竖板32相向一侧均开设有一个第二滑槽33,两块竖板32上端共同固定连接有一块用移动板34,且移动板34中心处贯穿开设有一个螺纹孔35。
下降机构4包括一根螺纹杆41,螺纹杆41螺纹连接在螺纹孔35内,且螺纹杆41下端转动连接有一块下降板42,下降板42两侧滑动连接在两个第二滑槽33内,且下降板42下表面固定连接有一块魔术贴毛面43,魔术贴毛面43下表面粘贴有一块魔术贴勾面44,魔术贴勾面44下表面固定连接有一块清扫板45,有利于通过螺纹杆41方便在第二滑槽33的作用下稳定下降,从而可以调节清扫板45的高度,同时通过魔术贴毛面43和魔术贴勾面44便于快速拆装清扫板45。
驱动机构5包括一根转杆51,转杆51转动连接在安装板24上表面一侧,且转杆51上端固定连接有一个齿轮52,且齿轮52一侧啮合连接有一个齿条板53,齿条板53另一侧固定连接在移动板34中心处,有利于通过转杆51和齿轮52啮合带动齿条板53,从而可以带动移动板34移动进行清扫。
螺纹杆41上端固定连接有一个第一转盘46,有利于通过第一转盘46方便带动螺纹杆41进行快速转动。
转杆51顶端杆壁固定连接有一个第二转盘54,有利于通过第二转盘54方便带动转杆51快速转动,便于驱动齿轮52。
安装架21下表面两侧固定连接有四根立柱6,有利于通过四根立柱6对安装架21进行稳定支撑,稳定性很好。
具体的,使用本实用新型时,先拉动清扫板45,清扫板45将魔术贴勾面44粘贴在魔术贴毛面43上,然后转动第一转盘46,第一转盘46通过螺纹孔35带动螺纹杆41转动,螺纹杆41通过第二滑槽33推动下降板42下降,随着下降板42下降稳定移动,当下降板42带动清扫板45和太阳能板1相抵时,转动第二转盘54,第二转盘54带动转杆51转动,转杆51同步带动齿轮52转动,此时将齿条板53按压在齿轮52上,齿轮52转动啮合带动齿条板53,齿条板53移动时会拉动移动板34,移动板34通过竖板32带动滑块31在第一滑槽23内部滑动,从而可以通过移动板34带动清扫板45移动对太阳能板1清扫。
在本实用新型的描述中,需要理解的是,术语“同轴”、“底部”、“一端”、“顶部”、“中部”、“另一端”、“上”、“一侧”、“顶部”、“内”、“前部”、“中央”、“两端”等指示的方位或位置关系为基于附图所示的方位或位置关系,仅是为了便于描述本实用新型和简化描述,而不是指示或暗示所指的装置或元件必须具有特定的方位、以特定的方位构造和操作,因此不能理解为对本实用新型的限制。
此外,术语“第一”、“第二”、“第三”、“第四”仅用于描述目的,而不能理解为指示或暗示相对重要性或者隐含指明所指示的技术特征的数量,由此,限定有“第一”、“第二”、“第三”、“第四”的特征可以明示或者隐含地包括至少一个该特征。
在本实用新型中,除非另有明确的规定和限定,术语“安装”、“设置”、“连接”、“固定”、“旋接”等术语应做广义理解,例如,可以是固定连接,也可以是可拆卸连接,或成一体;可以是机械连接,也可以是电连接;可以是直接相连,也可以通过中间媒介间接相连,可以是两个元件内部的连通或两个元件的相互作用关系,除非另有明确的限定,对于本领域的普通技术人员而言,可以根据具体情况理解上述术语在本实用新型中的具体含义。
尽管已经示出和描述了本实用新型的实施例,对于本领域的普通技术人员而言,可以理解在不脱离本实用新型的原理和精神的情况下可以对这些实施例进行多种变化、修改、替换和变型,本实用新型的范围由所附权利要求及其等同物限定。
Claims (6)
1.一种光伏发电用光伏板的清洁装置,其特征在于:一块太阳能板(1),所述太阳能板(1)外部固定套接有一个安装机构(2),所述安装机构(2)两侧内部滑动连接有一个移动机构(3),所述移动机构(3)中部螺纹连接有一个下降机构(4),且所述安装机构(2)远离下降机构(4)的一侧上端转动连接有一个驱动机构(5);
所述安装机构(2)包括一个安装架(21),所述安装架(21)两侧开设有两个安装槽(22),两个所述安装槽(22)两侧内槽壁开设有四个第一滑槽(23),且所述安装架(21)一侧固定连接有一块安装板(24);
所述移动机构(3)包括四个滑块(31),四个所述滑块(31)滑动连接在四个第一滑槽(23)内,且四个所述滑块(31)相向一侧固定连接有两块竖板(32),两块所述竖板(32)相向一侧均开设有一个第二滑槽(33),两块所述竖板(32)上端共同固定连接有一块用移动板(34),且所述移动板(34)中心处贯穿开设有一个螺纹孔(35)。
2.根据权利要求1所述的一种光伏发电用光伏板的清洁装置,其特征在于:所述下降机构(4)包括一根螺纹杆(41),所述螺纹杆(41)螺纹连接在螺纹孔(35)内,且所述螺纹杆(41)下端转动连接有一块下降板(42),所述下降板(42)两侧滑动连接在两个第二滑槽(33)内,且所述下降板(42)下表面固定连接有一块魔术贴毛面(43),所述魔术贴毛面(43)下表面粘贴有一块魔术贴勾面(44),所述魔术贴勾面(44)下表面固定连接有一块清扫板(45)。
3.根据权利要求1所述的一种光伏发电用光伏板的清洁装置,其特征在于:所述驱动机构(5)包括一根转杆(51),所述转杆(51)转动连接在安装板(24)上表面一侧,且所述转杆(51)上端固定连接有一个齿轮(52),且所述齿轮(52)一侧啮合连接有一个齿条板(53),所述齿条板(53)另一侧固定连接在移动板(34)中心处。
4.根据权利要求2所述的一种光伏发电用光伏板的清洁装置,其特征在于:所述螺纹杆(41)上端固定连接有一个第一转盘(46)。
5.根据权利要求3所述的一种光伏发电用光伏板的清洁装置,其特征在于:所述转杆(51)顶端杆壁固定连接有一个第二转盘(54)。
6.根据权利要求1所述的一种光伏发电用光伏板的清洁装置,其特征在于:所述安装架(21)下表面两侧固定连接有四根立柱(6)。
Priority Applications (1)
| Application Number | Priority Date | Filing Date | Title |
|---|---|---|---|
| CN202221285267.6U CN218251629U (zh) | 2022-05-25 | 2022-05-25 | 一种光伏发电用光伏板的清洁装置 |
Applications Claiming Priority (1)
| Application Number | Priority Date | Filing Date | Title |
|---|---|---|---|
| CN202221285267.6U CN218251629U (zh) | 2022-05-25 | 2022-05-25 | 一种光伏发电用光伏板的清洁装置 |
Publications (1)
| Publication Number | Publication Date |
|---|---|
| CN218251629U true CN218251629U (zh) | 2023-01-10 |
Family
ID=84755963
Family Applications (1)
| Application Number | Title | Priority Date | Filing Date |
|---|---|---|---|
| CN202221285267.6U Active CN218251629U (zh) | 2022-05-25 | 2022-05-25 | 一种光伏发电用光伏板的清洁装置 |
Country Status (1)
| Country | Link |
|---|---|
| CN (1) | CN218251629U (zh) |
-
2022
- 2022-05-25 CN CN202221285267.6U patent/CN218251629U/zh active Active
Similar Documents
| Publication | Publication Date | Title |
|---|---|---|
| CN110671585A (zh) | 一种变电站监控装置 | |
| CN215835368U (zh) | 光伏发电智能监控系统 | |
| CN207766226U (zh) | 光伏电站监控装置 | |
| CN215581022U (zh) | 一种光伏发电装置 | |
| CN111934605A (zh) | 一种太阳能光伏发电装置 | |
| CN218251629U (zh) | 一种光伏发电用光伏板的清洁装置 | |
| CN214368901U (zh) | 一种风电场监控后台用辅助装置 | |
| CN211768735U (zh) | 一种往复式直线推动的半自动转料层压机 | |
| CN111661490A (zh) | 一种光伏设备的移动收纳装置 | |
| CN211786776U (zh) | 一种太阳能光伏板用角度调节装置 | |
| CN217428070U (zh) | 一种方便清理的分布式光伏发电装置 | |
| CN216683452U (zh) | 一种燃料电池生产用柔性石墨单极板的滚压装置 | |
| CN216414229U (zh) | 一种环保型节能太阳能电池板 | |
| CN214412665U (zh) | 一种光伏板自清洁装置安装结构 | |
| CN216290795U (zh) | 一种用于智能设备的太阳能板角度控制装置 | |
| CN221594927U (zh) | 建筑工程项目管理用施工现场监测装置 | |
| CN211027167U (zh) | 一种新能源汽车机壳用环保除尘装置 | |
| CN218509644U (zh) | 风力发电机制动盘周围粉末回收装置 | |
| CN221101554U (zh) | 一种便于移动的太阳能充电转换演示装置 | |
| CN220928566U (zh) | 一种房建工程用喷漆工具 | |
| CN212869088U (zh) | 环境监测器及太阳能环境监测装置 | |
| CN219919401U (zh) | 一种用于室外的数据信息采集设备 | |
| CN218124639U (zh) | 易于维护的光伏组件用太阳能发电设备 | |
| CN219740309U (zh) | 一种太阳能光伏制氢装置 | |
| CN218783759U (zh) | 一种光伏发电储能一体化装置 |
Legal Events
| Date | Code | Title | Description |
|---|---|---|---|
| GR01 | Patent grant | ||
| GR01 | Patent grant |