CN218248008U - Infusion support convenient to store for nursing - Google Patents
Infusion support convenient to store for nursing Download PDFInfo
- Publication number
- CN218248008U CN218248008U CN202220229416.0U CN202220229416U CN218248008U CN 218248008 U CN218248008 U CN 218248008U CN 202220229416 U CN202220229416 U CN 202220229416U CN 218248008 U CN218248008 U CN 218248008U
- Authority
- CN
- China
- Prior art keywords
- connecting rod
- infusion support
- groove
- rod
- main rod
- Prior art date
- Legal status (The legal status is an assumption and is not a legal conclusion. Google has not performed a legal analysis and makes no representation as to the accuracy of the status listed.)
- Active
Links
- 238000001802 infusion Methods 0.000 title claims abstract description 29
- 230000000474 nursing effect Effects 0.000 title claims abstract description 17
- 230000000694 effects Effects 0.000 claims description 3
- 238000000151 deposition Methods 0.000 claims 1
- 230000010354 integration Effects 0.000 claims 1
- 238000010586 diagram Methods 0.000 description 3
- 238000000034 method Methods 0.000 description 3
- 238000012986 modification Methods 0.000 description 2
- 230000004048 modification Effects 0.000 description 2
- 230000009286 beneficial effect Effects 0.000 description 1
- 230000037396 body weight Effects 0.000 description 1
- 201000010099 disease Diseases 0.000 description 1
- 208000037265 diseases, disorders, signs and symptoms Diseases 0.000 description 1
- 238000005516 engineering process Methods 0.000 description 1
- 238000007689 inspection Methods 0.000 description 1
Images
Landscapes
- Infusion, Injection, And Reservoir Apparatuses (AREA)
- Medical Preparation Storing Or Oral Administration Devices (AREA)
Abstract
本实用新型公开了一种护理用方便存放的输液架,包括主杆,所述主杆的内部开设有空腔,所述主杆前表面的靠底部位置开设有滑槽,所述滑槽内两侧的靠顶部和底部位置均开设有限位槽,所述主杆的顶部设置有连杆,所述连杆的底部贯穿主杆并延伸至其内部,所述连杆的底部贯穿主杆并延伸至其内部。该护理用方便存放的输液架,通过活动槽、活动杆、弹力斜撑杆、限位块以及限位槽的设计,使得本装置具有方便收纳的功能,能够将挂架折叠收纳至主杆内,这样可以节省出挂架外延占用的空间,同时使得整个输液架看起来更加齐整,给使用者带来便利,提高了本装置的实用性,满足了使用者的使用需求。
The utility model discloses a conveniently stored infusion stand for nursing, which comprises a main rod. A cavity is opened inside the main rod, and a chute is provided near the bottom of the front surface of the main rod. Limiting grooves are provided at the top and bottom positions on both sides, the top of the main rod is provided with a connecting rod, the bottom of the connecting rod runs through the main rod and extends to the inside, the bottom of the connecting rod runs through the main rod and extended to its interior. The infusion rack for nursing care is convenient for storage. Through the design of the movable groove, movable rod, elastic diagonal strut, limit block and limit groove, the device has the function of convenient storage, and the hanger can be folded and stored into the main rod. , so that the space occupied by the extension of the hanger can be saved, and at the same time, the whole infusion stand looks more tidy, which brings convenience to the user, improves the practicability of the device, and meets the needs of the user.
Description
技术领域technical field
本实用新型涉及护理技术领域,具体为一种护理用方便存放的输液架。The utility model relates to the technical field of nursing, in particular to an infusion stand for nursing which is convenient for storage.
背景技术Background technique
护理是一门运用科学,分为家庭护理和有偿护理。有偿护理必须按照卫生部、国家卫健委、医政部所规定的法律法规相关条文执行开展相应的护理项目,有条理、有目的、有计划的完成基础或常规护理,观察了解病人体表体重基础情况,根据病情变化监测或获取病情数据,以配合医生完成对病人的治疗,加强输液巡视和教育,及时处理医疗纠纷,防止医疗事故的发生。Nursing is an applied science and is divided into home care and paid care. Paid nursing care must be carried out in accordance with the relevant provisions of the laws and regulations stipulated by the Ministry of Health, the National Health and Medical Commission, and the Ministry of Medical Affairs to carry out corresponding nursing projects, complete basic or routine nursing in an orderly, purposeful, and planned manner, and observe and understand the patient's body weight Based on the basic situation, monitor or obtain disease data according to the change of the condition to cooperate with the doctor to complete the treatment of the patient, strengthen the inspection and education of infusion, deal with medical disputes in time, and prevent the occurrence of medical accidents.
护理时会用到输液架。然而,现有的输液架大多只能进行上下伸缩调节,其上的挂架无法进行折叠收纳,导致使用者在存放时较为不便,已经不能满足使用者的使用需求。为此,我们提出了一种护理用方便存放的输液架。An IV pole will be used for nursing. However, most of the existing infusion stands can only be adjusted up and down, and the hangers on it cannot be folded and stored, which makes it inconvenient for users to store them, and cannot meet the needs of users. For this reason, we have proposed a kind of infusion stand that is conveniently stored for nursing.
实用新型内容Utility model content
本实用新型的目的在于提供一种护理用方便存放的输液架,以解决上述背景技术中提出现有的输液架大多只能进行上下伸缩调节,其上的挂架无法进行折叠收纳,导致使用者在存放时较为不便,已经不能满足使用者使用需求的问题。The purpose of this utility model is to provide an infusion stand for nursing care which is convenient to store, so as to solve the above-mentioned background technology. It is relatively inconvenient during storage and cannot meet the needs of users.
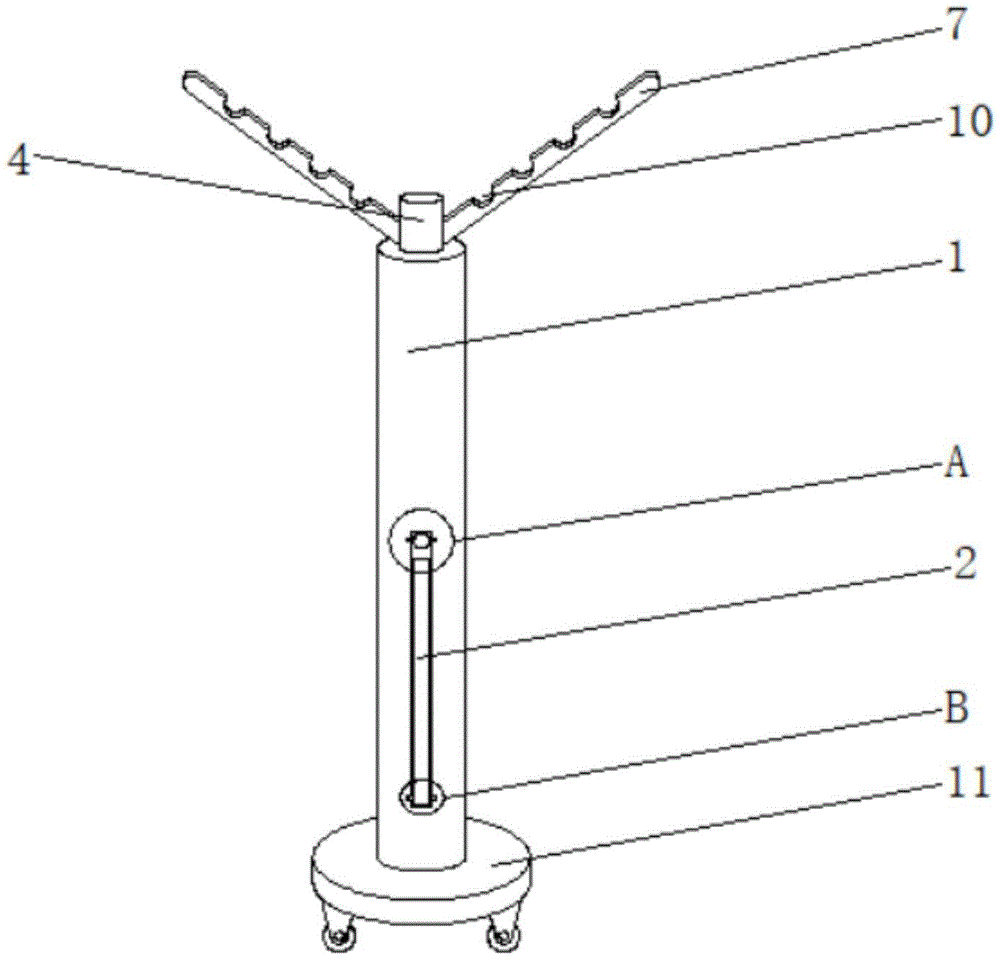
为实现上述目的,本实用新型提供如下技术方案:一种护理用方便存放的输液架,包括主杆,所述主杆的内部开设有空腔,所述主杆前表面的靠底部位置开设有滑槽,所述滑槽内两侧的靠顶部和底部位置均开设有限位槽,所述主杆的顶部设置有连杆,所述连杆的底部贯穿主杆并延伸至其内部,所述连杆的底部贯穿主杆并延伸至其内部,所述连杆的底部固定连接有弹力斜撑杆,所述连杆的两侧均开设有活动槽,所述活动槽内的靠底部位置通过转轴活动连接有活动杆,所述弹力斜撑杆前表面的靠底部位置固定连接有凸块,所述凸块的两侧均固定连接有限位块。In order to achieve the above purpose, the utility model provides the following technical solutions: an infusion stand for nursing care and convenient storage, including a main rod, a cavity is opened inside the main rod, and a cavity is opened near the bottom of the front surface of the main rod. The chute, the top and bottom positions on both sides of the chute are provided with limiting grooves, the top of the main rod is provided with a connecting rod, the bottom of the connecting rod runs through the main rod and extends to the inside, the The bottom of the connecting rod runs through the main rod and extends to its interior. The bottom of the connecting rod is fixedly connected with elastic diagonal struts. Both sides of the connecting rod are provided with movable grooves, and the position near the bottom of the movable groove passes through The rotating shaft is movably connected with a movable rod, and the front surface of the elastic diagonal strut is fixedly connected with a bump near the bottom, and both sides of the bump are fixedly connected with limiting blocks.
优选的,所述滑槽与主杆之间为一体化设计,所述限位槽与滑槽之间为一体化设计;通过滑槽的设置,使得凸块能够进行滑动。Preferably, the chute is integrated with the main rod, and the limiting groove is integrated with the chute; through the setting of the chute, the protrusion can slide.
优选的,所述连杆与主杆之间活动连接,所述连杆采用圆柱形设计;通过连杆的设置,起到连接支撑的作用。Preferably, the connecting rod is flexibly connected to the main rod, and the connecting rod adopts a cylindrical design; through the setting of the connecting rod, it plays the role of connecting support.
优选的,两个活动杆相背的一侧分别贯穿两个活动槽并延伸至连杆的外部,且两个活动杆之间互为等距离设计;通过活动杆的设置,起到挂物的作用。Preferably, the opposite sides of the two movable rods respectively pass through the two movable grooves and extend to the outside of the connecting rod, and the two movable rods are designed to be equidistant from each other; effect.
优选的,两个活动杆相对的一侧均开设有挂槽,所述挂槽与活动杆之间为一体化设计;通过挂槽的设置,用来挂置输液瓶对输液瓶进行限位。Preferably, hanging grooves are provided on opposite sides of the two movable rods, and the design of the hanging groove and the movable rods is integrated; through the setting of the hanging grooves, the infusion bottles are hung to limit the position of the infusion bottles.
优选的,所述凸块的前端延伸至滑槽的内部并与滑槽的内壁接触,所述凸块与滑槽之间滑动连接;通过凸块的设置,起到连接限位块的作用。Preferably, the front end of the protruding block extends to the inside of the chute and contacts the inner wall of the chute, and the protruding block is slidably connected to the chute; through the setting of the protruding block, it plays the role of connecting the limit block.
优选的,所述限位块的前端延伸至限位槽的内部,所述限位块与限位槽卡接;通过限位块和限位槽的设置,起到限位的作用。Preferably, the front end of the limiting block extends to the inside of the limiting groove, and the limiting block is snapped into the limiting groove; through the setting of the limiting block and the limiting groove, it plays a role of limiting.
优选的,所述主杆的底部固定连接有底座,所述底座底部的靠四角位置固定连接有滚轮;通过滚轮的设置,使得本装置能够在地面上进行滑动。Preferably, the bottom of the main rod is fixedly connected with a base, and the four corners of the bottom of the base are fixedly connected with rollers; the device can slide on the ground through the setting of the rollers.
与现有技术相比,本实用新型的有益效果是:该护理用方便存放的输液架,通过活动槽、活动杆、弹力斜撑杆、限位块以及限位槽的设计,使得本装置具有方便收纳的功能,能够将挂架折叠收纳至主杆内,这样可以节省出挂架外延占用的空间,同时使得整个输液架看起来更加齐整,给使用者带来便利,提高了本装置的实用性,满足了使用者的使用需求。Compared with the prior art, the beneficial effect of the utility model is: the infusion rack for nursing care is convenient to store, and the device has Convenient storage function, the hanger can be folded and stored in the main pole, which can save the space occupied by the extension of the hanger, and at the same time make the whole infusion stand look more neat, bring convenience to the user, and improve the practicality of the device and meet the needs of users.
附图说明Description of drawings
图1为本实用新型结构示意图;Fig. 1 is the structural representation of the utility model;
图2为本实用新型结构剖视图;Fig. 2 is a structural sectional view of the utility model;
图3为图1中A的局部放大示意图;Fig. 3 is the partially enlarged schematic diagram of A in Fig. 1;
图4为图1中B的局部放大示意图;Fig. 4 is the partially enlarged schematic diagram of B in Fig. 1;
图5为本实用新型弹力斜撑杆和连杆的侧视图;Fig. 5 is the side view of the utility model elastic diagonal strut and connecting rod;
图6为本实用新型活动槽的示意图。Fig. 6 is a schematic diagram of the movable tank of the present invention.
图中:1、主杆;2、滑槽;3、限位槽;4、连杆;5、弹力斜撑杆;6、活动槽;7、活动杆;8、凸块;9、限位块;10、挂槽;11、底座。In the figure: 1. main rod; 2. chute; 3. limit groove; 4. connecting rod; 5. elastic diagonal brace; 6. movable groove; 7. movable rod; block; 10, hanging groove; 11, base.
具体实施方式detailed description
下面将结合本实用新型实施例中的附图,对本实用新型实施例中的技术方案进行清楚、完整地描述,显然,所描述的实施例仅仅是本实用新型一部分实施例,而不是全部的实施例。基于本实用新型中的实施例,本领域普通技术人员在没有做出创造性劳动前提下所获得的所有其他实施例,都属于本实用新型保护的范围。The technical solutions in the embodiments of the present invention will be clearly and completely described below in conjunction with the accompanying drawings in the embodiments of the present invention. Obviously, the described embodiments are only part of the embodiments of the present invention, not all of them. example. Based on the embodiments of the present utility model, all other embodiments obtained by persons of ordinary skill in the art without making creative efforts belong to the scope of protection of the present utility model.
请参阅图1-6,本实用新型提供一种技术方案:一种护理用方便存放的输液架,包括主杆1,主杆1的内部开设有空腔,主杆1前表面的靠底部位置开设有滑槽2,通过滑槽2的设置,使得凸块8能够进行滑动,滑槽2内两侧的靠顶部和底部位置均开设有限位槽3,主杆1的顶部设置有连杆4,通过连杆4的设置,起到连接支撑的作用,连杆4的底部贯穿主杆1并延伸至其内部,连杆4的底部贯穿主杆1并延伸至其内部,连杆4的底部固定连接有弹力斜撑杆5,连杆4的两侧均开设有活动槽6,活动槽6内的靠底部位置通过转轴活动连接有活动杆7,通过活动杆7的设置,起到挂物的作用,弹力斜撑杆5前表面的靠底部位置固定连接有凸块8,通过凸块8的设置,起到连接限位块9的作用,凸块8的两侧均固定连接有限位块9,通过限位块9和限位槽3的设置,起到限位的作用。Please refer to Figures 1-6, the utility model provides a technical solution: an infusion stand for convenient storage for nursing, including a
本实用新型具备以下工作过程:The utility model has the following work process:
当需要对本装置进行收纳时,使用者先将两个活动杆7向一个方向转动至活动槽6内,这样活动杆7就会与连杆4之间呈现垂直状态,之后使用者按压凸块8向主杆1的内侧进行移动,这样凸块8在移动时就会带动限位块9从限位槽3内移出解除与主杆1之间的限位关系,之后使用者向下拉动凸块8移动带动连杆4移动,通过连杆4移动带动活动杆7移动至主杆1内进行收纳。When the device needs to be stored, the user first turns the two
根据上述工作过程可得知:According to the above working process, it can be known that:
该护理用方便存放的输液架,通过活动槽6、活动杆7、弹力斜撑杆5、限位块9以及限位槽3的设计,使得本装置具有方便收纳的功能,能够将挂架折叠收纳至主杆1内,这样可以节省出挂架外延占用的空间,同时使得整个输液架看起来更加齐整,给使用者带来便利,提高了本装置的实用性,满足了使用者的使用需求,从而解决了现有的输液架大多只能进行上下伸缩调节,其上的挂架无法进行折叠收纳,导致使用者在存放时较为不便,已经不能满足使用者使用需求的问题。The nursing infusion stand is convenient for storage. Through the design of the
尽管已经示出和描述了本实用新型的实施例,对于本领域的普通技术人员而言,可以理解在不脱离本实用新型的原理和精神的情况下可以对这些实施例进行多种变化、修改、替换和变型,本实用新型的范围由所附权利要求及其等同物限定。Although the embodiments of the present invention have been shown and described, those skilled in the art can understand that various changes and modifications can be made to these embodiments without departing from the principle and spirit of the present invention , replacements and modifications, the scope of the present utility model is defined by the appended claims and their equivalents.
Claims (6)
Priority Applications (1)
| Application Number | Priority Date | Filing Date | Title |
|---|---|---|---|
| CN202220229416.0U CN218248008U (en) | 2022-01-27 | 2022-01-27 | Infusion support convenient to store for nursing |
Applications Claiming Priority (1)
| Application Number | Priority Date | Filing Date | Title |
|---|---|---|---|
| CN202220229416.0U CN218248008U (en) | 2022-01-27 | 2022-01-27 | Infusion support convenient to store for nursing |
Publications (1)
| Publication Number | Publication Date |
|---|---|
| CN218248008U true CN218248008U (en) | 2023-01-10 |
Family
ID=84708145
Family Applications (1)
| Application Number | Title | Priority Date | Filing Date |
|---|---|---|---|
| CN202220229416.0U Active CN218248008U (en) | 2022-01-27 | 2022-01-27 | Infusion support convenient to store for nursing |
Country Status (1)
| Country | Link |
|---|---|
| CN (1) | CN218248008U (en) |
-
2022
- 2022-01-27 CN CN202220229416.0U patent/CN218248008U/en active Active
Similar Documents
| Publication | Publication Date | Title |
|---|---|---|
| CN205549119U (en) | Convenient medical treatment infusion shallow | |
| CN218248008U (en) | Infusion support convenient to store for nursing | |
| CN208145129U (en) | A kind of Novel nursing hospital bed | |
| CN203001286U (en) | Nursing bed | |
| CN208677791U (en) | A kind of dermatology's bed bedding support frame | |
| CN207253535U (en) | A kind of infusion support with swing preventing function | |
| CN208624927U (en) | A kind of nursing hospital bed nightstand | |
| CN203852513U (en) | multifunctional nursing table | |
| CN216091702U (en) | Combined infusion support | |
| CN204971960U (en) | Dedicated nursing of medical treatment bed | |
| CN111838981B (en) | Multifunctional medical bedside table | |
| CN214074045U (en) | Rack is used in neural blood vessel nursing of apparatus is deposited in classification | |
| CN204233327U (en) | The comprehensive sick bed of a kind of new medical | |
| CN209529811U (en) | Infusion device is used in a kind of nursing of new medical | |
| CN208877530U (en) | A kind of house-hold folding-type hanging bottle support | |
| CN201370825Y (en) | Infusion support | |
| CN214968280U (en) | A kind of multifunctional nursing board for thoracic surgery | |
| CN209769872U (en) | Novel nurse station | |
| CN211608752U (en) | Cabinet is placed to article for accompanying and attending to | |
| CN220110006U (en) | Medical care handcart | |
| CN212395520U (en) | Infusion support with storage function | |
| CN204932134U (en) | A kind of intensive care bed | |
| CN219397957U (en) | Multifunctional bed for transfusion | |
| CN211356342U (en) | Medical sickbed capable of accompanying and attending | |
| CN205285896U (en) | Simple and easy rack |
Legal Events
| Date | Code | Title | Description |
|---|---|---|---|
| GR01 | Patent grant | ||
| GR01 | Patent grant |
