CN218157072U - A sampling device for water conservancy engineering investigation - Google Patents
A sampling device for water conservancy engineering investigation Download PDFInfo
- Publication number
- CN218157072U CN218157072U CN202222087448.4U CN202222087448U CN218157072U CN 218157072 U CN218157072 U CN 218157072U CN 202222087448 U CN202222087448 U CN 202222087448U CN 218157072 U CN218157072 U CN 218157072U
- Authority
- CN
- China
- Prior art keywords
- fixedly connected
- rod
- moving frame
- sampling cylinder
- sampling
- Prior art date
- Legal status (The legal status is an assumption and is not a legal conclusion. Google has not performed a legal analysis and makes no representation as to the accuracy of the status listed.)
- Expired - Fee Related
Links
Images
Landscapes
- Sampling And Sample Adjustment (AREA)
Abstract
本实用新型公开了一种水利工程勘察用取样装置,属于技术领域,以解决现有技术中每次取样完成后需要将取样筒拿出倒出其内部的泥沙进行检测,再把取样筒安装上去对下个地点进行取样,这样不仅耗时耗力还会降低其工作效率的技术问题,包括移动框,所述移动框的内部设有取样筒,所述取样筒的两侧外壁均固定连接有连接杆,一侧所述连接杆与螺纹块固定连接,另一侧所述连接杆与滑块固定连接,所述螺纹块的内部设有螺杆,通过驱动电机带动螺纹块工作,带动取样筒向下移动,从而将取样筒内部的出料管带入泥沙中,在用抽料泵可以对泥沙进行抽取,之后经过出料管流入收集盒内的沙泥收集瓶内,方便工作人员对其进行检测。
The utility model discloses a sampling device for water conservancy engineering survey, which belongs to the technical field and solves the problem that in the prior art, after each sampling is completed, it is necessary to take out the sampling cylinder and pour out the inner sediment for detection, and then install the sampling cylinder Go up to sample the next location, which is not only time-consuming and labor-intensive but also reduces the technical problem of its work efficiency, including a moving frame, the inside of which is provided with a sampling cylinder, and the outer walls of both sides of the sampling cylinder are fixedly connected There is a connecting rod, the connecting rod on one side is fixedly connected to the threaded block, and the connecting rod on the other side is fixedly connected to the slider. A screw is arranged inside the threaded block, and the driving motor drives the threaded block to work and drives the sampling cylinder Move down, so that the discharge pipe inside the sampling cylinder is brought into the sediment, and the sediment can be extracted by the pump, and then flow into the sand and mud collection bottle in the collection box through the discharge pipe, which is convenient for the staff Check it out.
Description
技术领域technical field
本实用新型属于取样装置技术领域,更具体地说,特别涉及一种水利工程勘察用取样装置。The utility model belongs to the technical field of sampling devices, and more specifically relates to a sampling device for water conservancy engineering investigation.
背景技术Background technique
水利工程主要研究工程水文、水利工程测量、水利钢筋混凝土、水工建筑物、工程制图等方面的基础知识和技能,在水利工程领域进行工程规划设计、工程现场施工、工程预算、水利设备维护维修,例如:修建坝、堤、溢洪道、水闸、渠道、渡漕、筏道、鱼道等不同类型的水工建筑物,水利工程在勘察之前需要对泥沙进行取样。Water conservancy engineering mainly studies the basic knowledge and skills of engineering hydrology, hydraulic engineering surveying, hydraulic reinforced concrete, hydraulic structures, engineering drawing, etc., and conducts engineering planning and design, engineering site construction, engineering budget, and hydraulic equipment maintenance and repair in the field of hydraulic engineering. , For example: construction of different types of hydraulic structures such as dams, dikes, spillways, sluices, channels, waterways, rafts, fishways, etc. Water conservancy projects need to sample sediment before surveying.
目前在对泥沙进行采集时,通常会用到取样筒,但每次取样完成后需要将取样筒拿出倒出其内部的泥沙进行检测,再把取样筒安装上去对下个地点进行取样,这样不仅耗时耗力还会降低其工作效率,故此需要一种水利工程勘察用取样装置。At present, when collecting sediment, the sampling cylinder is usually used, but after each sampling, it is necessary to take out the sampling cylinder and pour out the sediment inside for testing, and then install the sampling cylinder to sample the next location , which not only consumes time and labor but also reduces its work efficiency, so a sampling device for water conservancy engineering investigation is needed.
实用新型内容Utility model content
针对现有技术的不足,本实用新型提供了一种水利工程勘察用取样装置,以解决现有技术中对泥沙进行采集时,通常会用到取样筒,但每次取样完成后需要将取样筒拿出倒出其内部的泥沙进行检测,再把取样筒安装上去对下个地点进行取样,这样不仅耗时耗力还会降低其工作效率的技术问题。Aiming at the deficiencies of the prior art, the utility model provides a sampling device for water conservancy engineering survey to solve the problem that in the prior art, when collecting sediment, the sampling cylinder is usually used, but after each sampling is completed, the sampling cylinder needs to be removed. Take out the cylinder and pour out the sediment inside it for detection, and then install the sampling cylinder to sample the next location, which is a technical problem that not only consumes time and labor but also reduces its work efficiency.
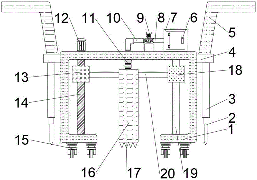
为实现以上目的,本实用新型通过以下技术方案予以实现:包括移动框,所述移动框的内部设有取样筒,所述取样筒的两侧外壁均固定连接有连接杆,一侧所述连接杆与螺纹块固定连接,另一侧所述连接杆与滑块固定连接,所述螺纹块的内部设有螺杆,所述螺杆的底端转动连接在移动框的内部底端,所述螺杆的顶端贯穿移动框并与驱动电机的输出轴固定连接,所述驱动电机固定安装在移动框的顶部,所述滑块的内部设有导向杆,所述导向杆固定连接在移动框,所述取样筒的内部设有进料管,所述进料管的进料端与固定环固定连接,所述固定环的两侧均固定连接有支杆,所述支杆固定连接在取样筒的内部,所述进料管的出料端与伸缩软管的下端固定连接,所述伸缩软管的上端与连接管的一端固定连接,所述连接管的另一端与抽料泵的进料端固定连接。In order to achieve the above purpose, the utility model is realized through the following technical solutions: it includes a moving frame, a sampling cylinder is arranged inside the moving frame, the outer walls of both sides of the sampling cylinder are fixedly connected with connecting rods, and the connecting rods on one side The rod is fixedly connected to the threaded block, and the connecting rod on the other side is fixedly connected to the slider. The inside of the threaded block is provided with a screw, and the bottom end of the screw is rotatably connected to the inner bottom end of the moving frame. The top runs through the moving frame and is fixedly connected with the output shaft of the driving motor. The driving motor is fixedly installed on the top of the moving frame. A guide rod is provided inside the slider, and the guide rod is fixedly connected to the moving frame. The sampling The inside of the cylinder is provided with a feed pipe, the feed end of the feed pipe is fixedly connected to the fixed ring, and both sides of the fixed ring are fixedly connected with support rods, and the support rods are fixedly connected to the inside of the sampling cylinder. The discharge end of the feed pipe is fixedly connected to the lower end of the telescopic hose, the upper end of the telescopic hose is fixedly connected to one end of the connecting pipe, and the other end of the connecting pipe is fixedly connected to the feeding end of the pump .
作为本实用新型的优选技术方案,所述取样筒的底部固定连接有多个齿块。As a preferred technical solution of the utility model, a plurality of tooth blocks are fixedly connected to the bottom of the sampling cylinder.
作为本实用新型的优选技术方案,所述抽料泵的出料端与出料管的一端固定连接,所述出料管的另一端延伸至收集箱的内部,所述收集箱的正面转动连接有活动门,所述活动门上设有把手。As a preferred technical solution of the utility model, the discharge end of the pump is fixedly connected to one end of the discharge pipe, and the other end of the discharge pipe extends to the inside of the collection box, and the front of the collection box is rotatably connected There is a dodge door, and the dodge door is provided with a handle.
作为本实用新型的优选技术方案,所述收集箱的内部设有沙泥收集瓶,所述沙泥收集瓶的两侧均抵触有弧形夹块,一侧所述弧形夹块通过固定杆与收集盒固定连接,另一侧所述弧形夹块与两个抵杆固定连接,两个所述抵杆的另一端均贯穿至收集箱的外部并固定连接有拉块,两个所述抵杆的外部均套设有弹簧,所述弹簧的一端与弧形夹块固定连接,所述弹簧的另一端与收集箱的内壁固定连接。As a preferred technical solution of the present utility model, a sand and mud collection bottle is arranged inside the collection box, and both sides of the sand and mud collection bottle are in contact with arc-shaped clamping blocks, and the arc-shaped clamping blocks on one side pass through the fixed rod It is fixedly connected with the collection box, and the arc-shaped clamp block on the other side is fixedly connected with the two resisting rods. The other ends of the two resisting rods penetrate to the outside of the collecting box and are fixedly connected with pull blocks. Springs are sheathed on the outside of the contact rods, one end of the spring is fixedly connected to the arc clip, and the other end of the spring is fixedly connected to the inner wall of the collection box.
作为本实用新型的优选技术方案,所述移动框的两侧外壁均固定连接有固定块,所述固定块的上端固定连接有推杆,所述固定块的下端固定安装有液压杆,所述液压杆的伸缩端固定连接有固定锥。As a preferred technical solution of the present invention, the outer walls of both sides of the moving frame are fixedly connected with fixed blocks, the upper end of the fixed block is fixedly connected with a push rod, and the lower end of the fixed block is fixedly installed with a hydraulic rod. The telescopic end of the hydraulic rod is fixedly connected with a fixed cone.
作为本实用新型的优选技术方案,所述移动框的底部固定连接有多个万向轮。As a preferred technical solution of the utility model, a plurality of universal wheels are fixedly connected to the bottom of the moving frame.
本实用新型提供了一种水利工程勘察用取样装置,具备以下有益效果:The utility model provides a sampling device for water conservancy engineering investigation, which has the following beneficial effects:
1、本新型通过驱动电机带动螺纹块工作,带动取样筒向下移动,从而将取样筒内部的出料管带入泥沙中,在用抽料泵可以对泥沙进行抽取,之后经过出料管流入收集盒内的沙泥收集瓶内,方便工作人员对其进行检测。1. The new model drives the screw block to work by driving the motor, and drives the sampling cylinder to move downwards, so that the discharge pipe inside the sampling cylinder is brought into the sediment, and the sediment can be extracted by the pumping pump, and then through the discharge The pipe flows into the sand and mud collection bottle in the collection box, which is convenient for the staff to detect it.
2、本新型通过拉动拉块带动抵杆向外移动,从而带动弧形夹块移动,这样可以方便拿放沙泥收集瓶,节约了工作人员的时间。2. The new model drives the bar to move outward by pulling the pull block, thereby driving the arc-shaped clamp block to move, so that it is convenient to take and place the sand and mud collection bottle, saving the time of the staff.
附图说明Description of drawings
图1为本实用新型一种水利工程勘察用取样装置的主视结构示意图;Fig. 1 is the main view structure schematic diagram of a kind of water conservancy project investigation sampling device of the present utility model;
图2为本实用新型一种水利工程勘察用取样装置中取样筒的内部结构示意图;Fig. 2 is a schematic diagram of the internal structure of the sampling cylinder in a sampling device for water conservancy engineering survey of the present invention;
图3为本实用新型一种水利工程勘察用取样装置中收集箱的内部结构示意图;Fig. 3 is a schematic diagram of the internal structure of a collection box in a sampling device for water conservancy engineering survey of the present invention;
图4为本实用新型一种水利工程勘察用取样装置中收集箱俯视结构示意。Fig. 4 is a schematic diagram of the top view structure of the collection box in a sampling device for water conservancy engineering survey of the present invention.
图中:1、移动框;2、固定锥;3、液压杆;4、固定块;5、推杆;6、把手;7、收集箱;8、出料管;9、抽料泵;10、连接管;11、伸缩软管;12、驱动电机;13、螺纹块;14、螺杆;15、万向轮;16、取样筒;17、齿块;18、滑块;19、导向杆;20、连接杆;21、进料管;22、固定环;23、支杆;24、固定杆;25、弧形夹块;26、弹簧;27、拉块;28、抵杆;29、沙泥收集瓶。In the figure: 1. Moving frame; 2. Fixed cone; 3. Hydraulic rod; 4. Fixed block; 5. Push rod; 6. Handle; 7. Collection box; 8. Outlet pipe; 9. Pumping pump; 10 , connecting pipe; 11, telescopic hose; 12, drive motor; 13, threaded block; 14, screw; 15, universal wheel; 16, sampling cylinder; 17, gear block; 18, slider; 19, guide rod; 20, connecting rod; 21, feed pipe; 22, fixed ring; 23, support rod; 24, fixed rod; 25, arc clip block; 26, spring; 27, pull block; Mud collection bottle.
具体实施方式detailed description
下面结合附图和实施例对本实用新型的实施方式作进一步详细描述。以下实施例用于说明本实用新型,但不能用来限制本实用新型的范围。The implementation of the present utility model will be further described in detail below in conjunction with the accompanying drawings and examples. The following examples are used to illustrate the utility model, but cannot be used to limit the scope of the utility model.
在本实用新型的描述中,除非另有说明,“多个”的含义是两个或两个以上;术语“上”、“下”、“左”、“右”、“内”、“外”、“前端”、“后端”、“头部”、“尾部”等指示的方位或位置关系为基于附图所示的方位或位置关系,仅是为了便于描述本实用新型和简化描述,而不是指示或暗示所指的装置或元件必须具有特定的方位、以特定的方位构造和操作,因此不能理解为对本实用新型的限制。此外,术语“第一”、“第二”、“第三”等仅用于描述目的,而不能理解为指示或暗示相对重要性。In the description of the present utility model, unless otherwise specified, the meaning of "multiple" is two or more; the terms "upper", "lower", "left", "right", "inner", "outer" ", "front end", "rear end", "head", "tail", etc. indicate the orientation or positional relationship based on the orientation or positional relationship shown in the accompanying drawings, and are only for the convenience of describing the utility model and simplifying the description. It does not indicate or imply that the device or element referred to must have a specific orientation, be constructed and operate in a specific orientation, and therefore should not be construed as limiting the present invention. In addition, the terms "first", "second", "third", etc. are used for descriptive purposes only and should not be construed as indicating or implying relative importance.
在本实用新型的描述中,需要说明的是,除非另有明确的规定和限定,术语“相连”、“连接”应做广义理解,例如,可以是固定连接,也可以是可拆卸连接,或一体地连接;可以是机械连接,也可以是电连接;可以是直接相连,也可以通过中间媒介间接相连。对于本领域的普通技术人员而言,可以具体情况理解上述术语在本实用新型中的具体含义。In the description of the present utility model, it should be noted that unless otherwise specified and limited, the terms "connected" and "connected" should be understood in a broad sense, for example, it can be a fixed connection or a detachable connection, or Integratively connected; it can be mechanically or electrically connected; it can be directly connected or indirectly connected through an intermediary. Those of ordinary skill in the art can understand the specific meanings of the above terms in the present utility model in specific situations.
请参阅图1至图4,本实用新型提供一种技术方案:一种水利工程勘察用取样装置,包括移动框1,移动框1的内部设有取样筒16,取样筒16的两侧外壁均固定连接有连接杆20,一侧连接杆20与螺纹块13固定连接,另一侧连接杆20与滑块18固定连接,螺纹块13的内部设有螺杆14,螺杆14转动连接在移动框1的内部底壁,螺杆14的顶端与驱动电机12的输出轴定连接,驱动电机12固定安装在移动框1的顶部,滑块18的内部设有导向杆19,导向杆19固定连接在移动框1,取样筒16的内部设有进料管21,进料管21的进料端与固定环22固定连接,固定环22的两侧均固定连接有支杆23,支杆23固定连接在取样筒16的内部,进料管21的出料端与伸缩软管11的下端固定连接,伸缩软管11的上端与连接管10的一端固定连接,连接管10的另一端与抽料泵9的进料端固定连接,通过抽料泵9可以将泥沙抽取到收集箱内,方便工作人员对其进行检查。Please refer to Fig. 1 to Fig. 4, the utility model provides a kind of technical scheme: a kind of sampling device for water conservancy project survey, comprises moving frame 1, and the interior of moving frame 1 is provided with
其中,取样筒16的底部固定连接有多个齿块17,使取样筒16)进入泥土时更加的方便。Wherein, the bottom of the
其中,抽料泵9的出料端与出料管8的一端固定连接,出料管8的另一端延伸至收集箱7的内部,收集箱7的正面转动连接有活动门,活动门上设有把手6,这样方便拿换沙泥收集瓶29,这样方便拿换沙泥收集瓶29。Wherein, the discharge end of the
其中,收集箱7的内部设有沙泥收集瓶29,沙泥收集瓶29的两侧均抵触有弧形夹块29,一侧弧形夹块29通过固定杆24与收集盒7固定连接,另一侧弧形夹块29与两个抵杆28固定连接,两个抵杆28的另一端均贯穿至收集箱7的外部并固定连接有拉块27,两个抵杆28的外部均套设有弹簧26,弹簧26的一端与弧形夹块25固定连接,弹簧26的另一端与收集箱7的内壁固定连接。Wherein, the inside of
其中,移动框1的两侧外壁均固定连接有固定块4,固定块4的上端固定连接有推杆5,固定块4的下端固定安装有液压杆3,液压杆3的伸缩端固定连接有固定锥2,通过固定锥2可以增加本装置的稳定性。Wherein, the outer walls of both sides of the moving frame 1 are fixedly connected with a fixed block 4, the upper end of the fixed block 4 is fixedly connected with a push rod 5, the lower end of the fixed block 4 is fixedly installed with a hydraulic rod 3, and the telescopic end of the hydraulic rod 3 is fixedly connected with a The fixed cone 2 can increase the stability of the device through the fixed cone 2.
其中,移动框1的底部固定连接有多个万向轮15,可以方便将本装置移动到指定的地点。Wherein, the bottom of the moving frame 1 is fixedly connected with a plurality of
本实施例的具体使用方式与作用:The specific usage and function of this embodiment:
本实用新型在使用时,打开驱动电机12配合螺杆14工作,带动取样筒16向下移动,取样筒16带动进料管21向下移动进入泥沙中,在用抽料泵9配合进料管21工作可以对泥沙进行抽取,之后经过出料管流入收集盒7内的沙泥收集瓶29内,方便工作人员对其进行检测。When the utility model is in use, the
在使用过程中,先推动推杆5将装置移动到需要检测的地方,确认位置后打开液压杆3带动固定锥2向下挤压,从而固定住本装置,之后打开驱动电机12带动螺纹杆14转动,螺纹杆14配合螺纹块13工作,带动取样筒16和进料管21向下移动,直到进入泥沙中,再打开抽料泵9将泥沙抽取到收集盒7内的沙泥收集瓶29中,完成后打开收集箱7的门,拉动拉块27使一侧的弧形夹块25远离沙泥收集瓶29,这样就可以方便工作人员对沙泥收集瓶29内的样品进行检测了。During use, first push the push rod 5 to move the device to the place to be detected, and after confirming the position, open the hydraulic rod 3 to drive the fixed cone 2 to squeeze down, thereby fixing the device, and then open the
以上所述,仅为本实用新型较佳的具体实施方式,但本实用新型的保护范围并不局限于此,任何熟悉本技术领域的技术人员在本实用新型揭露的技术范围内,根据本实用新型的技术方案及其实用新型构思加以等同替换或改变,都应涵盖在本实用新型的保护范围之内。The above is only a preferred embodiment of the utility model, but the scope of protection of the utility model is not limited thereto. The equivalent replacement or change of the new technical solution and the concept of the utility model shall be covered by the protection scope of the utility model.
Claims (6)
Priority Applications (1)
| Application Number | Priority Date | Filing Date | Title |
|---|---|---|---|
| CN202222087448.4U CN218157072U (en) | 2022-08-09 | 2022-08-09 | A sampling device for water conservancy engineering investigation |
Applications Claiming Priority (1)
| Application Number | Priority Date | Filing Date | Title |
|---|---|---|---|
| CN202222087448.4U CN218157072U (en) | 2022-08-09 | 2022-08-09 | A sampling device for water conservancy engineering investigation |
Publications (1)
| Publication Number | Publication Date |
|---|---|
| CN218157072U true CN218157072U (en) | 2022-12-27 |
Family
ID=84599915
Family Applications (1)
| Application Number | Title | Priority Date | Filing Date |
|---|---|---|---|
| CN202222087448.4U Expired - Fee Related CN218157072U (en) | 2022-08-09 | 2022-08-09 | A sampling device for water conservancy engineering investigation |
Country Status (1)
| Country | Link |
|---|---|
| CN (1) | CN218157072U (en) |
Cited By (1)
| Publication number | Priority date | Publication date | Assignee | Title |
|---|---|---|---|---|
| CN116577152A (en) * | 2023-07-12 | 2023-08-11 | 自然资源部第一海洋研究所 | Unmanned aerial vehicle silt sand mud flat drills into extraction device with different degree of depth drills |
-
2022
- 2022-08-09 CN CN202222087448.4U patent/CN218157072U/en not_active Expired - Fee Related
Cited By (1)
| Publication number | Priority date | Publication date | Assignee | Title |
|---|---|---|---|---|
| CN116577152A (en) * | 2023-07-12 | 2023-08-11 | 自然资源部第一海洋研究所 | Unmanned aerial vehicle silt sand mud flat drills into extraction device with different degree of depth drills |
Similar Documents
| Publication | Publication Date | Title |
|---|---|---|
| CN105547750B (en) | Water conservancy fine sediment of reservoir water sample acquisition device and its method for sampling | |
| CN116296601B (en) | Sampling device for ocean water quality detection | |
| CN203324042U (en) | Portable confined water well type water sample collector | |
| CN104502146B (en) | Natural river surface bottom sediment collection device | |
| CN208420455U (en) | A kind of water body environment detection water source sampler | |
| CN218157072U (en) | A sampling device for water conservancy engineering investigation | |
| CN210719780U (en) | Sampling device for geological exploration | |
| CN208026504U (en) | A kind of sampling of water quality equipment of hydrology and water resources engineering | |
| CN211448577U (en) | Drilling mud solid-liquid separation equipment | |
| CN220184129U (en) | Water conservancy channel dredging device | |
| CN218600961U (en) | A Monitoring Sampler with Azimuth Transformation Structure | |
| CN216695746U (en) | Regional rainwater collection test system based on urban landscape | |
| CN214277465U (en) | Soil fertilizer nutrient measuring and sampling device | |
| CN110847339A (en) | A directional dredging device for drainage pipes | |
| CN115931440A (en) | Portable columnar sediment collection equipment | |
| CN210741916U (en) | Oil field drilling fluid sampling device | |
| CN114791373A (en) | A buttress sampling device for detection of stagnant water in the upper layer of urban underground | |
| CN211401789U (en) | But height-adjusting's silt collection system | |
| CN221276524U (en) | Aqueduct for water conservancy projects | |
| CN220953803U (en) | A drainage device for civil engineering | |
| CN209841436U (en) | A water pollution control sampling device | |
| CN115898389A (en) | Hydrogeological engineering underground river drilling equipment | |
| CN220225509U (en) | A ditch silt cleaning equipment | |
| CN114112523A (en) | An electric adjustable pipeline sediment sampling device | |
| CN219369212U (en) | Water quality monitoring sample collection device |
Legal Events
| Date | Code | Title | Description |
|---|---|---|---|
| GR01 | Patent grant | ||
| GR01 | Patent grant | ||
| CF01 | Termination of patent right due to non-payment of annual fee |
Granted publication date: 20221227 |
|
| CF01 | Termination of patent right due to non-payment of annual fee |
