CN218135253U - Suction Cup Fixtures for CNC Milling Machines - Google Patents
Suction Cup Fixtures for CNC Milling Machines Download PDFInfo
- Publication number
- CN218135253U CN218135253U CN202222309224.3U CN202222309224U CN218135253U CN 218135253 U CN218135253 U CN 218135253U CN 202222309224 U CN202222309224 U CN 202222309224U CN 218135253 U CN218135253 U CN 218135253U
- Authority
- CN
- China
- Prior art keywords
- vacuum pump
- branch pipes
- suction cup
- vacuum
- numerically controlled
- Prior art date
- Legal status (The legal status is an assumption and is not a legal conclusion. Google has not performed a legal analysis and makes no representation as to the accuracy of the status listed.)
- Expired - Fee Related
Links
Images
Landscapes
- Jigs For Machine Tools (AREA)
Abstract
本实用新型提供了一种数控铣床的吸盘式夹具,包括工作台,所述工作台上设置有第一真空泵和第二真空泵,所述工作台上设置有多个支管,所有所述支管的上端均设置有用于吸附平板零部件的真空吸盘,所有所述真空吸盘的盘面位于同一平面上,部分支管的下端与第一真空泵连通形成负压,其余支管的下端与第二真空泵连通形成负压。使用时可以先启动第一真空泵仅使用部分真空吸盘对平板零部件进行吸附固定,通过吸力消除摆放时的歪斜误差,此时吸力较小,不会对歪斜的平板零部件造成损坏,当平板零部件定位完成后,再启动第二真空泵对平板零部件进行进一步固定,此时由于平板零部件已经固定位置,较大的吸力也不会使平板零部件产生过大的形变。
The utility model provides a sucker type fixture for a numerically controlled milling machine, which comprises a workbench, on which a first vacuum pump and a second vacuum pump are arranged, on which a plurality of branch pipes are arranged, and the upper ends of all the branch pipes All are equipped with vacuum suction cups for absorbing flat plate parts. The disk surfaces of all the vacuum suction cups are located on the same plane. The lower ends of some branch pipes are connected with the first vacuum pump to form negative pressure, and the lower ends of the remaining branch pipes are connected with the second vacuum pump to form negative pressure. When in use, you can first start the first vacuum pump and only use part of the vacuum suction cups to absorb and fix the plate parts, and eliminate the skew error when placed by suction. At this time, the suction is small and will not cause damage to the skewed plate parts. When the plate After the positioning of the parts is completed, start the second vacuum pump to further fix the flat parts. At this time, since the flat parts have been fixed, the large suction force will not cause excessive deformation of the flat parts.
Description
技术领域technical field
本实用新型涉及属于工艺装备技术领域,尤其涉及一种数控铣床的吸盘式夹具。The utility model relates to the technical field of process equipment, in particular to a sucker type clamp for a numerically controlled milling machine.
背景技术Background technique
随着社会生产和科学技术的迅速发展,机械产品日趋精密复杂,且需求频繁改型,特别是在宇航、造船、军事等领域所需的机械零件,精度要求高,形状复杂,批量小。加工这类产品需要经常改装或调整设备,普通机床或专用化程度高的自动化机床已不能适应这些要求。为了解决上述问题,一种新型的机床——数控机床应运而生。这种新型机床具有适应性强、加工精度高、加工质量稳定和生产效率高等优点。它综合应用了电子计算机、自动控制、伺服驱动、精密测量和新型机械结构等多方面的技术成果,是今后数控机床的发展方向。部分数控机床自带真空柔性夹具,其价格昂贵,虽然实现了自动化和电传调控能力但使用时仍需要调用零件数模生成铣切夹具型面。因此耗时周期长,进而影响加工效率以及加工成本。With the rapid development of social production and science and technology, mechanical products are becoming more and more sophisticated and frequently modified, especially for mechanical parts required in aerospace, shipbuilding, military and other fields, which require high precision, complex shapes, and small batches. Processing such products requires frequent modification or adjustment of equipment, and ordinary machine tools or highly specialized automatic machine tools can no longer meet these requirements. In order to solve the above problems, a new type of machine tool - CNC machine tool came into being. This new type of machine tool has the advantages of strong adaptability, high processing precision, stable processing quality and high production efficiency. It comprehensively applies the technological achievements in many aspects such as electronic computer, automatic control, servo drive, precision measurement and new mechanical structure, and is the development direction of CNC machine tools in the future. Some CNC machine tools come with vacuum flexible fixtures, which are expensive. Although automation and telex control capabilities are realized, it is still necessary to call the part digital model to generate the milling fixture surface when using it. Therefore, the time-consuming cycle is long, which in turn affects the processing efficiency and processing cost.
中国专利CN110039345A,公开了一种用于龙门式五坐标钣金数控铣床铣切的柔性夹具平台,其夹具的方案是:该装置包括固定式底座、高精度对刀基准孔、纵向滑杆、纵向滑轨、吸盘底座、支杆支座、支杆、真空吸盘和横向滑轨槽;固定式底座置于五座标机床平台上,设有两条带有尺寸刻线的横向滑轨槽和多条带有尺寸刻线的纵向滑杆,纵向滑杆安装在横向滑轨槽上;纵向滑轨安装在纵向滑杆上;吸盘底座安装在纵向滑轨上;支杆支座底端螺接在吸盘底座上;支杆旋入支杆支座的螺纹通孔中,可上下垂直移动;真空吸盘固定于支杆顶端,可360度摆动在任意角度固定,用于紧密吸附待铣切零件外形。将其中两个真空吸盘中心吸孔处安装销钉,用销钉来确定零件的准确空间方位,其余真空吸盘用来吸附零件。然而其采用同一个气源控制真空吸盘的吸合,其方案适用于复杂曲面的零部件。对于平板零部件来说,若是零部件较为脆弱,且零部件摆放时存在歪斜的情况时,所有真空吸盘同时吸合产生的过大吸附力极容易导致平板零部件瞬间产生较大的形变,极易导致平板零部件产生塑性形变或是碎裂,若是吸附力过小在在进行铣削加工时便会导致零部件松动加工位置偏移,同样会导致零部件报废。Chinese patent CN110039345A discloses a flexible fixture platform for milling and cutting of gantry-type five-coordinate sheet metal CNC milling machine. Slide rails, suction cup bases, pole supports, poles, vacuum suction cups and transverse slide rail grooves; the fixed base is placed on the five-coordinate machine tool platform, with two transverse slide rail grooves with dimension marking lines and multiple There is a longitudinal slide bar with dimension markings, the longitudinal slide bar is installed on the groove of the horizontal slide rail; the longitudinal slide rail is installed on the longitudinal slide bar; the suction cup base is installed on the longitudinal slide rail; On the base of the suction cup; the rod is screwed into the threaded through hole of the rod support, which can move vertically up and down; the vacuum suction cup is fixed on the top of the rod, and can be fixed at any angle by 360-degree swing, which is used to tightly absorb the shape of the part to be milled. Install pins at the central suction holes of two of the vacuum suction cups, use the pins to determine the accurate spatial orientation of the parts, and the remaining vacuum suction cups are used to absorb the parts. However, it uses the same air source to control the suction of the vacuum chuck, and its solution is suitable for parts with complex curved surfaces. For flat parts, if the parts are fragile and there is a skew when the parts are placed, the excessive adsorption force generated by all the vacuum suction cups at the same time is very likely to cause a large deformation of the flat parts in an instant. It is very easy to cause plastic deformation or fragmentation of flat parts. If the adsorption force is too small, the parts will loosen and the processing position will be shifted during milling, which will also lead to the scrapping of parts.
实用新型内容Utility model content
本实用新型的目的是提供一种数控铣床的吸盘式夹具,其能够对较为脆弱的平板零部件进行吸合,且吸合力能够调节分段。The purpose of the utility model is to provide a sucker-type clamp for a numerically controlled milling machine, which can attract relatively fragile flat parts, and the attracting force can be adjusted in sections.
为实现上述技术目的,本实用新型采用了以下技术方案:In order to realize the above-mentioned technical purpose, the utility model has adopted the following technical solutions:
一种数控铣床的吸盘式夹具,包括工作台,所述工作台上设置有第一真空泵和第二真空泵,所述工作台上设置有多个支管,所有所述支管的上端均设置有用于吸附平板零部件的真空吸盘,所有所述真空吸盘的盘面位于同一平面上,部分支管的下端与第一真空泵连通形成负压,其余支管的下端与第二真空泵连通形成负压。A suction cup fixture for a CNC milling machine, comprising a workbench, on which a first vacuum pump and a second vacuum pump are arranged, on which a plurality of branch pipes are arranged, and the upper ends of all the branch pipes are provided with For the vacuum suction cup of the flat part, all the surfaces of the vacuum suction cups are located on the same plane, the lower ends of some branch pipes are connected with the first vacuum pump to form a negative pressure, and the lower ends of the remaining branch pipes are connected with the second vacuum pump to form a negative pressure.
上述方案中,使用时可以先启动第一真空泵仅使用部分真空吸盘对平板零部件进行吸附固定,通过吸力消除摆放时的歪斜误差,此时吸力较小,不会对歪斜的平板零部件造成损坏,当平板零部件定位完成后,再启动第二真空泵对平板零部件进行进一步固定,此时由于平板零部件已经固定位置,较大的吸力也不会使平板零部件产生过大的形变。同时吸力大小也能满足平板零部件进行铣削时的固定力要求。工作台可以直接固定在铣床上进行夹持作业。In the above solution, the first vacuum pump can be started first when using, and only part of the vacuum suction cups can be used to absorb and fix the flat parts, and the skew error during placement can be eliminated through suction. At this time, the suction is small and will not cause damage to the skewed flat parts. Damage, when the positioning of the flat parts is completed, start the second vacuum pump to further fix the flat parts. At this time, because the flat parts have been fixed, the larger suction force will not cause excessive deformation of the flat parts. At the same time, the magnitude of the suction force can also meet the fixing force requirements when the flat parts are milled. The table can be fixed directly on the milling machine for clamping work.
作为优选,所述工作台包括水平布置的基板,所述基板的两端分别设置有向下延伸的立板,两个所述立板的下端分别设置有水平布置的支座板,所述支管和真空吸盘设置在基板的上表面。当工位上放置平板零部件后,真空吸盘将会吸紧平板零部件。其中第一真空泵和第二真空泵的夹紧力均为N,完全满足工件加工要求的安全夹紧力;使用第一真空泵和第二真空泵作为动力源来实现吸盘夹紧,不仅减少了辅助安装时间,而且大大降低了劳动强度。Preferably, the workbench includes a base plate arranged horizontally, vertical plates extending downward are respectively provided at both ends of the base plate, support plates arranged horizontally are respectively provided at the lower ends of the two vertical plates, and the branch pipes and vacuum chucks are disposed on the upper surface of the substrate. When the flat parts are placed on the station, the vacuum suction cup will suck the flat parts tightly. The clamping forces of the first vacuum pump and the second vacuum pump are both N, fully meeting the safe clamping force required by the workpiece processing; using the first vacuum pump and the second vacuum pump as the power source to realize the suction cup clamping not only reduces the auxiliary installation time , and greatly reduce the labor intensity.
作为优选,所述第一真空泵和第二真空泵分设在两个支座板的上表面。Preferably, the first vacuum pump and the second vacuum pump are respectively arranged on the upper surfaces of the two support plates.
作为优选,与第一真空泵连通的支管设置有四个,四个所述支管的连线合围成一个矩形。Preferably, there are four branch pipes communicating with the first vacuum pump, and the connecting lines of the four branch pipes form a rectangle.
作为优选,与第二真空泵连通的支管设置有三个且位于所述矩形中部,第二真空泵连通的支管沿所述矩形长度方向均匀间隔布置。Preferably, there are three branch pipes communicating with the second vacuum pump located in the middle of the rectangle, and the branch pipes communicating with the second vacuum pump are evenly spaced along the length direction of the rectangle.
作为优选,所述基板的上表面设置有两个橡胶条形垫,所述橡胶条形垫的长度方向平行于基板的一端的边沿长度方向,所述支管和真空吸盘设置在两个橡胶条形垫之间。As a preference, two rubber strip-shaped pads are arranged on the upper surface of the substrate, the length direction of the rubber strip-shaped pads is parallel to the edge length direction of one end of the substrate, and the branch pipe and the vacuum suction cup are arranged on the two rubber strip-shaped pads. between pads.
作为优选,所述基板的上表面设置有用于对平板零部件进行定位的定位销。Preferably, the upper surface of the substrate is provided with positioning pins for positioning the flat parts.
附图说明Description of drawings
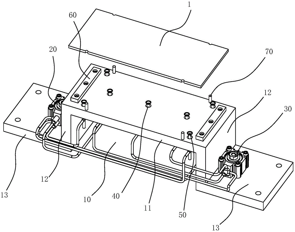
图1为本实用新型立体结构示意图;Fig. 1 is a schematic diagram of the three-dimensional structure of the utility model;
附图标记说明:1、平板零部件;10、工作台;11、基板;12、立板;13、支座板;20、第一真空泵;30、第二真空泵;40、支管;50、真空吸盘;60、橡胶条形垫;70、定位销。Explanation of reference signs: 1, flat parts; 10, workbench; 11, base plate; 12, vertical plate; 13, support plate; 20, first vacuum pump; 30, second vacuum pump; 40, branch pipe; 50, vacuum Suction cup; 60, rubber strip pad; 70, positioning pin.
具体实施方式detailed description
为使本实用新型的上述目的、特征和优点能够更为明显易懂,下面结合附图对本实用新型的具体实施例做详细的说明。In order to make the above purpose, features and advantages of the utility model more obvious and easy to understand, specific embodiments of the utility model will be described in detail below in conjunction with the accompanying drawings.
在本实用新型的描述中,需要说明的是,术语“底部”、“外侧”、“前后”“上下”等指示的方位或位置关系为基于附图状态下所示的方位或位置关系,仅是为了便于描述本实用新型和简化描述,而不是指示或暗示所指的装置或元件必须具有特定的方位、以特定的方位构造和操作,因此不能理解为对本实用新型的限制。In the description of the present utility model, it should be noted that the orientations or positional relationships indicated by the terms "bottom", "outside", "front and rear", "up and down" are based on the orientations or positional relationships shown in the accompanying drawings, only It is for the convenience of describing the utility model and simplifying the description, but does not indicate or imply that the device or element referred to must have a specific orientation, be constructed and operated in a specific orientation, and therefore should not be construed as a limitation of the utility model.
在本实用新型的描述中,需要说明的是,除非另有明确的规定和限定,术语“连接”、应做广义理解,例如,可以是固定连接,也可以是可拆卸连接,或一体地连接;可以是直接相连,也可以通过中间媒介间接相连,可以是两个元件内部的连通。对于本领域的普通技术人员而言,可以具体情况理解上述术语在本实用新型中的具体含义。In the description of the present utility model, it should be noted that unless otherwise specified and limited, the term "connection" should be understood in a broad sense, for example, it can be a fixed connection, a detachable connection, or an integral connection ; It can be directly connected, or indirectly connected through an intermediary, and can be internally connected between two elements. Those of ordinary skill in the art can understand the specific meanings of the above terms in the present utility model in specific situations.
一种数控铣床的吸盘式夹具,包括工作台10,所述工作台10上设置有第一真空泵20和第二真空泵30,所述工作台10上设置有多个支管40,所有所述支管40的上端均设置有用于吸附平板零部件1的真空吸盘50,所有所述真空吸盘50的盘面位于同一平面上,部分支管40的下端与第一真空泵20连通形成负压,其余支管40的下端与第二真空泵30连通形成负压。A suction cup type fixture for a numerical control milling machine, comprising a
上述方案中,使用时可以先启动第一真空泵20仅使用部分真空吸盘50对平板零部件1进行吸附固定,通过吸力消除摆放时的歪斜误差,此时吸力较小,不会对歪斜的平板零部件1造成损坏,当平板零部件1定位完成后,再启动第二真空泵30对平板零部件1进行进一步固定,此时由于平板零部件1已经固定位置,较大的吸力也不会使平板零部件1产生过大的形变。同时吸力大小也能满足平板零部件1进行铣削时的固定力要求。工作台10可以直接固定在铣床上进行夹持作业。当工位上放置平板零部件1后,真空吸盘50将会吸紧平板零部件1。其中第一真空泵20和第二真空泵30的夹紧力均为600N,完全满足工件加工要求的安全夹紧力;使用第一真空泵20和第二真空泵30作为动力源来实现吸盘夹紧,不仅减少了辅助安装时间,而且大大降低了劳动强度。In the above-mentioned solution, the
作为优选,所述工作台10包括水平布置的基板11,所述基板11的两端分别设置有向下延伸的立板12,两个所述立板12的下端分别设置有水平布置的支座板13,所述支管40和真空吸盘50设置在基板11的上表面。使用时,将支座板13与数控机床相连,这样便能使基板11悬空布置,便于在基板11下方布置通气管路。Preferably, the
作为优选,所述第一真空泵20和第二真空泵30分设在两个支座板13的上表面。由于两个支座板13与数控机床相连相连,其较为稳固,因此将第一真空泵20和第二真空泵30设置在其上避免因真空泵启动造成数控机床刀具出现振动偏移。Preferably, the
作为优选,与第一真空泵20连通的支管40设置有四个,四个所述支管40的连线合围成一个矩形。这样便能通过四个支管40吸附平板零部件1的四边,避免应力集中损坏零部件。Preferably, four
作为优选,与第二真空泵30连通的支管40设置有三个且位于所述矩形中部,第二真空泵30连通的支管40沿所述矩形长度方向均匀间隔布置。由于加工位置一般位于平板零部件1的中部,因此这样设置的三个支管40能够对平板零部件1的中部进行固定。Preferably, three
作为优选,所述基板11的上表面设置有两个橡胶条形垫60,所述橡胶条形垫60的长度方向平行于基板11的一端的边沿长度方向,所述支管40和真空吸盘50设置在两个橡胶条形垫60之间。在未启动真空泵时可以先将平板零部件1放置在两个橡胶条形垫60上。As preferably, two
作为优选,所述基板11的上表面设置有用于对平板零部件1进行定位的定位销70。该定位销70位于基板11两边;该定位销70设置有四个,其可与平板零部件1上的定位孔配合,从而实现工件定位。也可以与平板零部件1的边沿抵合实现定位。Preferably, the upper surface of the
该吸盘夹具结构简单、操作方便,通过真空吸盘50与定位销70能够将工件精准的固定在工作台上,既提高了生产效率又降低了劳动强度,具有较高的应用价值。The suction cup fixture has a simple structure and is easy to operate, and the workpiece can be accurately fixed on the workbench through the
虽然本公开披露如上,但本公开的保护范围并非仅限于此。本领域技术人员,在不脱离本公开的精神和范围的前提下,可进行各种变更与修改,这些变更与修改均将落入本实用新型的保护范围。Although the present disclosure is disclosed as above, the protection scope of the present disclosure is not limited thereto. Those skilled in the art can make various changes and modifications without departing from the spirit and scope of the present disclosure, and these changes and modifications will all fall within the protection scope of the present utility model.
Claims (7)
Priority Applications (1)
| Application Number | Priority Date | Filing Date | Title |
|---|---|---|---|
| CN202222309224.3U CN218135253U (en) | 2022-08-31 | 2022-08-31 | Suction Cup Fixtures for CNC Milling Machines |
Applications Claiming Priority (1)
| Application Number | Priority Date | Filing Date | Title |
|---|---|---|---|
| CN202222309224.3U CN218135253U (en) | 2022-08-31 | 2022-08-31 | Suction Cup Fixtures for CNC Milling Machines |
Publications (1)
| Publication Number | Publication Date |
|---|---|
| CN218135253U true CN218135253U (en) | 2022-12-27 |
Family
ID=84557364
Family Applications (1)
| Application Number | Title | Priority Date | Filing Date |
|---|---|---|---|
| CN202222309224.3U Expired - Fee Related CN218135253U (en) | 2022-08-31 | 2022-08-31 | Suction Cup Fixtures for CNC Milling Machines |
Country Status (1)
| Country | Link |
|---|---|
| CN (1) | CN218135253U (en) |
Cited By (1)
| Publication number | Priority date | Publication date | Assignee | Title |
|---|---|---|---|---|
| CN116618730A (en) * | 2023-07-21 | 2023-08-22 | 成都工业职业技术学院 | Intelligent plate milling device and control method thereof |
-
2022
- 2022-08-31 CN CN202222309224.3U patent/CN218135253U/en not_active Expired - Fee Related
Cited By (2)
| Publication number | Priority date | Publication date | Assignee | Title |
|---|---|---|---|---|
| CN116618730A (en) * | 2023-07-21 | 2023-08-22 | 成都工业职业技术学院 | Intelligent plate milling device and control method thereof |
| CN116618730B (en) * | 2023-07-21 | 2023-09-29 | 成都工业职业技术学院 | Intelligent plate milling device and control method thereof |
Similar Documents
| Publication | Publication Date | Title |
|---|---|---|
| CN208034155U (en) | Stable workpiece clamping fixture | |
| CN109079527B (en) | Positioning structure and machine tool with same | |
| CN218135253U (en) | Suction Cup Fixtures for CNC Milling Machines | |
| CN206662766U (en) | Aerial blade fixture | |
| CN106141581A (en) | A kind of method of quick raising aviation beam series products working (machining) efficiency and equipment thereof | |
| CN105328500A (en) | Numerical control machine tool internally provided with automatic feeding and discharging mechanism and method for conducting workpiece feeding and discharging | |
| CN204658030U (en) | Blade groove milling fixture | |
| CN111941124A (en) | Fixtures and Machine Tools | |
| CN106736765A (en) | An angle steel fixture | |
| CN207014020U (en) | A kind of compressor of air conditioner price fixing machining production line | |
| CN211441771U (en) | Glass outer clamping and positioning device of engraving and milling machine | |
| CN103639485A (en) | High-precision positioning device for drilling | |
| CN205630062U (en) | Automatic multi-category clamping system and CNC machine tools | |
| CN218017279U (en) | Automatic machining device for high-precision parts | |
| CN217413695U (en) | Quick positioning universal edge sweeping jig | |
| CN216859018U (en) | A four-axis tool for CNC processing | |
| CN206253907U (en) | Zero-point positioning system quick-changing mechanism | |
| CN204843637U (en) | Anchor clamps are controlled to special chuck of lathe machining | |
| CN212144562U (en) | A kind of robot punching equipment | |
| CN222371440U (en) | Bridge package positioning device that floats | |
| CN221159398U (en) | Adsorption type clamp | |
| CN207560664U (en) | A large automatic dispensing and placement machine | |
| CN222405305U (en) | Positioning device for processing safety tongue of large hook | |
| CN217992289U (en) | A carrier and clamping device for processing workpieces | |
| CN222493956U (en) | Semiconductor clamp |
Legal Events
| Date | Code | Title | Description |
|---|---|---|---|
| GR01 | Patent grant | ||
| GR01 | Patent grant | ||
| CF01 | Termination of patent right due to non-payment of annual fee |
Granted publication date: 20221227 |
