CN218039405U - Power lithium cellization becomes anchor clamps mechanism - Google Patents
Power lithium cellization becomes anchor clamps mechanism Download PDFInfo
- Publication number
- CN218039405U CN218039405U CN202221992825.2U CN202221992825U CN218039405U CN 218039405 U CN218039405 U CN 218039405U CN 202221992825 U CN202221992825 U CN 202221992825U CN 218039405 U CN218039405 U CN 218039405U
- Authority
- CN
- China
- Prior art keywords
- bottom plate
- fixedly connected
- threaded rod
- adjustment frame
- plate
- Prior art date
- Legal status (The legal status is an assumption and is not a legal conclusion. Google has not performed a legal analysis and makes no representation as to the accuracy of the status listed.)
- Active
Links
Images
Classifications
-
- Y—GENERAL TAGGING OF NEW TECHNOLOGICAL DEVELOPMENTS; GENERAL TAGGING OF CROSS-SECTIONAL TECHNOLOGIES SPANNING OVER SEVERAL SECTIONS OF THE IPC; TECHNICAL SUBJECTS COVERED BY FORMER USPC CROSS-REFERENCE ART COLLECTIONS [XRACs] AND DIGESTS
- Y02—TECHNOLOGIES OR APPLICATIONS FOR MITIGATION OR ADAPTATION AGAINST CLIMATE CHANGE
- Y02E—REDUCTION OF GREENHOUSE GAS [GHG] EMISSIONS, RELATED TO ENERGY GENERATION, TRANSMISSION OR DISTRIBUTION
- Y02E60/00—Enabling technologies; Technologies with a potential or indirect contribution to GHG emissions mitigation
- Y02E60/10—Energy storage using batteries
-
- Y—GENERAL TAGGING OF NEW TECHNOLOGICAL DEVELOPMENTS; GENERAL TAGGING OF CROSS-SECTIONAL TECHNOLOGIES SPANNING OVER SEVERAL SECTIONS OF THE IPC; TECHNICAL SUBJECTS COVERED BY FORMER USPC CROSS-REFERENCE ART COLLECTIONS [XRACs] AND DIGESTS
- Y02—TECHNOLOGIES OR APPLICATIONS FOR MITIGATION OR ADAPTATION AGAINST CLIMATE CHANGE
- Y02P—CLIMATE CHANGE MITIGATION TECHNOLOGIES IN THE PRODUCTION OR PROCESSING OF GOODS
- Y02P70/00—Climate change mitigation technologies in the production process for final industrial or consumer products
- Y02P70/50—Manufacturing or production processes characterised by the final manufactured product
Landscapes
- Battery Mounting, Suspending (AREA)
Abstract
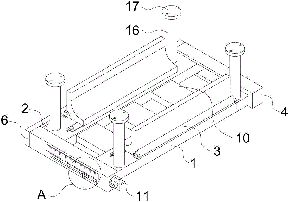
本实用新型公开了动力锂电池化成夹具机构,包括第一底板和第二底板,所述第一底板和第二底板的顶部均固定连接有压板本体,所述第二底板的两侧均固定连接有调节框架。本实用新型通过设置第一底板、第二底板、压板本体、调节框架和螺纹杆,当两个螺纹杆均旋转时,可以带动第一底板沿着螺纹杆的表面进行位移,从而对第一底板和第二底板之间的距离进行调节作业,使装置可以根据待检测电池的型号大小对装置进行调节作业,解决了在使用的过程中,由于缺少专用的调节装置,导致夹具机构不能很好的适应不同型号大小的电池,针对不同型号需要使用专用的夹具进行作业,导致夹具机构使用范围受限。
The utility model discloses a power lithium battery forming fixture mechanism, which comprises a first bottom plate and a second bottom plate, the tops of the first bottom plate and the second bottom plate are fixedly connected with a pressure plate body, and both sides of the second bottom plate are fixedly connected With adjustment frame. The utility model sets the first bottom plate, the second bottom plate, the pressure plate body, the adjustment frame and the threaded rod. When the two threaded rods are both rotated, the first bottom plate can be driven to move along the surface of the threaded rod, thereby adjusting the first bottom plate. The distance between the second bottom plate and the second bottom plate is adjusted, so that the device can be adjusted according to the model size of the battery to be tested, which solves the problem that the fixture mechanism cannot be well adjusted due to the lack of a special adjustment device during use. To adapt to batteries of different models and sizes, special fixtures are required for different models, which limits the scope of use of the fixture mechanism.
Description
技术领域technical field
本实用新型涉及锂电池技术领域,具体为动力锂电池化成夹具机构。The utility model relates to the technical field of lithium batteries, in particular to a power lithium battery forming fixture mechanism.
背景技术Background technique
锂电池是一类由锂金属或锂合金为正/负极材料、使用非水电解质溶液的电池,由于锂金属的化学特性非常活泼,使得锂金属的加工、保存、使用,对环境要求非常高,随着科学技术的发展,锂电池已经成为了主流,夹具机构一般包括正负极的压板,用以对动力锂电池的正、负极进行连接,以此进行测试等作业。Lithium battery is a type of battery that uses lithium metal or lithium alloy as the positive/negative electrode material and uses a non-aqueous electrolyte solution. Due to the very active chemical properties of lithium metal, the processing, storage, and use of lithium metal have very high environmental requirements. With the development of science and technology, lithium batteries have become the mainstream. The fixture mechanism generally includes positive and negative platen, which is used to connect the positive and negative electrodes of the power lithium battery for testing and other operations.
目前的夹具机构可以很好对锂电池进行连接测试,但是在使用的过程中,由于缺少专用的调节装置,导致夹具机构不能很好的适应不同型号大小的电池,针对不同型号需要使用专用的夹具进行作业,导致夹具机构的使用效率下降。The current fixture mechanism can perform connection tests on lithium batteries very well, but in the process of use, due to the lack of special adjustment devices, the fixture mechanism cannot be well adapted to different types of batteries, and special fixtures need to be used for different models Doing work, resulting in a decrease in the efficiency of the clamp mechanism.
实用新型内容Utility model content
本实用新型的目的在于提供动力锂电池化成夹具机构,具备便于调节的优点,解决了在使用的过程中,由于缺少专用的调节装置,导致夹具机构不能很好的适应不同型号大小的电池,针对不同型号需要使用专用的夹具进行作业,导致夹具机构使用范围受限。The purpose of this utility model is to provide a power lithium battery into a fixture mechanism, which has the advantage of being easy to adjust, and solves the problem that the fixture mechanism cannot be well adapted to batteries of different sizes due to the lack of a special adjustment device during use. Different models require the use of special fixtures for operations, which limits the scope of use of the fixture mechanism.
为实现上述目的,本实用新型提供如下技术方案:动力锂电池化成夹具机构,包括第一底板和第二底板,所述第一底板和第二底板的顶部均固定连接有压板本体,所述第二底板的两侧均固定连接有调节框架,所述调节框架的内腔活动连接有螺纹杆,所述第二底板的两侧分别延伸至调节框架的内腔并套设于螺纹杆的表面,所述第二底板与螺纹杆的表面活动连接,且与调节框架的内壁固定连接,两个所述调节框架相对的一侧均开设有活动槽,所述第一底板的两侧均贯穿活动槽并套设于螺纹杆的表面,且与螺纹杆的表面螺纹连接。In order to achieve the above purpose, the utility model provides the following technical solutions: power lithium battery formation fixture mechanism, including a first bottom plate and a second bottom plate, the tops of the first bottom plate and the second bottom plate are fixedly connected with a pressure plate body, the first bottom plate Both sides of the second bottom plate are fixedly connected with an adjustment frame, the inner cavity of the adjustment frame is movably connected with a threaded rod, and the two sides of the second bottom plate respectively extend to the inner cavity of the adjustment frame and are sleeved on the surface of the threaded rod, The second bottom plate is movably connected with the surface of the threaded rod, and is fixedly connected with the inner wall of the adjustment frame, and the opposite sides of the two adjustment frames are provided with movable grooves, and both sides of the first bottom plate run through the movable grooves It is sheathed on the surface of the threaded rod and threadedly connected with the surface of the threaded rod.
优选的,所述调节框架的背面连通有传动框架,左端所述螺纹杆的后端延伸至传动框架的内腔并固定连接有主动轮,右端所述螺纹杆的后端延伸至传动框架的内腔并固定连接有从动轮,所述主动轮和从动轮的表面均传动连接有皮带。Preferably, the back of the adjustment frame is connected to the transmission frame, the rear end of the threaded rod on the left end extends to the inner cavity of the transmission frame and is fixedly connected with the driving wheel, and the rear end of the threaded rod on the right end extends to the inside of the transmission frame The cavity is fixedly connected with a driven wheel, and the surfaces of the driving wheel and the driven wheel are both driven and connected with a belt.
优选的,所述第一底板的背面固定连接有限位板,所述限位板远离第一底板的一端贯穿至第二底板的内腔并与第二底板的内壁活动连接。Preferably, the back of the first bottom plate is fixedly connected with a limiting plate, and the end of the limiting plate away from the first bottom plate penetrates into the inner cavity of the second bottom plate and is movably connected with the inner wall of the second bottom plate.
优选的,左端所述螺纹杆的前端活动贯穿至调节框架的外部,且与调节框架的内壁活动连接,左端所述螺纹杆的前端固定连接有十字块。Preferably, the front end of the threaded rod at the left end movably penetrates to the outside of the adjustment frame and is movably connected with the inner wall of the adjustment frame, and the front end of the threaded rod at the left end is fixedly connected with a cross block.
优选的,左端所述调节框架左侧的下端开设有滑动槽,左侧所述调节框架左侧的上端固定连接有标尺板。Preferably, the lower end of the adjustment frame on the left end is provided with a sliding groove, and the upper end of the adjustment frame on the left side is fixedly connected with a scale plate.
优选的,所述第一底板左侧的下端固定连接有滑块,所述滑块的一端贯穿滑动槽并延伸至滑动槽的外部,所述滑块的顶部固定连接有指针。Preferably, a slider is fixedly connected to the lower end of the left side of the first bottom plate, one end of the slider passes through the sliding groove and extends to the outside of the sliding groove, and a pointer is fixedly connected to the top of the slider.
优选的,所述第一底板和第二底板顶部的两侧均固定连接有支撑柱,所述支撑柱的顶部固定连接有连接板。Preferably, both sides of the tops of the first bottom plate and the second bottom plate are fixedly connected with supporting columns, and the tops of the supporting columns are fixedly connected with connecting plates.
与现有技术相比,本实用新型的有益效果如下:Compared with the prior art, the beneficial effects of the utility model are as follows:
本实用新型通过设置第一底板、第二底板、压板本体、调节框架和螺纹杆,当两个螺纹杆均旋转时,可以带动第一底板沿着螺纹杆的表面进行位移,从而对第一底板和第二底板之间的距离进行调节作业,使装置可以根据待检测电池的型号大小对装置进行调节作业,避免了针对不同型号的电池重新制作新的测试设备,增加了装置的使用效率,解决了在使用的过程中,由于缺少专用的调节装置,导致夹具机构不能很好的适应不同型号大小的电池,针对不同型号需要使用专用的夹具进行作业,导致夹具机构使用范围受限。The utility model sets the first bottom plate, the second bottom plate, the pressure plate body, the adjustment frame and the threaded rod. When the two threaded rods are both rotated, the first bottom plate can be driven to move along the surface of the threaded rod, thereby adjusting the first bottom plate. The distance between the second bottom plate and the second bottom plate is adjusted, so that the device can be adjusted according to the model size of the battery to be tested, which avoids re-making new test equipment for different types of batteries, increases the use efficiency of the device, and solves the problem of In the process of use, due to the lack of a special adjustment device, the clamp mechanism cannot be well adapted to different types of batteries, and special clamps are required for different models, resulting in a limited range of use of the clamp mechanism.
附图说明Description of drawings
图1为本实用新型结构示意图;Fig. 1 is the structural representation of the utility model;
图2为本实用新型图1中A处的局部放大结构示意图;Fig. 2 is a schematic diagram of a partial enlarged structure at A in Fig. 1 of the utility model;
图3为本实用新型螺纹杆的立体结构示意图;Fig. 3 is the three-dimensional structure schematic diagram of threaded rod of the present utility model;
图4为本实用新型主动轮的立体结构示意图。Fig. 4 is a three-dimensional structural schematic diagram of the driving wheel of the present invention.
图中:1、第一底板;2、第二底板;3、压板本体;4、调节框架;5、螺纹杆;6、传动框架;7、主动轮;8、从动轮;9、皮带;10、限位板;11、十字块;12、滑动槽;13、标尺板;14、滑块;15、指针;16、支撑柱;17、连接板。In the figure: 1, the first bottom plate; 2, the second bottom plate; 3, the pressure plate body; 4, the adjustment frame; 5, the threaded rod; 6, the transmission frame; 7, the driving wheel; 8, the driven wheel; 9, the belt; 10 1. Limiting plate; 11. Cross block; 12. Sliding groove; 13. Scale plate; 14. Slider; 15. Pointer; 16. Support column; 17. Connecting plate.
具体实施方式detailed description
下面将结合本实用新型实施例中的附图,对本实用新型实施例中的技术方案进行清楚、完整地描述,显然,所描述的实施例仅仅是本实用新型一部分实施例,而不是全部的实施例。基于本实用新型中的实施例,本领域普通技术人员在没有做出创造性劳动前提下所获得的所有其他实施例,都属于本实用新型保护的范围。The technical solutions in the embodiments of the present invention will be clearly and completely described below in conjunction with the accompanying drawings in the embodiments of the present invention. Obviously, the described embodiments are only part of the embodiments of the present invention, not all of them. example. Based on the embodiments of the present utility model, all other embodiments obtained by persons of ordinary skill in the art without making creative efforts belong to the scope of protection of the present utility model.
本实用新型的第一底板1、第二底板2、压板本体3、调节框架4、螺纹杆5、传动框架6、主动轮7、从动轮8、皮带9、限位板10、十字块11、滑动槽12、标尺板13、滑块14、指针15、支撑柱16和连接板17部件均为通用标准件或本领域技术人员知晓的部件,其结构和原理都为本技术人员均可通过技术手册得知或通过常规实验方法获知。The
请参阅图1-4,动力锂电池化成夹具机构,包括第一底板1和第二底板2,第一底板1和第二底板2的顶部均固定连接有压板本体3,第二底板2的两侧均固定连接有调节框架4,调节框架4的内腔活动连接有螺纹杆5,第二底板2的两侧分别延伸至调节框架4的内腔并套设于螺纹杆5的表面,第二底板2与螺纹杆5的表面活动连接,且与调节框架4的内壁固定连接,两个调节框架4相对的一侧均开设有活动槽,第一底板1的两侧均贯穿活动槽并套设于螺纹杆5的表面,且与螺纹杆5的表面螺纹连接,通过设置第一底板1、第二底板2、压板本体3、调节框架4和螺纹杆5,当两个螺纹杆5均旋转时,可以带动第一底板1沿着螺纹杆5的表面进行位移,从而对第一底板1和第二底板2之间的距离进行调节作业,使装置可以根据待检测电池的型号大小对装置进行调节作业,避免了针对不同型号的电池重新制作新的测试设备,增加了装置的使用效率,解决了在使用的过程中,由于缺少专用的调节装置,导致夹具机构不能很好的适应不同型号大小的电池,针对不同型号需要使用专用的夹具进行作业,导致夹具机构使用范围受限。Please refer to Figure 1-4, the power lithium battery forming fixture mechanism includes a
具体的,调节框架4的背面连通有传动框架6,左端螺纹杆5的后端延伸至传动框架6的内腔并固定连接有主动轮7,右端螺纹杆5的后端延伸至传动框架6的内腔并固定连接有从动轮8,主动轮7和从动轮8的表面均传动连接有皮带9,通过设置传动框架6、主动轮7、从动轮8和皮带9,当左侧的螺纹杆5旋转时,可以配合皮带9带动从动轮8旋转,以此带动右侧的螺纹杆5旋转。Specifically, the back side of the
具体的,第一底板1的背面固定连接有限位板10,限位板10远离第一底板1的一端贯穿至第二底板2的内腔并与第二底板2的内壁活动连接,通过设置限位板10,可以对第一底板1和第二底板2之间的位移进行限位作业。Specifically, the back side of the
具体的,左端螺纹杆5的前端活动贯穿至调节框架4的外部,且与调节框架4的内壁活动连接,左端螺纹杆5的前端固定连接有十字块11,通过设置十字块11,便于使用者带动左侧螺纹杆5进行旋转。Specifically, the front end of the left-end threaded
具体的,左端调节框架4左侧的下端开设有滑动槽12,左侧调节框架4左侧的上端固定连接有标尺板13,通过设置滑动槽12和标尺板13,标尺板13便于工作人员对第一底板1移动的距离进行查看。Specifically, the lower end on the left side of the left
具体的,第一底板1左侧的下端固定连接有滑块14,滑块14的一端贯穿滑动槽12并延伸至滑动槽12的外部,滑块14的顶部固定连接有指针15,通过设置滑块14和指针15,当第一底板1位移时带动指针15和滑块14位移,配合标尺板13便于工作人员查看第一底板1位移的距离。Specifically, the lower end on the left side of the
具体的,第一底板1和第二底板2顶部的两侧均固定连接有支撑柱16,支撑柱16的顶部固定连接有连接板17,通过设置支撑柱16和连接板17,便于多个装置的堆叠,当需要堆叠装置时,使用螺栓配合连接板17与其他装置进行螺纹连接,增加了装置堆叠时的连接稳定性。Specifically, both sides of the top of the
使用时,首先当需要调节装置的宽度时,旋转十字块11,十字块11带动左端螺纹杆5在调节框架4的内腔旋转,从而带动主动轮7旋转,主动轮7配合皮带9带动从动轮8旋转,从动轮8带动右侧螺纹杆5旋转,两个螺纹杆5的旋转带动第一底板1的两侧均沿着螺纹杆5的表面进行位移,同时推动限位板10在第二底板2的内腔位移,在第一底板1位移的过程中,带动滑块14和指针15沿着滑动槽12的内腔进行位移,配合标尺板13便于使用者对第一底板1位移的距离进行查看,使装置可以根据待检测电池的型号大小对装置进行调节作业,避免了针对不同型号的电池重新制作新的测试设备,增加了装置的使用效率,解决了在使用的过程中,由于缺少专用的调节装置,导致夹具机构不能很好的适应不同型号大小的电池,针对不同型号需要使用专用的夹具进行作业,导致夹具机构使用范围受限。When in use, first, when the width of the device needs to be adjusted, rotate the
本申请文件中使用到的标准零件均可以从市场上购买,而且根据说明书和附图的记载均可以进行订制,各个零件的具体连接方式均采用现有技术中成熟的螺栓、铆钉、焊接等常规手段,机械、零件和设备均采用现有技术中常规的型号,控制方式是通过控制器来自动控制,控制器的控制电路通过本领域的技术人员简单编程即可实现,属于本领域的公知常识,并且本申请文主要用来保护机械装置,所以本申请文不再详细解释控制方式和电路连接。The standard parts used in this application document can be purchased from the market, and can be customized according to the instructions and drawings. The specific connection methods of each part adopt mature bolts, rivets, welding, etc. in the prior art. Conventional means, machinery, parts and equipment all adopt conventional models in the prior art, and the control mode is automatically controlled by a controller. The control circuit of the controller can be realized by simple programming by those skilled in the art, and belongs to the well-known knowledge in the art. Common sense, and this application is mainly used to protect mechanical devices, so this application will not explain the control method and circuit connection in detail.
需要说明的是,在本文中,诸如第一和第二等之类的关系术语仅仅用来将一个实体或者操作与另一个实体或操作区分开来,而不一定要求或者暗示这些实体或操作之间存在任何这种实际的关系或者顺序。而且,术语“包括”、“包含”或者其任何其他变体意在涵盖非排他性的包含,从而使得包括一系列要素的过程、方法、物品或者设备不仅包括那些要素,而且还包括没有明确列出的其他要素,或者是还包括为这种过程、方法、物品或者设备所固有的要素。在没有更多限制的情况下,由语句“包括一个……”限定的要素,并不排除在包括所述要素的过程、方法、物品或者设备中还存在另外的相同要素。It should be noted that in this article, relational terms such as first and second are only used to distinguish one entity or operation from another entity or operation, and do not necessarily require or imply that there is a relationship between these entities or operations. any such actual relationship or order exists between them. Furthermore, the term "comprises", "comprises" or any other variation thereof is intended to cover a non-exclusive inclusion such that a process, method, article, or apparatus comprising a set of elements includes not only those elements, but also includes elements not expressly listed. other elements of or also include elements inherent in such a process, method, article, or device. Without further limitations, an element defined by the phrase "comprising a ..." does not exclude the presence of additional identical elements in the process, method, article or apparatus comprising said element.
尽管已经示出和描述了本实用新型的实施例,对于本领域的普通技术人员而言,可以理解在不脱离本实用新型的原理和精神的情况下可以对这些实施例进行多种变化、修改、替换和变型,本实用新型的范围由所附权利要求及其等同物限定。Although the embodiments of the present invention have been shown and described, those skilled in the art can understand that various changes and modifications can be made to these embodiments without departing from the principle and spirit of the present invention , replacements and modifications, the scope of the present utility model is defined by the appended claims and their equivalents.
Claims (7)
Priority Applications (1)
| Application Number | Priority Date | Filing Date | Title |
|---|---|---|---|
| CN202221992825.2U CN218039405U (en) | 2022-07-29 | 2022-07-29 | Power lithium cellization becomes anchor clamps mechanism |
Applications Claiming Priority (1)
| Application Number | Priority Date | Filing Date | Title |
|---|---|---|---|
| CN202221992825.2U CN218039405U (en) | 2022-07-29 | 2022-07-29 | Power lithium cellization becomes anchor clamps mechanism |
Publications (1)
| Publication Number | Publication Date |
|---|---|
| CN218039405U true CN218039405U (en) | 2022-12-13 |
Family
ID=84341756
Family Applications (1)
| Application Number | Title | Priority Date | Filing Date |
|---|---|---|---|
| CN202221992825.2U Active CN218039405U (en) | 2022-07-29 | 2022-07-29 | Power lithium cellization becomes anchor clamps mechanism |
Country Status (1)
| Country | Link |
|---|---|
| CN (1) | CN218039405U (en) |
Cited By (1)
| Publication number | Priority date | Publication date | Assignee | Title |
|---|---|---|---|---|
| CN116035812A (en) * | 2023-01-14 | 2023-05-02 | 中国人民解放军陆军军医大学第二附属医院 | A patient transfer device for trains |
-
2022
- 2022-07-29 CN CN202221992825.2U patent/CN218039405U/en active Active
Cited By (1)
| Publication number | Priority date | Publication date | Assignee | Title |
|---|---|---|---|---|
| CN116035812A (en) * | 2023-01-14 | 2023-05-02 | 中国人民解放军陆军军医大学第二附属医院 | A patient transfer device for trains |
Similar Documents
| Publication | Publication Date | Title |
|---|---|---|
| CN218039405U (en) | Power lithium cellization becomes anchor clamps mechanism | |
| CN112229858B (en) | A quality inspection device and quality inspection method for a quality inspection line for lithium battery production | |
| CN115032510A (en) | Battery cell insulation testing device of lithium ion battery and testing method thereof | |
| CN208672455U (en) | A kind of lithium ion battery pinch detection device | |
| CN216284649U (en) | A battery extrusion test equipment and test system | |
| CN211103583U (en) | Clamping device for lithium battery machining | |
| CN211182262U (en) | Fixed effectual lithium cell closing device | |
| CN212169934U (en) | Special-shaped plate polishing device with precision detection function | |
| CN210723246U (en) | Adjustable lithium ion module assembly device | |
| CN211997734U (en) | A cell grabbing device for new energy batteries | |
| CN218181048U (en) | Power lithium battery tester | |
| CN221925983U (en) | A lithium battery puncture test device | |
| CN212146045U (en) | A kind of lithium battery production energy-saving and consumption-reducing device | |
| CN209902339U (en) | Lithium battery processing pole piece slicing mechanism | |
| CN219574163U (en) | Frock clamp for lithium battery test | |
| CN221910423U (en) | Lithium battery welding equipment | |
| CN218041477U (en) | Double-station laser detection equipment for mobile phone shell | |
| CN221732523U (en) | Lithium iron phosphate electrolyte sealing storage device | |
| CN217214819U (en) | A clamping device for battery manufacturing | |
| CN220796831U (en) | Pressing device for battery production and processing | |
| CN212110632U (en) | A sampling device for diaphragm material detection | |
| CN220306319U (en) | Explosion-proof high temperature cabinet for power module preparation | |
| CN219573476U (en) | Intelligent knocking test platform for lithium battery of emergency power station | |
| CN216229024U (en) | Electrode plate clamping device for lithium ion battery production | |
| CN219179445U (en) | A battery short circuit test device |
Legal Events
| Date | Code | Title | Description |
|---|---|---|---|
| GR01 | Patent grant | ||
| GR01 | Patent grant | ||
| TR01 | Transfer of patent right | ||
| TR01 | Transfer of patent right |
Effective date of registration: 20250115 Address after: Room 701, Building 1, No. 2, Shuishi Road Street, Jiujiang, Changping Town, Dongguan City, Guangdong Province, 523000 Patentee after: Baolixin (Dongguan) System Integration Co.,Ltd. Country or region after: China Address before: No. 558, Chunhui Road, Huishan Economic Development Zone, Wuxi City, Jiangsu Province, 214174 Patentee before: Baolixin (Wuxi) Power System Co.,Ltd. Country or region before: China |
