CN217998633U - Aluminum wood-replacing aluminum veneer for antique building - Google Patents
Aluminum wood-replacing aluminum veneer for antique building Download PDFInfo
- Publication number
- CN217998633U CN217998633U CN202221723976.8U CN202221723976U CN217998633U CN 217998633 U CN217998633 U CN 217998633U CN 202221723976 U CN202221723976 U CN 202221723976U CN 217998633 U CN217998633 U CN 217998633U
- Authority
- CN
- China
- Prior art keywords
- panel
- aluminum
- cardboard
- hasp
- wood
- Prior art date
- Legal status (The legal status is an assumption and is not a legal conclusion. Google has not performed a legal analysis and makes no representation as to the accuracy of the status listed.)
- Expired - Fee Related
Links
- XAGFODPZIPBFFR-UHFFFAOYSA-N aluminium Chemical compound [Al] XAGFODPZIPBFFR-UHFFFAOYSA-N 0.000 title claims abstract description 46
- 229910052782 aluminium Inorganic materials 0.000 title claims abstract description 46
- 239000004411 aluminium Substances 0.000 claims abstract description 30
- 239000011111 cardboard Substances 0.000 claims description 27
- 239000002983 wood substitute Substances 0.000 claims 1
- 238000009434 installation Methods 0.000 abstract description 7
- 238000010276 construction Methods 0.000 abstract description 4
- 239000002023 wood Substances 0.000 description 4
- 238000010586 diagram Methods 0.000 description 2
- 230000009286 beneficial effect Effects 0.000 description 1
- 230000007797 corrosion Effects 0.000 description 1
- 238000005260 corrosion Methods 0.000 description 1
- 238000005034 decoration Methods 0.000 description 1
- 230000007547 defect Effects 0.000 description 1
- 239000007787 solid Substances 0.000 description 1
Images
Landscapes
- Forms Removed On Construction Sites Or Auxiliary Members Thereof (AREA)
Abstract
An aluminum-wood-replaced aluminum veneer for an antique building effectively solves the problem that the installation speed of the aluminum-wood-replaced aluminum veneer is low; the panel is of a rectangular structure, a first hasp and a second hasp extend out of the outer sides of two long sides of the panel respectively, a plurality of clamping plates extend out of the outer sides of two short sides of the panel, the end parts of the clamping plates are wedge-shaped, a fixing box is arranged at the back of the panel, a first spring connected with the clamping plates is arranged in the fixing box, the first spring pushes the clamping plates outwards, a fixing rod penetrates through the clamping plates, and the inner ends of the fixing rods penetrate through the fixing box; the utility model discloses simple structure is ingenious, and the installation of being convenient for, completion aluminium that can be quick replaces the fixed mounting of wooden aluminium veneer, improves the efficiency of construction.
Description
Technical Field
The utility model relates to an aluminium veneer technical field especially relates to a building aluminium generation of ancients wood aluminium veneer.
Background
In the construction of antique buildings, in order to pursue more exquisite shapes and prolong the service life, aluminum products are adopted to replace original solid wood products, so that the stability is better and the deformation is not easy to occur; and corrosion resistance, and the appearance can be kept beautiful after long-time use, so that aluminum is a trend to replace wood.
In the prior art, when the aluminum-wood-replaced aluminum veneer is used for roof decoration, an additional fixing device is needed to fix the aluminum veneer, and even though the simplest screw is used for fixing, a long time is needed to complete the fixing of the aluminum veneer.
SUMMERY OF THE UTILITY MODEL
For overcoming prior art's defect, the utility model provides a building aluminium generation of antique replaces wooden aluminium veneer, the effectual slow problem of aluminium generation of wooden aluminium veneer installation rate of having solved.
The technical scheme for solving the technical problem is as follows: the utility model provides a archaize building aluminium wood aluminium veneer of replacing, which comprises a pane, the panel is rectangle structure, two long limit outsides of panel stretch out respectively and have first hasp and second hasp, two minor face outsides of panel stretch out and have a plurality of cardboards, the cardboard tip is the wedge, the panel back is equipped with the fixed case, be equipped with the first spring of being connected with the cardboard in the fixed case, first spring outwards promotes the cardboard, the inside dead lever of wearing to be equipped with of cardboard, the inner of dead lever passes the fixed case.
Preferably, the first snap fastener can be matched with a second snap fastener on an adjacent panel to complete the fixation.
Preferably, the first springs are provided with two springs which are respectively positioned at two sides of the fixing rod.
Preferably, the cardboard in be equipped with the through-hole, the dead lever is worn to establish in the through-hole, is equipped with the limiting plate on the dead lever, the dead lever outer end is equipped with the baffle, has cup jointed the second spring on the dead lever, the second spring both ends support fixed case outer wall and baffle respectively, the baffle outside is equipped with the action bars.
Preferably, the fixed box in be provided with the fixed plate, seted up the hole of stepping down on the fixed plate, the fixed plate outside is equipped with the counter bore, is equipped with the stopper on the limiting plate.
The utility model discloses simple structure is ingenious, and the installation of being convenient for, completion aluminium that can be quick replaces the fixed mounting of wooden aluminium veneer, improves the efficiency of construction.
Drawings
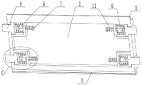
Fig. 1 is a schematic structural diagram of the present invention.
Fig. 2 is a schematic sectional view of the top direction of the present invention.
Fig. 3 is a schematic cross-sectional view of the present invention.
Fig. 4 is an enlarged schematic view of a portion a of fig. 1 according to the present invention.
Fig. 5 is an enlarged schematic structural view of the point B in fig. 1 according to the present invention.
Fig. 6 is an enlarged schematic view of the structure of fig. 2 at C.
Fig. 7 is an enlarged schematic view of the structure at D in fig. 3 according to the present invention.
Fig. 8 is a schematic diagram of the state of the present invention after installation.
Detailed Description
The following describes the embodiments of the present invention in further detail with reference to the accompanying drawings.
Can know by fig. 1 to 8, a timber aluminium veneer is substituted for in archaize building aluminium, which comprises a panel 1, panel 1 is the rectangle structure, 1 two long limit outsides of panel stretch out respectively and have first hasp 2 and second hasp 3, it is fixed that second hasp 3 on 2 and the adjacent panel 1 of first hasp can cooperate the completion, 1 two minor face outsides of panel stretch out have a plurality of cardboards 4, 4 tip of cardboard is the wedge, 1 back of panel is equipped with fixing box 5, be equipped with the first spring 6 of being connected with cardboard 4 in the fixing box 5, first spring 6 outwards promotes cardboard 4, cardboard 4 is inside wears to be equipped with dead lever 7, the inner of dead lever 7 passes fixing box 5.
When the utility model is used in a concrete way,
with 1 long limit both ends of panel take on room roof beam 17, room roof beam 17 is the I shape structure, panel 1 inserts inside the I shape structure, makes its vertical direction spacing, first hasp 2 and the mutual lock joint of second hasp 3 on the adjacent aluminium veneer for adjacent aluminium veneer interconnect is a whole, and dead lever 7 stretches out 4 tip of cardboard and can be fixed with the horizontal position of aluminium veneer after fixed with room roof beam 17, makes the aluminium veneer by fixed completely.
Be equipped with a plurality of fixed orificess on the roof beam 17, the dead lever 7 tip can insert the fixed orifices and make aluminium veneer horizontal direction fixed, and only need with one of them aluminium veneer fix can, a plurality of aluminium veneers because first hasp 2 and second hasp 3's mutual lock joint, fixed one of them just can be fixed it is whole, improve the installation rate.
4 tip of cardboard is the wedge, cardboard 4 is pressed down from the top, cardboard 4 can be inside the panel 1 of acquireing, when fixed position corresponds on cardboard 4 and room roof beam 17, first spring 6 pushes out the outside with cardboard 4, make the vertical direction of aluminium veneer fixed, when fixing the aluminium veneer on room roof beam 17, it is corresponding with second hasp 3 on 1 adjacent panel of the first hasp 2 at 1 edge of panel, thereby cardboard 4 and room roof beam 17 are fixed back first hasp 2 and second hasp 3 can the fixed connection of mutual lock joint realization adjacent aluminium veneer.
Inside first spring 6 of cardboard 4 is equipped with two and is located dead lever 7 both sides respectively, and dead lever 7 passes from between two first springs 6, guarantees cardboard 4 atress balanced, can stretch out panel 1 outside smoothly and accomplish the location with roof beam 17.
For realizing the fixed to aluminium veneer horizontal direction, be equipped with through-hole 8 in the cardboard 4, dead lever 7 is worn to establish in through-hole 8, be equipped with limiting plate 9 on the dead lever 7, 7 outer ends of dead lever are equipped with baffle 10, second spring 11 has been cup jointed on the dead lever 7, 11 both ends of second spring support fixed case 5 outer walls and baffle 10 respectively, the baffle 10 outside is equipped with action bars 12, be provided with fixed plate 13 in the fixed case 5, set up the hole of stepping down 14 on the fixed plate 13, the fixed plate 13 outside is equipped with counter bore 15, be equipped with stopper 16 on the limiting plate 9.
The movement of the fixed rod 7 can be controlled through the operating rod 12, under the non-stressed condition, the second spring 11 pushes the baffle plate 10 to enable the fixed rod 7 to move towards the inner direction of the panel 1, the outer end of the fixed rod 7 is hidden inside the clamping plate 4, when the position of the panel 1 needs to be fixed, the fixed rod 7 is pushed outwards, the limiting block 16 on the limiting plate 9 penetrates through the fixed plate 13 from the yielding hole 14, then the fixed rod 7 is rotated, the limiting block 16 and the yielding hole 14 are not located at the same position, when the second spring 11 pushes the fixed rod 7 to move inwards, the limiting block 16 can enter the counter bore 15, the outer end of the fixed rod 7 can enter the fixed hole in the house beam 17, and therefore the aluminum veneer cannot move horizontally.
The lower surface of the panel 1 is printed with corresponding patterns to match the construction style of the antique building.
Compared with the prior art, the utility model, following beneficial effect has: the fixing structure is arranged, and the fixing can be quickly finished without screws; because do not need to use the screw to fix, do not need supplementary fixed panel when aluminium is substituted for wooden aluminium veneer and is installed, single can accomplish fixed mounting, very big improvement the installation effectiveness.
Claims (5)
1. The utility model provides a timber aluminium veneer is replaced to archaize building aluminium, a serial communication port, including panel (1), panel (1) is the rectangle structure, panel (1) two long limit outsides stretch out respectively and have first hasp (2) and second hasp (3), panel (1) two minor face outsides stretch out and have a plurality of cardboard (4), cardboard (4) tip is the wedge, panel (1) back is equipped with fixed case (5), be equipped with first spring (6) of being connected with cardboard (4) in fixed case (5), first spring (6) outwards promote cardboard (4), dead lever (7) are worn to be equipped with to cardboard (4) inside, the inner of dead lever (7) passes fixed case (5).
2. The aluminum-wood-substitute aluminum veneer for the archaized building according to claim 1, characterized in that the first hasp (2) and the second hasp (3) on the adjacent panel (1) can be matched to complete the fixation.
3. The aluminum-wood-replaced aluminum veneer for the antique building according to claim 1, wherein two first springs (6) are arranged and are respectively positioned on two sides of the fixing rod (7).
4. The aluminum-wood-replacing aluminum veneer for the antique building according to claim 1, wherein a through hole (8) is formed in the cardboard (4), the fixing rod (7) penetrates through the through hole (8), a limiting plate (9) is arranged on the fixing rod (7), a baffle (10) is arranged at the outer end of the fixing rod (7), a second spring (11) is sleeved on the fixing rod (7), two ends of the second spring (11) respectively abut against the outer wall of the fixing box (5) and the baffle (10), and an operating rod (12) is arranged outside the baffle (10).
5. The aluminum-wood-replaced aluminum veneer for the antique building according to claim 1, characterized in that a fixing plate (13) is arranged in the fixing box (5), a abdicating hole (14) is formed in the fixing plate (13), a counter bore (15) is formed in the outer side of the fixing plate (13), and a limiting block (16) is arranged on the limiting plate (9).
Priority Applications (1)
| Application Number | Priority Date | Filing Date | Title |
|---|---|---|---|
| CN202221723976.8U CN217998633U (en) | 2022-07-06 | 2022-07-06 | Aluminum wood-replacing aluminum veneer for antique building |
Applications Claiming Priority (1)
| Application Number | Priority Date | Filing Date | Title |
|---|---|---|---|
| CN202221723976.8U CN217998633U (en) | 2022-07-06 | 2022-07-06 | Aluminum wood-replacing aluminum veneer for antique building |
Publications (1)
| Publication Number | Publication Date |
|---|---|
| CN217998633U true CN217998633U (en) | 2022-12-09 |
Family
ID=84313139
Family Applications (1)
| Application Number | Title | Priority Date | Filing Date |
|---|---|---|---|
| CN202221723976.8U Expired - Fee Related CN217998633U (en) | 2022-07-06 | 2022-07-06 | Aluminum wood-replacing aluminum veneer for antique building |
Country Status (1)
| Country | Link |
|---|---|
| CN (1) | CN217998633U (en) |
-
2022
- 2022-07-06 CN CN202221723976.8U patent/CN217998633U/en not_active Expired - Fee Related
Similar Documents
| Publication | Publication Date | Title |
|---|---|---|
| CN205712903U (en) | A kind of indoor facing wall mounting decoration panel and decoration panel hanging device | |
| CN204590355U (en) | LED flood lighting and curtain wall integral system | |
| CN111851900A (en) | Quick locking device is used in assembly building fitment construction | |
| CN211312969U (en) | Indoor assembled sandwich wallboard | |
| CN217998633U (en) | Aluminum wood-replacing aluminum veneer for antique building | |
| CN204040360U (en) | Prefabricated Woodveneer structure | |
| CN216042374U (en) | Locking type wall panel suspension structure | |
| CN214995061U (en) | No crossbeam crack articulate aluminum plate curtain system | |
| CN206448406U (en) | A kind of connection component of curtain wall cross beam and column | |
| CN108994979B (en) | Plywood and cabinet manufactured by same | |
| CN210460334U (en) | Combined door base sleeve | |
| CN206448421U (en) | A hanging type open aluminum alloy panel curtain wall system | |
| CN104499605B (en) | Steel partition and partition door thereof | |
| CN217816596U (en) | Multifunctional expandable aluminum alloy lamp post | |
| CN210067186U (en) | Dome suspended ceiling system | |
| CN204139725U (en) | A kind of structure improved fence | |
| CN2161702Y (en) | Combined door | |
| CN217580927U (en) | Mounting structure of assembled wall of hanging | |
| CN218541084U (en) | Indoor partition wall | |
| CN113374198A (en) | Easily install shingle nail | |
| CN212584073U (en) | Hidden connecting piece of furniture | |
| CN210977068U (en) | Fixing mechanism for door and window installation | |
| CN115198990B (en) | Large-scale range upon range of curved surface formula wood veneer background wall design structure | |
| CN201683530U (en) | Embedded-hanging type glass panel | |
| CN222923987U (en) | Fixed connection structure for building curtain wall engineering |
Legal Events
| Date | Code | Title | Description |
|---|---|---|---|
| GR01 | Patent grant | ||
| GR01 | Patent grant | ||
| CF01 | Termination of patent right due to non-payment of annual fee |
Granted publication date: 20221209 |
|
| CF01 | Termination of patent right due to non-payment of annual fee |