CN217899461U - Safety monitoring device for solitary old people - Google Patents
Safety monitoring device for solitary old people Download PDFInfo
- Publication number
- CN217899461U CN217899461U CN202221238992.8U CN202221238992U CN217899461U CN 217899461 U CN217899461 U CN 217899461U CN 202221238992 U CN202221238992 U CN 202221238992U CN 217899461 U CN217899461 U CN 217899461U
- Authority
- CN
- China
- Prior art keywords
- safety monitoring
- motor
- camera
- monitoring device
- living alone
- Prior art date
- Legal status (The legal status is an assumption and is not a legal conclusion. Google has not performed a legal analysis and makes no representation as to the accuracy of the status listed.)
- Active
Links
- 238000012806 monitoring device Methods 0.000 title claims abstract description 14
- 238000012544 monitoring process Methods 0.000 claims abstract description 27
- 238000004804 winding Methods 0.000 claims abstract description 8
- 239000000428 dust Substances 0.000 claims description 11
- 238000004140 cleaning Methods 0.000 abstract description 5
- XEEYBQQBJWHFJM-UHFFFAOYSA-N Iron Chemical compound [Fe] XEEYBQQBJWHFJM-UHFFFAOYSA-N 0.000 abstract 2
- 229910052742 iron Inorganic materials 0.000 abstract 1
- 238000000034 method Methods 0.000 description 4
- 238000010586 diagram Methods 0.000 description 2
- 238000005516 engineering process Methods 0.000 description 2
- 230000009286 beneficial effect Effects 0.000 description 1
- 230000005540 biological transmission Effects 0.000 description 1
- 230000000903 blocking effect Effects 0.000 description 1
- 230000000694 effects Effects 0.000 description 1
- 230000003028 elevating effect Effects 0.000 description 1
- 230000014509 gene expression Effects 0.000 description 1
- 230000005484 gravity Effects 0.000 description 1
- 238000005286 illumination Methods 0.000 description 1
- 238000009434 installation Methods 0.000 description 1
- 239000013307 optical fiber Substances 0.000 description 1
- 230000002093 peripheral effect Effects 0.000 description 1
Images
Landscapes
- Emergency Alarm Devices (AREA)
Abstract
本实用新型提供了一种独居老人安全监护装置,属于安全监护设备的技术领域,包括升降式多角度安全监护机构,升降式多角度安全监护机构包括外壳体,以及外壳体外壁下侧的定电磁铁,外壳体内腔转动连接有支撑轴,支撑轴通过收卷套缠绕有绳索,且绳索下端连接有连接块和动电磁铁,动电磁铁下侧的凹槽内嵌入有第一电机,第一电机的输出端设置有U形连接件,U形连接件通过转轴转动连接有摄像头,通过本实用新型,实现了多方位的监护拍摄,减少死角存在的区域面积,从而更好的达到对独居老人的监护,降低潜在危险,并且可以定期将置于室内屋顶上的摄像头放下,进行清理,老人无需登高,十分的方便。
The utility model provides a safety monitoring device for the elderly living alone, which belongs to the technical field of safety monitoring equipment and comprises a lift-type multi-angle safety monitoring mechanism. The lift-type multi-angle safety monitoring mechanism includes an outer casing and a fixed electromagnetic Iron, the inner cavity of the shell is rotatably connected with a support shaft, the support shaft is wound with a rope through a winding sleeve, and the lower end of the rope is connected with a connecting block and a moving electromagnet, and a first motor is embedded in a groove on the lower side of the moving electromagnet. The output end of the motor is provided with a U-shaped connector, and the U-shaped connector is connected to the camera through the rotation of the rotating shaft. Through the utility model, multi-directional monitoring and shooting are realized, and the area where dead spots exist is reduced, so as to better achieve the goal of protecting the elderly living alone. It can reduce the potential danger, and the camera placed on the indoor roof can be put down regularly for cleaning. The elderly do not need to climb up, which is very convenient.
Description
技术领域technical field
本实用新型主要涉及安全监护设备的技术领域,具体为一种独居老人安全监护装置。The utility model mainly relates to the technical field of safety monitoring equipment, in particular to a safety monitoring device for the elderly living alone.
背景技术Background technique
安全监护设备是由摄像、传输、控制、显示、记录登记5大部分组成,摄像机通过同轴视频电缆、网线、光纤将视频图像传输到控制主机,控制主机再将视频信号分配到各监视器及录像设备,同时可将需要传输的语音信号同步录入到录像机内,利用特殊的录像处理模式,可对图像进行录入、回放、处理等操作,使录像效果达到最佳,对于安全监护设备还可用于独居老人,在意外降临时,可以及时收到消息,保障老人的生命安全。The safety monitoring equipment is composed of 5 parts: camera, transmission, control, display, and record registration. The camera transmits video images to the control host through coaxial video cables, network cables, and optical fibers, and the control host then distributes video signals to monitors and monitors. Video recording equipment, at the same time, the voice signal that needs to be transmitted can be synchronously recorded into the video recorder, and the special video processing mode can be used to record, playback, process and other operations on the image to achieve the best video effect. It can also be used for security monitoring equipment The elderly living alone can receive news in time when an accident strikes to ensure the safety of the elderly.
在如今现有的独居老人安全监护装置中,例如申请号为CN202122717503.9申请文案的技术结构中,包括安全监护摄像头本体,所述安全监护摄像头本体的下表面的一侧固定连接有L型杆,且L型杆的一端滑动连接有升降组件,所述安全监护摄像头本体的上表面固定连接有机电箱,且机电箱内安装有电机,且电机的输出端与转杆的下端固定连接,且转杆贯穿机电箱的上壁,且转杆与机电箱转动连接,且转杆外周面的上端固定连接有三个均匀分布的横杆,该装置虽然实现了对独居老人的监控,但是摄像头本身只能调节高度,不能多角度调节,拍摄的范围有限,会出现无法拍摄的死角,从而老人在死角区域出现问题的时候,不能够有效的监控,及时采取措施,并且没有灯光辅助,若在比较昏暗的室内,降低监控的清晰度。In today's existing safety monitoring devices for the elderly living alone, for example, the technical structure of the application number CN202122717503.9 application document includes a safety monitoring camera body, and one side of the lower surface of the safety monitoring camera body is fixedly connected with an L-shaped rod , and one end of the L-shaped rod is slidingly connected with a lifting assembly, the upper surface of the safety monitoring camera body is fixedly connected to the electromechanical box, and a motor is installed in the electromechanical box, and the output end of the motor is fixedly connected to the lower end of the rotating rod, and The rotating rod runs through the upper wall of the electromechanical box, and the rotating rod is connected to the electromechanical box in rotation, and the upper end of the outer peripheral surface of the rotating rod is fixedly connected with three evenly distributed horizontal bars. Although this device realizes the monitoring of the elderly living alone, the camera itself only The height can be adjusted, but it cannot be adjusted from multiple angles. The shooting range is limited, and there will be dead spots that cannot be photographed. Therefore, when there is a problem in the dead spot area, the elderly cannot effectively monitor and take timely measures, and there is no light assistance. Indoors, reduce the clarity of monitoring.
实用新型内容Utility model content
本实用新型主要提供了一种独居老人安全监护装置,用以解决上述背景技术中提出的技术问题。The utility model mainly provides a safety monitoring device for the elderly living alone, which is used to solve the technical problems raised in the above-mentioned background technology.
本实用新型解决上述技术问题采用的技术方案为:The technical solution adopted by the utility model to solve the problems of the technologies described above is:
一种独居老人安全监护装置,包括升降式多角度安全监护机构,所述升降式多角度安全监护机构包括外壳体,以及外壳体外壁下侧开口位置的环形卡槽,所述环形卡槽内设置有定电磁铁,且定电磁铁的圆心位置设置有连接孔,所述外壳体内腔转动连接有支撑轴,所述支撑轴上套接有收卷套,所述收卷套上缠绕有绳索,且绳索下端穿过连接孔连接有连接块,所述连接块下侧设置有动电磁铁,动电磁铁半径小于定电磁铁半径,所述动电磁铁下侧的凹槽内嵌入有第一电机,所述第一电机的输出端设置有U形连接件,所述U形连接件通过转轴转动连接有摄像头,U形连接件外壁一侧设置有第二电机,且第二电机的输出端与摄像头上的转轴一端相互连接。A safety monitoring device for the elderly living alone, including a lift-type multi-angle safety monitoring mechanism, the lift-type multi-angle safety monitoring mechanism includes an outer shell, and an annular slot at the opening position on the lower side of the outer wall of the outer shell. There is a fixed electromagnet, and the center of the fixed electromagnet is provided with a connecting hole, the inner cavity of the housing is rotatably connected to a support shaft, and a winding sleeve is sleeved on the support shaft, and a rope is wound on the winding sleeve. And the lower end of the rope passes through the connecting hole to connect with a connecting block, the lower side of the connecting block is provided with a moving electromagnet, the radius of the moving electromagnet is smaller than the radius of the fixed electromagnet, and the first motor is embedded in the groove on the lower side of the moving electromagnet , the output end of the first motor is provided with a U-shaped connector, and the U-shaped connector is connected to a camera through a rotating shaft, and a second motor is arranged on one side of the outer wall of the U-shaped connector, and the output end of the second motor is connected to the One end of the rotating shaft on the camera is connected with each other.
进一步的,所述摄像头的镜头位置设置有弧形挡尘板,且弧形挡尘板的侧缘与摄像头的壳体外壁相互连接。Further, the lens of the camera is provided with an arc-shaped dust shield, and the side edges of the arc-shaped dust shield are connected to the outer wall of the housing of the camera.
进一步的,所述摄像头的壳体外壁下缘设置有补光灯。Further, a supplementary light is provided on the lower edge of the outer wall of the housing of the camera.
进一步的,所述动电磁铁上侧圆心位置的连接块与定电磁铁的连接孔相互契合。Further, the connection block at the center of the upper side of the moving electromagnet fits with the connection hole of the fixed electromagnet.
进一步的,所述外壳体内腔上表面一侧设置有第三电机,所述第三电机的输出端设置有驱动齿轮,驱动齿轮啮合连接有从动齿轮,所述从动齿轮设置在支撑轴上。Further, a third motor is provided on one side of the upper surface of the inner cavity of the housing, the output end of the third motor is provided with a driving gear, and the driving gear is meshed with a driven gear, and the driven gear is arranged on the support shaft .
进一步的,所述外壳体外壁一侧设置有报警蜂鸣器,且报警蜂鸣器的壳体通过螺栓与外壳体相互连接。Further, an alarm buzzer is provided on one side of the outer wall of the housing, and the housing of the alarm buzzer is connected to the outer housing through bolts.
进一步的,所述外壳体外壁两侧的上缘位置分别设置有两个直角定位板。Further, two right-angle positioning plates are respectively provided at the upper edge positions on both sides of the outer wall of the housing.
与现有技术相比,本实用新型的有益效果为:Compared with the prior art, the beneficial effects of the utility model are:
本实用新型通过升降式多角度安全监护机构,实现了多方位的监护拍摄,减少死角存在的区域面积,从而更好的达到对独居老人的监护,降低潜在危险,并且可以定期将置于室内屋顶上的摄像头放下,进行清理,老人无需登高,十分的方便,具有一定的实用价值和市场前景,通过定电磁铁和动电磁铁之间的相互吸合,实现了将摄像头牢牢安装在室内屋顶上,避免意外掉落。The utility model realizes multi-directional monitoring and shooting through the lifting and multi-angle safety monitoring mechanism, reduces the area of dead angles, thereby better achieves the monitoring of the elderly living alone, reduces potential dangers, and can be placed on the indoor roof regularly It is very convenient for the elderly to put down the camera on the roof for cleaning, and it has certain practical value and market prospect. Through the mutual attraction between the fixed electromagnet and the moving electromagnet, the camera can be firmly installed on the indoor roof. to avoid accidental drops.
以下将结合附图与具体的实施例对本实用新型进行详细的解释说明。The utility model will be explained in detail below in conjunction with the accompanying drawings and specific embodiments.
附图说明Description of drawings
图1为本实用新型的整体结构示意图;Fig. 1 is the overall structural representation of the utility model;
图2为本实用新型的外壳体内部结构截面示意图;Fig. 2 is a schematic cross-sectional view of the internal structure of the outer casing of the present invention;
图3为本实用新型的绳索连接结构示意图;Fig. 3 is the schematic diagram of the rope connection structure of the present utility model;
图4为图1A区放大结构示意图。FIG. 4 is a schematic diagram of the enlarged structure of the region in FIG. 1A .
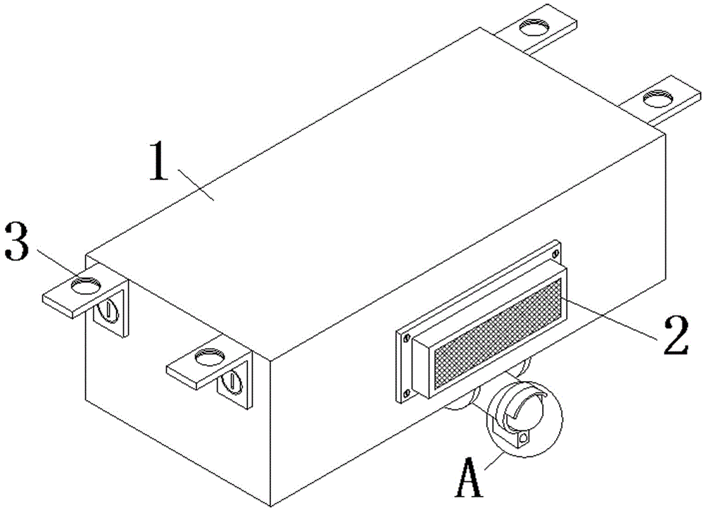
图中:1、升降式多角度安全监护机构;11、外壳体;111、环形卡槽;12、支撑轴;121、收卷套;122、绳索;13、定电磁铁;131、连接孔;14、动电磁铁;141、连接块;15、第一电机;16、U形连接件;161、第二电机;17、摄像头;171、弧形挡尘板;172、补光灯;18、第三电机;19、驱动齿轮;191、从动齿轮;2、报警蜂鸣器;3、直角定位板。In the figure: 1. Elevating multi-angle safety monitoring mechanism; 11. Outer shell; 111. Ring slot; 12. Support shaft; 121. Rewinding sleeve; 122. Rope; 13. Fixed electromagnet; 131. Connection hole; 14. Moving electromagnet; 141. Connecting block; 15. First motor; 16. U-shaped connector; 161. Second motor; 17. Camera; 171. Arc-shaped dust shield; 172. Fill light; 18. The third motor; 19, driving gear; 191, driven gear; 2, alarm buzzer; 3, right-angle positioning plate.
具体实施方式Detailed ways
为了便于理解本实用新型,下面将参照相关附图对本实用新型进行更加全面的描述,附图中给出了本实用新型的若干实施例,但是本实用新型可以通过不同的形式来实现,并不限于文本所描述的实施例,相反的,提供这些实施例是为了使对本实用新型公开的内容更加透彻全面。In order to facilitate understanding of the utility model, the utility model will be described more comprehensively below with reference to the accompanying drawings. Several embodiments of the utility model are shown in the accompanying drawings, but the utility model can be realized in different forms, and does not It is limited to the embodiments described in the text, on the contrary, these embodiments are provided to make the disclosure of the utility model more thorough and comprehensive.
需要说明的是,当元件被称为“固设于”另一个元件,它可以直接在另一个元件上也可以存在居中的元件,当一个元件被认为是“连接”另一个元件,它可以是直接连接到另一个元件或者可能同时存在居中元件,本文所使用的术语“垂直的”、“水平的”、“左”、“右”以及类似的表述只是为了说明的目的。It should be noted that when an element is said to be "fixed on" another element, it can be directly on the other element or there can be an intervening element, and when an element is said to be "connected" to another element, it can be Directly connected to another element or possibly intervening elements at the same time, the terms "vertical," "horizontal," "left," "right," and similar expressions are used herein for purposes of illustration only.
除非另有定义,本文所使用的所有的技术和科学术语与属于本实用新型的技术领域的技术人员通常连接的含义相同,本文中在本实用新型的说明书中所使用的术语知识为了描述具体的实施例的目的,不是旨在于限制本实用新型,本文所使用的术语“及/或”包括一个或多个相关的所列项目的任意的和所有的组合。Unless otherwise defined, all the technical and scientific terms used herein have the same meaning as those commonly connected by those skilled in the technical field of the present invention, and the terminology used in the description of the present invention is intended to describe specific The purpose of the embodiment is not intended to limit the utility model, and the term "and/or" used herein includes any and all combinations of one or more related listed items.
请着重参照附图1-4,一种独居老人安全监护装置,包括升降式多角度安全监护机构1,所述升降式多角度安全监护机构1包括外壳体11,以及外壳体11外壁下侧开口位置的环形卡槽111,所述环形卡槽111内设置有定电磁铁13,且定电磁铁13的圆心位置设置有连接孔131,所述外壳体11内腔转动连接有支撑轴12,所述支撑轴12上套接有收卷套121,所述收卷套121上缠绕有绳索122,且绳索122下端穿过连接孔131连接有连接块141,所述连接块141下侧设置有动电磁铁14,动电磁铁14半径小于定电磁铁13半径,所述动电磁铁14下侧的凹槽内嵌入有第一电机15,所述第一电机15的输出端设置有U形连接件16,所述U形连接件16通过转轴转动连接有摄像头17,U形连接件16外壁一侧设置有第二电机161,且第二电机161的输出端与摄像头17上的转轴一端相互连接。Please refer to accompanying drawings 1-4, a safety monitoring device for the elderly living alone, including a lift-type multi-angle
上述结构通过升降式多角度安全监护机构1,实现了多方位的监护拍摄,减少死角存在的区域面积,从而更好的达到对独居老人的监护,降低潜在危险,并且可以定期将置于室内屋顶上的摄像头17放下,进行清理,老人无需登高,十分的方便,具有一定的实用价值和市场前景;The above-mentioned structure realizes multi-directional monitoring and shooting through the lifting multi-angle
具体操作如下,首先检查装置整体内的各个器件是否存在损坏情况,在确保无损坏后接通电源,将螺栓穿过直角定位板3上的螺纹孔,把外壳体11安装在室内屋顶的中间位置,随之打开第一电机15和第二电机161,第一电机15通过驱动U形连接件16来改变摄像头17镜头水平方向的角度,第二电机161通过转轴改变摄像头17镜头竖直方向的角度,当处于较为昏暗的环境下,可打开补光灯172,提高监护画面的清晰度,当需要定期对摄像头17镜头上面的灰尘进行清洗的时候,打开第三电机18,随之第三电机18通过驱动齿轮19带动从动齿轮191转动,随之从动齿轮191上的支撑轴12通过收卷套121开始释放绳索122,同时定电磁铁13和动电磁铁14断电,之间的牵引力消失,受动电磁铁14和摄像头17等部件重力的影响,使得摄像头17逐步向下移动,方便对摄像头17的镜头进行清理,避免了老人登高清洁,清理结束后,第三电机18翻转,收卷套121将绳索122重新缠绕起来,逐步将摄像头17向上拉,直到连接块141和连接孔131相互契合为止,然后动电磁铁14和定电磁铁13之间通电,并产生牵引力,将摄像头17牢牢固定在室内屋顶上。The specific operation is as follows. First, check whether there is any damage to each device in the whole device. After ensuring that there is no damage, turn on the power supply, pass the bolt through the threaded hole on the right-
请着重参照附图1和附图2,所述外壳体11内腔上表面一侧设置有第三电机18,所述第三电机18的输出端设置有驱动齿轮19,驱动齿轮19啮合连接有从动齿轮191,所述从动齿轮191设置在支撑轴12上,通过设置的第三电机18、驱动齿轮19和从动齿轮191,实现了支撑轴12的正转和反转,达到释放和收卷绳索122的目的,所述外壳体11外壁一侧设置有报警蜂鸣器2,且报警蜂鸣器2的壳体通过螺栓与外壳体11相互连接,通过报警蜂鸣器2,实现了在老人出现意外的情况下,及时响起,提醒附近的人进行施救或拨打急求电话,所述外壳体11外壁两侧的上缘位置分别设置有两个直角定位板3,通过直角定位板3,实现了用螺栓穿过直角定位板3上的安装孔,将外壳体11安装在室内屋顶中间位置,便于多角度监护。Please emphatically refer to accompanying
请着重参照附图3和附图4,所述摄像头17的镜头位置设置有弧形挡尘板171,且弧形挡尘板171的侧缘与摄像头17的壳体外壁相互连接,通过弧形挡尘板171,实现了对摄像头17镜头上方落尘的阻挡,减少灰尘覆盖在镜头上,所述摄像头17的壳体外壁下缘设置有补光灯172,通过补光灯172,实现了在昏暗的情况下,补充光照,提高拍摄的清晰度,所述动电磁铁14上侧圆心位置的连接块141与定电磁铁13的连接孔131相互契合,通过连接块141和连接孔131之间的相互契合,实现了动电磁铁14和定电磁铁13之间更好的吸合,提高了摄像头17的稳定性。Please refer to accompanying drawing 3 and accompanying drawing 4 emphatically, the lens position of described
上述结合附图对本实用新型进行了示例性描述,显然本实用新型具体实现并不受上述方式的限制,只要采用了本实用新型的方法构思和技术方案进行的这种非实质改进,或未经改进将本实用新型的构思和技术方案直接应用于其他场合的,均在本实用新型的保护范围之内。The utility model has been described as an example in conjunction with the accompanying drawings above. Obviously, the specific implementation of the utility model is not limited by the above method, as long as the method concept and technical solution of the utility model are used for this insubstantial improvement, or without Improvements that directly apply the ideas and technical solutions of the utility model to other occasions are within the protection scope of the utility model.
Claims (7)
Priority Applications (1)
| Application Number | Priority Date | Filing Date | Title |
|---|---|---|---|
| CN202221238992.8U CN217899461U (en) | 2022-05-23 | 2022-05-23 | Safety monitoring device for solitary old people |
Applications Claiming Priority (1)
| Application Number | Priority Date | Filing Date | Title |
|---|---|---|---|
| CN202221238992.8U CN217899461U (en) | 2022-05-23 | 2022-05-23 | Safety monitoring device for solitary old people |
Publications (1)
| Publication Number | Publication Date |
|---|---|
| CN217899461U true CN217899461U (en) | 2022-11-25 |
Family
ID=84111922
Family Applications (1)
| Application Number | Title | Priority Date | Filing Date |
|---|---|---|---|
| CN202221238992.8U Active CN217899461U (en) | 2022-05-23 | 2022-05-23 | Safety monitoring device for solitary old people |
Country Status (1)
| Country | Link |
|---|---|
| CN (1) | CN217899461U (en) |
-
2022
- 2022-05-23 CN CN202221238992.8U patent/CN217899461U/en active Active
Similar Documents
| Publication | Publication Date | Title |
|---|---|---|
| CN217899461U (en) | Safety monitoring device for solitary old people | |
| CN211203378U (en) | Monitoring equipment for smart home | |
| CN209845150U (en) | Digital video image monitoring alarm equipment | |
| CN215488950U (en) | Safety monitoring device for radiotherapy room | |
| CN115978411B (en) | Monitoring alarm device | |
| CN216743750U (en) | Double-end single-shot type anti-damage security monitoring equipment | |
| CN218434371U (en) | Fire rescue device with investigation communication function | |
| CN212379944U (en) | A building anti-theft alarm monitoring system | |
| CN112441155B (en) | Wall climbing detection device and detection method thereof | |
| CN116847054A (en) | Hidden visual doorbell camera equipment | |
| CN213367926U (en) | Wall corner wall-hanging building supervisory equipment | |
| CN211010494U (en) | Building security protection display sectional shelf-unit for control room | |
| CN219867329U (en) | Monitoring equipment | |
| CN221402383U (en) | A hidden screen projection device | |
| CN210998824U (en) | Automatic adjusting device for robot camera | |
| CN220817193U (en) | Monitoring equipment with stable installation | |
| CN219473248U (en) | Wall-mounted monitoring equipment convenient to adjust | |
| CN219550002U (en) | Monitoring and managing system for high-rise building engineering | |
| CN218208723U (en) | A remote monitor for construction site management | |
| CN219828337U (en) | Intelligent corridor monitoring device of building | |
| CN114430449A (en) | Wall corner wall-hanging building supervisory equipment | |
| CN216356953U (en) | Intelligent building high definition video monitoring device | |
| CN219842729U (en) | Fire prevention monitoring structure for floor | |
| CN218058012U (en) | Electric vehicle identification blocking device in elevator | |
| CN221258378U (en) | Monitoring equipment capable of being remotely controlled |
Legal Events
| Date | Code | Title | Description |
|---|---|---|---|
| GR01 | Patent grant | ||
| GR01 | Patent grant | ||
| PE01 | Entry into force of the registration of the contract for pledge of patent right | ||
| PE01 | Entry into force of the registration of the contract for pledge of patent right |
Denomination of utility model: A safety monitoring device for elderly people living alone Granted publication date: 20221125 Pledgee: Industrial Bank Co.,Ltd. Shanghai Hongqiao Business District Sub branch Pledgor: Shanghai Jiangyan Intelligent Technology Co.,Ltd. Registration number: Y2025310000051 |
