CN217853998U - Simple and convenient novel negative pressure drainage bottle - Google Patents
Simple and convenient novel negative pressure drainage bottle Download PDFInfo
- Publication number
- CN217853998U CN217853998U CN202221379093.XU CN202221379093U CN217853998U CN 217853998 U CN217853998 U CN 217853998U CN 202221379093 U CN202221379093 U CN 202221379093U CN 217853998 U CN217853998 U CN 217853998U
- Authority
- CN
- China
- Prior art keywords
- negative pressure
- pressure drainage
- top cover
- drainage bottle
- fixedly connected
- Prior art date
- Legal status (The legal status is an assumption and is not a legal conclusion. Google has not performed a legal analysis and makes no representation as to the accuracy of the status listed.)
- Active
Links
Images
Landscapes
- External Artificial Organs (AREA)
Abstract
本实用新型公开了一种简易方便的新型负压引流瓶,包括瓶身、顶盖和外接管,瓶身顶端的一侧固定连接有负压胶塞,瓶身顶端的中间位置处固定连接有螺纹接口,顶盖底端的内部固定连接有密闭结构,外接管的外侧壁贯穿有防逆流结构。本实用新型通过设置有辅助结构,在螺纹帽与防逆流结构的共同协作下使瓶身该负压引流瓶在顶盖内部流动方向可进行调节,拧开螺纹帽使阀门接口贯通,进而使瓶身内部积液得以向外倾倒与清洗,当螺纹帽拧紧后密封塞堵住阀门接口的内部造成堵塞,使该负压引流瓶可通过外接管吸引上端引流管内止血棉、皮下组织及血块,使该负压引流瓶在进行操作时较为便捷,实现了提高该负压引流瓶的便捷性。
The utility model discloses a simple and convenient new-type negative pressure drainage bottle, which comprises a bottle body, a top cover and an external connecting pipe. One side of the top of the bottle body is fixedly connected with a negative pressure rubber plug, and the middle position of the top of the bottle body is fixedly connected with a The threaded interface, the internal fixed connection at the bottom of the top cover has a closed structure, and the outer wall of the external pipe runs through an anti-backflow structure. The utility model is equipped with an auxiliary structure, and under the cooperation of the threaded cap and the anti-backflow structure, the flow direction of the negative pressure drainage bottle on the bottle body can be adjusted inside the top cover. The fluid inside the body can be poured out and cleaned. When the threaded cap is tightened, the sealing plug blocks the inside of the valve interface to cause blockage, so that the negative pressure drainage bottle can attract the hemostatic cotton, subcutaneous tissue and blood clots in the upper drainage tube through the external tube, so that The negative pressure drainage bottle is relatively convenient to operate, and the convenience of the negative pressure drainage bottle is improved.
Description
技术领域technical field
本实用新型涉及负压引流瓶技术领域,尤其涉及一种种简易方便的新型负压引流瓶。The utility model relates to the technical field of negative pressure drainage bottles, in particular to various simple and convenient new negative pressure drainage bottles.
背景技术Background technique
在临床医疗过程中部分患者在医疗期间其体内需手动抽吸负压及倾倒引流等操作,而负压引流瓶能够稳定为患者体内积液进行抽取与清理,一款质量较好的负压引流瓶直接影响患者的医疗效果;In the clinical medical process, some patients need to manually suck negative pressure and dump drainage in their body during the medical treatment, and the negative pressure drainage bottle can stably extract and clean up the fluid in the patient's body, a good quality negative pressure drainage Bottles directly affect the medical effect of patients;
为此,公开号为CN206534914U的专利说明书中公开了一种新型负压引流瓶,包括胃管、与胃管可拆卸连接的气囊和与气囊连接的储液瓶,气囊上设有单向气阀,单向气阀包括阀体,阀体的上表面开设有型腔,型腔的底部开设有与气囊的内腔相通的进气孔,型腔内还设有板状阀芯,板状阀芯可滑动地设置在型腔内,板状阀芯的表面开设有多个通气孔,并且通气孔位于型腔底面的上方,阀体上还设有压盖,压盖通过螺纹设置在型腔的上方,并且压盖的表面开设有与型腔连通的出气孔,压盖与板状阀芯之间还设置有弹簧;本实用新型的新型负压引流瓶能够对胃液进行计量且易于倾倒。For this reason, a new type of negative pressure drainage bottle is disclosed in the patent specification whose publication number is CN206534914U, including a gastric tube, an air bag detachably connected with the gastric tube, and a liquid storage bottle connected with the air bag, and the air bag is provided with a one-way air valve , the one-way air valve includes a valve body, the upper surface of the valve body is provided with a cavity, the bottom of the cavity is provided with an air intake hole communicating with the inner cavity of the air bag, and a plate-shaped valve core is also provided in the cavity, and the plate-shaped valve The core is slidably set in the cavity, and the surface of the plate-shaped valve core is provided with a plurality of ventilation holes, and the ventilation holes are located above the bottom surface of the cavity, and the valve body is also equipped with a gland, which is set in the cavity through threads. The top of the gland, and the surface of the gland is provided with an air outlet connected to the cavity, and a spring is also arranged between the gland and the plate valve core; the new negative pressure drainage bottle of the utility model can measure gastric juice and is easy to dump.
上述负压引流瓶在进行使用时其负压密闭操作不便,易导致在工作过程中出现感染增加。When the above-mentioned negative pressure drainage bottle is used, its negative pressure airtight operation is inconvenient, and it is easy to cause an increase in infection during the working process.
发明内容Contents of the invention
为解决上述技术问题,本实用新型的目的是提供一种简易方便的新型负压引流瓶,用以解决上述的负压引流瓶操作不便的缺陷。In order to solve the above technical problems, the purpose of this utility model is to provide a simple and convenient new negative pressure drainage bottle to solve the above-mentioned defect of inconvenient operation of the negative pressure drainage bottle.
本实用新型的目的通过以下的技术方案来实现:The purpose of this utility model is achieved through the following technical solutions:
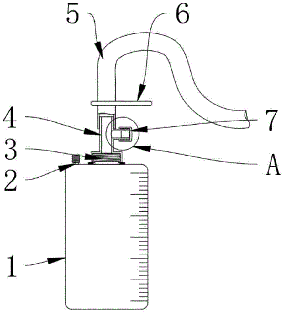
一种简易方便的新型负压引流瓶,包括瓶身(1)、顶盖(4)和外接管(5),所述瓶身(1)顶端的一侧固定连接有负压胶塞(2),所述瓶身(1)顶端的中间位置处固定连接有螺纹接口(3),所述螺纹接口(3)的外侧壁螺纹连接有顶盖(4);A simple and convenient novel negative pressure drainage bottle, comprising a bottle body (1), a top cover (4) and an external connecting pipe (5), one side of the top of the bottle body (1) is fixedly connected with a negative pressure rubber plug (2 ), the middle position of the top of the bottle body (1) is fixedly connected with a threaded interface (3), and the outer wall of the threaded interface (3) is threadedly connected with a top cover (4);
所述顶盖(4)外侧壁的顶端安装有外接管(5),所述顶盖(4)的一侧固定连接有辅助结构(7),所述辅助结构(7)包括阀门接口(701)、螺纹帽(702)和密封塞(703),所述阀门接口(701)设置于顶盖(4)的一侧,所述顶盖(4)底端的内部固定连接有密闭结构(8);An external pipe (5) is installed on the top of the outer wall of the top cover (4), and an auxiliary structure (7) is fixedly connected to one side of the top cover (4), and the auxiliary structure (7) includes a valve interface (701 ), a threaded cap (702) and a sealing plug (703), the valve interface (701) is arranged on one side of the top cover (4), and the inside of the bottom end of the top cover (4) is fixedly connected with a closed structure (8) ;
所述外接管(5)的外侧壁贯穿有防逆流结构(6)。An anti-backflow structure (6) runs through the outer wall of the external connecting pipe (5).
与现有技术相比,本实用新型的一个或多个实施例可以具有如下优点:Compared with the prior art, one or more embodiments of the present invention may have the following advantages:
通过设置有辅助结构,在螺纹帽与防逆流结构的共同协作下使瓶身该负压引流瓶在顶盖内部流动方向可进行调节,拧开螺纹帽使阀门接口贯通,进而使瓶身内部积液得以向外倾倒与清洗,当螺纹帽拧紧后密封塞堵住阀门接口的内部造成堵塞,使该负压引流瓶可通过外接管吸引上端引流管内止血棉、皮下组织及血块,使该负压引流瓶在进行操作时较为便捷,实现了提高该负压引流瓶的便捷性;By providing an auxiliary structure, under the cooperation of the threaded cap and the anti-backflow structure, the flow direction of the negative pressure drainage bottle in the bottle body can be adjusted inside the top cover. The liquid can be poured out and cleaned. When the threaded cap is tightened, the sealing plug blocks the inside of the valve interface to cause blockage, so that the negative pressure drainage bottle can attract the hemostatic cotton, subcutaneous tissue and blood clots in the upper drainage tube through the external connection tube, so that the negative pressure The drainage bottle is more convenient to operate, which improves the convenience of the negative pressure drainage bottle;
通过设置有防逆流结构,当外接管拨动至导流槽处时外接管将敞开使外接管可畅通导流,而为防止外接管处于挤压槽内部时出现意外滑动而脱离,因此在挤压槽两端一侧设置防滑凸块,使防滑凸块对外接管进行限位,以此防止挤压槽在对外接管进行挤压堵塞时出现滑脱,实现了该负压引流瓶的防逆流;By setting the anti-backflow structure, when the outer connecting pipe is moved to the diversion groove, the outer connecting pipe will be opened so that the outer connecting pipe can guide the flow smoothly, and in order to prevent the outer connecting pipe from accidentally sliding and falling away when it is inside the extrusion groove, so the extrusion Anti-skid bumps are set on both ends of the pressure groove, so that the anti-slip bumps can limit the position of the external connection tube, so as to prevent the extrusion groove from slipping when the external connection tube is squeezed and blocked, and realize the anti-backflow of the negative pressure drainage bottle;
通过设置有密闭结构,由于在顶盖下方内部设置密封圈,使螺纹接口与顶盖安装时密封圈与螺纹接口的顶端紧贴,使螺纹接口与顶盖之间缝隙被堵塞,以此提高该负压引流瓶的密闭性,进而防止该负压引流瓶出现泄漏,实现了提高该负压引流瓶的密封性。By providing an airtight structure, since a sealing ring is arranged inside the bottom of the top cover, the sealing ring and the top of the threaded connection are closely attached when the threaded interface and the top cover are installed, so that the gap between the threaded interface and the top cover is blocked, thereby improving the The airtightness of the negative pressure drainage bottle prevents the negative pressure drainage bottle from leaking, and improves the sealing performance of the negative pressure drainage bottle.
附图说明Description of drawings
图1是本实用新型的正视局部剖面结构示意图;Fig. 1 is the front view partial sectional structure schematic diagram of the utility model;
图2是本实用新型的俯视局部剖面结构示意图;Fig. 2 is a schematic diagram of a top view partial section structure of the utility model;
图3是本实用新型的防逆流结构三维结构示意图;Fig. 3 is a three-dimensional structural schematic diagram of the anti-backflow structure of the present invention;
图4是本实用新型的图1中A处局部剖面放大结构示意图;Fig. 4 is a schematic diagram of a partial section enlarged structure at A in Fig. 1 of the present utility model;
图5是本实用新型的辅助结构三维局部结构示意图;Fig. 5 is a schematic diagram of a three-dimensional partial structure of an auxiliary structure of the present invention;
图6是本实用新型的顶盖三维结构示意图;Fig. 6 is a schematic diagram of the three-dimensional structure of the top cover of the present invention;
图7是本实用新型的密闭结构三维局部结构示意图。Fig. 7 is a schematic diagram of a three-dimensional partial structure of the airtight structure of the present invention.
具体实施方式Detailed ways
为使本实用新型的目的、技术方案和优点更加清楚,下面将结合实施例及附图对本实用新型实施方式作进一步详细的描述。In order to make the purpose, technical solutions and advantages of the utility model clearer, the implementation of the utility model will be further described in detail below with reference to the examples and drawings.
如图1-7所示,本实用新型提供的简易方便的新型负压引流瓶,包括瓶身1、顶盖4和外接管5,瓶身1顶端的一侧固定连接有负压胶塞2,瓶身1顶端的中间位置处固定连接有螺纹接口3,螺纹接口3的外侧壁螺纹连接有顶盖4,顶盖4外侧壁的顶端安装有外接管5,顶盖4的一侧固定连接有辅助结构7,辅助结构7包括阀门接口701、螺纹帽702和密封塞703,阀门接口701设置于顶盖4的一侧,阀门接口701外侧壁的一侧螺纹连接有螺纹帽702,螺纹帽702内部的一侧固定连接有密封塞703,阀门接口701与顶盖4内部之间相互垂直,阀门接口701与密封塞703内部之间呈镶嵌结构。As shown in Figure 1-7, the simple and convenient new negative pressure drainage bottle provided by the utility model includes a
简易方便的新型负压引流瓶工作原理是与传统负压引流瓶相比本实用在螺纹接口3的外侧壁上方螺纹安装有顶盖4,在螺纹帽702与防逆流结构6的共同协作下使瓶身1该负压引流瓶在顶盖4内部流动方向可进行调节,当外接管5处于挤压槽602内部被堵塞时拧开螺纹帽702使阀门接口701贯通,进而使瓶身1内部积液得以向外倾倒与清洗,当螺纹帽702拧紧后密封塞703堵住阀门接口701的内部造成堵塞,并将外接管5拨动至导流槽603内部,使该负压引流瓶可通过外接管5吸引上端引流管内止血棉、皮下组织及血块,使该负压引流瓶在进行操作时较为便捷且尽量减少与外界的接触。The working principle of the simple and convenient new negative pressure drainage bottle is that compared with the traditional negative pressure drainage bottle, the utility model has a
外接管5的外侧壁贯穿有防逆流结构6,防逆流结构6包括夹持板601、挤压槽602、导流槽603和防滑凸块604,夹持板601贯穿与外接管5的外侧壁,夹持板601内部的一侧设置有挤压槽602,夹持板601内部的另一侧设置有导流槽603,挤压槽602两端的一侧固定连接有防滑凸块604,防滑凸块604关于挤压槽602的水平中心线呈对称分布,导流槽603与外接管5内部之间呈滑动结构。The outer wall of the outer connecting
当该负压引流瓶进行使用时为防止瓶身1内部积液出现逆流,传统负压引流瓶都会安装一些防逆流零件,通过将外接管5拨动至挤压槽602处使外接管5受挤压而出现堵塞,进而防止负压引流瓶出现积液逆流现象,当外接管5拨动至导流槽603处时外接管5将敞开使外接管5可畅通导流,而为防止外接管5处于挤压槽602内部时出现意外滑动而脱离,因此在挤压槽602两端一侧设置防滑凸块604,使防滑凸块604对外接管5进行限位,以此防止挤压槽602在对外接管5进行挤压堵塞时出现滑脱。When the negative pressure drainage bottle is in use, in order to prevent backflow of the fluid inside the
顶盖4底端的内部固定连接有密闭结构8,密闭结构8包括密封圈801、支撑环802和酒精棉垫803,密封圈801的底端与顶盖4内部底端固定连接,螺纹接口3的外侧壁设置有支撑环802,支撑环802的顶端固定连接有酒精棉垫803,密封圈801与螺纹接口3处于同一垂直平面,支撑环802内径的横截面积大于螺纹接口3外径的横截面积。The inside of the bottom of the
当该负压引流瓶进行安装时,为防止螺纹接口3与顶盖4之间连接不紧密而出现泄漏时,在顶盖4下方内部设置密封圈801,使螺纹接口3与顶盖4安装时密封圈801与螺纹接口3的顶端紧贴,使螺纹接口3与顶盖4之间缝隙被堵塞,以此提高该负压引流瓶的密闭性,同时随着顶盖4的拧紧顶盖4底端将对酒精棉垫803进行挤压,由于酒精棉垫803内部酒精具有一定的杀菌效果,使外接细菌不会通过螺纹接口3与顶盖4的连接处混入该负压引流瓶内部造成感染,以此使该负压引流瓶的使用密闭性大大提高。When the negative pressure drainage bottle is installed, in order to prevent leakage between the threaded
虽然本实用新型所揭露的实施方式如上,但所述的内容只是为了便于理解本实用新型而采用的实施方式,并非用以限定本实用新型。任何本实用新型所属技术领域内的技术人员,在不脱离本实用新型所揭露的精神和范围的前提下,可以在实施的形式上及细节上作任何的修改与变化,但本实用新型的专利保护范围,仍须以所附的权利要求书所界定的范围为准。Although the embodiments disclosed in the present utility model are as above, the content described is only an embodiment adopted for the convenience of understanding the present utility model, and is not intended to limit the present utility model. Anyone skilled in the technical field to which the utility model belongs can make any modifications and changes in the form and details of the implementation without departing from the spirit and scope disclosed in the utility model, but the patent of the utility model The scope of protection must still be based on the scope defined in the appended claims.
Claims (7)
Priority Applications (1)
| Application Number | Priority Date | Filing Date | Title |
|---|---|---|---|
| CN202221379093.XU CN217853998U (en) | 2022-06-06 | 2022-06-06 | Simple and convenient novel negative pressure drainage bottle |
Applications Claiming Priority (1)
| Application Number | Priority Date | Filing Date | Title |
|---|---|---|---|
| CN202221379093.XU CN217853998U (en) | 2022-06-06 | 2022-06-06 | Simple and convenient novel negative pressure drainage bottle |
Publications (1)
| Publication Number | Publication Date |
|---|---|
| CN217853998U true CN217853998U (en) | 2022-11-22 |
Family
ID=84092922
Family Applications (1)
| Application Number | Title | Priority Date | Filing Date |
|---|---|---|---|
| CN202221379093.XU Active CN217853998U (en) | 2022-06-06 | 2022-06-06 | Simple and convenient novel negative pressure drainage bottle |
Country Status (1)
| Country | Link |
|---|---|
| CN (1) | CN217853998U (en) |
-
2022
- 2022-06-06 CN CN202221379093.XU patent/CN217853998U/en active Active
Similar Documents
| Publication | Publication Date | Title |
|---|---|---|
| CN109331262A (en) | A kind of cardiothoracic surgery enclosed nursing drainage device | |
| CN217853998U (en) | Simple and convenient novel negative pressure drainage bottle | |
| US11896791B2 (en) | Anus cleaner | |
| CN209437742U (en) | A kind of liver and gall surgical department's flow diverter | |
| CN206214526U (en) | A kind of anti-blood back self-closed type transfusion device | |
| CN219558231U (en) | A new chest drainage device | |
| CN209695944U (en) | Fistula irrigation and drainage device | |
| CN103830809A (en) | Disposable automatic liquid stopping infusion set | |
| CN213374190U (en) | Negative pressure drainage device | |
| CN109172878A (en) | A kind of obstetrics and gynecology department operation nursing negative pressure drainage device | |
| CN204699107U (en) | A kind of single use vacuum extractor | |
| CN211383144U (en) | Infusion pump configuration connecting tube | |
| CN221904840U (en) | Gargling device with conversion structure | |
| CN219375616U (en) | a drainage device | |
| CN222549786U (en) | Urine catheter bag for preventing hose from being blocked | |
| CN219071472U (en) | Improved negative pressure suction bottle | |
| CN219983436U (en) | Mannitol suction device | |
| CN211301366U (en) | A medical manual negative pressure drainage device | |
| CN217828485U (en) | Negative pressure drainage bottle capable of preventing reverse suction | |
| CN216824289U (en) | Multifunctional negative pressure drainage collecting bottle | |
| CN219516460U (en) | Thoracentesis and drainage device | |
| CN219049736U (en) | Leakage-proof drainage bag | |
| CN219071776U (en) | Novel vagina cleaner for nursing | |
| CN216603380U (en) | A bed urinal that is easy to clean | |
| CN211157605U (en) | Drainage device |
Legal Events
| Date | Code | Title | Description |
|---|---|---|---|
| GR01 | Patent grant | ||
| GR01 | Patent grant |
