CN217834095U - Pit is used in fused brick production with supplementary lifting mechanism - Google Patents
Pit is used in fused brick production with supplementary lifting mechanism Download PDFInfo
- Publication number
- CN217834095U CN217834095U CN202221296572.5U CN202221296572U CN217834095U CN 217834095 U CN217834095 U CN 217834095U CN 202221296572 U CN202221296572 U CN 202221296572U CN 217834095 U CN217834095 U CN 217834095U
- Authority
- CN
- China
- Prior art keywords
- pit
- guide rail
- mold
- lifting mechanism
- adjustment
- Prior art date
- Legal status (The legal status is an assumption and is not a legal conclusion. Google has not performed a legal analysis and makes no representation as to the accuracy of the status listed.)
- Expired - Fee Related
Links
Images
Landscapes
- Vertical, Hearth, Or Arc Furnaces (AREA)
Abstract
本实用新型公开了具有辅助抬升机构的电熔砖生产用地坑,包括:地坑本体,地坑本体的底部延其长度方向设置有导轨机构,且导轨机构上滑动设置模具座;所述模具座的两侧对称设置有升降机构,且位于模具座两侧升降机构顶端之间安装有电熔砖模具;模具座中设置有调节机构,当模具座从导轨机构滑动至地坑本体一端时,调节机构被动式驱动升降机构带动电熔砖模具内置在地坑本体中。本实用新型中,模具座从导轨机构上滑动至地坑本体另一端时,调节机构被动式驱动升降机构带动电熔砖模具凸伸至地坑本体外侧,避免吊装转运时与电熔炉意外碰撞,同时驱动电熔砖模具凸伸至地坑本体外侧,使得在对地坑本体中电熔砖模具升降转运操作方便。
The utility model discloses a pit for producing electric fused bricks with an auxiliary lifting mechanism. There are lifting mechanisms installed symmetrically on both sides of the mold seat, and an electric fused brick mold is installed between the tops of the lifting mechanisms on both sides of the mold seat; an adjustment mechanism is installed in the mold seat. The mechanism passively drives the lifting mechanism to drive the electric fused brick mold to be built into the pit body. In the utility model, when the mold seat slides from the guide rail mechanism to the other end of the pit body, the adjustment mechanism passively drives the lifting mechanism to drive the electric fused brick mold to protrude to the outside of the pit body, avoiding accidental collision with the electric melting furnace during hoisting and transportation, and at the same time Drive the fused brick mold to protrude to the outside of the pit body, making it easy to lift and transfer the fused brick mold in the pit body.
Description
技术领域technical field
本实用新型涉及电熔砖生产技术领域,尤其涉及具有辅助抬升机构的电熔砖生产用地坑。The utility model relates to the technical field of production of electric melting bricks, in particular to a pit for production of electric melting bricks with an auxiliary lifting mechanism.
背景技术Background technique
公知的,电熔砖是指用纯净的氧化铝粉与含氧化锆、二氧化硅的锆英砂在电熔炉内熔化后注入模型内冷却而形成的的白色固体。其中电熔砖生产用地坑为开设在电熔炉出液口一侧的地坑,其用于内嵌式放置电熔砖浇筑模具,从而可以使得电熔炉可以直接倾倒通过出液口向电熔砖浇筑模具中注入浇筑液。As we all know, electric fused brick refers to a white solid formed by melting pure alumina powder and zircon sand containing zirconia and silicon dioxide in an electric melting furnace and injecting it into a mold to cool. Among them, the pit for the production of electric melting bricks is a pit set up on the side of the liquid outlet of the electric melting furnace, which is used to place the pouring mold of the electric melting brick in an embedded manner, so that the electric melting furnace can be poured directly to the electric melting brick through the liquid outlet. The pouring liquid is poured into the pouring mold.
目前电熔砖生产用地坑为直接开设在地面的槽体结构,虽然使得电熔炉可以直接倾倒通过出液口向电熔砖浇筑模具中注入浇筑液,但是在向地坑中取放电熔砖浇筑模具需要配合吊装设备进行升降操作,同时地坑需要与电熔炉接近以便直接倾倒浇筑液,吊装时易与电熔炉意外碰撞,导致吊装转运作业不便,影响工作效率。At present, the pit for the production of electric fused bricks is a tank structure directly set on the ground. Although the electric melting furnace can be poured directly and poured into the pouring mold of the electric fused brick through the liquid outlet, the electric fused brick is poured into the pit. The mold needs to cooperate with the hoisting equipment for lifting operation. At the same time, the pit needs to be close to the electric melting furnace so that the pouring liquid can be poured directly. During hoisting, it is easy to accidentally collide with the electric melting furnace, which will cause inconvenience in hoisting and transfer operations and affect work efficiency.
实用新型内容Utility model content
本发明的目的在于提供具有辅助抬升机构的电熔砖生产用地坑,以解决现有技术中的上述不足之处。The object of the present invention is to provide an electric fused brick production pit with an auxiliary lifting mechanism to solve the above-mentioned shortcomings in the prior art.
为了实现上述目的,本实用新型采用了如下技术方案:具有辅助抬升机构的电熔砖生产用地坑,包括:地坑本体,所述地坑本体的底部延其长度方向设置有导轨机构,且导轨机构上滑动设置模具座;所述模具座的两侧对称设置有升降机构,且位于模具座两侧升降机构顶端之间安装有电熔砖模具;所述模具座中设置有调节机构,当所述模具座从导轨机构滑动至地坑本体一端时,所述调节机构被动式驱动升降机构带动电熔砖模具内置在地坑本体中。In order to achieve the above purpose, the utility model adopts the following technical scheme: the pit for the production of electric fused bricks with an auxiliary lifting mechanism includes: the pit body, the bottom of the pit body is provided with a guide rail mechanism along its length direction, and the guide rail The mold seat is slidingly set on the mechanism; the two sides of the mold seat are symmetrically provided with a lifting mechanism, and an electric fused brick mold is installed between the tops of the lifting mechanism on both sides of the mold seat; an adjusting mechanism is arranged in the mold seat. When the mold seat slides from the guide rail mechanism to one end of the pit body, the adjustment mechanism passively drives the lifting mechanism to drive the electric fused brick mold to be built into the pit body.
作为上述技术方案的进一步描述:As a further description of the above technical solution:
所述导轨机构包括设置在地坑本体底部的导轨架,所述模具座滑动设置在导轨架的表面,且导轨架上转动设置有调节丝杆,所述调节丝杆螺纹贯穿于模具座。The guide rail mechanism includes a guide rail frame arranged at the bottom of the pit body, the mold seat is slidably arranged on the surface of the guide rail frame, and an adjusting screw rod is rotatably arranged on the guide rail frame, and the thread of the adjusting screw rod runs through the mold seat.
作为上述技术方案的进一步描述:As a further description of the above technical solution:
所述升降机构包括垂直固定在模具座两侧的侧架,且侧架上滑动调节有套架,所述套架上固定横架。The lifting mechanism includes side frames vertically fixed on both sides of the mold base, and a sleeve frame is slidably adjusted on the side frame, and a horizontal frame is fixed on the sleeve frame.
作为上述技术方案的进一步描述:As a further description of the above technical solution:
所述电熔砖模具的侧边开设有导轨槽,所述横架滑动嵌设在导轨槽中。A guide rail groove is opened on the side of the electric fused brick mold, and the horizontal frame is slidably embedded in the guide rail groove.
作为上述技术方案的进一步描述:As a further description of the above technical solution:
所述调节机构包括转轴,所述转轴转动连接在模具座的侧边,且转轴上固定套接有第一调节齿轮以及第二调节齿轮。The adjustment mechanism includes a rotating shaft, which is rotatably connected to the side of the mold seat, and the first adjusting gear and the second adjusting gear are fixedly sleeved on the rotating shaft.
作为上述技术方案的进一步描述:As a further description of the above technical solution:
所述导轨机构上设置有第一调节齿条,所述第一调节齿条与第一调节齿轮啮合,所述套架上设置有第二调节齿条,所述第二调节齿条与第二调节齿轮相啮合。The guide rail mechanism is provided with a first adjusting rack, the first adjusting rack meshes with the first adjusting gear, the sleeve is provided with a second adjusting rack, and the second adjusting rack is in contact with the second adjusting rack. The adjustment gears are meshed.
作为上述技术方案的进一步描述:As a further description of the above technical solution:
所述地坑本体底部延其长度方向两侧开设有配合套架升降调节使用的调节槽。The bottom of the pit body is provided with adjustment grooves along the two sides along its length direction to cooperate with the lifting and lowering adjustment of the sleeve frame.
本实用新型提供了具有辅助抬升机构的电熔砖生产用地坑。具备以下有益效果:The utility model provides a ground pit for producing electric fused bricks with an auxiliary lifting mechanism. Has the following beneficial effects:
该具有辅助抬升机构的电熔砖生产用地坑通过在地坑本体中设置导轨机构驱动模具座进行滑动调节,并模具座上通过升降机构安装电熔砖模具,同时模具座上设置有调节机构,实现模具座从导轨机构滑动至地坑本体一端时,调节机构被动式驱动升降机构带动电熔砖模具内置在地坑本体中,模具座从导轨机构上滑动至地坑本体另一端时,调节机构被动式驱动升降机构带动电熔砖模具凸伸至地坑本体外侧,避免吊装转运时与电熔炉意外碰撞,同时驱动电熔砖模具凸伸至地坑本体外侧,使得在对地坑本体中电熔砖模具升降转运操作方便,提高工作效率。The electric fused brick production pit with an auxiliary lifting mechanism is adjusted by setting a guide rail mechanism in the pit body to drive the mold seat for sliding adjustment, and the electric fused brick mold is installed on the mold seat through a lifting mechanism, and an adjustment mechanism is provided on the mold seat. When the mold seat slides from the guide rail mechanism to one end of the pit body, the adjustment mechanism passively drives the lifting mechanism to drive the electric fused brick mold to be built into the pit body, and when the mold seat slides from the guide rail mechanism to the other end of the pit body, the adjustment mechanism passively Drive the lifting mechanism to drive the fused brick mold to the outside of the pit body to avoid accidental collision with the electric furnace during hoisting and transfer, and at the same time drive the fused brick mold to protrude to the outside of the pit body so that the fused brick can be placed in the pit body The mold lift and transfer operation is convenient and the work efficiency is improved.
附图说明Description of drawings
图1为本实用新型提出的具有辅助抬升机构的电熔砖生产用地坑浇筑时的状态示意图;Fig. 1 is a schematic diagram of the state when the electric fused brick production pit with auxiliary lifting mechanism proposed by the utility model is poured;
图2为本实用新型提出的具有辅助抬升机构的电熔砖生产用地坑转运时的状态示意图;Fig. 2 is a schematic diagram of the state when the electric fused brick production pit with auxiliary lifting mechanism proposed by the utility model is transported;
图3为本实用新型中电熔砖模具与升降机构的装配结构示意图;Fig. 3 is a schematic diagram of the assembly structure of the electric fused brick mold and the lifting mechanism in the utility model;
图4为本实用新型中调节机构的结构示意图。Fig. 4 is a structural schematic diagram of the adjustment mechanism in the utility model.
图例说明:illustration:
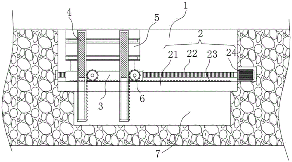
1、地坑本体;2、导轨机构;21、导轨架;22、调节丝杆;23、第一调节齿条;24、导轨电机;3、模具座;4、升降机构;41、侧架;42、套架;43、第二调节齿条;44、横架;5、电熔砖模具;51、导轨槽;6、调节机构;61、转轴;62、第一调节齿轮;63、第二调节齿轮;7、调节槽。1. Pit body; 2. Guide rail mechanism; 21. Guide rail frame; 22. Adjustment screw; 23. First adjustment rack; 24. Guide rail motor; 3. Die seat; 4. Lifting mechanism; 41. Side frame; 42. Sleeve frame; 43. Second adjusting rack; 44. Horizontal frame; 5. Fused brick mold; 51. Guide rail groove; 6. Adjusting mechanism; 61. Rotating shaft; 62. First adjusting gear; 63. Second Regulating gear; 7, regulating groove.
具体实施方式Detailed ways
下面将结合本实用新型实施例中的附图,对本实用新型实施例中的技术方案进行清楚、完整地描述,显然,所描述的实施例仅仅是本实用新型一部分实施例,而不是全部的实施例。The technical solutions in the embodiments of the present invention will be clearly and completely described below in conjunction with the accompanying drawings in the embodiments of the present invention. Obviously, the described embodiments are only part of the embodiments of the present invention, not all of them. example.
参照图1-4,具有辅助抬升机构的电熔砖生产用地坑,包括:地坑本体1,地坑本体1的底部延其长度方向设置有导轨机构2,且导轨机构2上滑动设置模具座3;模具座3的两侧对称设置有升降机构4,且位于模具座3两侧升降机构4顶端之间安装有电熔砖模具5;模具座3中设置有调节机构6,当模具座3从导轨机构2滑动至地坑本体1一端时,调节机构6被动式驱动升降机构4带动电熔砖模具5内置在地坑本体1中。本实施例提供一种具有辅助抬升机构的电熔砖生产用地坑,其中,地坑本体1为开设在地面上的矩形槽体结构,地坑本体1的一端地面为浇筑作业工位,其安装有电熔炉,地坑本体1的另一端为对电熔砖模具5进行转运作业工位,通过在地坑本体1中设置导轨机构2驱动模具座3进行滑动调节,并模具座3上通过升降机构4安装电熔砖模具5,同时模具座3上还设置有调节机构6,实现模具座3从导轨机构2滑动至地坑本体1一端时(浇筑作业工位),调节机构6被动式驱动升降机构4带动电熔砖模具5内置在地坑本体1中,从而可以使得电熔炉直接进行倾倒以配合浇筑嘴向电熔砖模具5进行浇筑,模具座3从导轨机构2上滑动至地坑本体1另一端时(转运作业工位),调节机构6被动式驱动升降机构4带动电熔砖模具5凸伸至地坑本体1外侧,从而实现远离地坑浇筑一端即远离电熔炉,避免吊装转运时与电熔炉意外碰撞,同时驱动电熔砖模具5凸伸至地坑本体1外侧,使得在对地坑本体中电熔砖模具升降转运操作方便,提高工作效率。Referring to Figures 1-4, the pit for the production of electric fused bricks with an auxiliary lifting mechanism includes:
导轨机构2包括设置在地坑本体1底部的导轨架21,模具座3滑动设置在导轨架21的表面,且导轨架21上转动设置有调节丝杆22,调节丝杆22螺纹贯穿于模具座3。还包括导轨电机24,导轨电机24设置在地坑本体1的一端,且导轨电机24通过减速器与调节丝杆22传动连接,导轨机构2带动模具座3进行滑动调节时,通过导轨电机24带动调节丝杆22转动,调节丝杆22驱动模具座3在导轨架21进行线性滑动调节。The
升降机构4包括垂直固定在模具座3两侧的侧架41,且侧架41上滑动调节有套架42,套架42上固定横架44。地坑本体1底部延其长度方向两侧开设有配合套架42升降调节使用的调节槽7。电熔砖模具5的侧边开设有导轨槽51,横架44滑动嵌设在导轨槽51中。具体的,套架42滑动套接在侧架41上,套架42上水平固定有横架44,横架44滑动嵌设在电熔砖模具5侧边的导轨槽51上,其中,导轨槽51的两端螺旋连接有限定螺母,从而防止在滑动调节时电熔砖模具5在横架44上滑动偏移。The lifting mechanism 4 includes side frames 41 vertically fixed on both sides of the
调节机构6包括转轴61,转轴61转动连接在模具座3的侧边,且转轴61上固定套接有第一调节齿轮62以及第二调节齿轮63。导轨机构2上设置有第一调节齿条23,第一调节齿条23与第一调节齿轮62啮合,套架42上设置有第二调节齿条43,第二调节齿条43与第二调节齿轮63相啮合。The
工作原理:通过导轨电机24带动调节丝杆22转动,调节丝杆22驱动模具座3在导轨架21进行线性滑动调节,当模具座3上导轨架21上线性滑动调节时,位于模具座3上转动连接的转轴61上的第一调节齿轮62在导轨机构2上的第一调节齿条23啮合传动以驱动第一调节齿轮62转动,第一调节齿轮62配合转轴61带动第二调节齿轮63转动,第二调节齿轮63通过第二调节齿条43驱动套架42沿侧架41进行升降移动,从而使得模具座3从导轨机构2滑动至地坑本体1一端时(浇筑作业工位),调节机构6被动式驱动升降机构4带动电熔砖模具5内置在地坑本体1中,从而可以使得电熔炉直接进行倾倒以配合浇筑嘴向电熔砖模具5进行浇筑,模具座3从导轨机构2上滑动至地坑本体1另一端时(转运作业工位),调节机构6被动式驱动升降机构4带动电熔砖模具5凸伸至地坑本体1外侧,从而实现远离地坑浇筑一端即远离电熔炉,避免吊装转运时与电熔炉意外碰撞,同时驱动电熔砖模具5凸伸至地坑本体1外侧,使得在对地坑本体中电熔砖模具升降转运操作方便,提高工作效率。Working principle: the
Claims (7)
Priority Applications (1)
| Application Number | Priority Date | Filing Date | Title |
|---|---|---|---|
| CN202221296572.5U CN217834095U (en) | 2022-05-26 | 2022-05-26 | Pit is used in fused brick production with supplementary lifting mechanism |
Applications Claiming Priority (1)
| Application Number | Priority Date | Filing Date | Title |
|---|---|---|---|
| CN202221296572.5U CN217834095U (en) | 2022-05-26 | 2022-05-26 | Pit is used in fused brick production with supplementary lifting mechanism |
Publications (1)
| Publication Number | Publication Date |
|---|---|
| CN217834095U true CN217834095U (en) | 2022-11-18 |
Family
ID=84021062
Family Applications (1)
| Application Number | Title | Priority Date | Filing Date |
|---|---|---|---|
| CN202221296572.5U Expired - Fee Related CN217834095U (en) | 2022-05-26 | 2022-05-26 | Pit is used in fused brick production with supplementary lifting mechanism |
Country Status (1)
| Country | Link |
|---|---|
| CN (1) | CN217834095U (en) |
-
2022
- 2022-05-26 CN CN202221296572.5U patent/CN217834095U/en not_active Expired - Fee Related
Similar Documents
| Publication | Publication Date | Title |
|---|---|---|
| CN201713598U (en) | Automatic crucible carrying mechanism | |
| CN207943790U (en) | A kind of large size casting die transport hanger | |
| CN212094308U (en) | A mobile molten iron casting device | |
| CN101880909A (en) | Full-automatic crucible manipulator | |
| CN115534066A (en) | Forming process of nanoparticle modified refractory brick | |
| CN204159850U (en) | The semi-automatic bilateral casting machine of rail wheel type | |
| CN217834095U (en) | Pit is used in fused brick production with supplementary lifting mechanism | |
| CN104493148A (en) | Full-automatic pouring casting machine | |
| CN206392832U (en) | A kind of improved liquid metal of structure gives soup device | |
| CN221721008U (en) | A furnace cover lifting device for single crystal furnace | |
| CN211071813U (en) | Movable pouring device for casting | |
| CN218080381U (en) | Automatic casting device of phosphorus copper alloy | |
| CN216662847U (en) | Device for taking pot after melting quartz crucible | |
| CN206279251U (en) | A kind of improved aluminium liquid depassing unit | |
| CN221639516U (en) | Movable casting pouring device | |
| CN219213489U (en) | A vibrating device for iron ditch castables | |
| CN204308189U (en) | Automatically build casting machine | |
| CN217166461U (en) | An industrialized high silicon alloy casting system | |
| CN222429191U (en) | Sand mould molding and stripping device for casting | |
| CN210190089U (en) | Automatic mould device that opens and shuts of gallipot preparation | |
| CN221817315U (en) | Stamping disc casting machine | |
| CN220245421U (en) | Smelting ladle lifting device | |
| CN218138741U (en) | Butt-joint mechanism for fused brick insulation box and pit | |
| CN221089428U (en) | Forming and pouring device for fused zirconia corundum bricks | |
| CN221639512U (en) | Casting forming and die opening device |
Legal Events
| Date | Code | Title | Description |
|---|---|---|---|
| GR01 | Patent grant | ||
| GR01 | Patent grant | ||
| CF01 | Termination of patent right due to non-payment of annual fee | ||
| CF01 | Termination of patent right due to non-payment of annual fee |
Granted publication date: 20221118 |
