CN217833910U - Special circular frock of coming unstuck of copper bar - Google Patents
Special circular frock of coming unstuck of copper bar Download PDFInfo
- Publication number
- CN217833910U CN217833910U CN202222114948.2U CN202222114948U CN217833910U CN 217833910 U CN217833910 U CN 217833910U CN 202222114948 U CN202222114948 U CN 202222114948U CN 217833910 U CN217833910 U CN 217833910U
- Authority
- CN
- China
- Prior art keywords
- copper bar
- rod
- cutter
- cutting
- coming unstuck
- Prior art date
- Legal status (The legal status is an assumption and is not a legal conclusion. Google has not performed a legal analysis and makes no representation as to the accuracy of the status listed.)
- Active
Links
Images
Landscapes
- Sawing (AREA)
Abstract
本实用新型一种铜排专用圆形脱胶工装,其包括固定架、弹性板、圆形切刀及调节杆,所述弹性板上开设裁切让位孔,并装于所述固定架内;所述圆形切刀包括上切刀及下切刀;所述下切刀固装于固定架内,并位于弹性板下方,下切刀的刀刃伸入至裁切让位孔内;所述上切刀由驱动件带动朝裁切让位孔方向下降裁切;所述调节杆位于弹性板之上,并与固定架滑动连接。本实用新型利用圆形切刀对铜排的上、下表面进行同时裁切,还能实现省力、高效的目的,从而解决现有技术中存在的技术问题。
The utility model is a special circular degumming tool for copper bars, which includes a fixed frame, an elastic plate, a circular cutter and an adjustment rod. The elastic plate is provided with a cutting and relief hole, and is installed in the fixed frame; The circular cutter includes an upper cutter and a lower cutter; the lower cutter is fixed in a fixed frame and is located below the elastic plate, and the blade of the lower cutter extends into the cutting relief hole; the upper cutter Driven by the driving member, the cutting is lowered toward the cutting relief hole; the adjusting rod is located on the elastic plate and is slidably connected with the fixing frame. The utility model uses a circular cutter to simultaneously cut the upper and lower surfaces of the copper bar, which can also achieve the purpose of labor saving and high efficiency, thereby solving the technical problems existing in the prior art.
Description
技术领域technical field
本实用新型涉及铜排剥胶用工装领域,尤其是涉及一种能够快速且双面裁切的铜排专用圆形脱胶工装。The utility model relates to the field of tooling for stripping copper bars, in particular to a special circular degumming tooling for copper bars capable of rapid and double-sided cutting.
背景技术Background technique
铜排为条形铜板,其外层包裹橡胶层,橡胶层在需要铜排使用前按要求进行剥离,从而进行铜排的使用及装配。在实际生产加工中,为了给后续加工提供加工便捷性,需要圆形状的脱胶(所述脱胶为橡胶层剥离)作业。如图1所示,对铜排Q上的橡胶层I进行定点且圆形状的剥离。The copper bar is a strip-shaped copper plate, and its outer layer is wrapped with a rubber layer. The rubber layer is peeled off as required before the copper bar is used, so as to use and assemble the copper bar. In actual production and processing, in order to provide processing convenience for subsequent processing, circular degumming (the degumming is rubber layer peeling) operation is required. As shown in Figure 1, the rubber layer I on the copper bar Q is peeled off at a fixed point and in a circular shape.
加工如图1所示铜排的剥离工装是现有是市场上没有供应的装置,这需要在现有剥离类工装或装置的基础上进行研发及改进。但,现有的剥离工装如中国专利公告号CN215473732U所阐述的一种剥胶装置;该方案阐述的剥胶装置无法针对铜排同时进行上、下橡胶层剥离,也无法进行圆形装区域胶层的剥离,均需要人工手动脱胶作业,这就延长单个铜排剥胶的时长,降低剥胶的加工效率,进而增加成本。The stripping tool for processing copper bars as shown in Figure 1 is an existing device that is not available in the market, which needs to be developed and improved on the basis of the existing stripping tool or device. However, the existing stripping tool is a stripping device as described in Chinese Patent No. CN215473732U; the stripping device described in this scheme cannot simultaneously peel off the upper and lower rubber layers of the copper bar, and cannot perform circular packaging area glue. The stripping of layers requires manual degumming operations, which prolongs the stripping time of a single copper strip, reduces the processing efficiency of stripping, and increases the cost.
因此,如何在现有工装的基础上设计并制造出一款专用的剥胶工装,达到铜排的特定点位的圆形状裁切并剥离橡胶层的目的,解决现有技术中加工效率低、无法双面同时剥离等技术问题是本领域技术人员所需要解决的技术问题之一。Therefore, how to design and manufacture a special stripping tool on the basis of the existing tooling, to achieve the purpose of circular cutting and peeling off the rubber layer at a specific point of the copper bar, and to solve the problem of low processing efficiency and low processing efficiency in the prior art. Technical problems such as the inability to simultaneously peel both sides are one of the technical problems to be solved by those skilled in the art.
实用新型内容Utility model content
为解决上述现有技术中存在的技术问题,本实用新型的目的在于提供一种一种能够快速且省力的铜排专用圆形脱胶工装。In order to solve the above-mentioned technical problems in the prior art, the purpose of this utility model is to provide a fast and labor-saving circular degumming tool for copper bars.
为实现上述目的,本实用新型采用以下技术方案:In order to achieve the above object, the utility model adopts the following technical solutions:
一种铜排专用圆形脱胶工装,其包括固定架、弹性板、圆形切刀及调节杆,其中:A special circular degumming tool for copper bars, which includes a fixed frame, an elastic plate, a circular cutter and an adjustment rod, wherein:
所述弹性板上开设裁切让位孔,并装于所述固定架内;Cutting relief holes are opened on the elastic plate and installed in the fixing frame;
所述圆形切刀包括上切刀及下切刀;所述下切刀固装于固定架内,并位于弹性板下方,下切刀的刀刃伸入至裁切让位孔内;所述上切刀由驱动件带动朝裁切让位孔方向下降裁切;The circular cutter includes an upper cutter and a lower cutter; the lower cutter is fixed in a fixed frame and is located below the elastic plate, and the blade of the lower cutter extends into the cutting relief hole; the upper cutter Driven by the driving part, it descends and cuts in the direction of the cutting relief hole;
所述调节杆位于弹性板之上,并与固定架滑动连接。The adjusting rod is located on the elastic plate and is slidably connected with the fixing frame.
进一步优选的:所述弹性板包括板体及弹性件,其中:Further preferably: the elastic plate includes a plate body and an elastic member, wherein:
所述板体装配于固定架内,其两端插入至固定架的弹跳孔内;The board body is assembled in the fixed frame, and its two ends are inserted into the spring holes of the fixed frame;
所述弹性件为套装弹簧的固定杆,固定杆穿过固定架伸入板体的通孔内,弹簧两端分别抵于固定架与板体之间。The elastic member is a fixed rod that is fitted with a spring, and the fixed rod passes through the fixed frame and extends into the through hole of the plate body, and the two ends of the spring respectively abut between the fixed frame and the plate body.
进一步优选的:所述固定架为矩形框架,其包括顶板、底板及两个侧板,两个侧板均开设条形孔,所述条形孔为所述弹跳孔。Further preferably: the fixing frame is a rectangular frame, which includes a top plate, a bottom plate and two side plates, both side plates are provided with strip-shaped holes, and the strip-shaped holes are the bouncing holes.
进一步优选的:所述固定架设置丝杆,所述丝杆平行于弹性板设置并由电机驱动,丝杆上装配有螺母;Further preferably: the fixing frame is provided with a screw rod, the screw rod is arranged parallel to the elastic plate and driven by a motor, and the screw rod is equipped with a nut;
所述调节杆的一端与螺母连接并联动,以驱动调节杆沿丝杆方向滑动位移。One end of the adjusting rod is connected with the nut and interlocked to drive the adjusting rod to slide and displace along the direction of the screw rod.
进一步优选的:沿所述丝杆方向设置直线滑轨,所述直线滑轨固定于固定架上;Further preferably: a linear slide rail is arranged along the direction of the screw rod, and the linear slide rail is fixed on a fixing frame;
所述直线滑轨上滑动安装滑块,所述滑块与螺母连接并联动。A slide block is slidably installed on the linear slide rail, and the slide block is connected and interlocked with the nut.
进一步优选的:沿所述丝杆方向设置有标尺,所述标尺固定于弹性板上;Further preferably: a scale is arranged along the direction of the screw rod, and the scale is fixed on the elastic plate;
所述标尺的起始端对应裁切让位孔的中心设置。The starting end of the ruler is set corresponding to the center of the cutting relief hole.
进一步优选的:所述调节杆位于裁切让位孔的一侧,所述标尺对应调节杆设置。Further preferably: the adjustment rod is located on one side of the cutting relief hole, and the scale is set corresponding to the adjustment rod.
进一步优选的:所述驱动件包括气缸及驱动杆,其中:Further preferably: the drive member includes a cylinder and a drive rod, wherein:
所述驱动杆的一端铰接于固定架上,另一端与气缸的输出端连接;One end of the drive rod is hinged on the fixed frame, and the other end is connected to the output end of the cylinder;
所述气缸紧靠固定架设置;The cylinder is arranged close to the fixed frame;
所述上切刀铰接于驱动杆上,以驱动上切刀下压裁切。The upper cutter is hinged on the driving rod to drive the upper cutter to press down and cut.
进一步优选的:所述驱动杆倾斜设置,其低端与固定架铰接,高端与气缸的输出端连接并联动。Further preferably: the driving rod is arranged obliquely, its low end is hinged to the fixed frame, and its high end is connected to and linked to the output end of the cylinder.
采用上述技术方案后,本实用新型与背景技术相比,具有如下优点:After adopting the above technical solution, the utility model has the following advantages compared with the background technology:
本实用新型利用圆形切刀对铜排的上、下表面进行同时裁切,进而达到同时脱胶的目的,提升脱胶效率;同时,本实用新型中还设计了可滑动调节的调节杆,该调节杆还与标尺配合进行铜排尺寸的测量及读取,进一步提升对工件尺寸测量要求的便捷性;再,利用气缸带动驱动杆,实现的对圆形切刀的驱动,达到省力、高效的目的,从而解决现有技术中存在的技术问题。The utility model uses a circular cutter to simultaneously cut the upper and lower surfaces of the copper bar, thereby achieving the purpose of degumming at the same time and improving the degumming efficiency; The rod also cooperates with the scale to measure and read the size of the copper bar, which further improves the convenience of measuring the workpiece size; moreover, the cylinder is used to drive the drive rod to realize the drive of the circular cutter, achieving the purpose of labor saving and high efficiency , thereby solving the technical problems existing in the prior art.
附图说明Description of drawings
图1是使用本实用新型实施例所述铜排专用圆形脱胶工装进行加工后的铜排;Fig. 1 is the copper bar processed by using the special circular degumming tooling for the copper bar described in the embodiment of the present invention;
图2是本实用新型实施例中所述铜排专用圆形脱胶工装的结构示意图一;Fig. 2 is a structural schematic diagram 1 of the special round degumming tooling for copper bars described in the embodiment of the present invention;
图3是本实用新型实施例中所述铜排专用圆形脱胶工装的结构示意图二;Fig. 3 is a structural schematic diagram 2 of the special circular degumming tooling for copper bars described in the embodiment of the present invention;
图4是本实用新型实施例中所述铜排专用圆形脱胶工装的结构剖面示意图。Fig. 4 is a schematic cross-sectional view of the circular degumming tool for copper bars in the embodiment of the present invention.
上述说明书附图中标记说明如下:The descriptions of the marks in the accompanying drawings of the above description are as follows:
Q、铜排,I、橡胶层,110、底板,120、侧板,130、顶板,121、弹跳孔,131、安装台,210、板体,211、裁切让位孔,220、弹性件,221、固定杆,222、弹簧的,300、调节杆,310、电机,320、丝杆,330、螺母,340、直线滑轨,350、滑块,410、上切刀,420、下切刀,500、驱动杆,510、气缸,600、标尺。Q, copper bar, I, rubber layer, 110, bottom plate, 120, side plate, 130, top plate, 121, bounce hole, 131, mounting platform, 210, board body, 211, cutting out hole, 220, elastic piece , 221, fixed rod, 222, spring, 300, adjusting rod, 310, motor, 320, screw mandrel, 330, nut, 340, linear slide rail, 350, slider, 410, upper cutter, 420, lower cutter , 500, drive rod, 510, cylinder, 600, ruler.
具体实施方式Detailed ways
为了使本实用新型的目的、技术方案及优点更加清楚明白,以下结合附图及实施例,对本实用新型进行进一步详细说明。应当理解,此处所描述的具体实施例仅仅用以解释本实用新型,并不用于限定本实用新型。In order to make the purpose, technical solutions and advantages of the utility model clearer, the utility model will be further described in detail below in conjunction with the accompanying drawings and embodiments. It should be understood that the specific embodiments described here are only used to explain the utility model, and are not intended to limit the utility model.
在本实用新型中需要说明的是,术语“上”“下”“左”“右”“竖直”“水平”“内”“外”等均为基于附图所示的方位或位置关系,仅仅是为了便于描述本实用新型和简化描述,而不是指示或暗示本实用新型的装置或元件必须具有特定的方位,因此不能理解为对本实用新型的限制。In this utility model, it should be noted that the terms "upper", "lower", "left", "right", "vertical", "horizontal", "inner" and "outer" are all based on the orientation or positional relationship shown in the drawings, It is only for the convenience of describing the utility model and simplifying the description, but does not indicate or imply that the device or element of the utility model must have a specific orientation, so it should not be construed as a limitation of the utility model.
实施例Example
一种铜排专用圆形脱胶工装,其用于特定长度的铜排Q,并将铜排Q包裹的橡胶层I进行特定形状的剥离,达到方便、省力、快速的目的,从而提升加工效率,降低加工成本。A special circular degumming tool for copper bars, which is used for copper bars Q of a specific length, and peels off the rubber layer I wrapped by the copper bars Q in a specific shape to achieve the purpose of convenience, labor saving, and speed, thereby improving processing efficiency. Reduce processing costs.
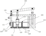
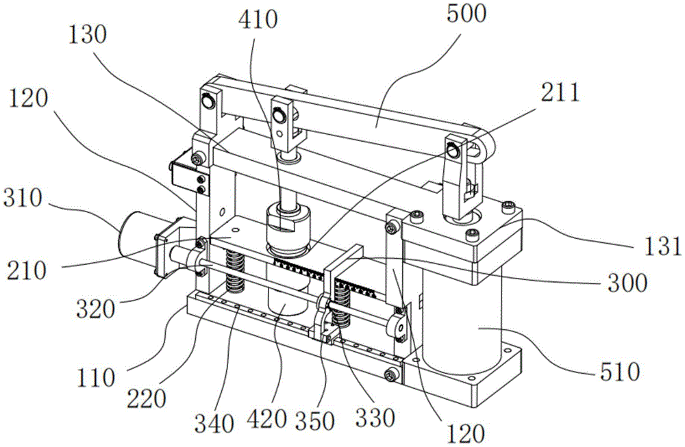
所述铜排Q专用圆形状脱胶工装,其包括固定架、弹性板、圆形切刀及调节杆300。The special circular degumming tool for the copper bar Q includes a fixed frame, an elastic plate, a circular cutter and an
所述固定架为矩形框架,其包括顶板130、底板110及两个侧板120,两个侧板120相互平行且固定于底板110的两端,顶板130固定于两个侧板120之上。具体的说:所述底板110为矩形板体,其可以具有一定厚度,从而提供稳定的支撑,两个侧板120结构相同且对称分布,每个所述侧板120上开设有条形孔,每个条形孔为弹跳孔121,两个所述弹跳孔121的位置相适配,所述顶板130覆盖于所述底板110之上,并与侧板120相连,构成一个完整矩形框架,并立装于一加工台上,所述的立装的意思是:上述底板110放置或被固定与加工台上,加工台为一加工用平台。The fixing frame is a rectangular frame, which includes a
需要说明的是:所述底板110的宽度(即:底板110短边的长度)大于顶板130及任一侧板120的宽度,也就是说:底板110沿其短边方向具有凸台;所述顶板130长度大于底板110的长度,即:顶板130沿底板110的长边方向具有一安装台131。It should be noted that: the width of the bottom plate 110 (that is: the length of the short side of the bottom plate 110) is greater than the width of the
所述凸台上固定有直线滑轨340;所述安装台131提供气缸510的安装位。The
所述弹性板包括板体210及弹性件220。所述板体210呈矩形状,沿其长边方向设置有两个凸块,两个凸块分别位于板体210的两端,两个凸块分别插入至两个侧板120的弹跳孔121内;所述板体210上开设有一通孔,所述通孔的位置可以根据需求进行设置,且通孔的孔径也是根据铜排Q需要剥离胶层尺寸设定,需要注意的是:所述通孔的孔径稍大于铜排Q需要剥离胶层尺寸;所述通孔为裁切让位孔211,该裁切让位孔211靠近所述固定架的一个侧板120设置;The elastic board includes a
所述板体210的侧面设置有标尺600,即:标尺600沿所述板体210的长边设置,并位于固定架底板110的凸台上方。所述标尺600的起始端对应裁切让位孔211的中心设置,即:所述标尺600的0尺寸一端对应所述裁切让位孔211中心,另一端则朝向固定架的一个侧板120设置。所述标尺600为直线型尺,其分度值为0.1cm,总长度为150cm。A
需要注意的是:所述板体210能沿弹跳孔121的方向进行升降的弹性位移。It should be noted that: the
所述弹性件220为套装有弹簧222的固定杆221,固定杆221从固定架穿过并伸入板体210的通孔内,弹簧222两端分别抵于固定架与板体210之间。具体的说:所述固定杆221从固定架的底板110朝向顶板130方向插入,其一端卡置于底板110内,另一端伸入至板体210上的通孔内,需要说明的是:固定杆221并不从板体210上的通孔内伸出。所述弹簧222的两端分别抵于固定架的底板110及板体210之间。当板体210由于下压力沿弹跳孔121方向朝固定架中底板110位移时,板体210压缩弹簧222,当下压力消失后,弹簧222复位将板体210推回,以复位。The
需要说明的是:为了提升弹性板的结构稳定性,于板体210与固定架的底板110之间设置有两个弹性件220,两个弹性件220间隔分布;在本实施例中,所述两个弹性件220分别位于所述裁切让位孔211的两侧。It should be noted that: in order to improve the structural stability of the elastic board, two
所述调节杆300位于弹性板之上,并与固定架滑动连接。所述调节杆300为L形短直杆,其位于板体210之上;调节杆300沿所述弹性板中板体210的短边方向设置,并位于所述板体210之上,由丝杆320驱动并沿丝杆320方向滑动位移。具体的说:沿固定架中底板110的长边方向安装有丝杆320,该丝杆320位于底板110与弹性板中板体210之间,丝杆320与底板110及板体210均相互平行,该丝杆320一端与电机310相连并由该电机310驱动旋转,所述电机310固定在固定架的一个侧板120之上,丝杆320上装配有螺母330,由丝杆320的旋转驱动螺母330沿丝杆320的轴向滑动位移;所述调节杆300的一端与螺母330连接并联动,以驱动调节杆300沿丝杆320方向滑动位移,即:所述调节杆300由电机310与丝杆320配合驱动,并沿所述丝杆320的轴向滑动位移;需要注意的是:上述标尺600沿所述调节杆300的滑动方向设置,从而根据标尺600上的尺寸读数调整调节杆300的具体位置。The adjusting
所述调节杆300朝向裁切让位孔211的一侧面为标准侧面,该标准侧面与标尺600上的任一读数线对齐,从而能准确且方便的进行位置判断,提升剥胶的便捷性及精确度。The side of the
为了进一步提升调节杆300滑动位移的稳定性,所述调节杆300还配备了滑动机构;所述滑动机构包括滑块350及上述的直线滑轨340,所述直线滑轨340沿固定座中底座长边方向设置,即:所述直线滑轨340与丝杆320相互平行;所述滑块350通过连杆与螺母330连接并联动,即:当螺母330沿丝杆320方向往复滑动的同时,螺母330驱动所述滑块350沿直线滑轨340方向往复滑动。In order to further improve the stability of the sliding displacement of the
所述圆形切刀包括上切刀410及下切刀420;所述下切刀420固装于固定架内,并位于弹性板下方,下切刀420的刀刃伸入至裁切让位孔211内;所述上切刀410由驱动件带动朝裁切让位孔211方向下降裁切。具体的说:所述上切刀410及下切刀420均为圆环形状的切刀;所述下切刀420具有上环形刀刃,并固定在固定架中底板110上,所述上环形刀刃伸入至裁切让位孔211内;所述上切刀410具有下环形刀刃,其吊装于所述下切刀420上方,并由驱动件带动朝裁切让位孔211方向下降裁切。The circular cutter includes an
所述的驱动件包括气缸510及驱动杆500,所述驱动杆500的一端铰接于固定架上,另一端与气缸510的输出端连接;所述气缸510紧靠固定架设置;所述上切刀410铰接于驱动杆500上,以驱动上切刀410下裁切。所述驱动杆500倾斜设置,其低端与固定架铰接,高端与气缸510的输出端连接并联动。具体的说:所述气缸510固定于固定架中顶板130的安装台131处,气缸510的输出端朝向固定架的顶板130方向设置;所述驱动杆500为一倾斜设置的直杆,其低端与固定架铰接,高端与气缸510的输出端连接并联动,所述上切刀410穿过固定架中顶板130的通孔与驱动杆500铰接。The drive member includes a
所述铜排Q专用圆形状脱胶工装的工作原理如下:The working principle of the special circular degumming tool for the copper bar Q is as follows:
准备铜排Q,该铜排Q外包裹有橡胶层I,利用铜排Q专用圆形状脱胶工装为定位点处的橡胶层I裁切圆环形切口,从而剥离橡胶层I,在铜排Q上获得圆形状暴露区,以配合后续使用。Prepare the copper bar Q, which is wrapped with a rubber layer I. Use the special circular degumming tool for the copper bar Q to cut a circular incision on the rubber layer I at the positioning point, so as to peel off the rubber layer I. On the copper bar Q Obtain a circular exposure area on the top for subsequent use.
将铜排Q放置于弹性板上,该铜排Q一端抵于固定架中一个侧板120上,另一端抵于调节杆300上,通过滑动调整调节杆300的位置,以适配当前铜排Q,并对铜排Q的尺寸进行读数(即:读取铜排Q于裁切让位孔211的中心处至调节杆300之间的距离),以备记录或后续使用;Place the copper bar Q on the elastic plate, one end of the copper bar Q is against a
由气缸510驱动上切刀410朝铜排Q方向下压裁切,下压裁切时,上切刀410抵于铜排Q上,裁切铜排Q上表面的橡胶层I;此时,铜排Q抵压弹性板,弹性板中板体210沿弹跳孔121方向下降,直至下切刀420的上圆环形刀刃从裁切让位孔211处伸出,以裁切铜排Q下表面的橡胶层I,从而实现上下同时裁切的目的;Driven by the
裁切完毕后,上切刀410上升复位,此时,弹性板的下压力消失,弹性板中板体210由于弹性件220中弹簧222复位力而沿弹跳孔121方向上升复位,以将下切刀420的刀刃隐藏,可将完成双面裁切的铜排Q取下;After the cutting is completed, the
沿上、下切刀420的裁切口对橡胶层I进行剥离,最终获得上、下表面均具有圆形状暴露区的铜排Q。The rubber layer I is peeled off along the cuts of the upper and
以上所述,仅为本实用新型较佳的具体实施方式,但本实用新型的保护范围并不局限于此,任何熟悉本技术领域的技术人员在本实用新型揭露的技术范围内,可轻易想到的变化或替换,都应涵盖在本实用新型的保护范围之内。因此,本实用新型的保护范围应该以权利要求的保护范围为准。The above is only a preferred embodiment of the utility model, but the scope of protection of the utility model is not limited thereto, and any person familiar with the technical field can easily think of All changes or replacements should fall within the protection scope of the present utility model. Therefore, the protection scope of the present utility model should be based on the protection scope of the claims.
Claims (9)
Priority Applications (1)
| Application Number | Priority Date | Filing Date | Title |
|---|---|---|---|
| CN202222114948.2U CN217833910U (en) | 2022-08-11 | 2022-08-11 | Special circular frock of coming unstuck of copper bar |
Applications Claiming Priority (1)
| Application Number | Priority Date | Filing Date | Title |
|---|---|---|---|
| CN202222114948.2U CN217833910U (en) | 2022-08-11 | 2022-08-11 | Special circular frock of coming unstuck of copper bar |
Publications (1)
| Publication Number | Publication Date |
|---|---|
| CN217833910U true CN217833910U (en) | 2022-11-18 |
Family
ID=84014021
Family Applications (1)
| Application Number | Title | Priority Date | Filing Date |
|---|---|---|---|
| CN202222114948.2U Active CN217833910U (en) | 2022-08-11 | 2022-08-11 | Special circular frock of coming unstuck of copper bar |
Country Status (1)
| Country | Link |
|---|---|
| CN (1) | CN217833910U (en) |
-
2022
- 2022-08-11 CN CN202222114948.2U patent/CN217833910U/en active Active
Similar Documents
| Publication | Publication Date | Title |
|---|---|---|
| CN205835465U (en) | A kind of polymer battery lug guillotine | |
| CN217833910U (en) | Special circular frock of coming unstuck of copper bar | |
| CN209453690U (en) | A four-station conductive strip cutting machine | |
| CN221836425U (en) | Adhesive tape cutting machine | |
| CN210616642U (en) | Biological tissue slicer | |
| CN219212002U (en) | A cutting mechanism for stainless steel strip | |
| CN212265900U (en) | Door and window adhesive tape cutting means | |
| CN211464485U (en) | Bridge position mechanism of knife bending machine | |
| CN211218458U (en) | A universal cutting tool for the pins of a partition-limited device | |
| CN112706421A (en) | Full-automatic slicing and rubberizing device | |
| CN203460213U (en) | A side cutting mechanism for plastic parts | |
| CN221561422U (en) | Automatic cutting device for edge sealing strips of wood boards | |
| CN218110898U (en) | A copper bar stripping tooling | |
| CN209036609U (en) | Cutting device with pre-compaction function | |
| CN111673481A (en) | A kind of automatic continuous cutting and feeding structure for brazing sheet | |
| CN220661175U (en) | Positioning cutting machine for lens back adhesive processing | |
| CN207344700U (en) | A kind of solar components edge tool and its installs fixture | |
| CN220840569U (en) | Die cutting device convenient to adhesive sticker wall pastes location | |
| CN220840520U (en) | Perforating device for self-adhesive paper | |
| CN222582665U (en) | Copper-clad plate feather edge cutting positioner | |
| CN219664863U (en) | Supporting disc shearing equipment | |
| CN217531078U (en) | A pipe punching positioning device | |
| CN222494414U (en) | Side cut device is used in macromolecular material production | |
| CN217956336U (en) | Contact pin blanking device for Hall sensor | |
| CN222812663U (en) | Clamping positioning hardness test fixture table |
Legal Events
| Date | Code | Title | Description |
|---|---|---|---|
| GR01 | Patent grant | ||
| GR01 | Patent grant | ||
| PE01 | Entry into force of the registration of the contract for pledge of patent right | ||
| PE01 | Entry into force of the registration of the contract for pledge of patent right |
Denomination of utility model: Copper bar special circular debonding fixture Granted publication date: 20221118 Pledgee: Industrial and Commercial Bank of China Limited Xiamen Tong'an Branch Pledgor: Xiamen xinliqi Technology Co.,Ltd. Registration number: Y2025980013554 |
