CN217773169U - A mobile device for youth basketball shooting training - Google Patents
A mobile device for youth basketball shooting training Download PDFInfo
- Publication number
- CN217773169U CN217773169U CN202221022508.8U CN202221022508U CN217773169U CN 217773169 U CN217773169 U CN 217773169U CN 202221022508 U CN202221022508 U CN 202221022508U CN 217773169 U CN217773169 U CN 217773169U
- Authority
- CN
- China
- Prior art keywords
- rod
- support
- basketball
- shooting
- movable
- Prior art date
- Legal status (The legal status is an assumption and is not a legal conclusion. Google has not performed a legal analysis and makes no representation as to the accuracy of the status listed.)
- Active
Links
Images
Landscapes
- Load-Engaging Elements For Cranes (AREA)
- Refuge Islands, Traffic Blockers, Or Guard Fence (AREA)
Abstract
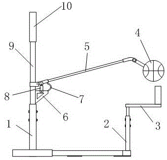
本实用新型公开了一种用于青少年篮球投篮训练的可移动设备,包括第一支架,第一支架的一侧连接有第二支架,第二支架的上端设有手臂支架;所述第一支架上端连接主支撑杆,主支撑杆的顶端设有篮板;所述主支撑杆的中上部活动设有活动支撑杆,活动支撑杆的空余端连接篮球组件;在所述活动支撑杆下方的主支撑杆上固定有三角支架,活动支撑杆和三角支架之间设有弹性绳和液压杆。本申请设备严格规范了投篮基本技术动作的持球手法、瞄准点、投篮球动作的发力顺序、球飞行弧线、球旋转等投篮技术动作,这些投篮基本技术动作是高投篮命中率的保障。通过本申请设备规范青少年的投篮技术动作,形成投篮技术动作动力定型,有助于提高投篮命中率。
The utility model discloses a movable device for basketball shooting training for teenagers, which comprises a first support, a second support is connected to one side of the first support, and an arm support is arranged at the upper end of the second support; the first support The upper end is connected to the main support rod, and the top of the main support rod is provided with a backboard; the middle and upper part of the main support rod is movable with a movable support rod, and the spare end of the movable support rod is connected to the basketball assembly; the main support below the movable support rod A tripod is fixed on the rod, and an elastic rope and a hydraulic rod are arranged between the movable support rod and the tripod. The equipment of this application strictly regulates the basic technical movements of shooting, such as the ball-holding technique, aiming point, force sequence of shooting basketball movements, ball flight arc, ball rotation and other shooting technical movements. These basic technical movements of shooting are the guarantee of high shooting percentage . Through the device of the application, the shooting technical movements of teenagers are regulated, and the driving force of the shooting technical movements is formed, which helps to improve the shooting percentage.
Description
技术领域technical field
本实用新型涉及体育训练设备领域,特别涉及一种用于青少年篮球投篮技术动作训练的可移动设备。The utility model relates to the field of sports training equipment, in particular to a movable equipment used for training the basketball shooting technique of teenagers.
背景技术Background technique
投篮是篮球运动的主要进攻技术,是得分的唯一手段。一切进攻技术、战术运用的最终目的,都是为了创造更多的投篮机会、力争投中得分。如何规范青少年篮球运动员的投篮动作,形成标准的投篮技术动作,提高投篮命中率,对于青少年篮球运动员极为重要。现有的投篮设备被运用于投篮训练、投篮娱乐和游戏,缺乏对投篮基本技术动作规范的训练和引导。青少年篮球初学者的投篮技术动作训练方法更多是面对篮筐模仿练习,这种训练方法缺乏针对性、实用性,受到外界干扰容易动作变形,不易青少年运动员形成技术动作定型。Shooting is the main offensive technique in basketball and the only means of scoring. The ultimate goal of all offensive techniques and tactics is to create more shooting opportunities and strive to score. How to regulate the shooting action of young basketball players, form a standard shooting technique, and improve the shooting percentage is extremely important for young basketball players. Existing shooting equipment is used in shooting training, shooting entertainment and games, and lacks training and guidance to the basic technical action norms of shooting. The shooting technical action training method of youth basketball beginners is more to imitate the practice of facing the basket. This training method lacks pertinence and practicality. It is easy to deform the action due to external interference, and it is not easy for young athletes to form technical action stereotypes.
所以,申请人认为提供一种用于青少年投篮训练可移动器材有助于规范青少年投篮技术动作、固定投篮技术,通过该器材练习能够使青少年熟练掌握投篮基本技术动作,上下肢协调发力,提高投篮命中率有着极其重要作用。Therefore, the applicant believes that providing a movable device for shooting training for teenagers will help to standardize the shooting skills and fixed shooting skills of teenagers. Through the practice of this equipment, teenagers can master the basic technical movements of shooting, coordinate the upper and lower limbs, and improve Field goal percentage plays an extremely important role.
实用新型内容Utility model content
本实用新型为了解决现有的投篮器材主要用于投篮训练,而无法用于规范初学者投篮技术的问题,提供了一种用于青少年篮球投篮训练的可移动设备。In order to solve the problem that the existing shooting equipment is mainly used for shooting training, but cannot be used for standardizing beginners' shooting skills, the utility model provides a movable device for basketball shooting training for teenagers.
本实用新型是通过以下技术方案得以实现的。The utility model is achieved through the following technical solutions.
一种用于青少年篮球投篮训练的可移动设备,包括第一支架,第一支架的一侧连接有第二支架,第二支架的上端设有手臂支架;所述第一支架上端连接主支撑杆,主支撑杆的顶端设有篮板;所述主支撑杆的中上部活动设有活动支撑杆,活动支撑杆的空余端连接篮球组件;在所述活动支撑杆下方的主支撑杆上固定有三角支架,活动支撑杆和三角支架之间设有弹性绳和液压杆。A mobile device for basketball shooting training for teenagers, comprising a first bracket, one side of the first bracket is connected with a second bracket, and an arm bracket is arranged at the upper end of the second bracket; the upper end of the first bracket is connected with a main support rod , the top of the main support rod is provided with a backboard; the middle and upper part of the main support rod is movable with a movable support rod, and the spare end of the movable support rod is connected to a basketball assembly; a triangle is fixed on the main support rod below the movable support rod. An elastic rope and a hydraulic rod are arranged between the support, the movable support rod and the tripod.
进一步的,所述第一支架包括第一底座,第一底座的中部垂直连接第一立柱;所述主支撑杆的底端插入第一立柱内。Further, the first support includes a first base, the middle part of the first base is vertically connected to the first column; the bottom end of the main support rod is inserted into the first column.
进一步的,所述第二支架包括第二底座,第二底座的一端与第一支架连接,第二底座的另一端垂直连接第二立柱;所述手臂支架的末端插入第二立柱内。Further, the second support includes a second base, one end of the second base is connected to the first support, and the other end of the second base is vertically connected to the second column; the end of the arm support is inserted into the second column.
进一步的,所述手臂支架包括相互垂直的立杆和横杆,所述立杆的末端插入第二支架内;在横杆远离立杆的一端设有U型限位架。Further, the arm bracket includes a vertical bar and a cross bar perpendicular to each other, and the end of the vertical bar is inserted into the second bracket; a U-shaped limit frame is provided at the end of the cross bar away from the vertical bar.
进一步的,所述活动支撑杆通过固定块与主支撑杆连接;所述固定块呈U型,固定块的两臂之间设有旋转轴,活动支撑杆的末端穿设在旋转轴上。Further, the movable support rod is connected to the main support rod through a fixed block; the fixed block is U-shaped, a rotating shaft is arranged between the two arms of the fixed block, and the end of the movable supporting rod is passed through the rotating shaft.
进一步的,所述活动支撑杆包括连接管,连接管的两端分别设有第一外套管和第二外套管;所述第一外套管远离连接管的一端与主支撑杆连接;第二外套管远离连接管的一端与篮球组件连接。Further, the movable support rod includes a connecting pipe, and the two ends of the connecting pipe are respectively provided with a first outer sleeve and a second outer sleeve; the end of the first outer sleeve away from the connecting pipe is connected to the main support rod; the second outer sleeve One end of the tube away from the connecting tube is connected with the basketball assembly.
进一步的,所述第一外套管和三角支架之间设有液压杆;第一外套管的端部和三角支架的端部之间通过弹性绳连接。Further, a hydraulic rod is provided between the first outer casing and the tripod; the end of the first outer casing and the end of the tripod are connected by an elastic cord.
进一步的,所述篮球组件包括仿真篮球,仿真篮球与连接杆连接,连接杆通过轴承固定在L型连接杆的末端,L型连接杆远离仿真篮球的一端与活动支撑杆连接。Further, the basketball assembly includes a simulated basketball, the simulated basketball is connected to a connecting rod, the connecting rod is fixed to the end of the L-shaped connecting rod through a bearing, and the end of the L-shaped connecting rod away from the simulated basketball is connected to the movable support rod.
本申请具有以下有益效果。The application has the following beneficial effects.
本申请的青少年投篮训练设备根据篮球投篮技术原理和人体结构设计而成,通过该器材能够规范和固定青少年投篮技术动作,应用该器材训练能够使初学者熟练掌握投篮技术动作、投篮时全身协调用力,以及投篮的压腕和拨指等动作,对提高投篮命中率有着极其重要的作用。另外,本申请的投篮训练设备方便拆卸,可组装于不同的场景对青少年进行训练,同时也方便了运输和收纳。本实用新型结构简单,使用方便,使用效果好,具有广阔的应用前景。The youth shooting training equipment of this application is designed according to the technical principle of basketball shooting and human body structure. The shooting technical movements of young people can be standardized and fixed through this equipment. Training with this equipment can enable beginners to master the shooting technical movements proficiently and coordinate their whole body when shooting. , As well as shooting wrist pressing and fingers and other actions, have an extremely important role in improving the shooting percentage. In addition, the shooting training device of the present application is easy to disassemble, and can be assembled in different scenes to train teenagers, and it is also convenient for transportation and storage. The utility model has the advantages of simple structure, convenient use, good use effect and wide application prospect.
附图说明Description of drawings
图1是本实用新型的主视图(篮球未投出);Fig. 1 is the front view of the utility model (the basketball is not thrown);
图2是本实用新型的主视图(篮球投出);Fig. 2 is the front view of the utility model (basketball thrown);
图3是本实用新型中第一支架和第二支架的俯视图;Fig. 3 is the top view of the first bracket and the second bracket in the utility model;
图4是本实用新型中手臂支架和第二支架的结构示意图;Fig. 4 is the structural representation of arm bracket and second bracket in the utility model;
图5是本实用新型中篮球组件与活动支撑杆的连接方式示意图;Fig. 5 is a schematic diagram of the connection mode between the basketball assembly and the movable support rod in the utility model;
图6是本实用新型中仿真篮球的结构示意图;Fig. 6 is the structural representation of artificial basketball in the utility model;
图7是本实用新型中活动支撑杆与主支撑杆的连接方式示意图。Fig. 7 is a schematic diagram of the connection mode between the movable support rod and the main support rod in the utility model.
其中,1.第一支架;101.第一立柱;102.第一底座; 2.第二支架;201.第二立柱;202.第二底座;203.防滑垫;3.手臂支架;301.立杆;302.横杆;303.U型限位架;4.篮球组件;401.仿真篮球;402.连接杆;403.L型连接杆;5.活动支撑杆;501.第一外套管;502.连接管;503.第二外套管;6.三角支架;7.弹性绳;8.液压杆;801.固定架;9.主支撑杆;901. 固定块;10.篮板。Among them, 1. The first support; 101. The first column; 102. The first base; 2. The second support; 201. The second column; 202. The second base; 203. Anti-skid pad; 3. Arm support; 301. 302. Cross bar; 303. U-shaped limit frame; 4. Basketball assembly; 401. Simulation basketball; 402. Connecting rod; 403. L-shaped connecting rod; 5. Movable support rod; 501. First outer sleeve ; 502. connecting pipe; 503. second outer sleeve; 6. triangular support; 7. elastic rope; 8. hydraulic rod; 801. fixed frame; 9. main support rod;
具体实施方式Detailed ways
下面结合附图和实施例对本实用新型进行进一步的说明。Below in conjunction with accompanying drawing and embodiment the utility model is further described.
如图1-7所示,一种用于青少年篮球投篮训练的可移动设备,包括第一支架1、第二支架2、手臂支架3、篮球组件4、活动支撑杆5、三角支架6、弹性绳7、液压杆8、主支撑杆9和篮板10。As shown in Figure 1-7, a kind of mobile equipment that is used for youth basketball shooting training, comprises
所述第一支架1包括第一底座102,第一底座102为正方形或长方形框架,其中间形成十字交叉的加强钢管。在其中一个加强钢管对应的框架壁上形成插入口,此插入口用于第二支架2的插入。在十字交叉的加强钢管的中央垂直连接第一立柱101,第一立柱101内形成中空结构,用于主支撑杆9的插入,第一立柱101的侧壁上形成多个通孔,多个通孔位于同一条直线上。本申请形成较稳定的底座,保证了青少年在训练过程中的安全性以及器械的稳定性。The
所述第二支架2包括第二底座202,第二底座202包括T型设置的第一方钢管和第二方钢管,第一方钢管的一端插入第一底座102形成的插入口内。第一方钢管和第二方钢管的交接处垂直连接第二立柱201,第二立柱201内形成中空结构,第二立柱201的侧壁上形成多个通孔,多个通孔位于同一条直线上。为了提高第二支架2的稳定性,本申请在第二底座202的底部还设有防滑垫203,增大第二支架2与地面的摩擦力,防止第二支架2在使用过程中发生位移。本申请可根据运动员身高、手臂长短不同,随时调整第一支架1和第二支架2之间的距离,以保证运动员投篮的舒适性和规范性,同时提高了器材运用的灵活性。The
所述手臂支架3包括相互垂直的立杆301和横杆302,所述立杆301上形成多个通孔,多个通孔位于同一条直线上,立杆301的末端插入第二立柱201内,立杆301上的通孔与第二立柱201上的通孔相对应,通过将螺栓插入通孔内,从而实现第二立柱201和立杆301相对位置的固定,进而可随着运动员身高变化实现手臂支架3高度的调节;在横杆302远离立杆301的一端垂直设有U型限位架303,U型限位架303用于规范运动员投篮球动作,保持正确的肘关节的角度,U型限位架303与横杆302呈垂直状态,用于固定肘关节位置,避免肘关节过分向上和向下,保持大臂与身体躯干形成90度。所有支撑结构的部署均避开了U型限位架303正下方的区域,其原因是,运动员做投篮训练时,屈膝下蹲的动作会导致膝盖进入该区域,如果在该区域设计支撑结构,难免撞到膝盖,影响练习的安全性。The
所述主支撑杆9的下端插入第一立柱101内,主支撑杆9的下部侧壁上形成多个通孔,多个通孔位于同一条直线上,主支撑杆9上的通孔与第一立柱101的通孔相对应,通过将螺栓插入通孔内,从而实现第一立柱101和主支撑杆9相对位置的固定,进而实现主支撑杆9高度的调节,用于控制整个训练器械的高低度。在投篮球训练过程中,运动员存在身高差异性,根据不同的身高调整模拟篮板适宜高度,以保障运动员的训练效果。另外,通过改变器材的高度,还可以用于训练成人、青少年投篮技术动作,同时可以训练运动员原地跳投技术。The lower end of the
在实际投篮时,运动员选择一点物体作为投篮参照物或者瞄准点,一般情况下选择篮筐或者篮板的某部分。所以,本申请主支撑杆9的顶端设有篮板10,篮板10用于模拟实际投篮训练,提高训练真实性。When actually shooting, the athlete selects a point object as a shooting reference object or aiming point, usually a certain part of the basket or the backboard. Therefore, the top of the
在所述主支撑杆9的中上部固定有U型的固定块901,固定块901的两臂之间设有旋转轴,活动支撑杆5的末端穿设在旋转轴上,活动支撑杆5可沿旋转轴旋转一定角度。运动员投篮时,通过蹬、伸、提、压、拨等投篮技术施加作用力,使活动支撑杆5随篮球进行上下摆动,支撑着篮球在空中的飞行路线。A U-shaped fixed
所述活动支撑杆5包括连接管502,连接管502的两端分别设有第一外套管501和第二外套管503;所述第一外套管501远离连接管502的一端穿设在固定块901的旋转轴上;第二外套管503远离连接管502的一端与篮球组件4连接。The
在所述固定块901下方的主支撑杆9上固定有三角支架6,第一外套管501和三角支架6之间设有液压杆8和弹性绳7。所述液压杆8的两端均连接U型的固定架801,两个固定架801分别连接在三角支架6的中部和第一外套管501的中部。所述连接绳7的两端分别连接在三角支架6的端部和第一外套管501的端部。本申请的液压杆8对活动支撑杆5和球下落过程起到缓冲作用,保持投篮过程具有一定节奏感和速度感;弹性绳7起到限制活动支撑杆5旋转角度的作用,到达最高点篮球不能上升时,控制活动支撑杆5和球及时返回,以便开始下一次投篮动作。A
本申请的篮球组件4包括仿真篮球401,仿真篮球401可分为5号球、6号球、7号球三种类型。仿真篮球401与连接杆402连接,连接杆402的中部为六边形或方形杆体,末端为圆柱形杆体并设有螺纹。所述连接杆402穿设在L型连接杆403一端的安装孔内,安装孔内设有轴承。L型连接杆403远离仿真篮球401的一端与第二外套管503连接。本申请借助篮球能够固定青少年投篮手部动作,以及球可以进行适宜的旋转,提高投篮命中率。在投篮过程中,运动员用食指和中指拨球以及压腕动作使球向后旋转,提高球飞行稳定性。The
本具体实施方式的实施例均为本实用新型的较佳实施例,并非依此限制本实用新型的保护范围,故:凡依本实用新型的结构、形状、原理所做的等效变化,均应涵盖于本实用新型的保护范围之内。The embodiments of this specific embodiment are all preferred embodiments of the present utility model, and are not intended to limit the protection scope of the present utility model accordingly: all equivalent changes made according to the structure, shape and principle of the present utility model are all applicable. Should be covered within the protection scope of the present utility model.
Claims (8)
Priority Applications (1)
| Application Number | Priority Date | Filing Date | Title |
|---|---|---|---|
| CN202221022508.8U CN217773169U (en) | 2022-04-29 | 2022-04-29 | A mobile device for youth basketball shooting training |
Applications Claiming Priority (1)
| Application Number | Priority Date | Filing Date | Title |
|---|---|---|---|
| CN202221022508.8U CN217773169U (en) | 2022-04-29 | 2022-04-29 | A mobile device for youth basketball shooting training |
Publications (1)
| Publication Number | Publication Date |
|---|---|
| CN217773169U true CN217773169U (en) | 2022-11-11 |
Family
ID=83908286
Family Applications (1)
| Application Number | Title | Priority Date | Filing Date |
|---|---|---|---|
| CN202221022508.8U Active CN217773169U (en) | 2022-04-29 | 2022-04-29 | A mobile device for youth basketball shooting training |
Country Status (1)
| Country | Link |
|---|---|
| CN (1) | CN217773169U (en) |
-
2022
- 2022-04-29 CN CN202221022508.8U patent/CN217773169U/en active Active
Similar Documents
| Publication | Publication Date | Title |
|---|---|---|
| US10500465B1 (en) | Multi-functional basketball cross-training device, system, and method | |
| CN104307155B (en) | A kind of Multifunctional basketball dribble Partner training device | |
| CN207913176U (en) | Badminton teaching device | |
| WO2008071031A1 (en) | Inflatable type golf swing training apparatus | |
| CN217773169U (en) | A mobile device for youth basketball shooting training | |
| KR20100023698A (en) | Badminton exercise implement by oneself | |
| CN114504801A (en) | Golf game simulation and competition method thereof | |
| KR200443747Y1 (en) | Narrow racket | |
| US9486682B2 (en) | Ball game | |
| CN211659219U (en) | Football hanging ball shooting practice device | |
| CN103007521B (en) | Court equipment of fitness ball game ground volleyball | |
| CN212235931U (en) | A physical fitness training device for multifunctional football teaching | |
| CN201799079U (en) | Assisting exercising machine for overhead kick in soccer | |
| CN102481476B (en) | Racquet game set for tight indoor spaces | |
| CN223082205U (en) | Table tennis target training device | |
| CN210096856U (en) | Vertical table tennis table | |
| CN201988143U (en) | Qiankun ball and ball net | |
| CN209809443U (en) | A ball frame for shooting practice in college sports | |
| CN111659094B (en) | Cantilever type sliding step trainer | |
| CN207071207U (en) | A kind of elastic force tennis ball hitting training aids | |
| JP3216541U (en) | Stick boring equipment | |
| CN209596530U (en) | A foot exercise device for kicking football | |
| CN211273442U (en) | Rattan ball | |
| CN207307051U (en) | A kind of trampoline runs wall device | |
| CN210078804U (en) | A football positioning device |
Legal Events
| Date | Code | Title | Description |
|---|---|---|---|
| GR01 | Patent grant | ||
| GR01 | Patent grant |
