CN217750513U - Tool clamp for machining motor shaft - Google Patents
Tool clamp for machining motor shaft Download PDFInfo
- Publication number
- CN217750513U CN217750513U CN202222028876.XU CN202222028876U CN217750513U CN 217750513 U CN217750513 U CN 217750513U CN 202222028876 U CN202222028876 U CN 202222028876U CN 217750513 U CN217750513 U CN 217750513U
- Authority
- CN
- China
- Prior art keywords
- motor shaft
- seat
- close
- pressing
- machining
- Prior art date
- Legal status (The legal status is an assumption and is not a legal conclusion. Google has not performed a legal analysis and makes no representation as to the accuracy of the status listed.)
- Active
Links
Images
Landscapes
- Jigs For Machine Tools (AREA)
Abstract
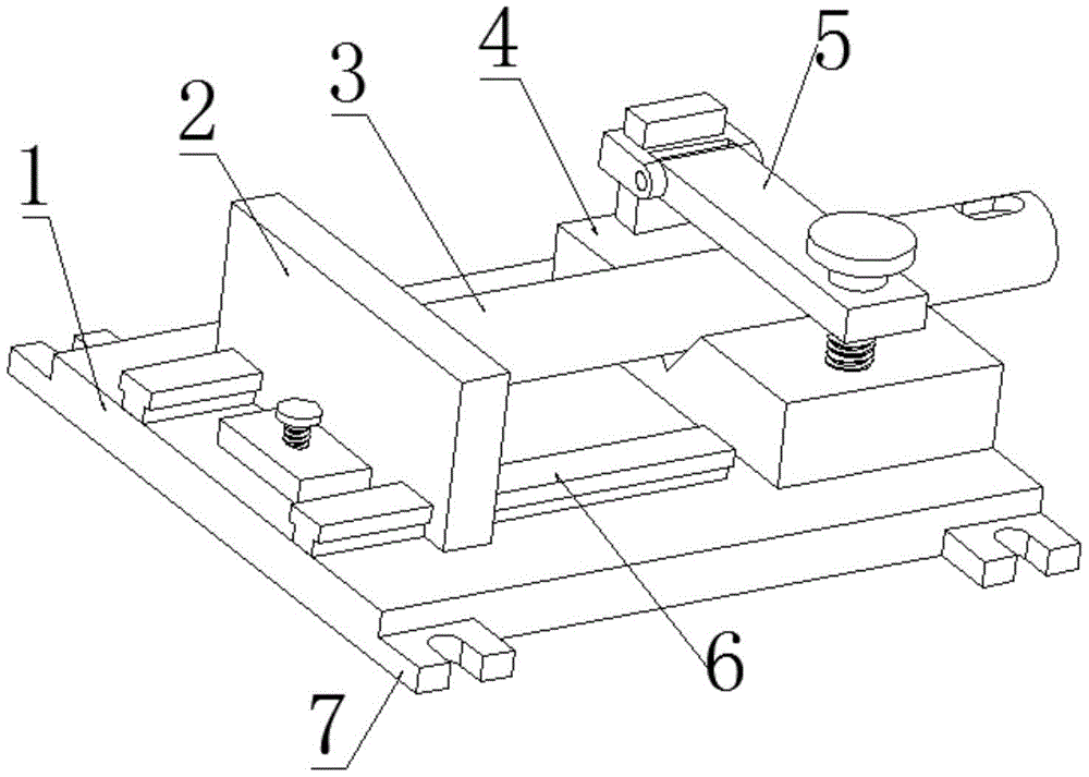
本实用新型公开了一种电机轴加工用工装夹具,包括固定座,固定座的上表面靠近右端固定安装有限位座,且限位座的上表面中间位置限位放置有电机轴,限位座的上表面还设置有对电机轴进行压紧的压紧机构,压紧机构可进行压紧高度调节,固定座的上表面靠近左端设置有对电机轴左端进行限位的定位板,定位板可进行左右方向的位置调节,在对电机轴进行定位装夹时,将其放置在限位座上进行限位放置,并使得电机轴的一端紧靠在定位板上进行位置确定,通过压紧机构对其进行压紧固定从而完成对电机轴加工时的定位装夹,使得电机轴的定位装夹更加的方便。
The utility model discloses a tooling fixture for machining a motor shaft, which comprises a fixing seat, a limit seat is fixedly installed on the upper surface of the fixing seat near the right end, and a motor shaft is positioned at the middle position of the upper surface of the limit seat, and the limit seat The upper surface of the motor shaft is also provided with a pressing mechanism for pressing the motor shaft, and the pressing mechanism can adjust the pressing height. Adjust the position in the left and right directions. When positioning and clamping the motor shaft, place it on the limit seat for limit placement, and make one end of the motor shaft close to the positioning plate for position determination. It is pressed and fixed to complete the positioning and clamping of the motor shaft during processing, which makes the positioning and clamping of the motor shaft more convenient.
Description
技术领域technical field
本实用新型涉及电机轴加工技术领域,具体为一种电机轴加工用工装夹具。The utility model relates to the technical field of motor shaft processing, in particular to a tooling fixture for motor shaft processing.
背景技术Background technique
电机轴在进行生产加工时通过车床对其加工成形后还需要对电机轴端头部位进行铣键槽加工。After the motor shaft is processed by a lathe, it is necessary to mill the keyway at the end of the motor shaft.
现有的电机轴在进行铣键槽加工时,需要通过台虎钳将其装夹固定在铣床的工作台上,而在铣键槽时还需要对刀才能进行加工,而在加工下一个电机轴时还需要重新的对刀,不能够对电机轴进行快速定位装夹。When the existing motor shaft is milling the keyway, it needs to be clamped and fixed on the workbench of the milling machine through a bench vise, and the tool needs to be machined when milling the keyway, and when the next motor shaft is processed It also needs to re-set the tool, and it is impossible to quickly position and clamp the motor shaft.
实用新型内容Utility model content
为了解决上述存在的问题,本申请提供了一种电机轴加工用工装夹具,采用如下的技术方案:In order to solve the above existing problems, the application provides a tooling fixture for motor shaft processing, which adopts the following technical solution:
一种电机轴加工用工装夹具,包括固定座,固定座的上表面靠近右端固定安装有限位座,且限位座的上表面中间位置限位放置有电机轴,限位座的上表面还设置有对电机轴进行压紧的压紧机构,压紧机构可进行压紧高度调节,固定座的上表面靠近左端设置有对电机轴左端进行限位的定位板,定位板可进行左右方向的位置调节。A tooling fixture for motor shaft processing, comprising a fixed seat, the upper surface of the fixed seat is fixedly installed with a limit seat near the right end, and the motor shaft is placed in the middle position of the upper surface of the limit seat, and the upper surface of the limit seat is also provided with There is a pressing mechanism for pressing the motor shaft. The pressing mechanism can adjust the pressing height. The upper surface of the fixing seat is near the left end. There is a positioning plate for limiting the left end of the motor shaft. The positioning plate can be used for left and right positions adjust.
通过采用上述技术方案,在对电机轴进行定位装夹时,将其放置在限位座上进行限位放置,并使得电机轴的一端紧靠在定位板上进行位置确定,通过压紧机构对其进行压紧固定从而完成对电机轴加工时的定位装夹,使得电机轴的定位装夹更加的方便。By adopting the above technical scheme, when positioning and clamping the motor shaft, place it on the limit seat for limit placement, and make one end of the motor shaft close to the positioning plate to determine the position. It is pressed and fixed to complete the positioning and clamping of the motor shaft during processing, making the positioning and clamping of the motor shaft more convenient.
较佳的,限位座的上表面中间位置设置有V型槽,且限位座的上表面靠近后端设置有与压紧机构连接配合的固定杆,限位座的上表面靠近前端设置有螺纹孔。Preferably, a V-shaped groove is provided at the middle position of the upper surface of the limit seat, and a fixing rod connected and matched with the pressing mechanism is provided on the upper surface of the limit seat near the rear end, and a fixed rod is provided on the upper surface of the limit seat near the front end. Threaded hole.
通过采用上述技术方案,限位座通过V型槽对电机轴进行限位放置,并通过固定杆与压紧机构进行固定连接。By adopting the above-mentioned technical solution, the limit seat places the motor shaft in a limit position through the V-shaped groove, and is fixedly connected with the pressing mechanism through the fixing rod.
较佳的,压紧机构包括套在固定杆上的调节套,调节套的后侧旋拧有固定螺丝,且调节套的前侧转动连接有压杆,压杆靠近前端穿插有旋拧在螺纹孔内的压紧螺丝。Preferably, the pressing mechanism includes an adjusting sleeve set on the fixed rod, the rear side of the adjusting sleeve is screwed with a fixing screw, and the front side of the adjusting sleeve is rotatably connected with a pressing rod, and the pressing rod is interspersed with a threaded screw thread near the front end. Compression screw in the hole.
通过采用上述技术方案,压紧机构通过调节套套在固定杆上,并通过固定螺丝进行锁紧固定实现与固定杆的固定连接,并通过压杆对电机轴进行压紧固定。By adopting the above technical solution, the pressing mechanism is sleeved on the fixing rod through the adjusting sleeve, and is locked and fixed by the fixing screw to realize the fixed connection with the fixing rod, and the motor shaft is pressed and fixed by the pressing rod.
较佳的,压紧螺丝的上端设置有圆柱形的挡块,且挡块的上端设置有转柄。Preferably, the upper end of the compression screw is provided with a cylindrical stopper, and the upper end of the stopper is provided with a turning handle.
通过采用上述技术方案,利用转柄旋拧压紧螺丝使其旋拧在螺纹孔内使得压杆对电机轴进行压紧固定。By adopting the above technical solution, the pressing screw is screwed into the threaded hole by using the rotating handle so that the pressing rod can press and fix the motor shaft.
较佳的,定位板的下侧靠近前后两端位置均设置有T型的导向卡槽,固定座的上表面固定安装有两个与导向卡槽配合的导轨,定位板的左侧靠近下端设置有锁块,且锁块上竖直旋拧有锁紧螺丝。Preferably, the lower side of the positioning plate is provided with T-shaped guide slots close to the front and rear ends, and the upper surface of the fixing base is fixedly equipped with two guide rails that match the guide slots, and the left side of the positioning plate is provided near the lower end. There is a lock block, and a lock screw is vertically screwed on the lock block.
通过采用上述技术方案,定位板通过导向卡槽卡在导轨上实现左右方向的位置调节从而实现对电机轴的定位位置调节。By adopting the above technical solution, the positioning plate is clamped on the guide rail through the guide slot to realize the position adjustment in the left and right direction, so as to realize the positioning position adjustment of the motor shaft.
较佳的,固定座靠近四个拐角处均固定设置有安装块,且安装块上设置有U型的开口。Preferably, mounting blocks are fixedly provided near the four corners of the fixing base, and U-shaped openings are provided on the mounting blocks.
通过采用上述技术方案,固定座通过安装块与铣床工装台上的压板螺杆压紧配合。By adopting the above technical scheme, the fixing seat is press-fitted with the pressing plate screw rod on the tooling table of the milling machine through the mounting block.
与现有技术相比,本实用新型的有益效果是:Compared with the prior art, the beneficial effects of the utility model are:
1、在对电机轴进行定位装夹时,将其放置在限位座上进行限位放置,并使得电机轴的一端紧靠在定位板上进行位置确定,通过压紧机构对其进行压紧固定从而完成对电机轴加工时的定位装夹,使得电机轴的定位装夹更加的方便;1. When positioning and clamping the motor shaft, place it on the limit seat for limit placement, and make one end of the motor shaft close to the positioning plate to determine the position, and press it through the compression mechanism Fixed to complete the positioning and clamping of the motor shaft during processing, making the positioning and clamping of the motor shaft more convenient;
2、通过可进行左右调节的定位板以及可进行压紧高度调节的压紧机构能够满足对不同尺寸的电机轴的定位装夹,具有较好的使用灵活性。2. Through the positioning plate that can be adjusted left and right and the pressing mechanism that can adjust the pressing height, it can meet the positioning and clamping of motor shafts of different sizes, and has good flexibility in use.
附图说明Description of drawings
为了更清楚地说明本实用新型实施方式的技术方案,下面将对实施方式中所需要使用的附图作简单地介绍,应当理解,以下附图仅示出了本实用新型的某些实施例,因此不应被看作是对范围的限定,对于本领域普通技术人员来讲,在不付出创造性劳动的前提下,还可以根据这些附图获得其他相关的附图。In order to more clearly illustrate the technical solutions of the embodiments of the present invention, the following drawings will be briefly introduced in the embodiments. It should be understood that the following drawings only show some embodiments of the present invention. Therefore, it should not be regarded as a limitation on the scope. For those skilled in the art, other related drawings can also be obtained according to these drawings without creative work.
图1是本实用新型一种电机轴加工用工装夹具的立体图;Fig. 1 is a perspective view of a tooling fixture for machining a motor shaft of the present invention;
图2是本实用新型所示的一种电机轴加工用工装夹具的限位座示意图;Fig. 2 is a schematic diagram of a limit seat of a tooling fixture for motor shaft processing shown in the present invention;
图3是本实用新型所示的一种电机轴加工用工装夹具的压紧机构示意图;Fig. 3 is a schematic diagram of a clamping mechanism of a jig for machining a motor shaft shown in the present invention;
图4是本实用新型所示的一种电机轴加工用工装夹具的压紧螺丝示意图;Fig. 4 is a schematic diagram of a compression screw of a jig for machining a motor shaft shown in the present invention;
图5是本实用新型所示的一种电机轴加工用工装夹具的定位板示意图。Fig. 5 is a schematic diagram of a positioning plate of a jig for machining a motor shaft shown in the present invention.
图中:1、固定座;2、定位板;21、导向卡槽;22、锁块;23、锁紧螺丝;3、电机轴;4、限位座;41、固定杆;42、V型槽;43、螺纹孔;5、压紧机构;51、固定螺丝;52、调节套;53、压杆;54、压紧螺丝;541、转柄;542、挡块;6、导轨;7、安装块。In the figure: 1. Fixing seat; 2. Positioning plate; 21. Guide slot; 22. Locking block; 23. Locking screw; 3. Motor shaft; 4. Limiting seat; 41. Fixing rod; 42. V-shaped Groove; 43, threaded hole; 5, pressing mechanism; 51, fixing screw; 52, adjusting sleeve; 53, pressing rod; 54, pressing screw; 541, turning handle; 542, block; Install blocks.
具体实施方式Detailed ways
为使本实用新型实施方式的目的、技术方案和优点更加清楚,下面将结合本实用新型实施方式中的附图,对本实用新型实施方式中的技术方案进行清楚、完整地描述,显然,所描述的实施方式是本实用新型一部分实施方式,而不是全部的实施方式。基于本实用新型中的实施方式,本领域普通技术人员在没有作出创造性劳动前提下所获得的所有其他实施方式,都属于本实用新型保护的范围。因此,以下对在附图中提供的本实用新型的实施方式的详细描述并非旨在限制要求保护的本实用新型的范围,而是仅仅表示本实用新型的选定实施方式。In order to make the purposes, technical solutions and advantages of the embodiments of the utility model clearer, the technical solutions in the embodiments of the utility model will be clearly and completely described below in conjunction with the accompanying drawings in the embodiments of the utility model. Obviously, the described The embodiments described above are some of the embodiments of the present utility model, but not all of them. Based on the implementation manners in the present utility model, all other implementation manners obtained by those skilled in the art without making creative efforts belong to the scope of protection of the present utility model. Therefore, the following detailed description of the embodiments of the invention provided in the accompanying drawings is not intended to limit the scope of the claimed invention, but merely represents selected embodiments of the invention.
实施例1,具体请参照图1所示,一种电机轴加工用工装夹具,包括固定座1,固定座1靠近四个拐角处均固定设置有安装块7,且安装块7上设置有U型的开口,固定座1通过安装块7与铣床工装台上的压板螺杆压紧配合,固定座1的上表面靠近右端固定安装有限位座4,且限位座4的上表面中间位置限位放置有电机轴3,限位座4的上表面中间位置设置有V型槽42,限位座4通过V型槽42对电机轴3进行限位放置,限位座4的上表面还设置有对电机轴3进行压紧的压紧机构5,通过压紧机构5对其进行压紧固定从而完成对电机轴3加工时的定位装夹,压紧机构5可进行压紧高度调节,固定座1的上表面靠近左端设置有对电机轴3左端进行限位的定位板2,定位板2可进行左右方向的位置调节,定位板2对电机轴3的一端进行限位定位。
具体请参照图2、图3和图4所示,限位座4的上表面靠近后端设置有与压紧机构5连接配合的固定杆41,限位座4的上表面靠近前端设置有螺纹孔43,压紧机构5包括套在固定杆41上的调节套52,调节套52的后侧旋拧有固定螺丝51,且调节套52的前侧转动连接有压杆53,压杆53靠近前端穿插有旋拧在螺纹孔43内的压紧螺丝54,压紧螺丝54的上端设置有圆柱形的挡块542,且挡块542的上端设置有转柄541,通过转柄541旋拧压紧螺丝54使其旋拧在螺纹孔43内使得压杆53对电机轴3进行压紧固定,压紧机构5通过调节套52套在固定杆41上,并通过固定螺丝51进行锁紧固定实现与固定杆41的固定连接,并通过压杆53对电机轴3进行压紧固定。Please refer to Fig. 2, Fig. 3 and Fig. 4 for details, the upper surface of the
具体请参照图1和图5所示,定位板2的下侧靠近前后两端位置均设置有T型的导向卡槽21,固定座1的上表面固定安装有两个与导向卡槽21配合的导轨6,定位板2的左侧靠近下端设置有锁块22,且锁块22上竖直旋拧有锁紧螺丝23,定位板2通过导向卡槽21卡在导轨6上实现左右方向的位置调节从而实现对电机轴3的定位位置调节。Please refer to Fig. 1 and Fig. 5 for details. The lower side of the
工作原理:在对电机轴3进行定位装夹时,将其需要铣键槽的一端放置在右侧,然后将其放置在V型槽42内,并使其左端抵紧在定位板2上,然后转动压杆53压在电机轴3上,最后将压紧螺丝54穿过压杆53并旋拧在螺纹孔43内从而使得压杆53对电机轴3压紧固定,在将电机轴3取出时,直接旋拧松开压紧螺丝54则可将加工好的电机轴3取出,然后将下一个电机轴3从V型槽42和压杆53之间穿过抵紧在定位板2上,则可进行再次的装夹。Working principle: When positioning and clamping the
以上所述仅为本实用新型的优选实施方式而已,并不用于限制本实用新型,对于本领域的技术人员来说,本实用新型可以有各种更改和变化。凡在本实用新型的精神和原则之内,所作的任何修改、等同替换、改进等,均应包含在本实用新型的保护范围之内。The above descriptions are only preferred embodiments of the present utility model, and are not intended to limit the present utility model. For those skilled in the art, the present utility model can have various modifications and variations. Any modification, equivalent replacement, improvement, etc. made within the spirit and principles of the present utility model shall be included in the protection scope of the present utility model.
Claims (6)
Priority Applications (1)
| Application Number | Priority Date | Filing Date | Title |
|---|---|---|---|
| CN202222028876.XU CN217750513U (en) | 2022-08-03 | 2022-08-03 | Tool clamp for machining motor shaft |
Applications Claiming Priority (1)
| Application Number | Priority Date | Filing Date | Title |
|---|---|---|---|
| CN202222028876.XU CN217750513U (en) | 2022-08-03 | 2022-08-03 | Tool clamp for machining motor shaft |
Publications (1)
| Publication Number | Publication Date |
|---|---|
| CN217750513U true CN217750513U (en) | 2022-11-08 |
Family
ID=83880179
Family Applications (1)
| Application Number | Title | Priority Date | Filing Date |
|---|---|---|---|
| CN202222028876.XU Active CN217750513U (en) | 2022-08-03 | 2022-08-03 | Tool clamp for machining motor shaft |
Country Status (1)
| Country | Link |
|---|---|
| CN (1) | CN217750513U (en) |
-
2022
- 2022-08-03 CN CN202222028876.XU patent/CN217750513U/en active Active
Similar Documents
| Publication | Publication Date | Title |
|---|---|---|
| US7568683B1 (en) | Vise attachable fixture plate for use with CNC milling equipment | |
| CN109954915A (en) | A kind of facing cutter and its application method convenient for adjusting blade installation site | |
| CN217750513U (en) | Tool clamp for machining motor shaft | |
| CN102554328B (en) | Cambered surface milling former | |
| CN208083887U (en) | Round piece quick clamping tool structure | |
| CN220592355U (en) | V steel pipe fitting processing fixing base for machining center | |
| CN110561154A (en) | bar clamp for milling machine | |
| CN218426968U (en) | Utensil is assisted in clamping of regulation formula plate-like work piece | |
| CN216398823U (en) | A side hole positioning device of a transmission shaft | |
| CN114309846B (en) | Axle center alignment method for machining inner holes of shaft parts | |
| CN218110074U (en) | Four-axis window type tool | |
| CN215659073U (en) | A CNC clamping fixture for machining multi-faceted grooves | |
| CN217256636U (en) | Rapid clamping device for carbon fiber workpiece | |
| CN210848796U (en) | Adjustable laser welding machine | |
| CN211361432U (en) | Machining device for drilling multiple holes in bearing block of machining center | |
| CN212043631U (en) | An assembly fixture structure for a machine tool | |
| CN211758534U (en) | An adjustable end face grooving knife | |
| CN217192828U (en) | Duplex position keyseat anchor clamps of output shaft is exclusively used in | |
| CN217551195U (en) | Numerical control machine tool positioning fixture capable of improving adaptability | |
| CN215145051U (en) | Six groove positioner are milled to integrative valve case | |
| CN219520608U (en) | An adjustable-speed universal precision milling press plate slope fixture | |
| CN221755798U (en) | A bench vise tool | |
| CN218639073U (en) | Clamp capable of being processed in four directions | |
| CN220074374U (en) | Positioning fixture for workpiece polishing | |
| CN218836926U (en) | Tooling for processing side holes of special-shaped components |
Legal Events
| Date | Code | Title | Description |
|---|---|---|---|
| GR01 | Patent grant | ||
| GR01 | Patent grant |
