CN217750491U - Supplementary clamping device of construction pipe fitting fluting - Google Patents
Supplementary clamping device of construction pipe fitting fluting Download PDFInfo
- Publication number
- CN217750491U CN217750491U CN202221678720.XU CN202221678720U CN217750491U CN 217750491 U CN217750491 U CN 217750491U CN 202221678720 U CN202221678720 U CN 202221678720U CN 217750491 U CN217750491 U CN 217750491U
- Authority
- CN
- China
- Prior art keywords
- fixedly connected
- plate
- base
- square rod
- clamping device
- Prior art date
- Legal status (The legal status is an assumption and is not a legal conclusion. Google has not performed a legal analysis and makes no representation as to the accuracy of the status listed.)
- Active
Links
Images
Landscapes
- Placing Or Removing Of Piles Or Sheet Piles, Or Accessories Thereof (AREA)
Abstract
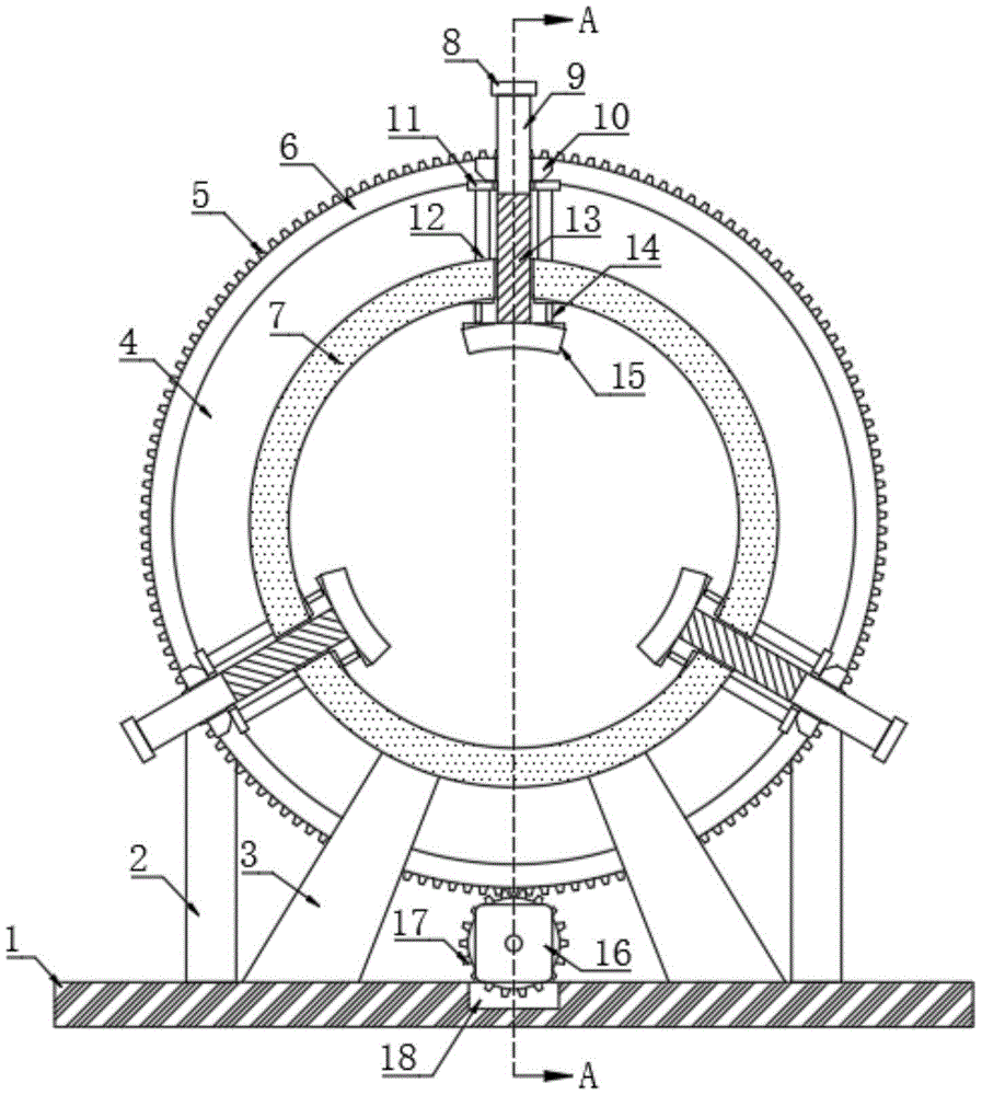
本实用新型公开了一种建筑施工管件开槽辅助夹持装置,包括底座,所述底座的上侧对称固定连接有两个支撑柱与两个支撑板,两个所述支撑柱的侧壁均固定连接有滑块,所述底座的上方设置有环板,所述环板的后侧设置有滑槽,两个所述滑块均位于滑槽的内部且与滑槽滑动连接,两个所述支撑板的上端共同固定连接有固定板,所述固定板的内侧圆周向等间距设置有三个夹持板,所述固定板上设置有三个用于夹持板夹持管件的夹持机构,所述底座的上侧设置有用于驱动夹持机构运作的驱动机构。本实用新型结构设计合理,实现了方杆的转动,从而通过螺纹杆转动使得夹持板对管件进行夹持,方便工作人员对管件进行开槽处理。
The utility model discloses an auxiliary clamping device for grooving pipe fittings in construction, comprising a base, two support columns and two support plates are symmetrically and fixedly connected on the upper side of the base, and the side walls of the two support columns are A slider is fixedly connected, a ring plate is arranged above the base, and a chute is arranged on the rear side of the ring plate. The upper end of the support plate is fixedly connected with a fixed plate, the inner side of the fixed plate is provided with three clamping plates at equal intervals in the circumferential direction, and the fixed plate is provided with three clamping mechanisms for the clamping plates to clamp the pipe fittings, The upper side of the base is provided with a driving mechanism for driving the clamping mechanism to operate. The utility model has a reasonable structure design, and realizes the rotation of the square rod, so that the clamping plate can clamp the pipe fittings through the rotation of the threaded rods, and it is convenient for the staff to perform groove processing on the pipe fittings.
Description
技术领域technical field
本实用新型涉及夹持装置技术领域,尤其涉及一种建筑施工管件开槽辅助夹持装置。The utility model relates to the technical field of clamping devices, in particular to an auxiliary clamping device for slotting of building construction pipe fittings.
背景技术Background technique
建筑施工是指工程建设实施阶段的生产活动,是各类建筑物的建造过程,也可以说是把设计图纸上的各种线条,在指定的地点,变成实物的过程。Building construction refers to the production activities in the implementation stage of engineering construction. It is the construction process of various buildings. It can also be said to be the process of turning various lines on the design drawings into real objects at designated locations.
在建筑施工的过程中,往往会需要用到管件并进行对接,而通常需要对管件进行开槽处理,当使用机器对管件进行开槽时,在外力的作用下,管件会发生转动,不便于工作人员对管件的开槽处理。In the process of building construction, it is often necessary to use pipe fittings and carry out docking, but usually it is necessary to groove the pipe fittings. When using a machine to groove the pipe fittings, the pipe fittings will rotate under the action of external force, which is inconvenient The staff notches the pipe fittings.
实用新型内容Utility model content
本实用新型的目的是为了解决现有技术中存在的缺点,而提出的一种建筑施工管件开槽辅助夹持装置。The purpose of the utility model is to solve the shortcomings in the prior art, and propose an auxiliary clamping device for slotting of building construction pipe fittings.
为了实现上述目的,本实用新型采用了如下技术方案:In order to achieve the above object, the utility model adopts the following technical solutions:
一种建筑施工管件开槽辅助夹持装置,包括底座,所述底座的上侧对称固定连接有两个支撑柱与两个支撑板,两个所述支撑柱的侧壁均固定连接有滑块,所述底座的上方设置有环板,所述环板的后侧设置有滑槽,两个所述滑块均位于滑槽的内部且与滑槽滑动连接,两个所述支撑板的上端共同固定连接有固定板,所述固定板的内侧圆周向等间距设置有三个夹持板,所述固定板上设置有三个用于夹持板夹持管件的夹持机构,所述底座的上侧设置有用于驱动夹持机构运作的驱动机构。An auxiliary clamping device for slotting pipe fittings in construction, including a base, two support columns and two support plates are symmetrically and fixedly connected to the upper side of the base, and sliders are fixedly connected to the side walls of the two support columns , the top of the base is provided with a ring plate, the rear side of the ring plate is provided with a chute, the two sliders are located inside the chute and are slidably connected with the chute, the upper ends of the two support plates A fixed plate is fixedly connected together, and three clamping plates are arranged at equal intervals in the inner circumference of the fixed plate, and three clamping mechanisms for the clamping plate to clamp the pipe are arranged on the fixed plate, and the upper part of the base A drive mechanism for driving the clamping mechanism to operate is provided on the side.
优选地,所述夹持机构包括固定连接在固定板外侧的两个连接杆,两个所述连接杆远离固定板的一端共同固定连接有挡板,所述挡板的上侧贯穿设置有方杆,所述方杆的上端固定连接有限位板,所述方杆远离限位板的一端固定连接有螺纹杆,所述螺纹杆远离方杆的一端贯穿固定板并与夹持板转动连接,所述固定板的内侧固定连接有两个伸缩杆,两个所述伸缩杆的伸缩端均与夹持板固定连接,所述螺纹杆与固定板螺纹连接。Preferably, the clamping mechanism includes two connecting rods fixedly connected to the outside of the fixing plate, the ends of the two connecting rods away from the fixing plate are fixedly connected to a baffle plate, and a square is provided through the upper side of the baffle plate. rod, the upper end of the square rod is fixedly connected to the limiting plate, the end of the square rod away from the limiting plate is fixedly connected to a threaded rod, and the end of the threaded rod away from the square rod penetrates the fixing plate and is rotatably connected with the clamping plate, Two telescopic rods are fixedly connected to the inner side of the fixed plate, the telescopic ends of the two telescopic rods are fixedly connected to the clamping plate, and the threaded rods are threadedly connected to the fixed plate.
优选地,所述驱动机构包括固定连接在底座上侧的电机,所述电机的输出轴固定连接有圆齿轮,所述环板的外侧固定连接有齿圈,所述齿圈与圆齿轮相啮合,所述环板靠近固定板的一侧固定连接有第一锥齿轮,所述挡板的上侧转动连接有第二锥齿轮,所述第二锥齿轮与第一锥齿轮相啮合。Preferably, the drive mechanism includes a motor fixedly connected to the upper side of the base, the output shaft of the motor is fixedly connected with a circular gear, and the outer side of the ring plate is fixedly connected with a ring gear, and the ring gear meshes with the circular gear A first bevel gear is fixedly connected to the side of the ring plate close to the fixed plate, a second bevel gear is rotatably connected to the upper side of the baffle, and the second bevel gear meshes with the first bevel gear.
优选地,所述底座的上侧设置有凹槽,所述圆齿轮位于凹槽的内部。Preferably, a groove is provided on the upper side of the base, and the circular gear is located inside the groove.
优选地,所述第二锥齿轮上贯通设置有与方杆相适配的通孔,所述方杆位于通孔内部。Preferably, the second bevel gear is provided with a through hole adapted to the square rod, and the square rod is located inside the through hole.
优选地,所述方杆与螺纹杆为一体结构。Preferably, the square rod and the threaded rod are integrally structured.
本实用新型具备以下有益效果:The utility model has the following beneficial effects:
1、通过设置夹持机构,转动方杆可带动螺纹杆转动,使得螺纹杆可带动夹持板朝固定板的圆心方向移动,从而实现对管件的夹持,方便工作人员对管件进行开槽处理;1. By setting the clamping mechanism, turning the square rod can drive the threaded rod to rotate, so that the threaded rod can drive the clamping plate to move towards the center of the fixed plate, so as to realize the clamping of the pipe fittings and facilitate the staff to slot the pipes ;
2、通过设置驱动机构,电机转动可带动圆齿轮转动,从而通过齿圈带动环板与第一锥齿轮转动,再利用第二锥齿轮带动方杆转动,便于夹持板对管件的夹持。2. By setting the driving mechanism, the rotation of the motor can drive the circular gear to rotate, thereby driving the ring plate and the first bevel gear to rotate through the ring gear, and then using the second bevel gear to drive the square rod to rotate, which is convenient for the clamping plate to clamp the pipe.
附图说明Description of drawings
图1为本实用新型提出的一种建筑施工管件开槽辅助夹持装置的结构示意图;Fig. 1 is the structural representation of a kind of building construction pipe slotting auxiliary clamping device proposed by the utility model;
图2为图1中的A-A向截面结构示意图;Fig. 2 is a schematic diagram of the A-A cross-sectional structure in Fig. 1;
图3为本实用新型提出的一种建筑施工管件开槽辅助夹持装置中的环板结构示意图。Fig. 3 is a structural schematic diagram of a ring plate in an auxiliary clamping device for slotting of building construction pipe fittings proposed by the utility model.
图中:1底座、2支撑柱、3支撑板、4环板、5齿圈、6第一锥齿轮、7固定板、8限位板、9方杆、10第二锥齿轮、11挡板、12连接杆、13螺纹杆、14伸缩杆、15夹持板、16电机、17圆齿轮、18凹槽、19滑块、20滑槽。In the figure: 1 base, 2 support column, 3 support plate, 4 ring plate, 5 ring gear, 6 first bevel gear, 7 fixed plate, 8 limit plate, 9 square rod, 10 second bevel gear, 11 baffle plate , 12 connecting rods, 13 threaded rods, 14 telescopic rods, 15 clamping plates, 16 motors, 17 circular gears, 18 grooves, 19 sliders, 20 chutes.
具体实施方式Detailed ways
下面将结合本实用新型实施例中的附图,对本实用新型实施例中的技术方案进行清楚、完整地描述,显然,所描述的实施例仅仅是本实用新型一部分实施例,而不是全部的实施例。The technical solutions in the embodiments of the present invention will be clearly and completely described below in conjunction with the accompanying drawings in the embodiments of the present invention. Obviously, the described embodiments are only part of the embodiments of the present invention, not all of them. example.
在本实用新型的描述中,需要理解的是,术语“上”、“下”、“前”、“后”、“左”、“右”、“顶”、“底”、“内”、“外”等指示的方位或位置关系为基于附图所示的方位或位置关系,仅是为了便于描述本实用新型和简化描述,而不是指示或暗示所指的装置或元件必须具有特定的方位、以特定的方位构造和操作,因此不能理解为对本实用新型的限制。In describing the present utility model, it should be understood that the terms "upper", "lower", "front", "rear", "left", "right", "top", "bottom", "inner", The orientation or positional relationship indicated by "outside" is based on the orientation or positional relationship shown in the drawings, which is only for the convenience of describing the utility model and simplifying the description, rather than indicating or implying that the referred device or element must have a specific orientation , are constructed and operated in a specific orientation and therefore cannot be construed as limiting the invention.
参照图1-3,一种建筑施工管件开槽辅助夹持装置,包括底座1,底座1的上侧对称固定连接有两个支撑柱2与两个支撑板3,两个支撑柱2的侧壁均固定连接有滑块19,底座1的上方设置有环板4,环板4的后侧设置有滑槽20,滑槽20呈圆环形结构,两个滑块19均位于滑槽20的内部且与滑槽20滑动连接,两个支撑板3的上端共同固定连接有固定板7,固定板7呈圆环形结构,固定板7的内侧圆周向等间距设置有三个夹持板15。Referring to Figures 1-3, an auxiliary clamping device for slotting pipe fittings in construction, including a base 1, the upper side of the base 1 is symmetrically fixedly connected with two
固定板7上设置有三个用于夹持板15夹持管件的夹持机构,夹持机构包括固定连接在固定板7外侧的两个连接杆12,两个连接杆12远离固定板7的一端共同固定连接有挡板11,挡板11的上侧贯穿设置有方杆9,挡板11上贯通设置有与方杆9相适配的开口,方杆9位于开口的内部且与开口滑动连接,方杆9的上端固定连接有限位板8,限位板8可避免方杆9滑落,方杆9远离限位板8的一端固定连接有螺纹杆13,方杆9与螺纹杆13为一体结构,螺纹杆13远离方杆9的一端贯穿固定板7并与夹持板15转动连接,固定板7的内侧固定连接有两个伸缩杆14,两个伸缩杆14的伸缩端均与夹持板15固定连接,螺纹杆13与固定板7螺纹连接,固定板7上贯通设置有与螺纹杆13相适配的螺纹孔,螺纹杆13位于螺纹孔内部,夹持机构可通过方杆9转动带动螺纹杆13转动,通过螺纹杆13带动夹持板15朝着固定板7圆心的方向移动,从而实现对管件的夹持。The
底座1的上侧设置有用于驱动夹持机构运作的驱动机构,驱动机构包括固定连接在底座1上侧的电机16,电机16的输出轴固定连接有圆齿轮17,电机16可带动圆齿轮17转动,底座1的上侧设置有凹槽18,圆齿轮17位于凹槽18的内部,环板4的外侧固定连接有齿圈5,齿圈5与圆齿轮17相啮合,圆齿轮17转动可带动齿圈5转动,环板4靠近固定板7的一侧固定连接有第一锥齿轮6,环板4转动可带动第一锥齿轮6转动,挡板11的上侧转动连接有第二锥齿轮10,第二锥齿轮10上贯通设置有与方杆9相适配的通孔,方杆9位于通孔内部,第二锥齿轮10与第一锥齿轮6相啮合,驱动机构通过电机16带动圆齿轮17转动,通过齿圈5带动环板4与第一锥齿轮6转动,并利用第二锥齿轮10带动方杆9转动。The upper side of the base 1 is provided with a driving mechanism for driving the operation of the clamping mechanism. The driving mechanism includes a
工作时,将管件插入三个夹持板15之间,开启电机16,电机16可带动圆齿轮17转动,通过齿圈5带动环板4与第一锥齿轮6转动,并利用第二锥齿轮10带动方杆9与螺纹杆13转动,使得螺纹杆13带动夹持板15朝着固定板7圆心方向移动,实现对管件的夹持,方便工作人员对管件进行开槽处理。When working, insert the pipe between the three
以上,仅为本实用新型较佳的具体实施方式,但本实用新型的保护范围并不局限于此,任何熟悉本技术领域的技术人员在本实用新型揭露的技术范围内,根据本实用新型的技术方案及其实用新型构思加以等同替换或改变,都应涵盖在本实用新型的保护范围之内。The above is only a preferred embodiment of the present utility model, but the scope of protection of the present utility model is not limited thereto. Anyone familiar with the technical field is within the technical scope disclosed by the utility model. Any equivalent replacement or change of the technical solution and the concept of the utility model shall fall within the scope of protection of the utility model.
Claims (6)
Priority Applications (1)
| Application Number | Priority Date | Filing Date | Title |
|---|---|---|---|
| CN202221678720.XU CN217750491U (en) | 2022-06-30 | 2022-06-30 | Supplementary clamping device of construction pipe fitting fluting |
Applications Claiming Priority (1)
| Application Number | Priority Date | Filing Date | Title |
|---|---|---|---|
| CN202221678720.XU CN217750491U (en) | 2022-06-30 | 2022-06-30 | Supplementary clamping device of construction pipe fitting fluting |
Publications (1)
| Publication Number | Publication Date |
|---|---|
| CN217750491U true CN217750491U (en) | 2022-11-08 |
Family
ID=83896318
Family Applications (1)
| Application Number | Title | Priority Date | Filing Date |
|---|---|---|---|
| CN202221678720.XU Active CN217750491U (en) | 2022-06-30 | 2022-06-30 | Supplementary clamping device of construction pipe fitting fluting |
Country Status (1)
| Country | Link |
|---|---|
| CN (1) | CN217750491U (en) |
Cited By (3)
| Publication number | Priority date | Publication date | Assignee | Title |
|---|---|---|---|---|
| CN116765690A (en) * | 2023-07-07 | 2023-09-19 | 山西天星新型管业制造有限公司 | Double-wall welded corrugated pipe supporting device |
| CN117902447A (en) * | 2024-03-19 | 2024-04-19 | 四川鸿鹏航空航天装备智能制造有限公司 | Aeroengine overhauls cable suspension device |
| CN118162700A (en) * | 2024-05-13 | 2024-06-11 | 泰州市大明不锈钢有限公司 | Stainless steel pipe internal thread processing machine |
-
2022
- 2022-06-30 CN CN202221678720.XU patent/CN217750491U/en active Active
Cited By (6)
| Publication number | Priority date | Publication date | Assignee | Title |
|---|---|---|---|---|
| CN116765690A (en) * | 2023-07-07 | 2023-09-19 | 山西天星新型管业制造有限公司 | Double-wall welded corrugated pipe supporting device |
| CN116765690B (en) * | 2023-07-07 | 2025-11-11 | 山西天星新型管业制造有限公司 | Double-wall welded corrugated pipe supporting device |
| CN117902447A (en) * | 2024-03-19 | 2024-04-19 | 四川鸿鹏航空航天装备智能制造有限公司 | Aeroengine overhauls cable suspension device |
| CN117902447B (en) * | 2024-03-19 | 2024-05-28 | 四川鸿鹏航空航天装备智能制造有限公司 | Aeroengine overhauls cable suspension device |
| CN118162700A (en) * | 2024-05-13 | 2024-06-11 | 泰州市大明不锈钢有限公司 | Stainless steel pipe internal thread processing machine |
| CN118162700B (en) * | 2024-05-13 | 2024-07-26 | 泰州市大明不锈钢有限公司 | Stainless steel pipe internal thread processing machine |
Similar Documents
| Publication | Publication Date | Title |
|---|---|---|
| CN217750491U (en) | Supplementary clamping device of construction pipe fitting fluting | |
| CN207953244U (en) | A kind of grip device facilitating drilling | |
| CN209380320U (en) | Drilling device for metal product processing | |
| CN221756132U (en) | Drain pipe cutting device for indoor decoration | |
| CN207447887U (en) | A kind of mechanical processing assistance platform | |
| CN207372324U (en) | A fixed base for a three-jaw chuck | |
| CN204565983U (en) | A kind of variable-angle Combined rotary tool | |
| CN207155290U (en) | Bimodulus steering gear nut drill pipe hole clip has | |
| CN206204825U (en) | A kind of power construction safety warning tape | |
| CN208147412U (en) | A kind of novel clamp system | |
| CN112252752A (en) | Connecting device for assembly type wall and supporting column | |
| CN112317630A (en) | Mechanical fixture for single-side reaming of hollow cylinder | |
| CN209717083U (en) | A kind of machine components cutting auxiliary device | |
| CN102259321B (en) | Novel high-efficiency wrench | |
| CN213921167U (en) | Pipeline handling device for hydraulic engineering with high stability | |
| CN216158145U (en) | Auxiliary tool for assembling cylindrical roller bearing | |
| CN212885346U (en) | Positioning device for production and processing of stainless steel pipes | |
| CN212946304U (en) | Welding device for machining high-precision ball valve | |
| CN216241874U (en) | A combined sealed bearing | |
| CN212042807U (en) | A flange hole machining and positioning fixture in an electric regulating valve | |
| CN211589281U (en) | A positioning and pressing device for rolling molar wall teeth | |
| CN204281173U (en) | The liter of gear oil drum falls instrument in a kind of electrical generator oil guide groove | |
| CN212146886U (en) | Pressure device for ceramic manufacture | |
| CN209811676U (en) | A machine tool power box with installation and positioning device | |
| CN216285421U (en) | Portable structure intellectual detection system device |
Legal Events
| Date | Code | Title | Description |
|---|---|---|---|
| GR01 | Patent grant | ||
| GR01 | Patent grant | ||
| CP03 | Change of name, title or address | ||
| CP03 | Change of name, title or address |
Address after: 246000 Monkey Mountain Group, Panpu Village, Meicheng Town, Qianshan City, Anqing City, Anhui Province Patentee after: Anhui Maye Construction Engineering Co.,Ltd. Address before: 246000 People's Government of Pomu Township, Qianshan City, Anqing City, Anhui Province Patentee before: Anhui Deqi Construction Engineering Co.,Ltd. |
