CN217481923U - A vertical gearbox output shaft sealing structure - Google Patents

A vertical gearbox output shaft sealing structure Download PDF

Info

Publication number
CN217481923U
CN217481923U CN202221817166.9U CN202221817166U CN217481923U CN 217481923 U CN217481923 U CN 217481923U CN 202221817166 U CN202221817166 U CN 202221817166U CN 217481923 U CN217481923 U CN 217481923U
Authority
CN
China
Prior art keywords
wear
sleeve
main shaft
support
cup
Prior art date
Legal status (The legal status is an assumption and is not a legal conclusion. Google has not performed a legal analysis and makes no representation as to the accuracy of the status listed.)
Expired - Fee Related
Application number
CN202221817166.9U
Other languages
Chinese (zh)
Inventor
李四敏
陈亮
党齐乾
白柑秋
韩思源
庞宏升
Current Assignee (The listed assignees may be inaccurate. Google has not performed a legal analysis and makes no representation or warranty as to the accuracy of the list.)
Zhengzhou Research Institute of Mechanical Engineering Co Ltd
Original Assignee
Zhengzhou Research Institute of Mechanical Engineering Co Ltd
Priority date (The priority date is an assumption and is not a legal conclusion. Google has not performed a legal analysis and makes no representation as to the accuracy of the date listed.)
Filing date
Publication date
Application filed by Zhengzhou Research Institute of Mechanical Engineering Co Ltd filed Critical Zhengzhou Research Institute of Mechanical Engineering Co Ltd
Priority to CN202221817166.9U priority Critical patent/CN217481923U/en
Application granted granted Critical
Publication of CN217481923U publication Critical patent/CN217481923U/en
Expired - Fee Related legal-status Critical Current
Anticipated expiration legal-status Critical

Links

Images

Landscapes

  • General Details Of Gearings (AREA)

Abstract

本实用新型涉及齿轮箱技术领域,具体为一种立式齿轮箱输出轴密封结构,包括箱体,所述箱体内穿设有输出套杯,所述输出套杯上开设有油杯和放油螺塞,所述输出套杯内嵌入有上轴承和下轴承,所述上轴承和下轴承内穿设有主轴,所述主轴外套设有上耐磨套和下耐磨套,以及位于上耐磨套与下轴承之间的隔环,所述上耐磨套外套设有上密封支座,所述上密封支座与上耐磨套之间设有第一骨架油封,所述上密封支座外套设有O型圈,所述下耐磨套外套设有下密封支座,所述下密封支座与下耐磨套之间设有第二骨架油封,所述主轴穿出下耐磨套的一端套设有轴用弹性挡圈。本实用新型结构简单,密封可靠,可满足立式齿轮箱的密封要求。

Figure 202221817166

The utility model relates to the technical field of gearboxes, in particular to an output shaft sealing structure of a vertical gearbox, comprising a box body, an output sleeve cup is pierced through the box body, and an oil cup and an oil drain are opened on the output sleeve cup The screw plug, the upper bearing and the lower bearing are embedded in the output sleeve cup, the upper bearing and the lower bearing are provided with the main shaft, the outer sleeve of the main shaft is provided with an upper wear-resistant sleeve and a lower wear-resistant sleeve, and a The spacer ring between the grinding sleeve and the lower bearing, the upper wear-resistant sleeve outer sleeve is provided with an upper seal support, a first skeleton oil seal is arranged between the upper seal support and the upper wear-resistant sleeve, and the upper seal support The outer casing of the seat is provided with an O-ring, the outer casing of the lower wear-resistant sleeve is provided with a lower sealing support, a second skeleton oil seal is arranged between the lower sealing support and the lower wear-resistant sleeve, and the main shaft passes through the lower wear-resistant sleeve. One end of the sleeve is sleeved with an elastic retaining ring for the shaft. The utility model has the advantages of simple structure and reliable sealing, and can meet the sealing requirements of the vertical gear box.

Figure 202221817166

Description

Vertical gear box output shaft seal structure
Technical Field
The utility model relates to a gear box technical field specifically is a vertical gear box output shaft seal structure.
Background
The vertical gear box is a device commonly used in the field of mechanical transmission, such as a power head of a drilling machine, an inner shaft system of the vertical gear box is vertically arranged, and a main shaft bearing and a gear are lubricated by oil immersion. The power head is influenced by rock strata in the working drilling process, the vibration is large, and the working condition is severe. If a high oil level lubrication or horizontal shaft sealing mode of transmission is adopted, the oil leakage phenomenon is easy to generate. In case an oil leakage site occurs, the lubrication of bearings and gears in the box body is insufficient, and the normal operation of equipment can be greatly influenced.
SUMMERY OF THE UTILITY MODEL
An object of the utility model is to provide a vertical gear box output shaft seal structure to solve the problem that proposes among the above-mentioned background art.
In order to achieve the above object, the utility model provides a following technical scheme: the utility model provides a vertical gear box output shaft seal structure, includes the box, wear to be equipped with output retainer cup in the box, oil cup and oil drain plug screw have been seted up on the output retainer cup, embedding has upper bearing and lower bearing in the output retainer cup, wear to be equipped with the main shaft in upper bearing and the lower bearing, the main shaft overcoat is equipped with wear-resisting cover and lower wear-resisting cover to and be located the distance ring between wear-resisting cover and the lower bearing, it is equipped with the upper seal support to go up the wear-resisting cover overcoat, be equipped with first skeleton oil blanket between upper seal support and the last wear-resisting cover, the upper seal support overcoat is equipped with O type circle, the wear-resisting cover overcoat is equipped with lower seal support down, be equipped with second skeleton oil blanket between lower seal support and the lower wear-resisting cover, the pot head that wear-resisting cover down was worn to the main shaft is equipped with axle circlip.
Preferably, the box body is connected with the output sleeve cup in an interference fit mode.
Preferably, the main shaft and the upper wear-resistant sleeve and the main shaft and the lower wear-resistant sleeve are connected in an interference fit manner.
Preferably, the upper sealing support is provided with an annular groove and four gaps.
Preferably, two first framework oil seals of the upper sealing support are installed in the same direction, and two second framework oil seals of the lower sealing support are installed in the opposite direction.
Compared with the prior art, the beneficial effects of the utility model are that:
the utility model discloses simple structure, it is sealed reliable, can satisfy vertical gear box's sealed requirement.
Drawings
FIG. 1 is a schematic view of the present invention;
fig. 2 is a schematic sectional view of the upper sealing support of the present invention.
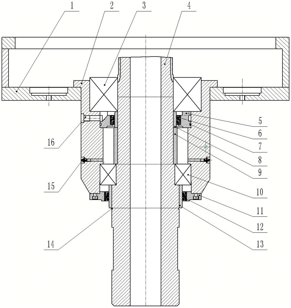
In the figure: 1. a box body; 2. outputting the retainer cup; 3. an upper bearing; 4. a main shaft; 5. an upper sealing support; 6. a first framework oil seal; 7. an O-shaped ring; 8. a wear-resistant sleeve is arranged; 9. a spacer ring; 10. a lower bearing; 11. a lower sealing support; 12. a second framework oil seal; 13. a lower wear-resistant sleeve; 14. a circlip for the shaft; 15. an oil cup; 16. and an oil drain plug screw.
Detailed Description
The technical solutions in the embodiments of the present invention will be described clearly and completely with reference to the accompanying drawings in the embodiments of the present invention, and it is obvious that the described embodiments are only some embodiments of the present invention, not all embodiments. Based on the embodiments in the present invention, all other embodiments obtained by a person skilled in the art without creative work belong to the protection scope of the present invention.
Referring to fig. 1 and 2, a vertical gearbox output shaft sealing structure comprises a box body 1, an output sleeve cup 2 penetrates through the box body 1, the box body 1 is connected with the output sleeve cup 2 in an interference fit manner, an oil cup 15 and an oil drain plug screw 16 are arranged on the output sleeve cup 2, an upper bearing 3 and a lower bearing 10 are embedded in the output sleeve cup 2, a main shaft 4 penetrates through the upper bearing 3 and the lower bearing 10, an upper wear-resistant sleeve 8, a lower wear-resistant sleeve 13 and a spacer ring 9 positioned between the upper wear-resistant sleeve 8 and the lower bearing 10 are sleeved outside the main shaft 4, a first framework oil seal 6 and the wear-resistant sleeve 8 arranged on the main shaft 4 form a contact dynamic seal to ensure that lubricating oil in the box body does not leak, the main shaft 4 is connected with the upper wear-resistant sleeve 8 and the main shaft 4 is connected with the lower wear-resistant sleeve 13 in an interference fit manner, and the lower bearing 10 between an upper sealing support 5 and a lower sealing support 11 is lubricated by grease, two second framework oil seals 12 arranged on the lower sealing support 11 and a lower wear-resistant sleeve 13 arranged at the lower end of the main shaft 4 form a contact dynamic seal to ensure that internal grease is not leaked and external impurities are not entered, an upper sealing support 5 is sleeved outside the upper wear-resistant sleeve 8, an annular groove is arranged on the upper sealing support 5, and four gaps, a first framework oil seal 6 is arranged between the upper sealing support 5 and the upper wear-resistant sleeve 8, an O-shaped ring 7 is sleeved outside the upper sealing support 5, a lower sealing support 11 is sleeved outside the lower wear-resistant sleeve 13, a second framework oil seal 12 is arranged between the lower sealing support 11 and the lower wear-resistant sleeve 13, two first framework oil seals 6 of the upper sealing support 5 are all installed in the same direction, two second framework oil seals 12 of the lower sealing support are all installed in the opposite direction, one end of the main shaft 4 penetrating out of the lower wear-resistant sleeve 13 is sleeved with an axial elastic check ring 14, and the main shaft 4 and the lower wear-resistant sleeve 13 are positioned by the axial elastic check ring 14.
Although embodiments of the present invention have been shown and described, it will be appreciated by those skilled in the art that changes, modifications, substitutions and alterations can be made in these embodiments without departing from the principles and spirit of the invention, the scope of which is defined in the appended claims and their equivalents.

Claims (5)

1. The utility model provides a vertical gear box output shaft seal structure, includes box (1), its characterized in that, wear to be equipped with output retainer cup (2) in box (1), oil cup (15) and oil drain plug screw (16) have been seted up on output retainer cup (2), embedding has upper bearing (3) and lower bearing (10) in output retainer cup (2), wear to be equipped with main shaft (4) in upper bearing (3) and lower bearing (10), main shaft (4) overcoat is equipped with upper wear-resisting cover (8) and lower wear-resisting cover (13) to and be located spacer ring (9) between upper wear-resisting cover (8) and lower bearing (10), upper seal support (8) overcoat is equipped with upper seal support (5), be equipped with first skeleton oil blanket (6) between upper seal support (5) and upper wear-resisting cover (8), upper seal support (5) overcoat is equipped with O type circle (7), wear-resisting cover (13) overcoat is equipped with lower seal support (11) down, be equipped with second skeleton oil blanket (12) down between seal support (11) and lower wear-resisting cover (13), wear-resisting cover (13) was worn out down in main shaft (4) one pot head is equipped with for the axle circlip (14).
2. The vertical gearbox output shaft sealing structure according to claim 1, wherein the box body (1) and the output sleeve cup (2) are connected in an interference fit manner.
3. The vertical gearbox output shaft sealing structure according to claim 1, wherein the main shaft (4) and the upper wear-resistant sleeve (8) and the main shaft (4) and the lower wear-resistant sleeve (13) are connected in an interference fit manner.
4. The vertical gearbox output shaft sealing structure according to claim 1, wherein the upper sealing support (5) is provided with an annular groove and four notches.
5. The output shaft sealing structure of the vertical gearbox as claimed in claim 1, wherein the two first framework oil seals (6) of the upper sealing support (5) are mounted in the same direction, and the two second framework oil seals (12) of the lower sealing support are mounted in the opposite direction.
CN202221817166.9U 2022-07-15 2022-07-15 A vertical gearbox output shaft sealing structure Expired - Fee Related CN217481923U (en)

Priority Applications (1)

Application Number Priority Date Filing Date Title
CN202221817166.9U CN217481923U (en) 2022-07-15 2022-07-15 A vertical gearbox output shaft sealing structure

Applications Claiming Priority (1)

Application Number Priority Date Filing Date Title
CN202221817166.9U CN217481923U (en) 2022-07-15 2022-07-15 A vertical gearbox output shaft sealing structure

Publications (1)

Publication Number Publication Date
CN217481923U true CN217481923U (en) 2022-09-23

Family

ID=83318332

Family Applications (1)

Application Number Title Priority Date Filing Date
CN202221817166.9U Expired - Fee Related CN217481923U (en) 2022-07-15 2022-07-15 A vertical gearbox output shaft sealing structure

Country Status (1)

Country Link
CN (1) CN217481923U (en)

Cited By (1)

* Cited by examiner, † Cited by third party
Publication number Priority date Publication date Assignee Title
CN115234633A (en) * 2022-07-15 2022-10-25 郑州机械研究所有限公司 Vertical gear box output shaft seal structure

Cited By (1)

* Cited by examiner, † Cited by third party
Publication number Priority date Publication date Assignee Title
CN115234633A (en) * 2022-07-15 2022-10-25 郑州机械研究所有限公司 Vertical gear box output shaft seal structure

Similar Documents

Publication Publication Date Title
CN217481923U (en) A vertical gearbox output shaft sealing structure
CN201232752Y (en) Sealing device for output terminal of speed reducer
CN205908268U (en) Unit head is gas box for rig
CN101832393A (en) Vertical shaft centrifugal seal system
CN104864078A (en) Anti-oil-leakage rolling mill combined speed reducer
CN115234633A (en) Vertical gear box output shaft seal structure
CN202091511U (en) Composite type sealing device
CN102829183A (en) Large-diameter high-pressure mechanical sealing device
CN206234277U (en) Bearing lubrication structure
CN204784550U (en) Gear box for top -drive and coal bed gas rig thereof
CN202399133U (en) Oil leakage preventing device for planetary grinding head
CN112443653A (en) Compact speed reducer with independent lubricating sealing cavity
CN210510283U (en) Reducer output shaft sealing device of shield construction electric locomotive
CN202955203U (en) Idler device for speed changing box of loading machine
CN207935278U (en) A kind of high assembly precision robot bearing in reduction gears
CN206299699U (en) A kind of deep drilling rig top-drive main shaft sealing construction
CN205350060U (en) Tandem type bearing for drilling tool
CN101055036A (en) Sealing device for main speed reducer of vehicle
CN203452716U (en) Cooling and lubricating device for rotating control head
CN214305195U (en) Compact speed reducer with independent lubricating sealing cavity
CN215831116U (en) Gear box vertical output shaft lubricating oil sealing structure
CN207213105U (en) A kind of sealing device of reductor shaft end
CN221347813U (en) Planetary reducer lubrication mechanism
CN215633942U (en) Nuclear power station high pressure injection pump bearing lubricating oil sealing ring
CN208252738U (en) Loading machine gearbox power taking mouth bearing forced lubrication structure

Legal Events

Date Code Title Description
GR01 Patent grant
GR01 Patent grant
CF01 Termination of patent right due to non-payment of annual fee

Granted publication date: 20220923

CF01 Termination of patent right due to non-payment of annual fee