CN217477705U - Sealing mechanism of packaging bag - Google Patents
Sealing mechanism of packaging bag Download PDFInfo
- Publication number
- CN217477705U CN217477705U CN202122136648.XU CN202122136648U CN217477705U CN 217477705 U CN217477705 U CN 217477705U CN 202122136648 U CN202122136648 U CN 202122136648U CN 217477705 U CN217477705 U CN 217477705U
- Authority
- CN
- China
- Prior art keywords
- block
- rotatably connected
- packaging bag
- fixedly installed
- rod
- Prior art date
- Legal status (The legal status is an assumption and is not a legal conclusion. Google has not performed a legal analysis and makes no representation as to the accuracy of the status listed.)
- Expired - Fee Related
Links
Images
Landscapes
- Package Closures (AREA)
Abstract
本实用新型公开了一种包装袋的封口机构,包括传送带,所述传送带的顶部两侧位置均固定安装有挡板,所述挡板的顶部固定安装有安装板,两个所述挡板在传送带的上方形成一个狭小的空间,使得面条包装袋保持站立状态,同时挡板在两侧起到支撑作用,两个所述安装板的顶部均滑动连接有活动板,两个所述活动板的下方安装有整平机构,两个所述活动板的中间位置均固定连接有连接块,两个所述连接块的靠内一侧固定安装有热压块,两个所述活动板的顶部安装有驱动机构,用于控制两个活动板之间的距离,在热压装置的下方设置有压板,可在热压之前对包装袋进行整平,保证封口的质量。
The utility model discloses a sealing mechanism for a packaging bag, comprising a conveyor belt, baffles are fixedly installed on both sides of the top of the conveyor belt, mounting plates are fixedly installed on the top of the baffles, and the two baffles are located at the top of the conveyor belt. A narrow space is formed above the conveyor belt to keep the noodle packaging bag in a standing state, and the baffles play a supporting role on both sides. A leveling mechanism is installed below, a connecting block is fixedly connected to the middle positions of the two movable plates, a hot pressing block is fixedly installed on the inner side of the two connecting blocks, and the tops of the two movable plates are installed There is a driving mechanism to control the distance between the two movable plates, and a pressing plate is arranged below the hot pressing device, which can level the packaging bag before hot pressing to ensure the quality of the sealing.
Description
技术领域technical field
本实用新型涉及产品包装技术领域,具体涉及一种包装袋的封口机构。The utility model relates to the technical field of product packaging, in particular to a sealing mechanism of a packaging bag.
背景技术Background technique
包装袋的封口机构取代人工完成包装袋袋口的热压焊接工作,有效的提高了生产效率。The sealing mechanism of the packaging bag replaces the manual hot-pressing welding of the mouth of the packaging bag, which effectively improves the production efficiency.
如专利公开号为CN107856917A的发明公开的一种用于包装袋封口的拉紧机构,包括:驱动装置、第一拉紧装置及第二拉紧装置,所述驱动装置同时驱动所述第一拉紧装置和第二拉紧装置旋转。本发明为一种用于包装袋封口的拉紧机构,设有第一拉紧装置和第二拉紧装置,通过两个拉紧装置上的拉紧夹将包装袋的两边拉紧,使得裁缝机可以快速地将袋口封住,操作简单方便,速度快,能够在流水线上快速完成封口的工作,通过两侧的拉紧装置将包装袋向两侧拉紧,起到整平的效果,但是拉紧过程本身容易对包装袋造成破坏,同时拉紧过程容易使得袋口偏移,造成袋口焊接不整齐的状况。For example, the invention disclosed in Patent Publication No. CN107856917A discloses a tensioning mechanism for packaging bag sealing, comprising: a driving device, a first tensioning device and a second tensioning device, the driving device simultaneously drives the first tensioning device The tensioning device and the second tensioning device rotate. The present invention relates to a tensioning mechanism for the sealing of packaging bags, which is provided with a first tensioning device and a second tensioning device, and the two sides of the packaging bag are tensioned by the tensioning clips on the two tensioning devices, so that the tailor can The machine can quickly seal the bag mouth, the operation is simple and convenient, the speed is fast, and the sealing work can be quickly completed on the assembly line. However, the tightening process itself is easy to cause damage to the packaging bag, and at the same time, the tightening process easily causes the bag mouth to be offset, resulting in uneven welding of the bag mouth.
实用新型内容Utility model content
本实用新型的目的在于提供一种包装袋的封口机构,解决以下技术问题:The purpose of this utility model is to provide a kind of sealing mechanism of packing bag, solve the following technical problems:
在热压焊接装置的下方设置整平装置,对袋口先整平,再焊接封口,保证封口的平整度。A leveling device is arranged below the hot-pressing welding device, and the bag mouth is leveled first, and then the sealing is welded to ensure the flatness of the sealing.
本实用新型的目的可以通过以下技术方案实现:一种包装袋的封口机构,包括传送带,所述传送带的顶部两侧位置均固定安装有挡板,所述挡板的顶部固定安装有安装板,两个所述挡板在传送带的上方形成一个狭小的空间,使得面条包装袋保持站立状态,同时挡板在两侧起到支撑作用,两个所述安装板的顶部均滑动连接有活动板,两个所述活动板的下方安装有整平机构,两个所述活动板的中间位置均固定连接有连接块,两个所述连接块的靠内一侧固定安装有热压块,两个所述活动板的顶部安装有驱动机构,用于控制两个活动板之间的距离。The purpose of the present utility model can be achieved through the following technical solutions: a sealing mechanism for a packaging bag, comprising a conveyor belt, baffles are fixedly installed on both sides of the top of the conveyor belt, and a mounting plate is fixedly installed on the top of the baffle, The two baffles form a narrow space above the conveyor belt to keep the noodle packaging bag in a standing state, while the baffles play a supporting role on both sides, and the tops of the two mounting plates are slidably connected with movable plates. A leveling mechanism is installed below the two movable plates, a connecting block is fixedly connected to the middle of the two movable plates, and a hot pressing block is fixedly installed on the inner side of the two connecting blocks. A driving mechanism is installed on the top of the movable plate for controlling the distance between the two movable plates.
作为本实用新型进一步的方案:所述整平机构包括“U”形块,所述“U”形块固定安装在活动板靠近底部的位置,所述“U”形块上滑动连接有两个滑杆,两个所述滑杆的一侧固定安装有固定块,所述固定块上固定安装有“L”形板,所述滑杆上位于“U”形块和固定块之间的位置套接有弹簧,活动板的下方为镂空设计,为固定块的运动提供空间。As a further solution of the present utility model: the leveling mechanism includes a "U"-shaped block, the "U"-shaped block is fixedly installed at the position of the movable plate near the bottom, and the "U"-shaped block is slidably connected with two A sliding rod, one side of the two sliding rods is fixedly installed with a fixed block, the fixed block is fixed with an "L" shaped plate, and the sliding rod is located between the "U" shaped block and the fixed block The socket is provided with a spring, and the lower part of the movable plate is hollowed out to provide space for the movement of the fixed block.
作为本实用新型进一步的方案:所述“L”形板的一侧转动连接有压板,两个压板相接触时,可将焊接位置下方的包装袋压平,所述压板的下端转动连接有连杆一,所述“L”形板的下方转动连接有伸缩杆,所述连杆一和伸缩杆之间转动连接,所述“L”形板的一侧底部固定安装有气缸,所述气缸的活塞杆与连杆一和伸缩杆的连接处转动连接。As a further solution of the present utility model: one side of the "L"-shaped plate is rotatably connected with a pressure plate, when the two pressure plates are in contact, the packaging bag under the welding position can be flattened, and the lower end of the pressure plate is rotatably connected with a connecting
作为本实用新型进一步的方案:两个所述压板之间的距离小于两个热压块之间的距离,保证当两个活动板相互靠近时,两个压板先接触到包装袋袋口,并将其压平。As a further solution of the present utility model: the distance between the two pressing plates is smaller than the distance between the two hot pressing blocks, so as to ensure that when the two movable plates approach each other, the two pressing plates first contact the mouth of the packaging bag, and Flatten it.
作为本实用新型进一步的方案:所述驱动机构包括限位框,所述限位框设置在两个活动板的顶部,且两个活动板与限位框之间活动连接,所述限位框的一侧中间位置固定安装有电机,所述电机的输出轴上固定安装有螺纹杆,所述螺纹杆的两侧螺纹连接有活动块,所述活动块的两侧转动连接有连接杆,所述连接杆的另一侧与活动板的顶部一端转动连接。As a further solution of the present invention: the drive mechanism includes a limit frame, the limit frame is arranged on the top of the two movable plates, and the two movable plates and the limit frame are movably connected, and the limit frame A motor is fixedly installed in the middle of one side of the motor, a threaded rod is fixedly installed on the output shaft of the motor, a movable block is threadedly connected to both sides of the threaded rod, and a connecting rod is rotatably connected to both sides of the movable block, so the The other side of the connecting rod is rotatably connected with one end of the top of the movable plate.
作为本实用新型进一步的方案:所述螺纹杆的两端螺纹旋向相反。As a further solution of the present invention, the two ends of the threaded rod have opposite screw threads.
本实用新型的有益效果:The beneficial effects of the present utility model:
包装袋经过传送带运输至封口位置,随后,电机工作,带动螺纹杆旋转,两个活动块向螺纹杆的中间点运动,使两侧的活动板向螺纹杆位置靠拢,从而带动整平机构相互靠近,两个“L”形板首先接触,使得滑杆沿着“U”形块滑动,两侧的活动板继续向中间位置运动,气缸工作,推动两个压板保持竖直向下状态,且二者将袋口压平,直至两个热压块接触完成袋口封口,在封口签先对袋口进行整平,保证封口的平整度。The packaging bag is transported to the sealing position by the conveyor belt. Then, the motor works to drive the threaded rod to rotate, and the two movable blocks move to the middle point of the threaded rod, so that the movable plates on both sides move closer to the position of the threaded rod, thereby driving the leveling mechanism to approach each other. , the two "L"-shaped plates contact first, so that the sliding rod slides along the "U"-shaped block, the movable plates on both sides continue to move to the middle position, the cylinder works, pushes the two pressure plates to keep the vertical downward state, and the two The operator flattens the mouth of the bag until the two hot-pressing blocks are in contact to complete the sealing of the mouth of the bag.
附图说明Description of drawings
下面结合附图对本实用新型作进一步的说明。The utility model will be further described below in conjunction with the accompanying drawings.
图1是本实用新型中封口机构整体结构示意图;Fig. 1 is the overall structure schematic diagram of the sealing mechanism in the present utility model;
图2是本实用新型整平机构结构示意图;Fig. 2 is the structure schematic diagram of the leveling mechanism of the present invention;
图3是本实用新型“L”形板内部结构示意图;Figure 3 is a schematic diagram of the internal structure of the "L"-shaped plate of the present invention;
图4是本实用新型驱动机构结构示意图。Figure 4 is a schematic structural diagram of the drive mechanism of the present invention.
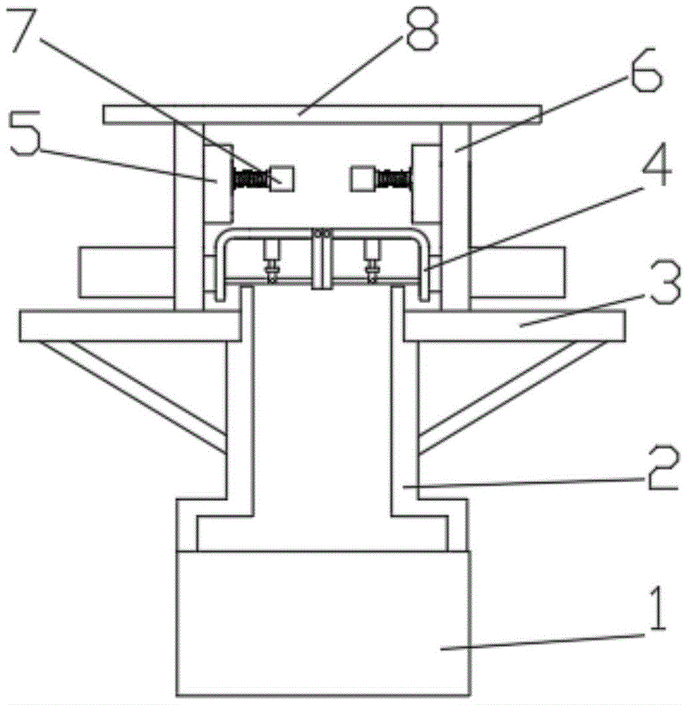
图中:1、传送带;2、挡板;3、安装板;4、整平机构;401、“U”形块;402、滑杆;403、弹簧;404、“L”形板;405、固定块;406、气缸;407、压板;408、连杆一;409、伸缩杆;5、连接块;6、活动板;7、热压块;8、驱动机构;801、限位框;802、电机;803、螺纹杆;804、连接杆;805、活动块。In the figure: 1. Conveyor belt; 2. Baffle plate; 3. Mounting plate; 4. Leveling mechanism; 401, "U"-shaped block; 402, sliding rod; Fixed block; 406, cylinder; 407, pressure plate; 408, connecting rod one; 409, telescopic rod; 5, connecting block; 6, movable plate; 7, hot pressing block; 8, driving mechanism; 801, limit frame; 802 , motor; 803, threaded rod; 804, connecting rod; 805, movable block.
具体实施方式Detailed ways
下面将结合本实用新型实施例中的附图,对本实用新型实施例中的技术方案进行清楚、完整地描述,显然,所描述的实施例仅仅是本实用新型一部分实施例,而不是全部的实施例。基于本实用新型中的实施例,本领域普通技术人员在没有作出创造性劳动前提下所获得的所有其它实施例,都属于本实用新型保护的范围。The technical solutions in the embodiments of the present utility model will be clearly and completely described below with reference to the accompanying drawings in the embodiments of the present utility model. Obviously, the described embodiments are only a part of the embodiments of the present utility model, rather than all the implementations. example. Based on the embodiments of the present invention, all other embodiments obtained by those of ordinary skill in the art without creative work fall within the protection scope of the present invention.
请参阅图1所示,本实用新型为一种包装袋的封口机构,包括传送带1,传送带1的顶部两侧位置均固定安装有挡板2,挡板2的顶部固定安装有安装板3,两个挡板2在传送带1的上方形成一个狭小的空间,使得面条包装袋保持站立状态,同时挡板2在两侧起到支撑作用,两个安装板3的顶部均滑动连接有活动板6,两个活动板6的下方安装有整平机构4,两个活动板6的中间位置均固定连接有连接块5,两个连接块5的靠内一侧固定安装有热压块7,两个活动板6的顶部安装有驱动机构8,用于控制两个活动板6之间的距离。Please refer to FIG. 1 , the present invention is a sealing mechanism for packaging bags, comprising a
请参阅图2所示,整平机构4包括“U”形块401,“U”形块401固定安装在活动板6靠近底部的位置,“U”形块401上滑动连接有两个滑杆402,两个滑杆402的一侧固定安装有固定块405,固定块405上固定安装有“L”形板404,滑杆402上位于“U”形块401和固定块405之间的位置套接有弹簧403,活动板6的下方为镂空设计,为固定块405的运动提供空间。Please refer to FIG. 2 , the
请参阅图3所示,“L”形板404的一侧转动连接有压板407,两个压板407相接触时,可将焊接位置下方的包装袋压平,压板407的下端转动连接有连杆一408,“L”形板404的下方转动连接有伸缩杆409,连杆一408和伸缩杆409之间转动连接,“L”形板404的一侧底部对立面上安装有气缸406,气缸406的活塞杆与连杆一408和伸缩杆409的连接处转动连接。Please refer to FIG. 3 , a
两个压板407之间的距离小于两个热压块7之间的距离,保证当两个活动板6相互靠近时,两个压板407先接触到包装袋袋口,并将其压平。The distance between the two
请参阅图4所示,驱动机构8包括限位框801,限位框801设置在两个活动板6的顶部,且两个活动板6与限位框801之间活动连接,限位框801的一侧中间位置固定安装有电机802,电机802的输出轴上固定安装有螺纹杆803,螺纹杆803的两侧螺纹连接有活动块805,活动块805的两侧转动连接有连接杆804,连接杆804的另一侧与活动板6的顶部一端转动连接,螺纹杆803的两端螺纹旋向相反。Please refer to FIG. 4 , the driving mechanism 8 includes a
本实用新型的工作原理:The working principle of the present utility model:
包装袋经过传送带1运输至封口位置,并在传送带1上保持竖直,随后,电机802工作,带动螺纹杆803旋转,两个活动块805向螺纹杆803的中间点运动,使两侧的活动板6向螺纹杆803位置靠拢,从而带动整平机构4相互靠近,此时气缸406保持收缩状态;The packaging bag is transported to the sealing position through the
两个“L”形板404首先接触,使得滑杆402沿着“U”形块401滑动,使得两侧的活动板6继续向中间位置运动,此时气缸406工作,活塞杆顶出,推动连杆一408和伸缩杆409成一条直线,使得两个压板407保持竖直向下状态,且二者将袋口压平,直至两个热压块7接触完成袋口封口,封口完成后,两个活动板6向两侧运动,“L”形板404在弹簧403的作用下,回到初始位置。The two "L"-
在本实用新型的描述中,需要理解的是,术语“上”、“下”、“左”、“右”等指示方位或位置关系为基于附图所示的方位或位置关系,仅是为了便于描述本实用新型和简化描述,而不是指示或暗示所指的装置或元件必须具有特定的方位、以及特定的方位构造和操作,因此,不能理解为对本实用新型的限制。此外,“第一”、“第二”仅由于描述目的,且不能理解为指示或暗示相对重要性或者隐含指明所指示的技术特征的数量。因此,限定有“第一”、“第二”的特征可以明示或者隐含地包括一个或者多个该特征。本实用新型的描述中,除非另有说明,“多个”的含义是两个或两个以上。In the description of the present invention, it should be understood that the terms "upper", "lower", "left", "right" and the like indicate the orientation or positional relationship based on the orientation or positional relationship shown in the accompanying drawings, only for the purpose of For the convenience of describing the present invention and simplifying the description, it is not intended to indicate or imply that the indicated device or element must have a specific orientation, as well as a specific orientation configuration and operation, and therefore should not be construed as a limitation of the present invention. In addition, "first" and "second" are for descriptive purposes only, and cannot be understood as indicating or implying relative importance or implying the number of indicated technical features. Thus, a feature delimited with "first", "second" may expressly or implicitly include one or more of that feature. In the description of the present invention, unless otherwise specified, "plurality" means two or more.
在本实用新型的描述中,需要说明的是,除非另有明确的规定和限定,术语“安装”“相连”“连接”等应做广义理解,例如,可以是固定连接,也可以是可拆卸连接,或一体地连接;可以是机械连接,也可以是电连接;可以是直接相连,也可以通过中间媒介间接连接,可以是两个元件内部的连通。对于本领域的普通技术人员而言,可以具体情况理解上述术语在本实用新型中的具体含义。In the description of the present utility model, it should be noted that, unless otherwise expressly specified and limited, the terms "installation", "connection" and "connection" should be understood in a broad sense, for example, it may be a fixed connection or a detachable connection. Connection, or integral connection; may be mechanical connection or electrical connection; may be direct connection, or indirect connection through an intermediate medium, or internal communication between two elements. For those of ordinary skill in the art, the specific meanings of the above terms in the present invention can be understood in specific situations.
以上对本实用新型的一个实施例进行了详细说明,但所述内容仅为本实用新型的较佳实施例,不能被认为用于限定本实用新型的实施范围。凡依本实用新型申请范围所作的均等变化与改进等,均应仍归属于本实用新型的专利涵盖范围之内。An embodiment of the present invention has been described in detail above, but the content is only a preferred embodiment of the present invention, and cannot be considered to limit the scope of implementation of the present invention. All equivalent changes and improvements made according to the scope of the application of the present utility model should still belong to the scope of the patent of the present utility model.
Claims (5)
Priority Applications (1)
| Application Number | Priority Date | Filing Date | Title |
|---|---|---|---|
| CN202122136648.XU CN217477705U (en) | 2021-09-06 | 2021-09-06 | Sealing mechanism of packaging bag |
Applications Claiming Priority (1)
| Application Number | Priority Date | Filing Date | Title |
|---|---|---|---|
| CN202122136648.XU CN217477705U (en) | 2021-09-06 | 2021-09-06 | Sealing mechanism of packaging bag |
Publications (1)
| Publication Number | Publication Date |
|---|---|
| CN217477705U true CN217477705U (en) | 2022-09-23 |
Family
ID=83301793
Family Applications (1)
| Application Number | Title | Priority Date | Filing Date |
|---|---|---|---|
| CN202122136648.XU Expired - Fee Related CN217477705U (en) | 2021-09-06 | 2021-09-06 | Sealing mechanism of packaging bag |
Country Status (1)
| Country | Link |
|---|---|
| CN (1) | CN217477705U (en) |
-
2021
- 2021-09-06 CN CN202122136648.XU patent/CN217477705U/en not_active Expired - Fee Related
Similar Documents
| Publication | Publication Date | Title |
|---|---|---|
| CN208410904U (en) | Cutting device is used in a kind of processing of environment-protection food package bag | |
| CN105711905B (en) | It is a kind of to carry the automatic packaging machine for wrapping up in wrap molding device | |
| CN217477705U (en) | Sealing mechanism of packaging bag | |
| CN210942540U (en) | Novel carton transparent film end pre-heat-sealing device | |
| CN106808126B (en) | A kind of automatic intelligent welder motion control device | |
| CN109606865A (en) | A vacuum packaging device for dental scarf paper | |
| CN106697429A (en) | Cross seal clamping mechanism | |
| CN117163419B (en) | Packing device for textile fabrics | |
| CN217754395U (en) | Hot-pressing sealing device for packaging bag | |
| CN213443409U (en) | Sealing device of vacuum packaging machine | |
| CN109367907B (en) | Heat sealing mechanism capable of automatically adjusting specification | |
| CN118220617A (en) | Automatic bagging vacuum packaging machine | |
| CN211281760U (en) | Shaping component of carton transparent film packaging machine | |
| CN211766730U (en) | Pneumatic capper that stability is good | |
| CN221874547U (en) | Transparent film shaping device for strip box | |
| CN210734671U (en) | Heat sealing device with auxiliary bag opening mechanism | |
| CN219506302U (en) | Vacuum assembly mechanism of vacuumizing packer | |
| CN209870933U (en) | Automatic sealing machine for drying agent packaging | |
| CN221938638U (en) | Inorganic material bagging and subpackaging device | |
| CN219506303U (en) | Driving mechanism of vacuumizing packer | |
| CN221214854U (en) | Bag holding and sealing device | |
| CN205525260U (en) | Automatic packaging machine with wrap up in a packet forming device | |
| CN207078992U (en) | Toner bottle full automatic sealing machine | |
| CN222330154U (en) | Automatic throw material capper | |
| CN216423609U (en) | An M-type packaging bag forming mechanism |
Legal Events
| Date | Code | Title | Description |
|---|---|---|---|
| GR01 | Patent grant | ||
| GR01 | Patent grant | ||
| CF01 | Termination of patent right due to non-payment of annual fee |
Granted publication date: 20220923 |
