CN217313391U - Chemical safety reaction kettle - Google Patents

Chemical safety reaction kettle Download PDF

Info

Publication number
CN217313391U
CN217313391U CN202220171377.3U CN202220171377U CN217313391U CN 217313391 U CN217313391 U CN 217313391U CN 202220171377 U CN202220171377 U CN 202220171377U CN 217313391 U CN217313391 U CN 217313391U
Authority
CN
China
Prior art keywords
gear
reaction kettle
adopt
bottom plate
electric telescopic
Prior art date
Legal status (The legal status is an assumption and is not a legal conclusion. Google has not performed a legal analysis and makes no representation as to the accuracy of the status listed.)
Expired - Fee Related
Application number
CN202220171377.3U
Other languages
Chinese (zh)
Inventor
马士杰
Current Assignee (The listed assignees may be inaccurate. Google has not performed a legal analysis and makes no representation or warranty as to the accuracy of the list.)
Individual
Original Assignee
Individual
Priority date (The priority date is an assumption and is not a legal conclusion. Google has not performed a legal analysis and makes no representation as to the accuracy of the date listed.)
Filing date
Publication date
Application filed by Individual filed Critical Individual
Priority to CN202220171377.3U priority Critical patent/CN217313391U/en
Application granted granted Critical
Publication of CN217313391U publication Critical patent/CN217313391U/en
Expired - Fee Related legal-status Critical Current
Anticipated expiration legal-status Critical

Links

Images

Classifications

    • YGENERAL TAGGING OF NEW TECHNOLOGICAL DEVELOPMENTS; GENERAL TAGGING OF CROSS-SECTIONAL TECHNOLOGIES SPANNING OVER SEVERAL SECTIONS OF THE IPC; TECHNICAL SUBJECTS COVERED BY FORMER USPC CROSS-REFERENCE ART COLLECTIONS [XRACs] AND DIGESTS
    • Y02TECHNOLOGIES OR APPLICATIONS FOR MITIGATION OR ADAPTATION AGAINST CLIMATE CHANGE
    • Y02PCLIMATE CHANGE MITIGATION TECHNOLOGIES IN THE PRODUCTION OR PROCESSING OF GOODS
    • Y02P20/00Technologies relating to chemical industry
    • Y02P20/141Feedstock

Landscapes

  • Physical Or Chemical Processes And Apparatus (AREA)

Abstract

The utility model belongs to the technical field of reation kettle, especially, be chemical industry safety reation kettle, including bottom plate and motor, the bottom plate below is connected with the landing leg, and the inboard reation kettle main part that is fixed of bottom plate to reation kettle main part top is provided with the feed inlet, electric telescopic handle is installed to the feed inlet avris, and electric telescopic handle one end is connected with first apron to first apron avris is connected with first pivot, the motor is installed in the avris of reation kettle main part, and the motor avris is connected with the second pivot to the second pivot outside is fixed with first gear, first gear avris is connected with the second gear, and the second gear inboard is provided with the (mixing) shaft to the (mixing) shaft avris is provided with the stirring leaf, stirring leaf below is provided with the filter screen, and installs the discharge gate below the filter screen. This chemical industry safety reation kettle conveniently carries out even operation of mixing to reaction material, conveniently carries out the automatic closed operation of feed inlet.

Description

Chemical safety reaction kettle
Technical Field
The utility model relates to a reation kettle technical field specifically is chemical industry safety reation kettle.
Background
The reaction kettle is a container for physical or chemical reaction, and is used in the fields of pharmacy, rubber, pesticide, petroleum, chemical industry and the like for carrying out heating, evaporation, cooling, and other blending processes to meet the process requirements, but the existing chemical reaction kettle has the following problems:
1. the existing chemical reaction kettle is inconvenient for carrying out uniform mixing operation on reaction materials, so that the reaction speed is slow;
2. the existing chemical reaction kettle reacts immediately after raw materials are added, and a worker easily inhales toxic gas generated by reaction while manually closing the feed inlet, so that the automatic closing operation of the feed inlet is inconvenient to carry out, and the use is inconvenient.
Aiming at the problems, innovative design is urgently needed on the basis of the original chemical safety reaction kettle.
SUMMERY OF THE UTILITY MODEL
An object of the utility model is to provide a chemical industry safety reation kettle to propose current chemical industry safety reation kettle in solving above-mentioned background art, inconvenient carry out even blending operation to reaction material, the inconvenient automatic closed problem of operation that carries on the feed inlet.
In order to achieve the above object, the utility model provides a following technical scheme: chemical industry safety reation kettle, including bottom plate and motor, the bottom plate below is connected with the landing leg, and the bottom plate inboard is fixed with the reation kettle main part to reation kettle main part top is provided with the feed inlet, electric telescopic handle is installed to the feed inlet avris, and electric telescopic handle one end is connected with first apron to first apron avris is connected with first pivot, the motor is installed in the avris of reation kettle main part, and the motor avris is connected with the second pivot to the second pivot outside is fixed with first gear, first gear avris is connected with the second gear, and the second gear inboard is provided with the (mixing) shaft to the (mixing) shaft avris is provided with the stirring leaf, stirring leaf below is provided with the filter screen, and installs the discharge gate below the filter screen to the discharge gate outside is provided with the second apron, second apron avris is connected with the buckle.
Preferably, the bottom plate and the supporting legs are arranged in a mutually perpendicular mode, the bottom plate and the reaction kettle main body are arranged in a penetrating mode, and the reaction kettle main body and the feeding hole are arranged in a welding mode.
Preferably, electric telescopic handle and feed inlet adopt closely laminating setting, and electric telescopic handle and first apron adopt welded connection to set up to first apron adopts rotatable coupling setting with first pivot.
Preferably, the second rotating shaft and the transverse center line of the first gear are overlapped, the first gear and the second gear are in meshed connection, and the second gear and the stirring shaft are in welded connection.
Preferably, the stirring blades and the stirring shaft are arranged in an axial symmetry manner, the stirring blades and the filter screen are arranged in parallel, and the filter screen and the discharge port are arranged on the same straight line.
Preferably, the second cover plate and the discharge hole are arranged in a rotatable connection mode, and the second cover plate and the buckle are arranged in a welding connection mode.
Compared with the prior art, the beneficial effects of the utility model are that: the chemical safety reaction kettle is convenient for uniform mixing operation of reaction materials and automatic closing operation of a feeding hole;
1. when the chemical safety reaction kettle is used, after raw materials are added, a motor can be turned on, the motor drives a second rotating shaft to rotate, the second rotating shaft drives a first gear to rotate when rotating, the second gear is driven to rotate through a meshing relation when rotating, a stirring shaft is driven to rotate when rotating by the second gear, symmetrical stirring blades are arranged on the outer side of the stirring shaft and are arranged in a staggered mode, the raw materials can be stirred more uniformly, the reaction speed is accelerated, the principle after uniform stirring is deposited at the bottom of a reaction kettle main body after being filtered by a filter screen, and after the reaction is finished, a second cover plate can be opened to discharge materials by removing a limiting measure of a buckle on the second cover plate;
2. when using this chemical industry safety reation kettle, after adding the raw materials, when needing to carry out the closed operation to the feed inlet, only need use the controller to open electric telescopic handle, electric telescopic handle shrink drives first apron through first pivot angle regulation until closing completely in the feed inlet top, the completion is to the closed operation of feed inlet.
Drawings
Fig. 1 is a schematic view of the front cross-sectional structure of the present invention;
FIG. 2 is a schematic view of the front view structure of the present invention;
FIG. 3 is a schematic top view of the present invention;
fig. 4 is an enlarged schematic view of a portion a in fig. 2 according to the present invention.
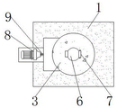
In the figure: 1. a base plate; 2. a support leg; 3. a reaction kettle main body; 4. a feed inlet; 5. an electric telescopic rod; 6. a first cover plate; 7. a first rotating shaft; 8. a motor; 9. a second rotating shaft; 10. a first gear; 11. a second gear; 12. a stirring shaft; 13. stirring blades; 14. a filter screen; 15. a discharge port; 16. a second cover plate; 17. and (5) buckling.
Detailed Description
The technical solutions in the embodiments of the present invention will be described clearly and completely with reference to the accompanying drawings in the embodiments of the present invention, and it is obvious that the described embodiments are only some embodiments of the present invention, not all embodiments. Based on the embodiments in the present invention, all other embodiments obtained by a person skilled in the art without creative work belong to the protection scope of the present invention.
Referring to fig. 1-4, the present invention provides a technical solution: a chemical safety reaction kettle comprises a bottom plate 1, supporting legs 2, a reaction kettle main body 3, a feed inlet 4, an electric telescopic rod 5, a first cover plate 6, a first rotating shaft 7, a motor 8, a second rotating shaft 9, a first gear 10, a second gear 11, a stirring shaft 12, a stirring blade 13, a filter screen 14, a discharge port 15, a second cover plate 16 and a buckle 17, wherein the supporting legs 2 are connected below the bottom plate 1, the reaction kettle main body 3 is fixed on the inner side of the bottom plate 1, the feed inlet 4 is arranged above the reaction kettle main body 3, the electric telescopic rod 5 is arranged on the side of the feed inlet 4, one end of the electric telescopic rod 5 is connected with the first cover plate 6, the first rotating shaft 7 is connected on the side of the first cover plate 6, the motor 8 is arranged on the side of the reaction kettle main body 3, the second rotating shaft 9 is connected on the side of the motor 8, the first gear 10 is fixed on the outer side of the second rotating shaft 9, the second gear 11 is connected on the side of the first gear 10, a stirring shaft 12 is arranged on the inner side of the second gear 11, a stirring blade 13 is arranged on the side of the stirring shaft 12, a filter screen 14 is arranged below the stirring blade 13, a discharge port 15 is arranged below the filter screen 14, a second cover plate 16 is arranged on the outer side of the discharge port 15, and a buckle 17 is connected to the side of the second cover plate 16;
further, the bottom plate 1 and the support legs 2 are arranged vertically to each other, the bottom plate 1 and the reaction kettle main body 3 are arranged in an inserting connection mode, the reaction kettle main body 3 and the feed inlet 4 are arranged in a welding connection mode, the stability between the bottom plate 1 and the support legs 2 is improved due to the mutually vertical arrangement, the bottom plate 1 can limit the position of the reaction kettle main body 3 due to the inserting connection mode, and the firmness between the reaction kettle main body 3 and the feed inlet 4 is improved due to the welding connection mode;
further, the electric telescopic rod 5 and the feed inlet 4 are arranged in a close fit manner, the electric telescopic rod 5 and the first cover plate 6 are arranged in a welding manner, the first cover plate 6 and the first rotating shaft 7 are arranged in a rotatable manner, the contact area between the electric telescopic rod 5 and the feed inlet 4 is increased due to the close fit arrangement, the firmness between the electric telescopic rod 5 and the first cover plate 6 is increased due to the welding arrangement, and the first cover plate 6 can be conveniently opened and closed by adjusting the angle through the first rotating shaft 7 due to the rotatable connection arrangement;
furthermore, the second rotating shaft 9 and the transverse central line of the first gear 10 are arranged in a superposed mode, the first gear 10 and the second gear 11 are arranged in a meshed connection mode, the second gear 11 and the stirring shaft 12 are arranged in a welded connection mode, the superposed arrangement facilitates the fact that the first gear 10 can be driven to rotate together when the second rotating shaft 9 rotates, the meshed connection arrangement enables the second gear 11 to be driven to rotate together through the meshed relation when the first gear 10 rotates, and the welded connection arrangement facilitates the fact that the stirring shaft 12 can be driven to rotate together when the second gear 11 rotates;
further, the stirring blade 13 and the stirring shaft 12 are arranged in an axial symmetry manner, the stirring blade 13 and the filter screen 14 are arranged in parallel, the filter screen 14 and the discharge port 15 are arranged on the same straight line, the axial symmetry arrangement enables the stirring shaft 12 to drive the stirring blade 13 to rotate, the materials in the reaction kettle main body 3 can be uniformly stirred, the reaction efficiency is improved, the stirring blade 13 and the filter screen 14 are arranged in parallel, the stability of the stirring blade 13 and the filter screen 14 is improved, and the materials filtered by the filter screen 14 can be conveniently discharged through the discharge port 15 by arranging on the same straight line;
further, second apron 16 adopts rotatable coupling setting with discharge gate 15, and second apron 16 adopts welded connection setting with buckle 17, and rotatable coupling sets up and has made things convenient for second apron 16 to open and close the operation in the outside of discharge gate 15, and welded connection sets up the fastness that has increased between second apron 16 and buckle 17.
The working principle is as follows: when the chemical safety reaction kettle is used, after raw materials are added, the motor 8 can be opened, the motor 8 drives the second rotating shaft 9 to rotate, the second rotating shaft 9 drives the first gear 10 to rotate when rotating, the first gear 10 drives the second gear 11 to rotate through meshing relation when rotating, the second gear 11 drives the stirring shaft 12 to rotate when rotating, symmetrical stirring blades 13 are arranged on the outer side of the stirring shaft 12, the stirring blades 13 are arranged in a staggered mode, raw materials can be stirred more uniformly, the reaction speed is accelerated, the stirring principle is deposited at the bottom of the reaction kettle main body 3 after being filtered by the filter screen 14, after the reaction is finished, the second cover plate 16 can be opened through a limiting measure of removing the buckle 17, the second cover plate 16 is discharged, after the raw materials are added, when the feed inlet 4 needs to be closed, only the controller is used for opening the electric telescopic rod 5, the electric telescopic rod 5 is contracted to drive the first cover plate 6 to adjust the angle through the first rotating shaft 7, until the feeding hole 4 is completely closed, and the closing operation of the feeding hole 4 is completed.
It should be finally noted that the above only serves to illustrate the technical solution of the present invention, and not to limit the scope of the present invention, and that simple modifications or equivalent replacements performed by those skilled in the art to the technical solution of the present invention do not depart from the spirit and scope of the technical solution of the present invention.

Claims (6)

1. Chemical industry safety reation kettle, including bottom plate (1) and motor (8), its characterized in that: the reaction kettle is characterized in that supporting legs (2) are connected below the bottom plate (1), a reaction kettle main body (3) is fixed on the inner side of the bottom plate (1), a feeding hole (4) is formed in the upper portion of the reaction kettle main body (3), an electric telescopic rod (5) is installed on the side of the feeding hole (4), one end of the electric telescopic rod (5) is connected with a first cover plate (6), the side of the first cover plate (6) is connected with a first rotating shaft (7), a motor (8) is installed on the side of the reaction kettle main body (3), the side of the motor (8) is connected with a second rotating shaft (9), a first gear (10) is fixed on the outer side of the second rotating shaft (9), a second gear (11) is connected to the side of the first gear (10), a stirring shaft (12) is arranged on the inner side of the second gear (11), stirring blades (13) are arranged on the side of the stirring shaft (12), a filter screen (14) is arranged below the stirring blades (13), and filter screen (14) below is installed discharge gate (15) to the discharge gate (15) outside is provided with second apron (16), second apron (16) avris is connected with buckle (17).
2. The chemical safety reaction kettle of claim 1, which is characterized in that: bottom plate (1) and landing leg (2) adopt mutually perpendicular to set up, and bottom plate (1) and reation kettle main part (3) adopt to alternate to be connected the setting to reation kettle main part (3) and feed inlet (4) adopt welded connection to set up.
3. The chemical safety reaction kettle of claim 1, which is characterized in that: electric telescopic handle (5) and feed inlet (4) adopt closely to laminate the setting, and electric telescopic handle (5) and first apron (6) adopt welded connection to set up to first apron (6) and first pivot (7) adopt rotatable coupling to set up.
4. The chemical safety reaction kettle of claim 1, which is characterized in that: the second rotating shaft (9) and the transverse center line of the first gear (10) are overlapped, the first gear (10) and the second gear (11) are in meshed connection, and the second gear (11) and the stirring shaft (12) are in welded connection.
5. The chemical safety reaction kettle of claim 1, which is characterized in that: stirring leaf (13) and (mixing) shaft (12) adopt the axial symmetry to set up, and stirring leaf (13) and filter screen (14) adopt mutual parallel arrangement to filter screen (14) and discharge gate (15) adopt and set up on the collinear.
6. The chemical safety reaction kettle of claim 1, which is characterized in that: the second cover plate (16) and the discharge hole (15) are arranged in a rotatable connection mode, and the second cover plate (16) and the buckle (17) are arranged in a welding connection mode.
CN202220171377.3U 2022-01-21 2022-01-21 Chemical safety reaction kettle Expired - Fee Related CN217313391U (en)

Priority Applications (1)

Application Number Priority Date Filing Date Title
CN202220171377.3U CN217313391U (en) 2022-01-21 2022-01-21 Chemical safety reaction kettle

Applications Claiming Priority (1)

Application Number Priority Date Filing Date Title
CN202220171377.3U CN217313391U (en) 2022-01-21 2022-01-21 Chemical safety reaction kettle

Publications (1)

Publication Number Publication Date
CN217313391U true CN217313391U (en) 2022-08-30

Family

ID=82995783

Family Applications (1)

Application Number Title Priority Date Filing Date
CN202220171377.3U Expired - Fee Related CN217313391U (en) 2022-01-21 2022-01-21 Chemical safety reaction kettle

Country Status (1)

Country Link
CN (1) CN217313391U (en)

Similar Documents

Publication Publication Date Title
CN211706714U (en) High-pressure-resistant chemical reaction kettle capable of reacting quickly
CN217313391U (en) Chemical safety reaction kettle
CN107639015A (en) Novel moveable automatic sand sieving device
CN215610780U (en) Anti-blocking device for stirrer for ceramic material processing
CN213966590U (en) Reactor with good mixing effect
CN211329260U (en) High-efficient jam processing is with raw material mixing device
CN212142568U (en) High-efficient reation kettle
CN219783853U (en) Device for continuous crystallization of nickel sulfate cooling crystallization
CN217698900U (en) Emulsion paint production is with high-efficient pulping jar
CN211636235U (en) A reation kettle for producing glue
CN213791616U (en) A reation kettle for natural real mineral varnish coating of outer wall
CN214715910U (en) Stirring device for preparing wine
CN212915678U (en) Reation kettle is used in preparation of PVC cross-linking agent
CN215743383U (en) Fully-reacted chemical reaction kettle
CN117160344A (en) Blade stirring pot and control method thereof
CN213913256U (en) A mixing device for food processing
CN207413407U (en) A kind of reaction kettle for producing supermolecule activity compacting agent
CN217042546U (en) Concentrated reation kettle is used to production cimetidine
CN212732123U (en) Hierarchical formula evenly stirred chemical industry reation kettle
CN115338000A (en) A dust removal device for feed production equipment
CN220640313U (en) Material recovery device
CN113403143A (en) Extraction process of turpentine
CN220422919U (en) Dust removal mechanism for noodle processing
CN220276948U (en) Reation kettle is used in fluorene class compound preparation
CN206235151U (en) A kind of market pot

Legal Events

Date Code Title Description
GR01 Patent grant
GR01 Patent grant
CF01 Termination of patent right due to non-payment of annual fee
CF01 Termination of patent right due to non-payment of annual fee

Granted publication date: 20220830