CN217291749U - Rotary polishing auxiliary device - Google Patents
Rotary polishing auxiliary device Download PDFInfo
- Publication number
- CN217291749U CN217291749U CN202123235669.3U CN202123235669U CN217291749U CN 217291749 U CN217291749 U CN 217291749U CN 202123235669 U CN202123235669 U CN 202123235669U CN 217291749 U CN217291749 U CN 217291749U
- Authority
- CN
- China
- Prior art keywords
- wall
- bottom plate
- fixedly connected
- assembly
- support column
- Prior art date
- Legal status (The legal status is an assumption and is not a legal conclusion. Google has not performed a legal analysis and makes no representation as to the accuracy of the status listed.)
- Expired - Fee Related
Links
- 238000005498 polishing Methods 0.000 title description 3
- 230000001681 protective effect Effects 0.000 claims abstract description 32
- 239000011521 glass Substances 0.000 claims description 3
- 230000003028 elevating effect Effects 0.000 claims 2
- 238000000034 method Methods 0.000 abstract description 11
- XEEYBQQBJWHFJM-UHFFFAOYSA-N Iron Chemical compound [Fe] XEEYBQQBJWHFJM-UHFFFAOYSA-N 0.000 abstract description 10
- 229910052742 iron Inorganic materials 0.000 abstract description 5
- JEIPFZHSYJVQDO-UHFFFAOYSA-N iron(III) oxide Inorganic materials O=[Fe]O[Fe]=O JEIPFZHSYJVQDO-UHFFFAOYSA-N 0.000 abstract description 5
- 230000000694 effects Effects 0.000 description 10
- 238000010586 diagram Methods 0.000 description 3
- 230000004048 modification Effects 0.000 description 3
- 238000012986 modification Methods 0.000 description 3
- 230000009286 beneficial effect Effects 0.000 description 2
- 239000000463 material Substances 0.000 description 1
- 239000002245 particle Substances 0.000 description 1
- 230000000704 physical effect Effects 0.000 description 1
- 238000003672 processing method Methods 0.000 description 1
- 239000000126 substance Substances 0.000 description 1
- 230000003746 surface roughness Effects 0.000 description 1
- 230000007306 turnover Effects 0.000 description 1
Images
Landscapes
- Finish Polishing, Edge Sharpening, And Grinding By Specific Grinding Devices (AREA)
Abstract
本实用新型涉及机械技术领域,且公开了一种旋转打磨辅助装置,包括底板,所述底板的顶部固定连接有支柱,所述支柱的内部设置有转轴,所述支柱的外壁通过转轴活动连接有连杆,所述支柱的内壁设置有限位梢,所述支柱的外壁通过限位梢与连杆的外壁活动连接,所述连杆的外壁固定连接有台板,所述台板的外壁设置有防护组件,所述防护组件包括设置在台板顶部的侧板,所述侧板的内壁设置有大螺栓,所述侧板的外壁通用大螺栓活动连接有防护罩,所述防护组件的内壁设置有夹持组件。该辅助装置,因防护组件的设置,可在有效阻挡打磨过程中产生的铁屑以及铁锈等飞溅,从而避免其对人体产生的伤害,保障了使用者的安全的同时也提高该装置的安全性能。
The utility model relates to the technical field of machinery, and discloses a rotary grinding auxiliary device, comprising a bottom plate, a support column is fixedly connected to the top of the bottom plate, a rotating shaft is arranged inside the support column, and an outer wall of the support column is movably connected with a rotating shaft through the rotating shaft. connecting rod, the inner wall of the strut is provided with a limit pin, the outer wall of the strut is movably connected with the outer wall of the connecting rod through the limit tip, the outer wall of the connecting rod is fixedly connected with a platen, and the outer wall of the platen is provided with A protective assembly, the protective assembly includes a side plate arranged on the top of the platen, the inner wall of the side plate is provided with large bolts, the outer wall of the side plate is movably connected with a protective cover with the large bolts, and the inner wall of the protective assembly is provided with a protective cover. There are clamping components. The auxiliary device, due to the setting of the protective components, can effectively block the splashing of iron filings and rust generated in the grinding process, thereby avoiding the damage to the human body, ensuring the safety of the user and improving the safety performance of the device. .
Description
技术领域technical field
本实用新型涉及机械技术领域,具体为一种旋转打磨辅助装置。The utility model relates to the technical field of machinery, in particular to a rotary grinding auxiliary device.
背景技术Background technique
打磨,是表面改性技术的一种,一般指借助粗糙物体(含有较高硬度颗粒的砂纸等)来通过摩擦改变材料表面物理性能的一种加工方法,主要目的是为了获取特定表面粗糙度。Grinding is a kind of surface modification technology. It generally refers to a processing method that uses rough objects (sandpaper containing higher hardness particles, etc.) to change the physical properties of the material surface through friction. The main purpose is to obtain a specific surface roughness.
工件在打磨的过程中会产生较多的铁屑和铁锈等物质,这些物质在飞溅的过程中容易对使用者产生伤害,因此,设计一种防护效果较好的旋转打磨辅助装置是有必要的。During the grinding process of the workpiece, a lot of iron filings and rust will be produced. These substances are easy to cause damage to the user in the process of splashing. Therefore, it is necessary to design a rotary grinding auxiliary device with better protection effect. .
实用新型内容Utility model content
(一)解决的技术问题(1) Technical problems solved
本实用新型的目的在于提供一种旋转打磨辅助装置,以解决上述背景技术中提出的问题。The purpose of the present invention is to provide a rotary grinding auxiliary device to solve the problems raised in the above background technology.
(二)技术方案(2) Technical solutions
为实现上述防护效果较好的目的,本实用新型提供如下技术方案:一种旋转打磨辅助装置,包括底板,所述底板的顶部固定连接有支柱,所述支柱的内部设置有转轴,所述支柱的外壁通过转轴活动连接有连杆,所述支柱的内壁设置有限位梢,所述支柱的外壁通过限位梢与连杆的外壁活动连接,所述连杆的外壁固定连接有台板,所述台板的外壁设置有防护组件,所述防护组件的内壁设置有夹持组件;In order to achieve the above purpose of better protection effect, the present utility model provides the following technical solutions: a rotary grinding auxiliary device, comprising a bottom plate, the top of the bottom plate is fixedly connected with a post, the interior of the post is provided with a rotating shaft, and the post is The outer wall of the connecting rod is movably connected with a connecting rod through a rotating shaft, the inner wall of the strut is provided with a limit tip, the outer wall of the strut is movably connected with the outer wall of the connecting rod through the limit tip, and the outer wall of the connecting rod is fixedly connected with a plate, so The outer wall of the platen is provided with a protective component, and the inner wall of the protective component is provided with a clamping component;
所述底板的顶部设置有升降台组件,所述底板的底部设置有支座。The top of the bottom plate is provided with a lifting platform assembly, and the bottom of the bottom plate is provided with a support.
优选的,所述夹持组件包括设置在防护组件内壁的连接筒,所述连接筒的内壁螺纹连接有螺杆,所述螺杆的一端固定连接有外壳,所述外壳的内部设置有小液压杆,所述小液压杆的一端固定连接有夹板,通过该组件的设置,可达到教好的夹持效果。Preferably, the clamping assembly includes a connecting cylinder disposed on the inner wall of the protective assembly, the inner wall of the connecting cylinder is threadedly connected with a screw rod, one end of the screw rod is fixedly connected with a casing, and a small hydraulic rod is arranged inside the casing, One end of the small hydraulic rod is fixedly connected with a splint, and through the arrangement of the component, a good clamping effect can be achieved.
优选的,所述升降台组件包括设置在底板顶部的底座,所述底座的外壁固定连接有液压缸,所述液压缸的外壁固定连接有限位盒,通过该组件的设置,可为打磨装置提供较好的使用位置。Preferably, the lift table assembly includes a base disposed on the top of the bottom plate, the outer wall of the base is fixedly connected with a hydraulic cylinder, and the outer wall of the hydraulic cylinder is fixedly connected with a limit box, through the setting of the assembly, the grinding device can be provided. A good location to use.
优选的,所述防护组件包括设置在台板顶部的侧板,所述侧板的内壁设置有大螺栓,所述侧板的外壁通用大螺栓活动连接有防护罩,通过该组件的设置,可达到较好的防护效果。Preferably, the protective assembly includes a side plate arranged on the top of the table, the inner wall of the side plate is provided with large bolts, and the outer wall of the side plate is movably connected with a protective cover through the large bolts. achieve better protection.
优选的,所述外壳的内壁开设有限位槽,且该限位槽的内壁与夹板的外壁活动连接,所述的外壁设置有海绵垫,从而达到对工件有着较好的保护效果。Preferably, the inner wall of the casing is provided with a limiting groove, and the inner wall of the limiting groove is movably connected with the outer wall of the splint, and the outer wall is provided with a sponge pad, so as to achieve a better protection effect on the workpiece.
优选的,所述底座的内壁设置有滚轮,且底板的顶部设置有滑槽,且该滚轮和该滑槽滑动连接,从而达到便于移动该组件的目的。Preferably, the inner wall of the base is provided with a roller, and the top of the bottom plate is provided with a chute, and the roller and the chute are slidably connected, so as to facilitate the movement of the assembly.
优选的,所述防护罩的内壁设置有观察窗,且该观察窗为透明玻璃观察窗,从而达到便于观察打磨情况的目的。Preferably, an observation window is provided on the inner wall of the protective cover, and the observation window is a transparent glass observation window, so as to facilitate the observation of the grinding condition.
(三)有益效果(3) Beneficial effects
与现有技术相比,本实用新型提供了一种旋转打磨辅助装置,具备以下有益效果:Compared with the prior art, the utility model provides a rotary grinding auxiliary device, which has the following beneficial effects:
1、该旋转打磨辅助装置,通过底板、夹持组件、升降台组件、防护组件、侧板、大螺栓、防护罩、台板、支柱、转轴和连杆的相互配合使用,因防护组件的设置,可在有效阻挡打磨过程中产生的铁屑以及铁锈等飞溅,从而避免其对人体产生的伤害,保障了使用者的安全的同时也提高该装置的安全性能;1. The rotary grinding auxiliary device is used in cooperation with the bottom plate, the clamping assembly, the lifting table assembly, the protective assembly, the side plate, the large bolt, the protective cover, the platen, the pillar, the rotating shaft and the connecting rod. Due to the setting of the protective assembly , which can effectively block the splashing of iron filings and rust generated in the grinding process, thereby avoiding the damage to the human body, ensuring the safety of users and improving the safety performance of the device;
2、该旋转打磨辅助装置,通过底板、夹持组件、连接筒、螺杆、小液压杆、外壳、夹板、升降台组件、防护组件、台板、支柱、转轴和连杆的相互配合使用,因夹持组件的设置,可达到对打磨的工件有着较好的夹持固定作用,从而提高打磨效果,为使用者提供了便利;2. The rotary grinding auxiliary device is used in cooperation with the bottom plate, the clamping assembly, the connecting cylinder, the screw, the small hydraulic rod, the shell, the splint, the lifting table assembly, the protective assembly, the platen, the pillar, the rotating shaft and the connecting rod. The setting of the clamping component can achieve a better clamping and fixing effect on the polished workpiece, thereby improving the polishing effect and providing convenience for users;
3、该旋转打磨辅助装置,通过底板、夹持组件、升降台组件、防护组件、台板、支柱、转轴和连杆的相互配合使用,因支柱、转轴和连杆的设置,可在该装置使用完后将该装置进行旋转收纳和拆解,从而达到方便搬运和移动的目的,为使用者提供了便利。3. The rotary grinding auxiliary device is used in cooperation with the bottom plate, the clamping assembly, the lifting table assembly, the protective assembly, the platen, the pillar, the rotating shaft and the connecting rod. After use, the device is rotated, stored and disassembled, so as to achieve the purpose of convenient handling and movement, and provide convenience for users.
附图说明Description of drawings
图1为本实用新型正剖图;Fig. 1 is the front sectional view of the utility model;
图2为本实用新型主视图;Fig. 2 is the front view of the utility model;
图3为本实用新型夹持组件结构示意图;3 is a schematic structural diagram of the clamping assembly of the present invention;
图4为本实用新型升降台组件结构示意图;4 is a schematic structural diagram of the lifting platform assembly of the present invention;
图5为本实用新型防护组件结构示意图。FIG. 5 is a schematic structural diagram of the protective assembly of the present invention.
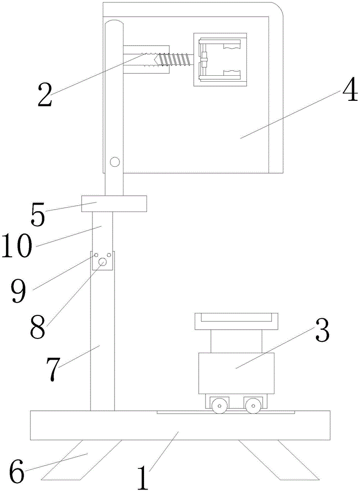
图中:1、底板;2、夹持组件;201、连接筒;202、螺杆;203、小液压杆;204、外壳;205、夹板;3、升降台组件;301、液压缸;302、底座;303、限位盒;4、防护组件;401、侧板;402、大螺栓;403、防护罩;5、台板;6、支座;7、支柱;8、转轴;9、限位梢;10、连杆。In the figure: 1. Bottom plate; 2. Clamping assembly; 201, connecting cylinder; 202, screw rod; 203, small hydraulic rod; 204, shell; 205, splint; 3. Lifting table assembly; 301, hydraulic cylinder; 302, base ;303, limit box; 4, protective component; 401, side plate; 402, large bolt; 403, protective cover; 5, platen; 6, support; 7, pillar; 8, shaft; 9, limit pin ; 10. Connecting rod.
具体实施方式Detailed ways
下面将结合本实用新型实施例中的附图,对本实用新型实施例中的技术方案进行清楚、完整地描述,显然,所描述的实施例仅仅是本实用新型一部分实施例,而不是全部的实施例。基于本实用新型中的实施例,本领域普通技术人员在没有做出创造性劳动前提下所获得的所有其他实施例,都属于本实用新型保护的范围。The technical solutions in the embodiments of the present utility model will be clearly and completely described below with reference to the accompanying drawings in the embodiments of the present utility model. Obviously, the described embodiments are only a part of the embodiments of the present utility model, rather than all the implementations. example. Based on the embodiments of the present invention, all other embodiments obtained by those of ordinary skill in the art without creative work fall within the protection scope of the present invention.
请参阅图1-5,一种旋转打磨辅助装置,包括底板1,底板1的顶部固定连接有支柱7,支柱7的内部设置有转轴8,支柱7的外壁通过转轴8活动连接有连杆10,支柱7的内壁设置有限位梢9,支柱7的外壁通过限位梢9与连杆10的外壁活动连接,连杆10的外壁固定连接有台板5,台板5的外壁设置有防护组件4,防护组件4包括设置在台板5顶部的侧板401,侧板401的内壁设置有大螺栓402,侧板401的外壁通用大螺栓402活动连接有防护罩403,防护罩403的内壁设置有观察窗,且该观察窗为透明玻璃观察窗,防护组件4的内壁设置有夹持组件2,夹持组件2包括设置在防护组件4内壁的连接筒201,连接筒201的内壁螺纹连接有螺杆202,螺杆202的一端固定连接有外壳204,外壳204的内部设置有小液压杆203,小液压杆203的一端固定连接有夹板205,外壳204的内壁开设有限位槽,且该限位槽的内壁与夹板205的外壁活动连接,的外壁设置有海绵垫;Please refer to FIGS. 1-5 , a rotary grinding auxiliary device includes a
底板1的顶部设置有升降台组件3,升降台组件3包括设置在底板1顶部的底座302,底座302的外壁固定连接有液压缸301,液压缸301的外壁固定连接有限位盒303,底座302的内壁设置有滚轮,且底板1的顶部设置有滑槽,且该滚轮和该滑槽滑动连接,通过底板1、夹持组件2、升降台组件3、防护组件4、侧板401、大螺栓402、防护罩403、台板5、支柱7、转轴8和连杆10的相互配合使用,因防护组件4的设置,可在有效阻挡打磨过程中产生的铁屑以及铁锈等飞溅,从而避免其对人体产生的伤害,保障了使用者的安全的同时也提高该装置的安全性能,通过底板1、夹持组件2、连接筒201、螺杆202、小液压杆203、外壳204、夹板205、升降台组件3、防护组件4、台板5、支柱7、转轴8和连杆10的相互配合使用,因夹持组件2的设置,可达到对打磨的工件有着较好的夹持固定作用,从而提高打磨效果,为使用者提供了便利,通过底板1、夹持组件2、升降台组件3、防护组件4、台板5、支柱7、转轴8和连杆10的相互配合使用,因支柱7、转轴8和连杆10的设置,可在该装置使用完后将该装置进行旋转收纳和拆解,从而达到方便搬运和移动的目的,为使用者提供了便利,底板1的底部设置有支座6。The top of the
该文中出现的电器元件均与外界的主控器及220V市电电连接,并且主控器可为计算机等起到控制的常规已知设备。The electrical components appearing in this article are all connected with the external main controller and 220V mains, and the main controller can be a conventional known device controlled by a computer or the like.
在使用时,将需要打磨的工件放置在夹持组件2中,将旋转打磨装置放置在限位盒303中,打开液压缸301升高该其位置,翻转防护罩403,开始打磨。When in use, place the workpiece to be ground in the clamping
综上所述,该旋转打磨辅助装置,因防护组件4的设置,可在有效阻挡打磨过程中产生的铁屑以及铁锈等飞溅,从而避免其对人体产生的伤害,保障了使用者的安全的同时也提高该装置的安全性能,因夹持组件2的设置,可达到对打磨的工件有着较好的夹持固定作用,从而提高打磨效果,为使用者提供了便利,因支柱7、转轴8和连杆10的设置,可在该装置使用完后将该装置进行旋转收纳和拆解,从而达到方便搬运和移动的目的,为使用者提供了便利。To sum up, the rotary grinding auxiliary device, due to the setting of the
需要说明的是,在本文中,诸如第一和第二等之类的关系术语仅仅用来将一个实体或者操作与另一个实体或操作区分开来,而不一定要求或者暗示这些实体或操作之间存在任何这种实际的关系或者顺序。而且,术语“包括”、“包含”或者其任何其他变体意在涵盖非排他性的包含,从而使得包括一系列要素的过程、方法、物品或者设备不仅包括那些要素,而且还包括没有明确列出的其他要素,或者是还包括为这种过程、方法、物品或者设备所固有的要素。It should be noted that, in this document, relational terms such as first and second are only used to distinguish one entity or operation from another entity or operation, and do not necessarily require or imply any relationship between these entities or operations. any such actual relationship or sequence exists. Moreover, the terms "comprising", "comprising" or any other variation thereof are intended to encompass a non-exclusive inclusion such that a process, method, article or device that includes a list of elements includes not only those elements, but also includes not explicitly listed or other elements inherent to such a process, method, article or apparatus.
尽管已经示出和描述了本实用新型的实施例,对于本领域的普通技术人员而言,可以理解在不脱离本实用新型的原理和精神的情况下可以对这些实施例进行多种变化、修改、替换和变型,本实用新型的范围由所附权利要求及其等同物限定。Although the embodiments of the present invention have been shown and described, it will be understood by those skilled in the art that various changes and modifications can be made to these embodiments without departing from the principles and spirit of the present invention , alternatives and modifications, the scope of the present invention is defined by the appended claims and their equivalents.
Claims (7)
Priority Applications (1)
| Application Number | Priority Date | Filing Date | Title |
|---|---|---|---|
| CN202123235669.3U CN217291749U (en) | 2021-12-21 | 2021-12-21 | Rotary polishing auxiliary device |
Applications Claiming Priority (1)
| Application Number | Priority Date | Filing Date | Title |
|---|---|---|---|
| CN202123235669.3U CN217291749U (en) | 2021-12-21 | 2021-12-21 | Rotary polishing auxiliary device |
Publications (1)
| Publication Number | Publication Date |
|---|---|
| CN217291749U true CN217291749U (en) | 2022-08-26 |
Family
ID=82920991
Family Applications (1)
| Application Number | Title | Priority Date | Filing Date |
|---|---|---|---|
| CN202123235669.3U Expired - Fee Related CN217291749U (en) | 2021-12-21 | 2021-12-21 | Rotary polishing auxiliary device |
Country Status (1)
| Country | Link |
|---|---|
| CN (1) | CN217291749U (en) |
-
2021
- 2021-12-21 CN CN202123235669.3U patent/CN217291749U/en not_active Expired - Fee Related
Similar Documents
| Publication | Publication Date | Title |
|---|---|---|
| CN205415216U (en) | Automatic polish mechanism | |
| CN217291749U (en) | Rotary polishing auxiliary device | |
| CN202114614U (en) | A face grinder | |
| CN206326469U (en) | A kind of mould processes sanding apparatus | |
| CN209477914U (en) | A kind of floor stand grinder of steel watchcase easy to support | |
| CN220240943U (en) | Polishing construction robot | |
| CN221248224U (en) | A floating grinding device with adjustable pressure | |
| CN208601262U (en) | A kind of production of metal hood is with facilitating fixed grinding device | |
| CN108908061A (en) | Machine part polishing machine | |
| CN211305729U (en) | Numerical control cutter grinding machine with cutter clamping stability is good | |
| CN206263746U (en) | A kind of water pipe sander | |
| CN210849604U (en) | Precision mold polishing mechanism | |
| CN211332677U (en) | Burnishing device is used in valve production and processing | |
| CN211565434U (en) | High strength glassware burnishing device | |
| CN216830128U (en) | Work piece is polished and is processed with fixing device that can overturn | |
| CN220944632U (en) | A grinding device for furniture manufacturing | |
| CN218796232U (en) | A grinding machine with high grinding quality | |
| CN221792213U (en) | Woodwork processing polishing mechanism | |
| CN217702893U (en) | Burnishing device is used in metal tool manufacturing | |
| CN221047122U (en) | Positioning assembly of bending machine | |
| CN213258920U (en) | Rotary clamping device for bearing polishing | |
| CN206855207U (en) | It is a kind of that there is the convenient grinding machine for clamping performance | |
| CN220762005U (en) | A flat processing device for machined parts | |
| CN206416018U (en) | A kind of carborundum polishing machine | |
| CN219925550U (en) | Wooden furniture polishing device |
Legal Events
| Date | Code | Title | Description |
|---|---|---|---|
| GR01 | Patent grant | ||
| GR01 | Patent grant | ||
| CF01 | Termination of patent right due to non-payment of annual fee | ||
| CF01 | Termination of patent right due to non-payment of annual fee |
Granted publication date: 20220826 |
