CN217277312U - Building element loading test connection system - Google Patents
Building element loading test connection system Download PDFInfo
- Publication number
- CN217277312U CN217277312U CN202122997602.7U CN202122997602U CN217277312U CN 217277312 U CN217277312 U CN 217277312U CN 202122997602 U CN202122997602 U CN 202122997602U CN 217277312 U CN217277312 U CN 217277312U
- Authority
- CN
- China
- Prior art keywords
- support
- sample
- testing machine
- plate
- loading test
- Prior art date
- Legal status (The legal status is an assumption and is not a legal conclusion. Google has not performed a legal analysis and makes no representation as to the accuracy of the status listed.)
- Active
Links
- 238000012360 testing method Methods 0.000 title claims abstract description 55
- 230000008878 coupling Effects 0.000 claims 1
- 238000010168 coupling process Methods 0.000 claims 1
- 238000005859 coupling reaction Methods 0.000 claims 1
- 230000000149 penetrating effect Effects 0.000 claims 1
- 238000010586 diagram Methods 0.000 description 6
- 238000011161 development Methods 0.000 description 2
- 238000006073 displacement reaction Methods 0.000 description 2
- 238000005516 engineering process Methods 0.000 description 2
- 238000000034 method Methods 0.000 description 2
- 238000012986 modification Methods 0.000 description 2
- 230000004048 modification Effects 0.000 description 2
- 238000011160 research Methods 0.000 description 2
- 230000009286 beneficial effect Effects 0.000 description 1
- 230000003993 interaction Effects 0.000 description 1
- 238000011173 large scale experimental method Methods 0.000 description 1
- 238000012029 structural testing Methods 0.000 description 1
Images
Landscapes
- Investigating Strength Of Materials By Application Of Mechanical Stress (AREA)
Abstract
本实用新型涉及一种建筑构件加载试验连接体系,包括试验机,试验机的作动器的外端设有试样连接架与试样连接,试验机的一侧立柱底部的内侧设有千斤顶,另一侧立柱底部的内侧设有顶接装置,试验机的底座上固接支座一和支座二,试验机的立柱的中部设有夹持架夹持试样。本实用新型可有效限制试验中的平面外移动现象,达到试验结果更加准确,更接近工程实际的目的。适用性高,实际试验现场拼装便捷,节能高效。
The utility model relates to a loading test connection system for building components, comprising a testing machine. The outer end of the actuator of the testing machine is provided with a sample connecting frame to connect with the sample, and the inner side of the bottom of one side column of the testing machine is provided with a jack. The inner side of the bottom of the column on the other side is provided with a top-connecting device, the base of the testing machine is fixedly connected to the first and second supports, and the middle of the column of the testing machine is provided with a clamping frame to hold the sample. The utility model can effectively limit the phenomenon of out-of-plane movement in the test, so as to achieve the purpose of more accurate test results and closer engineering practice. High applicability, convenient assembly on the actual test site, energy saving and high efficiency.
Description
技术领域technical field
本实用新型涉及结构试验领域,特别涉及一种建筑构件加载试验连接体系。The utility model relates to the field of structural testing, in particular to a connection system for loading testing of building components.
背景技术Background technique
近年来,随着我国科技及经济的高速发展,越来越多的高校学生走进实验室,进行土木类的大型试验。目前我国诸多科研院所、高校的土建类专业为了谋求发展和进步,引进了多种技术先进的大型试验机。但是部分早期试验设备对于试件在加载过程中易发生平面外的位移问题、试验试件与试验设备的连接不符合工程实际的边界条件,而且重新采购新型试验设备耗资巨大。In recent years, with the rapid development of my country's science and technology and economy, more and more college students have entered the laboratory to conduct large-scale experiments in civil engineering. At present, many scientific research institutes and universities in my country have introduced a variety of large-scale testing machines with advanced technologies in order to seek development and progress. However, some early test equipments are prone to out-of-plane displacement problems during the loading process of the test specimens, the connection between the test specimens and the test equipment does not meet the actual boundary conditions of the project, and the repurchasing of new test equipment costs a lot.
当前研究的试验设备连接体系存在下列问题:The current research on the connection system of the test equipment has the following problems:
一、试验设备连接体系形成的边界条件和相互作用不符合工程实际。1. The boundary conditions and interactions formed by the connection system of the test equipment do not conform to the actual engineering.
二、试验设备连接体系不能有效的限制平面外位移。2. The connection system of the test equipment cannot effectively limit the out-of-plane displacement.
三、试验设备连接体系不能做到多适用性,作用单一,针对不同尺寸试件无法做到连接装置可调节,需要重新加工,不符合节能省材。3. The connection system of the test equipment cannot be multi-applicable and has a single function. The connection device cannot be adjusted for different size specimens, and it needs to be reprocessed, which is not in line with energy saving and material saving.
发明内容SUMMARY OF THE INVENTION
本实用新型所要解决的技术问题是提供一种建筑构件加载试验连接体系,为试验结果的准确性提供保障。The technical problem to be solved by the utility model is to provide a building component loading test connection system, which guarantees the accuracy of the test results.
为实现上述目的,本实用新型采用以下技术方案实现:To achieve the above object, the present utility model adopts the following technical solutions to realize:
一种建筑构件加载试验连接体系,包括试验机,试验机的作动器的外端设有试样连接架与试样连接,试验机的一侧立柱底部的内侧设有千斤顶,另一侧立柱底部的内侧设有顶接装置,试验机的底座上固接支座一和支座二,试验机的立柱的中部设有夹持架夹持试样。A building component loading test connection system, including a testing machine, the outer end of the actuator of the testing machine is provided with a sample connection frame to connect with the sample, the inner side of the bottom of one side column of the testing machine is provided with a jack, and the other side column is provided with a jack. The inner side of the bottom is provided with a top-connecting device, the base of the testing machine is fixedly connected to the first and second supports, and the middle of the upright column of the testing machine is provided with a clamping frame to hold the sample.
所述的试样连接架包括压板一、压板二,压板一和压板二之间夹持试样,并通过紧固螺栓连接。The sample connecting frame includes a first pressing plate and a second pressing plate, and the sample is clamped between the first pressing plate and the second pressing plate, and is connected by fastening bolts.
所述的顶接装置包括限位板,限位板的中部横向设有圆杆。The top-connecting device includes a limit plate, and the middle of the limit plate is laterally provided with a round rod.
所述的支座一包括支座底板一,支座底板一的两侧对称设有支座侧板,两支座侧板上对应设有限位圆孔用于穿套限位杆。The first support includes a support bottom plate, the two sides of the support bottom plate one are symmetrically provided with support side plates, and the two support side plates are correspondingly provided with limit circular holes for passing the limit rods.
所述的支座二包括支座底板二,支座底板二的两侧对称设有支座立板,两支座立板上对应设有限位长圆孔用于穿套限位杆。The second support includes a second support base plate, two sides of the
所述的夹持架包括对称设置的夹板,两夹板的两端分别通过长螺栓连接,夹板对应试样的部分连接支板,支板上设有滑轮与试样顶接。The clamping frame comprises symmetrically arranged clamping plates, the two ends of the two clamping plates are respectively connected by long bolts, the part of the clamping plates corresponding to the sample is connected to the supporting plate, and the supporting plate is provided with a pulley to top the sample.
与现有的技术相比,本实用新型的有益效果是:Compared with the prior art, the beneficial effects of the present utility model are:
本实用新型可有效限制试验中的平面外移动现象,达到试验结果更加准确,更接近工程实际的目的。适用性高,实际试验现场拼装便捷,节能高效。The utility model can effectively limit the phenomenon of out-of-plane movement in the test, so as to achieve the purpose of more accurate test results and closer engineering practice. High applicability, convenient assembly on the actual test site, energy saving and high efficiency.
附图说明Description of drawings
图1为本实用新型的结构示意图。Figure 1 is a schematic structural diagram of the utility model.
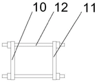
图2为试样连接架示意图。Figure 2 is a schematic diagram of the sample connection frame.
图3为顶接装置示意图。FIG. 3 is a schematic diagram of the top connection device.
图4为支座一示意图。Figure 4 is a schematic diagram of a support.
图5为支座二示意图。FIG. 5 is a schematic diagram of the second support.
图6为夹持架示意图。FIG. 6 is a schematic diagram of the clamping frame.
图7为夹持架俯视图。FIG. 7 is a top view of the clamping frame.
图中:试验机1;试验机的作动器2;试样连接架3;试样4;千斤顶5;顶接装置6;支座一7;支座二8;夹持架9;压板一10;压板二11;紧固螺栓12;限位板13;圆杆14;支座底板一15;支座侧板16;有限位圆孔17;支座底板二18;支座立板19;限位长圆孔20;夹板21、长螺栓22、支板23、滑轮24。In the figure:
具体实施方式Detailed ways
下面结合附图对本实用新型的具体实施方式进一步说明:The specific embodiments of the present utility model are further described below in conjunction with the accompanying drawings:
如图1-图7,一种建筑构件加载试验连接体系,包括试验机1,试验机的作动器2的外端设有试样连接架3与试样4连接,试验机1的一侧立柱底部的内侧设有千斤顶5,另一侧立柱底部的内侧设有顶接装置6,试验机1的底座上固接支座一7和支座二8,试验机1的立柱的中部设有夹持架9夹持试样4。As shown in Figures 1 to 7, a building component loading test connection system includes a
试样连接架3包括压板一10、压板二11,压板一10和压板二11之间夹持试样4,并通过紧固螺栓12连接。The
顶接装置6包括限位板13,限位板13与立柱螺栓连接,限位板13的中部横向设有圆杆14。The top connecting device 6 includes a
支座一7包括支座底板一15,支座底板一15的两侧对称设有支座侧板16,两支座侧板16上对应设有限位圆孔17用于穿套限位杆。The support one 7 includes a support bottom plate one 15, the two sides of the support bottom plate one 15 are symmetrically provided with
支座二8包括支座底板二18,支座底板二18的两侧对称设有支座立板19,两支座立板19上对应设有限位长圆孔20用于穿套限位杆。The
夹持架9包括对称设置的夹板21,两夹板21的两端分别通过长螺栓22连接,夹板22对应试样的部分连接支板23,支板23上设有滑轮24与试样4顶接。The
试样4上预留限位圆孔分别对应支座一7和支座二8,支座一7的限位圆孔17与试样4的限位圆孔内穿设限位杆形成固定支点,支座二8的限位长圆孔20与试样的限位圆孔内穿设限位杆形成铰支点。千斤顶5在侧面施加力顶住试样4。试验机的作动器2推动试样进行低周往复加载试验。The limit circular holes reserved on the
以上实用新型,对于本技术领域的普通技术人员来说,在不脱离本实用新型原理的前提下,还可以对本实用新型进行改进与修饰,这些改进和修饰也落入本实用新型权利要求的保护范围内。以上所述,仅为本实用新型较佳的具体实施方式,但本实用新型的保护范围并不局限于此,任何熟悉本技术领域的技术人员在本实用新型揭露的技术范围内,根据本实用新型的技术方案及其构思加以等同替换或改变,都应涵盖在本实用新型的保护范围之内。For those of ordinary skill in the art, the above utility model can also be improved and modified without departing from the principle of the present utility model. These improvements and modifications also fall into the protection of the claims of the present utility model. within the range. The above are only the preferred specific embodiments of the present invention, but the protection scope of the present invention is not limited to this. Equivalent replacement or modification of the new technical solution and its concept shall be included within the protection scope of the present invention.
Claims (6)
Priority Applications (1)
| Application Number | Priority Date | Filing Date | Title |
|---|---|---|---|
| CN202122997602.7U CN217277312U (en) | 2021-12-01 | 2021-12-01 | Building element loading test connection system |
Applications Claiming Priority (1)
| Application Number | Priority Date | Filing Date | Title |
|---|---|---|---|
| CN202122997602.7U CN217277312U (en) | 2021-12-01 | 2021-12-01 | Building element loading test connection system |
Publications (1)
| Publication Number | Publication Date |
|---|---|
| CN217277312U true CN217277312U (en) | 2022-08-23 |
Family
ID=82881737
Family Applications (1)
| Application Number | Title | Priority Date | Filing Date |
|---|---|---|---|
| CN202122997602.7U Active CN217277312U (en) | 2021-12-01 | 2021-12-01 | Building element loading test connection system |
Country Status (1)
| Country | Link |
|---|---|
| CN (1) | CN217277312U (en) |
-
2021
- 2021-12-01 CN CN202122997602.7U patent/CN217277312U/en active Active
Similar Documents
| Publication | Publication Date | Title |
|---|---|---|
| CN109187229B (en) | Stud Tensile Shear Test Apparatus and Test Method | |
| CN106644758A (en) | Rock direct shear and point load test device and test operation method thereof | |
| CN207439813U (en) | A kind of vertical tensile test apparatus containing tencel cloth fixture | |
| CN108956283A (en) | A kind of the dynamic tensile test fixture and test method of countersunk head sheet test specimen | |
| CN204630851U (en) | A kind of shear test apparatus | |
| CN203414337U (en) | Special clamp for automobile plate welding spot cross tensile experiment | |
| CN107727503A (en) | Adhesion-free test device and method for direct rock tensile test | |
| CN109297821A (en) | A test device for simulating axial compression of stiffened plates | |
| CN103175733A (en) | Direct tensile test jag of incompressible material | |
| CN108088756A (en) | A kind of experimental provision and its application method for being used to study FRP- concrete interface adhesive properties | |
| CN103234827B (en) | Device for testing tension of test piece | |
| CN107831064A (en) | A kind of vertical tensile test apparatus containing tencel cloth fixture | |
| CN217277312U (en) | Building element loading test connection system | |
| CN207991952U (en) | A exempt from to glue test device for direct tensile test of rock | |
| CN106468638B (en) | Axial tensile test fixture for long cube test piece | |
| CN111504787B (en) | A compression type concrete uniaxial tensile test fixture and test method | |
| CN206258311U (en) | A kind of fixing device for lifting diaphragm puncture test accuracy | |
| CN210221662U (en) | Shearing mechanism and shearing clamp for universal material testing machine | |
| CN203396643U (en) | Cube test block splitting test clamp | |
| CN204142569U (en) | Concrete splitting tensile strength test clamp | |
| CN209094867U (en) | A kind of welding positioning clamping tooling device | |
| CN220854473U (en) | Simple rigid confining pressure device suitable for common pressure testing machine | |
| CN208239279U (en) | Mortar tensile bond strength detecting tool and mortar tensile bond strength detection device | |
| CN207456942U (en) | A kind of rock matter test specimen spilt test clamping device | |
| CN207816740U (en) | A kind of experimental provision for studying FRP- concrete interface adhesive properties |
Legal Events
| Date | Code | Title | Description |
|---|---|---|---|
| GR01 | Patent grant | ||
| GR01 | Patent grant | ||
| TR01 | Transfer of patent right |
Effective date of registration: 20240510 Address after: Room 801, Unit 3, Building 1, Gonggong Community, No. 41 Jingshui Road, Aksu City, Aksu Prefecture, Xinjiang Uygur Autonomous Region, 843099 Patentee after: Jin Xiu Country or region after: China Patentee after: Wu Hongming Address before: 114051, No. 185, Qianshan Road, hi tech Zone, Liaoning, Anshan Patentee before: University of Science and Technology Liaoning Country or region before: China |
|
| TR01 | Transfer of patent right | ||
| TR01 | Transfer of patent right |
Effective date of registration: 20240829 Address after: 3rd Floor, Office Building, Aksu Municipal Public Construction Company, No. 45 Yingawati Road, Chaoyang Community, Langan Street, Aksu City, Aksu Prefecture, Xinjiang Uygur Autonomous Region, 843000 Patentee after: Xinjiang Hongmaoxiang Construction Engineering Co.,Ltd. Country or region after: China Address before: Room 801, Unit 3, Building 1, Gonggong Community, No. 41 Jingshui Road, Aksu City, Aksu Prefecture, Xinjiang Uygur Autonomous Region, 843099 Patentee before: Jin Xiu Country or region before: China Patentee before: Wu Hongming |
|
| TR01 | Transfer of patent right |
