CN217273333U - Automatic examination tool for bid price - Google Patents

Automatic examination tool for bid price Download PDF

Info

Publication number
CN217273333U
CN217273333U CN202220170456.2U CN202220170456U CN217273333U CN 217273333 U CN217273333 U CN 217273333U CN 202220170456 U CN202220170456 U CN 202220170456U CN 217273333 U CN217273333 U CN 217273333U
Authority
CN
China
Prior art keywords
transmission
base
main body
sliding block
rod
Prior art date
Legal status (The legal status is an assumption and is not a legal conclusion. Google has not performed a legal analysis and makes no representation as to the accuracy of the status listed.)
Active
Application number
CN202220170456.2U
Other languages
Chinese (zh)
Inventor
刘明巍
戎袁杰
刘昕
智贤达
赵海波
戴梦
李洪琳
魏亚楠
庞铖铖
杨凯
刘德刚
Current Assignee (The listed assignees may be inaccurate. Google has not performed a legal analysis and makes no representation or warranty as to the accuracy of the list.)
State Grid Materials Co Ltd
Original Assignee
State Grid Materials Co Ltd
Priority date (The priority date is an assumption and is not a legal conclusion. Google has not performed a legal analysis and makes no representation as to the accuracy of the date listed.)
Filing date
Publication date
Application filed by State Grid Materials Co Ltd filed Critical State Grid Materials Co Ltd
Priority to CN202220170456.2U priority Critical patent/CN217273333U/en
Application granted granted Critical
Publication of CN217273333U publication Critical patent/CN217273333U/en
Active legal-status Critical Current
Anticipated expiration legal-status Critical

Links

Images

Landscapes

  • Cleaning In General (AREA)

Abstract

本实用新型属于投标价格自动审查技术领域,尤其为一种投标价格自动审查工具,包括主体,所述主体下端通过转轴与底座相连接,所述底座下端设有矩形槽,所述底座矩形槽处设有用于移动作用的移动轮,所述主体上端设有用于信息展示作用的显示屏,所述主体显示屏的下端设有用于连接架定位安装作用的定位块,所述主体通过定位块与连接架相连接,所述连接架处设有用于传动作用的传动杆,内设有用于传动作用的电机,通过连接架的设置,连接架通过该处的传动杆,便于进行安装和拆卸,同时连接架处通过电机的传动,带动一号滑动块在该处滑动,从而通过清洁刷对主体处进行摩擦清洁,同时清洁刷与一号滑动块采用螺钉相连接,便于清洁刷的拆卸更换。

Figure 202220170456

The utility model belongs to the technical field of automatic bidding price review, in particular to an automatic bidding price review tool. There is a moving wheel for moving, the upper end of the main body is provided with a display screen for information display, the lower end of the main display screen is provided with a positioning block for the positioning and installation of the connection frame, and the main body is connected with the positioning block through the positioning block. The connecting frame is connected with the transmission rod, and the connecting frame is provided with a transmission rod for transmission, and a motor for transmission is installed inside. The frame is driven by the motor to drive the No. 1 sliding block to slide there, so that the main body is rubbed and cleaned by the cleaning brush. At the same time, the cleaning brush and the No. 1 sliding block are connected by screws, which is convenient for the removal and replacement of the cleaning brush.

Figure 202220170456

Description

Automatic examination tool for bid price
Technical Field
The utility model belongs to the technical field of the automatic examination of bid price, concretely relates to automatic examination instrument of bid price.
Background
In order to respond to the requirements of 'applying modern scientific and technological achievements, greatly promoting management innovation, mechanism innovation and technical innovation' and 'accelerating material information construction and deepening computer-aided tool application' in material bidding work. The method solves the business difficulty in the bid evaluation process, improves the quality, speed and human participation factor of material bid evaluation, provides data support for the material bid decision, effectively avoids the risk of the material bid decision and the audit risk, and supports more optimization of the material bid purchase work.
In the using process of the original automatic bidding price examining tool, sliding fingerprints, dust and the like in the bidding price information display area of the device influence the information display effect, and meanwhile, effective adjustment cannot be well carried out according to different users.
SUMMERY OF THE UTILITY MODEL
For solving the above-mentioned problem that exists among the prior art, the utility model provides an automatic examination instrument of bid price has simple structure, connects compactly, is convenient for adjust application angle, the regional clean maintenance's of show of being convenient for characteristics.
In order to achieve the above object, the utility model provides a following technical scheme: the utility model provides an automatic instrument of examining of bid price, includes the main part, the main part lower extreme is connected with the base through the pivot, the base lower extreme is equipped with the rectangular channel, base rectangular channel department is equipped with the removal wheel that is used for removing the effect, the main part upper end is equipped with the display screen that is used for the information display effect, the lower extreme of main part display screen is equipped with the locating piece that is used for link location installation effect, the main part is connected with the link through the locating piece, link department is equipped with the transfer line that is used for the transmission effect, is equipped with the motor that is used for the transmission effect in, and both sides end is equipped with the rectangular channel that is used for the spacing sliding action of a sliding block.
As the utility model discloses a preferred technical scheme of automatic examination instrument of bid price, the other end and the drive gear fixed connection of motor output in the link, drive gear passes through the tooth's socket and is connected with the meshing of driving rack, driving rack passes through the tooth's socket and is connected with No. two threaded rod meshes, department closes soon through screw thread and sliding block in the middle of No. two threaded rods and is connected.
As the utility model discloses a preferred technical scheme of automatic examination instrument of bid price, the transfer line other end is connected with the stopper through the pivot, the transfer line is connected with the coupling spring who is used for the effect that resets with the stopper junction registrate, the side and the locating piece terminal surface of stopper laminate mutually.
As the utility model discloses a preferred technical scheme of bid price automatic review instrument, No. one the sliding block is connected with the cleaning brush through the screw, the cleaning brush terminal surface is the arc form.
As the utility model discloses a preferred technical scheme of automatic examination instrument of bid price, base department is equipped with the spout that is used for No. two sliding blocks sliding action to and be used for the threaded rod of transmission effect, the outer end of a threaded rod is equipped with the handle, a threaded rod is connected with the base through the screw thread, and middle department closes soon with No. two sliding blocks through the screw thread to be connected, No. two sliding blocks are connected with the connecting rod through the rolling ball, the connecting rod other end is connected with the base through the rolling ball.
As the utility model discloses an automatic inspection instrument of bid price is preferred technical scheme, be equipped with in the base rectangular channel and be used for driven motor, the base motor is connected with the telescopic link.
Compared with the prior art, the beneficial effects of the utility model are that: the connecting frame is convenient to mount and dismount through the transmission rod at the position by arranging the connecting frame, and the first sliding block is driven to slide at the position by the transmission of the motor at the connecting frame, thereby the main body is cleaned by friction through the cleaning brush, and the cleaning brush is connected with the first sliding block by the screw, which is convenient for the disassembly and the replacement of the cleaning brush, through the arrangement of the base, one end of the base is connected with the main body through the rotating shaft, the other end is connected with the base through the connecting rod, the angle of the main body can be well adjusted through the rotation of the first threaded rod, the use feeling of different users is improved, meanwhile, the lower end of the base is also provided with a telescopic rod, the arrangement can adjust the supporting mode of the base through the telescopic action of the telescopic rod, thereby not only facilitating the movement of the device, meanwhile, the supporting surface of the base can be leveled, and the stability during fixing can be better ensured.
Drawings
The accompanying drawings are included to provide a further understanding of the invention, and are incorporated in and constitute a part of this specification, illustrate embodiments of the invention, and together with the description serve to explain the invention and not to limit the invention. In the drawings:
fig. 1 is a schematic side view of the present invention;
FIG. 2 is a schematic structural view of the present invention;
FIG. 3 is a schematic view of a partial cross-sectional structure of the main body of the present invention;
fig. 4 is a partially enlarged schematic view of a portion a in fig. 3 according to the present invention;
FIG. 5 is a schematic structural view of the connecting frame of the present invention;
fig. 6 is a schematic view of the transmission connection structure of the second threaded rod of the present invention;
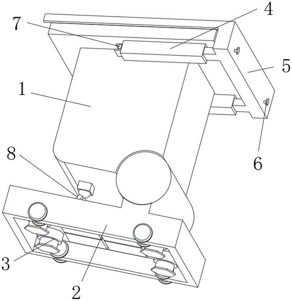
in the figure: 1. a main body; 2. a base; 3. a telescopic rod; 4. positioning blocks; 5. a connecting frame; 6. a transmission rod; 7. a limiting block; 8. a connecting rod; 9. a first sliding block; 10. a second slider; 11. a first threaded rod; 12. a connecting spring; 13. a second threaded rod; 14. a drive rack; 15. a transmission gear; 16. a cleaning brush.
Detailed Description
The technical solutions in the embodiments of the present invention will be described clearly and completely with reference to the accompanying drawings in the embodiments of the present invention, and it is obvious that the described embodiments are only some embodiments of the present invention, not all embodiments. Based on the embodiments in the present invention, all other embodiments obtained by a person skilled in the art without creative work belong to the protection scope of the present invention.
Examples
Referring to fig. 1-6, the present invention provides the following technical solutions: the utility model provides an automatic instrument of examining of bid price, including main part 1, 1 lower extreme of main part is connected with base 2 through the pivot, 2 lower extremes of base are equipped with the rectangular channel, 2 rectangular channel departments of base are equipped with the removal wheel that is used for the removal effect, 1 upper end of main part is equipped with the display screen that is used for the information display effect, the lower extreme of 1 display screen of main part is equipped with the locating piece 4 that is used for 5 location installation effects of link, main part 1 is connected with link 5 through locating piece 4, 5 departments of link are equipped with the transfer line 6 that is used for the transmission effect, be equipped with the motor that is used for the transmission effect in, both sides end is equipped with the rectangular channel that is used for the 9 spacing sliding effects of sliding block.
Concretely, the other end and the drive gear 15 fixed connection of motor output end in the link 5, drive gear 15 passes through the tooth's socket and is connected with the meshing of driving rack 14, driving rack 14 passes through the tooth's socket and is connected with the meshing of No. two threaded rods 13, and department closes soon through screw thread and sliding block 9 and is connected in the middle of No. two threaded rods 13, and link 5 department passes through the transmission of motor in this embodiment, drives sliding block 9 and slides in this department to it is clean to rub through cleaning brush 16 to main part 1 department.
Specifically, the other end of the transmission rod 6 is connected with the limiting block 7 through the rotating shaft, the connecting spring 12 used for resetting is connected at the joint of the transmission rod 6 and the limiting block 7 in a sleeved mode, the side end of the limiting block 7 is attached to the end face of the positioning block 4, the transmission rod 6 is used in the embodiment, and therefore the limiting block 7 and the positioning block 4 are controlled to be clamped and connected, and installation and disassembly are facilitated.
Specifically, a sliding block 9 is connected with cleaning brush 16 through the screw, and 16 terminal surfaces of cleaning brush are the arc form, and cleaning brush 16 adopts the screw to be connected with sliding block 9 in this embodiment, plays the dismantlement of the cleaning brush 16 of being convenient for and changes.
Specifically, base 2 department is equipped with the spout that is used for No. two sliding blocks 10 sliding effects, and be used for the threaded rod 11 of transmission effect, the outer end of threaded rod 11 is equipped with the handle, threaded rod 11 is connected with base 2 through the screw thread, middle department closes soon with No. two sliding blocks 10 through the screw thread and is connected, No. two sliding blocks 10 are connected with connecting rod 8 through the rolling ball, the 8 other ends of connecting rod are connected with base 2 through the rolling ball, through 11 rotations of a threaded rod in this embodiment, the angle of regulation main part 1 that can be fine, improve different users' use and feel.
Specifically, be equipped with in the 2 rectangular channels of base and be used for driven motor, base 2 motor is connected with telescopic link 3, and telescopic link 3 not only can adjust base 2's supported mode in this embodiment, can also carry out angle modulation simultaneously, can better ensure the stability when fixed.
The utility model discloses a theory of operation and use flow: the utility model moves the device to a proper position through the moving wheel at the lower end of 2, adjusts the extension size of 3 through the motor transmission at the lower end of 2, and makes the moving wheel at the position of 2 overhead, thereby fixing 1 at a proper position, a user rotates 11, 11 to drive 10 to slide according to the self condition, 10 adjusts the supporting height at the position through 8, and adjusts the using angle of 1 through the rotating shaft effect of 2 connected with the other end of 1, the rectangular block at the lower end of 5 and the rectangular groove at the position of 4 are positioned and installed, 6 is pulled out in the installation process, 6 contracts 7 through the rotation of the other end, when 5 and 4 are in proper position, 6 is loosened, 12 at the position is reset, 7 is stretched and is limited with 4 blocks, 5 is limited and connected at the position, 5 motors are started, the motor output end drives 14 to rotate through 15, 14 drives 13 to rotate through tooth sockets, 13 drives 9 to slide through threads, 9 cleaning action is performed on the upper end of the 1 by 16.
Finally, it should be noted that: although the present invention has been described in detail with reference to the foregoing embodiments, it will be apparent to those skilled in the art that modifications may be made to the embodiments described above, or equivalents may be substituted for elements thereof. Any modification, equivalent replacement, or improvement made within the spirit and principle of the present invention should be included in the protection scope of the present invention.

Claims (6)

1.一种投标价格自动审查工具,包括主体(1),其特征在于:所述主体(1)下端通过转轴与底座(2)相连接,所述底座(2)下端设有矩形槽,所述底座(2)矩形槽处设有用于移动作用的移动轮,所述主体(1)上端设有用于信息展示作用的显示屏,所述主体(1)显示屏的下端设有用于连接架(5)定位安装作用的定位块(4),所述主体(1)通过定位块(4)与连接架(5)相连接,所述连接架(5)处设有用于传动作用的传动杆(6),内设有用于传动作用的电机,两侧端设有用于一号滑动块(9)限位滑动作用的矩形槽。1. An automatic bidding price review tool, comprising a main body (1), characterized in that: the lower end of the main body (1) is connected with a base (2) through a rotating shaft, and the lower end of the base (2) is provided with a rectangular groove, so The rectangular groove of the base (2) is provided with a moving wheel for moving, the upper end of the main body (1) is provided with a display screen for information display, and the lower end of the display screen of the main body (1) is provided with a connecting frame ( 5) The positioning block (4) for positioning and installation, the main body (1) is connected with the connecting frame (5) through the positioning block (4), and the connecting frame (5) is provided with a transmission rod ( 6), a motor for transmission is provided inside, and rectangular grooves for the limited sliding action of the No. 1 sliding block (9) are provided on both sides. 2.根据权利要求1所述的一种投标价格自动审查工具,其特征在于:所述连接架(5)内电机输出端的另一端与传动齿轮(15)固定连接,所述传动齿轮(15)通过齿槽与传动齿条(14)啮合连接,所述传动齿条(14)通过齿槽与二号螺纹杆(13)啮合连接,所述二号螺纹杆(13)中间处通过螺纹与一号滑动块(9)旋合连接。2. An automatic bidding price review tool according to claim 1, characterized in that: the other end of the motor output end in the connecting frame (5) is fixedly connected with the transmission gear (15), and the transmission gear (15) The transmission rack (14) is meshed with the transmission rack (14) through the tooth slot, and the transmission rack (14) is meshed with the second threaded rod (13) through the tooth slot. No. Sliding block (9) is screwed and connected. 3.根据权利要求1所述的一种投标价格自动审查工具,其特征在于:所述传动杆(6)另一端通过转轴与限位块(7)相连接,所述传动杆(6)与限位块(7)连接处套合连接有用于复位作用的连接弹簧(12),所述限位块(7)的侧端与定位块(4)端面相贴合。3. An automatic bidding price review tool according to claim 1, characterized in that: the other end of the transmission rod (6) is connected to the limit block (7) through a rotating shaft, and the transmission rod (6) is connected to the limit block (7). A connecting spring (12) for restoring action is sleeved and connected at the connection part of the limit block (7), and the side end of the limit block (7) is in contact with the end face of the positioning block (4). 4.根据权利要求1所述的一种投标价格自动审查工具,其特征在于:所述一号滑动块(9)通过螺钉与清洁刷(16)相连接,所述清洁刷(16)端面呈弧形状。4. An automatic bidding price review tool according to claim 1, characterized in that: the No. 1 sliding block (9) is connected with the cleaning brush (16) through screws, and the end surface of the cleaning brush (16) is arc shape. 5.根据权利要求1所述的一种投标价格自动审查工具,其特征在于:所述底座(2)处设有用于二号滑动块(10)滑动作用的滑槽,以及用于传动作用的一号螺纹杆(11),所述一号螺纹杆(11)的外端设有手柄,所述一号螺纹杆(11)通过螺纹与底座(2)相连接,中间处通过螺纹与二号滑动块(10)旋合连接,所述二号滑动块(10)通过转动球与连接杆(8)相连接,所述连接杆(8)另一端通过转动球与底座(2)相连接。5. An automatic bidding price review tool according to claim 1, characterized in that: the base (2) is provided with a chute for the sliding action of the No. 2 sliding block (10), and a slide for the transmission action. No. 1 threaded rod (11), the outer end of the No. 1 threaded rod (11) is provided with a handle, the No. 1 threaded rod (11) is connected with the base (2) through threads, and the middle is connected with the second thread through threads The sliding block (10) is screwed and connected, the second sliding block (10) is connected with the connecting rod (8) through a rotating ball, and the other end of the connecting rod (8) is connected with the base (2) through the rotating ball. 6.根据权利要求1所述的一种投标价格自动审查工具,其特征在于:所述底座(2)矩形槽内设有用于传动的电机,所述底座(2)电机与伸缩杆(3)相连接。6. An automatic bidding price review tool according to claim 1, characterized in that: a motor used for transmission is arranged in the rectangular groove of the base (2), and the motor of the base (2) is connected to a telescopic rod (3). connected.
CN202220170456.2U 2022-01-21 2022-01-21 Automatic examination tool for bid price Active CN217273333U (en)

Priority Applications (1)

Application Number Priority Date Filing Date Title
CN202220170456.2U CN217273333U (en) 2022-01-21 2022-01-21 Automatic examination tool for bid price

Applications Claiming Priority (1)

Application Number Priority Date Filing Date Title
CN202220170456.2U CN217273333U (en) 2022-01-21 2022-01-21 Automatic examination tool for bid price

Publications (1)

Publication Number Publication Date
CN217273333U true CN217273333U (en) 2022-08-23

Family

ID=82902276

Family Applications (1)

Application Number Title Priority Date Filing Date
CN202220170456.2U Active CN217273333U (en) 2022-01-21 2022-01-21 Automatic examination tool for bid price

Country Status (1)

Country Link
CN (1) CN217273333U (en)

Similar Documents

Publication Publication Date Title
CN217273333U (en) Automatic examination tool for bid price
CN214312122U (en) Probability theory and mathematical statistics are projector for review
CN108916570A (en) A kind of electronic display height adjusting structure
CN209343123U (en) A multifunctional display device capable of projection and presentation
CN208053220U (en) A kind of automobile navigation instrument of good dustproof effect
CN213316309U (en) Liquid crystal display wiper
CN217932386U (en) Multi-angle projection device
CN217880144U (en) Computer display screen convenient to clearance
CN114159669A (en) Mental rehabilitation auxiliary device for mental patients
CN210895166U (en) Interactive display screen for agent sales of instrument and equipment
CN214197864U (en) A big data interactive display platform
CN219476249U (en) Digital linkage sand table
CN211742453U (en) A three-dimensional digital sand table used in urban planning and construction
CN208695682U (en) A kind of computer display with self-cleaning function
CN223338010U (en) A dust removal structure for LED screen
CN218122622U (en) A touch all-in-one machine for artificial intelligence interactive system
CN210196832U (en) Town and country planning construction mapping device
CN209671965U (en) A bracket for a combined computer display screen
CN221978672U (en) A power transmission and distribution monitoring device that is easy to install
CN222297407U (en) A display for Internet of Things information technology consulting services
CN213987468U (en) Touch all-in-one with dustproof construction
CN221743690U (en) A multi-angle adjustable information technology service device
CN114811285B (en) A holographic projection imaging interactive system
CN219143638U (en) Projection sand table with self-cleaning structure
CN214171780U (en) Computer display screen capable of adjusting different angles

Legal Events

Date Code Title Description
GR01 Patent grant
GR01 Patent grant