CN217235796U - Air conditioner indoor unit and air conditioner - Google Patents

Air conditioner indoor unit and air conditioner Download PDF

Info

Publication number
CN217235796U
CN217235796U CN202220236495.8U CN202220236495U CN217235796U CN 217235796 U CN217235796 U CN 217235796U CN 202220236495 U CN202220236495 U CN 202220236495U CN 217235796 U CN217235796 U CN 217235796U
Authority
CN
China
Prior art keywords
air
air conditioner
column
air duct
indoor unit
Prior art date
Legal status (The legal status is an assumption and is not a legal conclusion. Google has not performed a legal analysis and makes no representation as to the accuracy of the status listed.)
Active
Application number
CN202220236495.8U
Other languages
Chinese (zh)
Inventor
陈吉存
成汝振
郝本华
Current Assignee (The listed assignees may be inaccurate. Google has not performed a legal analysis and makes no representation or warranty as to the accuracy of the list.)
Qingdao Haier Air Conditioner Gen Corp Ltd
Qingdao Haier Air Conditioning Electric Co Ltd
Haier Smart Home Co Ltd
Original Assignee
Qingdao Haier Air Conditioner Gen Corp Ltd
Qingdao Haier Air Conditioning Electric Co Ltd
Haier Smart Home Co Ltd
Priority date (The priority date is an assumption and is not a legal conclusion. Google has not performed a legal analysis and makes no representation as to the accuracy of the date listed.)
Filing date
Publication date
Application filed by Qingdao Haier Air Conditioner Gen Corp Ltd, Qingdao Haier Air Conditioning Electric Co Ltd, Haier Smart Home Co Ltd filed Critical Qingdao Haier Air Conditioner Gen Corp Ltd
Priority to CN202220236495.8U priority Critical patent/CN217235796U/en
Application granted granted Critical
Publication of CN217235796U publication Critical patent/CN217235796U/en
Active legal-status Critical Current
Anticipated expiration legal-status Critical

Links

Images

Classifications

    • YGENERAL TAGGING OF NEW TECHNOLOGICAL DEVELOPMENTS; GENERAL TAGGING OF CROSS-SECTIONAL TECHNOLOGIES SPANNING OVER SEVERAL SECTIONS OF THE IPC; TECHNICAL SUBJECTS COVERED BY FORMER USPC CROSS-REFERENCE ART COLLECTIONS [XRACs] AND DIGESTS
    • Y02TECHNOLOGIES OR APPLICATIONS FOR MITIGATION OR ADAPTATION AGAINST CLIMATE CHANGE
    • Y02BCLIMATE CHANGE MITIGATION TECHNOLOGIES RELATED TO BUILDINGS, e.g. HOUSING, HOUSE APPLIANCES OR RELATED END-USER APPLICATIONS
    • Y02B30/00Energy efficient heating, ventilation or air conditioning [HVAC]
    • Y02B30/70Efficient control or regulation technologies, e.g. for control of refrigerant flow, motor or heating

Landscapes

  • Electrostatic Separation (AREA)

Abstract

本申请属于家用电器技术领域,具体涉及一种空调内机及空调器,空调内机包括骨架、风道组件和接地引线,骨架包括底座以及垂直设置在底座上且相对设置的第一立柱和第二立柱,其中第一立柱接地设置;风道组件安装在第一立柱和第二立柱之间,风道组件包括贯流风扇、风道和出风口,贯流风扇和出风口分别位于风道的两端,风道的侧壁上设有负离子净化装置,出风口内设有金属护网;接地引线的第一端连接金属护网,接地引线的第二端连接第一立柱。本申请能够利用接地引线将金属护网与第一立柱电连接,由于第一立柱接地设置,因此金属护网上的负离子可以实时导入大地而不会沉积在金属护网的表面,有利于保护用户的人身安全。

Figure 202220236495

The application belongs to the technical field of household appliances, and in particular relates to an air conditioner interior unit and an air conditioner. The air conditioner interior unit includes a skeleton, an air duct assembly and a grounding lead. The skeleton includes a base and a first upright column and a first column and a second column vertically arranged on the base and opposite to each other. Two columns, the first column is grounded; the air duct assembly is installed between the first column and the second column, and the air duct assembly includes a cross-flow fan, an air duct and an air outlet, and the cross-flow fan and the air outlet are respectively located in the air duct. At both ends, the side walls of the air duct are provided with negative ion purification devices, and the air outlet is provided with a metal protective net; the first end of the grounding lead is connected to the metal protective net, and the second end of the grounding lead is connected to the first column. The present application can use the grounding lead to electrically connect the metal protective net to the first column. Since the first column is grounded, the negative ions on the metal protective net can be introduced into the ground in real time without being deposited on the surface of the metal protective net, which is beneficial to protect the user's safety. Personal safety.

Figure 202220236495

Description

Air conditioner indoor unit and air conditioner
Technical Field
The application belongs to the technical field of household appliances, and particularly relates to an air conditioner indoor unit and an air conditioner.
Background
Air conditioners generally include an air conditioner external unit and an air conditioner internal unit. The compressor compresses the gaseous refrigerant into high-temperature and high-pressure gaseous refrigerant, the gaseous refrigerant becomes normal-temperature and high-pressure liquid refrigerant after the heat of the condenser is dissipated, and the liquid refrigerant is finally conveyed to the air conditioner internal unit through the capillary tube. An evaporator and a cross-flow fan are arranged in an air conditioner indoor unit, the space of the liquid refrigerant is suddenly increased after the liquid refrigerant reaches the evaporator, and the liquid refrigerant is vaporized and changed into a gaseous low-temperature refrigerant, so that a large amount of heat can be absorbed; the cross flow fan guides indoor air to pass through the evaporator, and the air is blown out of the air conditioner indoor unit to the environment after heat exchange in the evaporator so as to reduce the temperature of the environment.
In the scheme of the prior art, the air conditioner indoor unit comprises a machine shell, an air outlet is formed in the surface of the machine shell, a metal protecting net is arranged in the air outlet, and the metal protecting net can prevent a user from mistakenly stretching into the air outlet, so that the use safety is improved. In order to improve the quality of indoor air, an anion purification device can be arranged in the air conditioner indoor unit and can emit anions outwards, so that particles such as dust, germs, spores, pollen, flock and the like in the indoor air are charged and then are adsorbed by the discharge integration device, and the purposes of purifying the indoor air and improving the quality of the indoor air are achieved.
However, with the above-mentioned solutions of the related art, after the air conditioner is used for a long time, static electricity is easily generated on the metal protection net in the air outlet, which affects the safe use of users.
SUMMERY OF THE UTILITY MODEL
In order to solve the above-mentioned problem in the correlation technique, for solve the metal in the air outlet among the correlation technique and protect the guipure static, influence the problem that user's safe handling, this application provides an air conditioner internal unit and air conditioner.
An embodiment of the application provides an air conditioner indoor unit, includes:
the framework comprises a base, a first upright column and a second upright column, wherein the first upright column and the second upright column are vertically arranged on the base and are oppositely arranged, and the first upright column is grounded;
the air channel assembly is arranged between the first stand column and the second stand column and comprises a cross-flow fan, an air channel and an air outlet, the cross-flow fan and the air outlet are respectively positioned at two ends of the air channel, a negative ion purification device is arranged on the side wall of the air channel, and a metal protection net is arranged in the air outlet;
and a first end of the grounding lead is connected with the metal protecting net, and a second end of the grounding lead is connected with the first upright post.
As above air conditioner internal unit, optionally, the metal protecting net includes a plurality of first metal wires and a plurality of second metal wires that are arranged in a staggered manner, at least one of the second metal wires passes through the air duct assembly and extends to the outside of the air outlet, the first end of the ground lead is connected to the end of the second metal wire that is located at the outside of the air outlet, and the second end of the ground lead is connected to the first column.
Optionally, a first threaded hole and a first hold-down bolt are arranged at the top of the air duct assembly, and the first hold-down bolt is detachably arranged in the first threaded hole;
the second metal wire is located one end of the outer portion of the air outlet is annular in shape in a winding mode, the second metal wire is sleeved on the stud of the first compression bolt, and one end of the outer portion of the air outlet, located by the second metal wire, of the first compression bolt is fixed between the nut of the first compression bolt and the first threaded hole.
Optionally, the air conditioner internal unit further comprises a baffle plate, the baffle plate comprises a body and a fixed plate perpendicular to the body, the fixed plate is detachably connected with the top of the air duct assembly, and the body is arranged on the outer side wall of the air duct assembly and detachably connected with the first upright post;
a second threaded hole and a second compression bolt are formed in the fixing plate, and the second compression bolt is detachably arranged in the second threaded hole; a second end of the ground lead is disposed between a nut of the second compression bolt and the second threaded hole.
As above air conditioner indoor unit, optionally, be equipped with a plurality of buckles on the body, be equipped with a plurality of draw-in grooves on the first stand, it is a plurality of the buckle is with a plurality of draw-in groove one-to-one joint is fixed in order to with the body with first stand joint is connected.
As for the air conditioner indoor unit, optionally, a plurality of first jacks and a plurality of second jacks are respectively arranged on two opposite side walls of the air outlet, the plurality of first jacks and the plurality of second jacks correspond to each other one by one, and two ends of each first metal wire are respectively arranged in one corresponding first jack and one corresponding second jack.
According to the air conditioner indoor unit, optionally, a through hole is formed in the base, a grounding bolt is arranged on the first upright post, and the grounding bolt penetrates through the through hole and then is grounded.
Optionally, a power supply box is further disposed between the first upright column and the second upright column, and the power supply box is located between the air duct assembly and the base;
the power supply box is connected with the negative ion purification device through a first lead.
Optionally, the air duct assembly is further provided with an air inlet opposite to the air outlet and a disinfecting device, and the disinfecting device is located on one side of the air inlet facing the inside of the air duct assembly;
the power supply box is connected with the disinfection device through a second lead.
Another embodiment of this application still provides an air conditioner, including outer machine of air conditioner and the air conditioner indoor set of interconnect, the air conditioner indoor set adopts as above arbitrary the air conditioner indoor set.
The air conditioner comprises a framework, an air duct assembly and a grounding lead, wherein the framework comprises a base, a first upright column and a second upright column which are vertically arranged on the base and are oppositely arranged, and the first upright column is arranged in a grounding manner; the air channel assembly is arranged between the first stand column and the second stand column and comprises a cross-flow fan, an air channel and an air outlet, the cross-flow fan and the air outlet are respectively positioned at two ends of the air channel, a negative ion purification device is arranged on the side wall of the air channel, and a metal protection net is arranged in the air outlet; the first end of the grounding lead is connected with the metal protecting net, and the second end of the grounding lead is connected with the first upright post. Through the setting, when using the air conditioner, this application can utilize ground lead to be connected metal protecting wire net and first stand electricity, because first stand ground connection sets up, consequently the anion on the metal protecting wire net can real-time leading-in ground and can not deposit on the surface of metal protecting wire net to produce static on having avoided metal protecting wire net, be favorable to protecting user's personal safety.
Drawings
In order to more clearly illustrate the embodiments of the present application or the technical solutions in the prior art, the drawings needed to be used in the description of the embodiments or the prior art will be briefly introduced below, and it is obvious that the drawings in the following description are some embodiments of the present application, and for those skilled in the art, other drawings can be obtained according to these drawings without inventive exercise.
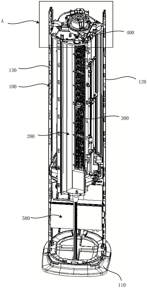
Fig. 1 is a schematic structural diagram of an air conditioner internal unit according to an embodiment of the present application;
FIG. 2 is an enlarged view of a portion A of FIG. 1;
fig. 3 is an exploded view of an air conditioner indoor unit provided in an embodiment of the present application;
FIG. 4 is an enlarged partial view of portion B of FIG. 3;
FIG. 5 is a schematic view of the air duct structure of FIG. 1 with portions hidden;
fig. 6 is a plan view of an air conditioner internal unit according to an embodiment of the present disclosure (the arrow direction in the figure is the air flowing direction).
Reference numerals are as follows:
100-a framework; 110-a base; 120-a first column; 121-card slot; 130-a second upright;
200-an air duct assembly; 210-crossflow fans; 220-air duct; 230-an air outlet; 231-a first receptacle; 240-negative ion purification device; 250-a first compression bolt; 260-a baffle; 261-body; 2611-fastener; 262-a fixed plate; 263-second hold-down bolt; 270-air inlet; 280-a sterilizing device;
300-a metal protecting net; 310 — a first metal line; 320-a second metal line;
400-ground lead;
500-a power supply box; 510-a first wire; 520-second conductive line.
Detailed Description
In the scheme of the prior art, the air conditioner indoor unit comprises a machine shell, an air outlet is formed in the surface of the machine shell, a metal protecting net is arranged in the air outlet, and the metal protecting net can prevent a user from mistakenly stretching into the air outlet, so that the use safety is improved. In order to improve the quality of indoor air, an anion purification device can be arranged in the air conditioner indoor unit and can emit anions outwards, so that particles such as dust, germs, spores, pollen, flock and the like in the indoor air are charged and then are adsorbed by the discharge integration device, and the purposes of purifying the indoor air and improving the quality of the indoor air are achieved. However, with the above-mentioned solutions of the related art, after the air conditioner is used for a long time, static electricity is easily generated on the metal protection net in the air outlet, and a user may be electrified after accidentally touching the metal protection net, thereby affecting the safe use of the user.
In view of this, the present application aims to provide an air conditioner internal unit and an air conditioner, in which a framework of the air conditioner internal unit is grounded and a grounding lead is provided, a first end of the grounding lead is connected to a metal protecting net, and a second end of the grounding lead is connected to the framework, so that the grounding setting of the metal protecting net is realized, and negative ions on the metal protecting net can be introduced into the ground in real time and cannot be deposited on the surface of the metal protecting net, so that static electricity generated on the metal protecting net is avoided, and the personal safety of a user is protected.
In order to make the objects, technical solutions and advantages of the embodiments of the present application clearer, the technical solutions in the embodiments of the present application will be clearly and completely described below with reference to the drawings in the embodiments of the present application, and it is obvious that the described embodiments are some embodiments of the present application, but not all embodiments. All other embodiments, which can be derived by a person skilled in the art from the embodiments given herein without making any creative effort, shall fall within the protection scope of the present application.
Example one
Fig. 1 is a schematic structural diagram of an air conditioner internal unit according to an embodiment of the present application; FIG. 2 is an enlarged partial view of portion A of FIG. 1; fig. 3 is an exploded view of an air conditioner indoor unit provided in an embodiment of the present application; FIG. 4 is an enlarged partial view of portion B of FIG. 3; FIG. 5 is a schematic view of the air duct structure of FIG. 1 with portions hidden; fig. 6 is a plan view of an air conditioner internal unit according to an embodiment of the present disclosure (the arrow direction in the figure is the air flowing direction).
Referring to fig. 1 to fig. 6, the present embodiment provides an air conditioner internal unit (the present embodiment takes a cabinet as an example for description), including:
the framework 100, the framework 100 includes a base 110, and a first upright 120 and a second upright 130 vertically disposed on the base 110 and disposed oppositely, wherein the first upright 120 is disposed in a grounded manner. In this embodiment, the framework 100 is a supporting structure of the whole air conditioner indoor unit, the base 110 is horizontally placed on the ground during normal use, and the first upright column 120 and the second upright column 130 are installed on the base 110 along the vertical direction. The base 110 is typically made of an insulating material (e.g., hard plastic) to reduce the overall weight of the frame 100. First upright 120 and second upright 130 are made of a metal material (e.g., steel plate, etc.) to ensure support strength. The first shaft 120 is grounded after passing through the base 110, so that a ground connection is realized.
Preferably, the base 110 may be provided with a through hole, and the first pillar 120 is provided with a ground bolt, which is grounded after passing through the through hole.
Air duct assembly 200, air duct assembly 200 is mounted between first upright 120 and second upright 130, and air duct assembly 200 may be mounted to first upright 120 and second upright 130, for example, by fasteners such as bolts. The air duct assembly 200 includes a cross flow fan 210, an air duct 220 and an air outlet 230, the cross flow fan 210 and the air outlet 230 are respectively located at two ends of the air duct 220, a negative ion purification device 240 is disposed on a side wall of the air duct 220, and when air outlet of the cross flow fan 210 passes through the air duct 220, negative ions released by the negative ion purification device 240 can be carried out, so that the air outlet in a blowing room carries the negative ions. Be equipped with metal protecting net 300 in the air outlet 230, metal protecting net 300 can play the guard action, prevents that the user from stretching into in the wind channel 220 with the hand.
And a ground lead 400, wherein a first end of the ground lead 400 is connected to the metal guard net 300, and a second end of the ground lead 400 is connected to the first pillar 120. In this embodiment, the metal guard 300 may be made of iron wire, and the grounding lead 400 may be made of iron wire. Of course, in other possible embodiments, the metal protective mesh 300 may also be a copper wire mesh, and the ground lead 400 may also be a copper wire, which is not limited in this embodiment.
Through the arrangement, when the air conditioner is used, the metal protecting net 300 can be electrically connected with the first upright post 120 by using the grounding lead 400, and the first upright post 120 is grounded, so that negative ions on the metal protecting net 300 can be introduced into the ground in real time and cannot be deposited on the surface of the metal protecting net 300, thereby avoiding static electricity generated on the metal protecting net 300 and being beneficial to protecting the personal safety of users.
In a possible implementation manner, referring to fig. 1 to 4, the metal protecting net 300 of the present embodiment includes a plurality of first metal wires 310 and a plurality of second metal wires 320, which are arranged in a staggered manner, wherein the first metal wires 310 are arranged horizontally, and the second metal wires 320 are arranged vertically. At least one second wire 320 extends through the air duct assembly 200 to the outside of the outlet vent 230, thereby facilitating a ground connection. The first end of the grounding lead 400 is connected to one end of the second metal wire 320 located outside the air outlet 230, and the second end of the grounding lead 400 is connected to the first pillar 120, so that the grounding of the metal protecting net 300 is realized.
Further, the top of the air duct assembly 200 is provided with a first threaded hole and a first pressing bolt 250, and the first pressing bolt 250 is detachably disposed in the first threaded hole, so that the distance between the first pressing bolt 250 and the first threaded hole is conveniently adjusted.
The end of the second metal wire 320 located outside the air outlet 230 is wound in a ring shape and sleeved on the stud of the first pressing bolt 250, and the end of the second metal wire 320 located outside the air outlet 230 is fixed between the nut of the first pressing bolt 250 and the first threaded hole by the first pressing bolt 250.
In one possible implementation, as shown in fig. 3 and 4, the air duct assembly 200 of the present embodiment further includes a baffle 260, and the baffle 260 is a conductive metal plate (e.g., a steel plate). The baffle 260 includes a body 261 and a fixing plate 262 perpendicular to the body 261, the body 261 being disposed in a vertical direction, the fixing plate 262 being disposed at a top end of the body 261 in a horizontal direction. The fixing plate 262 is detachably connected to the top of the air duct assembly 200, and the body 261 is disposed on the outer sidewall of the air duct assembly 200 and detachably connected to the first upright 120.
In order to fix the ground lead 400 conveniently, a second threaded hole and a second pressing bolt 263 are arranged on the fixing plate 262, and the second pressing bolt 263 is detachably arranged in the second threaded hole; a second end of the ground lead 400 is disposed between the nut of the second compression bolt 263 and the second threaded hole.
With the above arrangement, ground lead 400 can be connected to baffle 260, and ground connection of ground lead 400 can be achieved by using the direct connection relationship between baffle 260 and first stud 120. The ground lead 400 may be further fixed between the second screw hole of the shield 260 and the second press bolt 263, thereby securing the stability of the connection.
Optionally, in order to facilitate the stability and the detachability of the connection between the baffle 260 and the first upright 120, a plurality of buckles 2611 are disposed on the body 261 of this embodiment, a plurality of slots 121 are disposed on the first upright 120, and the plurality of buckles 2611 and the plurality of slots 121 are clamped and fixed one by one to connect the body 261 and the first upright 120 in a clamping manner.
In one possible embodiment, to facilitate ease of installation of the metal guard net 300 and the need for post-maintenance, the metal guard net 300 is removably disposed within the outlet vent 230. Specifically, a plurality of first insertion holes 231 and a plurality of second insertion holes are respectively formed in two opposite side walls of the air outlet 230, the plurality of first insertion holes 231 and the plurality of second insertion holes correspond to each other one by one, and two ends of each first metal wire 310 are respectively disposed in the corresponding first insertion hole 231 and the corresponding second insertion hole.
In a possible implementation manner, referring to fig. 5 and fig. 6, a power supply box 500 is further disposed between the first upright 120 and the second upright 130 of the present embodiment, and the power supply box 500 is located between the air duct assembly 200 and the base 110; the power supply box 500 is connected to the negative ion purification apparatus 240 through a first wire 510, so as to supply power to the negative ion purification apparatus 240, thereby ensuring the normal operation of the negative ion purification apparatus 240.
In one possible embodiment, the air duct assembly 200 is further provided with an air inlet 270 opposite to the air outlet 230, and a sterilizing device 280, wherein the sterilizing device 280 is located at a side of the air inlet 270 facing the inside of the air duct assembly 200; the power supply box 500 is connected to the sterilizing device 280 through the second wire 520, and the sterilizing device 280 can adsorb particles carrying negative ions in the indoor air, thereby improving the indoor air quality.
In summary, in the present embodiment, the metal protecting net 300 is connected to the first pillar 120 through the grounding lead 400, so that the grounding connection of the metal protecting net 300 is realized. When the air conditioner is used, the metal protecting net 300 can be electrically connected with the first upright post 120 by using the grounding lead 400, and the first upright post 120 is grounded, so that negative ions on the metal protecting net 300 can be led into the ground in real time without being deposited on the surface of the metal protecting net 300, thereby avoiding static electricity generated on the metal protecting net 300 and being beneficial to protecting the personal safety of users.
Example two
The embodiment provides an air conditioner, which comprises an air conditioner external unit and an air conditioner internal unit which are connected with each other, wherein the air conditioner internal unit adopts the air conditioner internal unit as in the first embodiment.
The air conditioner of this embodiment adopts the air conditioner internal unit of the second embodiment, so the metal protecting net can be connected to the first upright post through the grounding lead wire, and the grounding connection of the metal protecting net is realized. When the air conditioner is used, the metal protecting net can be electrically connected with the first upright post by utilizing the grounding lead, and the first upright post is grounded, so that negative ions on the metal protecting net can be led into the ground in real time and cannot be deposited on the surface of the metal protecting net, thereby avoiding static electricity generated on the metal protecting net and being beneficial to protecting the personal safety of users.
In the description of the embodiments of the present application, the terms "first", "second" and "first" are used for descriptive purposes only and are not to be construed as indicating or implying relative importance or to imply that the number of indicated technical features is significant. Thus, a feature defined as "first" or "second" may explicitly or implicitly include at least one such feature. In the description of the present application, "plurality" means at least two, e.g., two, three, etc., unless specifically limited otherwise.
In the embodiments of the present application, unless otherwise specifically stated or limited, the terms "mounted," "connected," and "fixed" are to be construed broadly, e.g., as meaning fixedly connected, detachably connected, or integrally formed; they may be directly connected or indirectly connected through intervening media, or they may be connected internally or in any other suitable relationship, unless expressly stated otherwise. The specific meaning of the above terms in the present application can be understood by those of ordinary skill in the art as the case may be.
In the description of the embodiments of the present application, it should be understood that the terms "inner", "outer", "upper", "bottom", "front", "back", and the like, if any, refer to the orientation or positional relationship as shown in the drawings, which is used for convenience in describing the present application and for simplicity in description, and do not indicate or imply that the referenced devices or elements must have a particular orientation, be constructed in a particular orientation, and be operated in a particular manner, and therefore, should not be taken to be limiting of the present application.
Finally, it should be noted that: the above embodiments are only used for illustrating the technical solutions of the present application, and not for limiting the same; although the present application has been described in detail with reference to the foregoing embodiments, it should be understood by those of ordinary skill in the art that: the technical solutions described in the foregoing embodiments may still be modified, or some or all of the technical features may be equivalently replaced; and the modifications or the substitutions do not make the essence of the corresponding technical solutions depart from the scope of the technical solutions of the embodiments of the present application.

Claims (10)

1. An air conditioner indoor unit, characterized by comprising:
the framework comprises a base, a first upright column and a second upright column, wherein the first upright column and the second upright column are vertically arranged on the base and are oppositely arranged, and the first upright column is grounded;
the air channel assembly is arranged between the first stand column and the second stand column and comprises a cross-flow fan, an air channel and an air outlet, the cross-flow fan and the air outlet are respectively positioned at two ends of the air channel, a negative ion purification device is arranged on the side wall of the air channel, and a metal protection net is arranged in the air outlet;
and a first end of the grounding lead is connected with the metal protecting net, and a second end of the grounding lead is connected with the first upright post.
2. The indoor unit of an air conditioner according to claim 1, wherein the metal protecting net includes a plurality of first metal wires and a plurality of second metal wires which are arranged in a staggered manner, at least one of the second metal wires passes through the air duct assembly and extends to the outside of the air outlet, a first end of the grounding lead is connected with one end, located outside the air outlet, of the second metal wire, and a second end of the grounding lead is connected with the first upright post.
3. The indoor unit of an air conditioner as claimed in claim 2, wherein a first threaded hole and a first compression bolt are arranged at the top of the air duct assembly, and the first compression bolt is detachably arranged in the first threaded hole;
the second metal wire is located one end of the outer portion of the air outlet is annular in shape in a winding mode, the second metal wire is sleeved on the stud of the first compression bolt, and one end of the outer portion of the air outlet, located by the second metal wire, of the first compression bolt is fixed between the nut of the first compression bolt and the first threaded hole.
4. The indoor unit of an air conditioner as claimed in claim 3, wherein the air duct assembly further comprises a baffle plate, the baffle plate comprises a body and a fixing plate perpendicular to the body, the fixing plate is detachably connected with the top of the air duct assembly, and the body is arranged on the outer side wall of the air duct assembly and detachably connected with the first upright post;
a second threaded hole and a second compression bolt are formed in the fixing plate, and the second compression bolt is detachably arranged in the second threaded hole; a second end of the ground lead is disposed between a nut of the second compression bolt and the second threaded hole.
5. The indoor unit of an air conditioner as claimed in claim 4, wherein a plurality of buckles are arranged on the body, a plurality of clamping grooves are arranged on the first upright post, and the plurality of buckles and the plurality of clamping grooves are clamped and fixed one by one to connect the body and the first upright post in a clamping manner.
6. An indoor unit of an air conditioner according to claim 2, wherein a plurality of first jacks and a plurality of second jacks are respectively arranged on two opposite side walls of the air outlet, the plurality of first jacks and the plurality of second jacks are in one-to-one correspondence, and two ends of each first metal wire are respectively arranged in one corresponding first jack and one corresponding second jack.
7. The indoor unit of an air conditioner as claimed in claim 1, wherein a through hole is formed in the base, a grounding bolt is arranged on the first upright post, and the grounding bolt penetrates through the through hole and then is grounded.
8. The indoor unit of an air conditioner as claimed in claim 1, wherein a power supply box is further arranged between the first upright column and the second upright column, and the power supply box is located between the air duct assembly and the base;
the power supply box is connected with the negative ion purification device through a first lead.
9. The indoor unit of an air conditioner as claimed in claim 8, wherein the air duct assembly is further provided with an air inlet opposite to the air outlet and a disinfection device, and the disinfection device is positioned on one side of the air inlet facing the inside of the air duct assembly;
the power supply box is connected with the disinfection device through a second lead.
10. An air conditioner characterized by comprising an air conditioner external unit and an air conditioner internal unit which are connected with each other, wherein the air conditioner internal unit adopts the air conditioner internal unit as claimed in any one of claims 1 to 9.
CN202220236495.8U 2022-01-27 2022-01-27 Air conditioner indoor unit and air conditioner Active CN217235796U (en)

Priority Applications (1)

Application Number Priority Date Filing Date Title
CN202220236495.8U CN217235796U (en) 2022-01-27 2022-01-27 Air conditioner indoor unit and air conditioner

Applications Claiming Priority (1)

Application Number Priority Date Filing Date Title
CN202220236495.8U CN217235796U (en) 2022-01-27 2022-01-27 Air conditioner indoor unit and air conditioner

Publications (1)

Publication Number Publication Date
CN217235796U true CN217235796U (en) 2022-08-19

Family

ID=82834750

Family Applications (1)

Application Number Title Priority Date Filing Date
CN202220236495.8U Active CN217235796U (en) 2022-01-27 2022-01-27 Air conditioner indoor unit and air conditioner

Country Status (1)

Country Link
CN (1) CN217235796U (en)

Cited By (1)

* Cited by examiner, † Cited by third party
Publication number Priority date Publication date Assignee Title
CN115435438A (en) * 2022-09-29 2022-12-06 青岛海尔空调器有限总公司 Air purification device, air conditioner unit and air conditioner

Cited By (1)

* Cited by examiner, † Cited by third party
Publication number Priority date Publication date Assignee Title
CN115435438A (en) * 2022-09-29 2022-12-06 青岛海尔空调器有限总公司 Air purification device, air conditioner unit and air conditioner

Similar Documents

Publication Publication Date Title
LU502175B1 (en) Distribution cabinet heat-dissipation exhaust device
CN217235796U (en) Air conditioner indoor unit and air conditioner
CN220707482U (en) Air conditioning equipment
CN208139485U (en) A row air conditioner
CN213362787U (en) Air purifier
CN110529962B (en) Concentric pipeline and big cabinet machine for heat recovery
CN220689233U (en) Vertical dehumidifier
CN209929779U (en) Block terminal convenient to heat dissipation and ventilation
CN215892574U (en) Condensing device for wall-mounted air conditioner all-in-one machine
CN215269023U (en) Dustproof box of vertical rack heat dissipation window of BBU
CN201779783U (en) Commercial air conditioner
CN207966861U (en) A kind of protective relaying device
CN211908129U (en) Dustproof dehumidification cooling switch board
CN214541022U (en) High-temperature early warning device of power equipment
CN215062730U (en) Ceiling type air sterilizer
CN214249847U (en) Air conditioning unit and air conditioning system
CN214746144U (en) Multifunctional dehumidification water production equipment
CN212669867U (en) Multifunctional electrostatic spinning equipment
CN206469350U (en) A kind of multi-functional air conditioner
CN214311486U (en) Outdoor relay protection cabinet temperature and humidity adjusting device of intelligent substation
CN218151561U (en) Prevent new fan of condensation
CN219144744U (en) Block terminal dehydrating unit
CN222504088U (en) Indoor unit
CN207751084U (en) A kind of apparatus of air conditioning for cabin
CN216143857U (en) Air conditioner indoor unit and air conditioner

Legal Events

Date Code Title Description
GR01 Patent grant
GR01 Patent grant