CN217219682U - Wound drainage fixing device for breast surgery - Google Patents
Wound drainage fixing device for breast surgery Download PDFInfo
- Publication number
- CN217219682U CN217219682U CN202220763108.6U CN202220763108U CN217219682U CN 217219682 U CN217219682 U CN 217219682U CN 202220763108 U CN202220763108 U CN 202220763108U CN 217219682 U CN217219682 U CN 217219682U
- Authority
- CN
- China
- Prior art keywords
- wall
- velcro
- drainage
- abdominal belt
- flexible cup
- Prior art date
- Legal status (The legal status is an assumption and is not a legal conclusion. Google has not performed a legal analysis and makes no representation as to the accuracy of the status listed.)
- Active
Links
Images
Landscapes
- External Artificial Organs (AREA)
Abstract
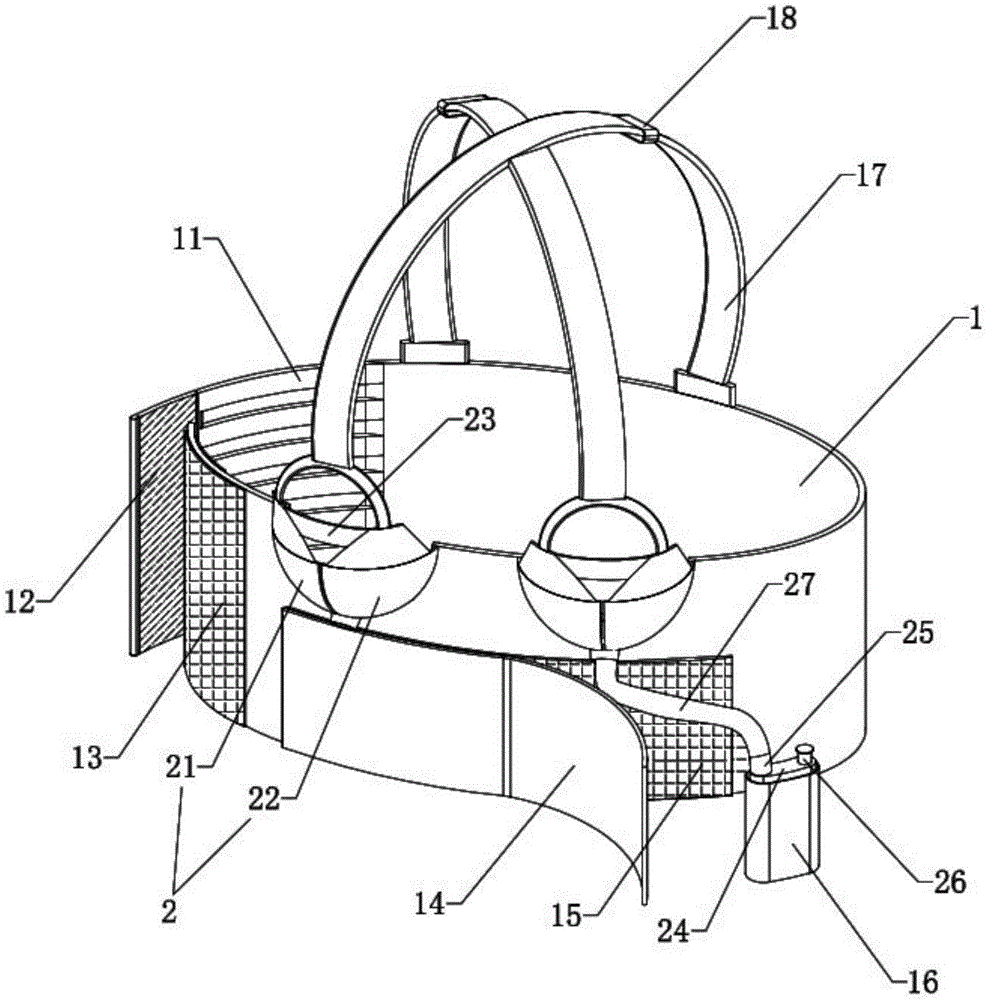
本实用新型公开了一种乳腺外科用伤口引流固定装置,包括腹带,腹带的一端设置有沿其高度方向设置的弹力带,弹力带的内壁设置有第一勾面魔术贴,腹带外壁靠近其另一端的位置设置有第一绒面魔术贴,腹带外壁的上端设置有两个柔性杯托,每一柔性杯托的上端与腹带的上端之间均可拆卸连接有肩带,腹带外壁一侧的下方设置有弹力固定袋,弹力固定袋内可拆卸连接有引流瓶,每一柔性杯托内壁的下端均设置有固定基座,腹带的外壁于柔性杯托的下方设置有第二勾面魔术贴、第二绒面魔术贴。本实用新型更换敷贴时不仅能一个人独立完成,还能有效固定引流管,且患者能根据实际情况调节固定的松紧,提高患者的舒适感。
The utility model discloses a wound drainage fixing device for breast surgery, comprising an abdominal belt, one end of the abdominal belt is provided with an elastic belt arranged along the height direction, the inner wall of the elastic belt is provided with a first hook surface Velcro, and the outer wall of the abdominal belt is provided with a first hook surface Velcro. A first velvet Velcro is arranged near the other end, and two flexible cup holders are arranged on the upper end of the outer wall of the abdominal belt, and a shoulder strap can be detachably connected between the upper end of each flexible cup holder and the upper end of the abdominal belt, An elastic fixing bag is arranged under one side of the outer wall of the abdominal belt, a drainage bottle is detachably connected in the elastic fixing bag, a fixing base is arranged on the lower end of the inner wall of each flexible cup holder, and the outer wall of the abdominal belt is arranged below the flexible cup holder There are second hook Velcro, second suede Velcro. When changing the applicator, the utility model can not only be completed by one person independently, but also can effectively fix the drainage tube, and the patient can adjust the tightness of the fixation according to the actual situation, thereby improving the comfort of the patient.
Description
技术领域technical field
本实用新型涉及医疗器械技术领域,特别涉及一种乳腺外科用伤口引流固定装置。The utility model relates to the technical field of medical instruments, in particular to a wound drainage fixing device for breast surgery.
背景技术Background technique
乳腺外科为临床外科学下一学科分支,主要针对乳腺疾病的外科学方面,例如,乳腺解剖、乳腺感染、乳腺肿瘤病理、乳腺肿瘤诊治原则乳腺肿瘤诊断和乳腺肿瘤外科手术的各种术式、化疗、放疗和内分泌治疗,对于乳腺术后的患者而言,一般需要固定患者的引流管,传统的固定方式大多是使用纱布缠绕包扎或是胶带固定等方法来固定患者的引流管,因此很容易由于病人的活动或流汗等原因,出现松动甚至脱落等情况,因此设计了一种引流固定装置。Breast surgery is the next branch of clinical surgery. It mainly focuses on the surgical aspects of breast diseases, such as breast anatomy, breast infection, breast tumor pathology, principles of breast tumor diagnosis and treatment, breast tumor diagnosis and various surgical methods of breast tumor surgery. Chemotherapy, radiotherapy and endocrine therapy, for patients after breast surgery, it is generally necessary to fix the patient's drainage tube. Most of the traditional fixation methods are to use gauze wrapping or tape fixation to fix the patient's drainage tube, so it is easy to Due to the patient's activity or sweating and other reasons, there are situations such as loosening or even falling off, so a drainage fixing device is designed.
现有的引流固定装置的固定带往往都是在患者背后,更换敷贴时由于伤口及引流管的原因一个人无法独自完成,且需要将整个固定装置脱下才能更换,无法有效固定引流管,在患者常规活动时容易导致引流管折叠,影响引流效果,且无法调节固定的松紧,影响患者的舒适感。The fixing belt of the existing drainage fixing device is often behind the patient. When replacing the applicator, due to the wound and the drainage tube, one person cannot do it alone, and the entire fixing device needs to be removed to replace it, which cannot effectively fix the drainage tube. It is easy to cause the drainage tube to fold during the routine activities of the patient, which affects the drainage effect, and the tightness of the fixation cannot be adjusted, which affects the comfort of the patient.
实用新型内容Utility model content
本实用新型的目的是提供一种乳腺外科用伤口引流固定装置,更换敷贴时不仅能一个人独立完成,还能有效固定引流管,不让其折叠影响引流效果,且患者能根据实际情况调节固定的松紧,提升患者的舒适程度。The purpose of the utility model is to provide a wound drainage fixing device for breast surgery, which can not only be done by one person when replacing the applicator, but also can effectively fix the drainage tube, so that its folding will not affect the drainage effect, and the patient can adjust according to the actual situation. Fixed elastic for improved patient comfort.
本实用新型的上述技术目的是通过以下技术方案得以实现的:The above-mentioned technical purpose of the present utility model is achieved through the following technical solutions:
一种乳腺外科用伤口引流固定装置,包括腹带,所述腹带的一端设置有沿其高度方向设置的弹力带,所述弹力带的内壁设置有第一勾面魔术贴,所述腹带外壁靠近其另一端的位置设置有与所述第一勾面魔术贴配合使用的第一绒面魔术贴,所述腹带外壁的上端设置有两个沿其长度方向设置的柔性杯托,所述柔性杯托包括第一稳定布、与所述第一稳定布配合使用的第二稳定布,每一第一稳定布的上端与对应第二稳定布的上端之间均连接有连接布条,每一第一稳定布与对应第二稳定布之间均留有间隙,每一柔性杯托的上端与所述腹带的上端之间均可拆卸连接有用于固定所述腹带的肩带,两根肩带呈交叉设置;A wound drainage fixing device for breast surgery, comprising an abdominal belt, one end of the abdominal belt is provided with an elastic belt arranged along its height direction, the inner wall of the elastic belt is provided with a first hook surface Velcro, the abdominal belt The position of the outer wall close to the other end is provided with a first velvet Velcro used in conjunction with the first hook surface Velcro, and the upper end of the outer wall of the abdominal belt is provided with two flexible cup holders arranged along its length direction, so The flexible cup holder includes a first stabilizing cloth and a second stabilizing cloth used in cooperation with the first stabilizing cloth, and a connecting cloth strip is connected between the upper end of each first stabilizing cloth and the upper end of the corresponding second stabilizing cloth, A gap is left between each first stabilizing cloth and the corresponding second stabilizing cloth, and a shoulder strap for fixing the abdominal belt can be detachably connected between the upper end of each flexible cup holder and the upper end of the belly belt, The two shoulder straps are set crosswise;
所述腹带外壁一侧的下方设置有弹力固定袋,所述弹力固定袋内可拆卸连接有引流瓶,所述引流瓶外壁上端连通有进液管,所述引流瓶外壁的上端于所述进液管的一侧连通有排液管,所述排液管的管口可拆卸连接有用于堵住所述排液管的橡胶塞,所述进液管可拆卸连接有与之连通且穿过所述柔性杯托间隙伸到其内部的引流管,每一柔性杯托内壁的下端均设置有用于固定所述引流管的固定基座。An elastic fixing bag is arranged under one side of the outer wall of the abdominal belt, a drainage bottle is detachably connected in the elastic fixing bag, the upper end of the outer wall of the drainage bottle is connected with a liquid inlet pipe, and the upper end of the outer wall of the drainage bottle is connected to the One side of the liquid inlet pipe is connected with a liquid discharge pipe, the nozzle of the liquid discharge pipe is detachably connected with a rubber plug for blocking the liquid discharge pipe, and the liquid inlet pipe is detachably connected with a rubber plug which is connected with it and passes through it. For the drainage pipe extending into the interior of the flexible cup holder through the gap, the lower end of the inner wall of each flexible cup holder is provided with a fixing base for fixing the drainage pipe.
通过采用上述技术方案,使用时,先通过第一绒面魔术贴与第一勾面魔术贴的配合将腹带固定在患者胸部下方的位置,固定时可调整弹力带的长度,让其能固定腹带的同时也不会造成患者的不适,弹力带位于患者身体的一侧,将引流管的一端穿过柔性杯托的间隙,将引流管插入患者的伤口,做好防护措施,将引流管的另一端与引流瓶上的进液管连通,将引流瓶放在弹力固定袋内,将肩带连接在柔性杯托与腹带上,交叉设置的肩带能将第一稳定布与第二稳定布往上且往后提拉,让柔性杯托与患者的伤口贴合;By adopting the above technical solution, when in use, the abdominal belt is first fixed at the position below the patient's chest through the cooperation of the first velvet Velcro and the first hooked Velcro, and the length of the elastic belt can be adjusted during fixing so that it can be fixed The abdominal belt will not cause discomfort to the patient at the same time. The elastic band is located on one side of the patient's body. Pass one end of the drainage tube through the gap of the flexible cup holder, insert the drainage tube into the patient's wound, and take protective measures. The other end is connected with the liquid inlet tube on the drainage bottle, put the drainage bottle in the elastic fixing bag, and connect the shoulder strap to the flexible cup holder and the abdominal belt. The crossed shoulder strap can connect the first stable cloth with the second The stabilizing cloth is lifted up and pulled back to make the flexible cup holder fit the patient's wound;
通过固定基座固定引流管,撕开第二绒面魔术贴,将引流管平整的放置在第二勾面魔术贴上端,轻轻的将第二绒面魔术贴贴在第二勾面魔术贴上,固定引流管,引流液则会顺着引流管流进引流瓶内,即便患者在做常规运动时,也不会因为运动幅度过大扯到引流管或让引流管折叠,需要更换敷贴时,患者也能独自一人完成更换,且不需要将整个固定装置脱下只需松开前端的肩带就能更换,引流瓶将装满时,取出引流瓶,打开橡胶塞,让引流液顺着排液管流出即可。Fix the drainage tube by fixing the base, tear off the second velvet velcro, place the drainage tube flat on the upper end of the second hook surface velcro, and gently stick the second suede velcro on the second hook surface velcro , fix the drainage tube, and the drainage fluid will flow into the drainage bottle along the drainage tube. Even when the patient does regular exercise, the drainage tube will not be pulled or folded due to the excessive movement range, and the applicator needs to be replaced. When the drainage bottle is full, the patient can also complete the replacement alone, and there is no need to take off the entire fixation device, just loosen the shoulder strap at the front to replace it. When the drainage bottle is full, take out the drainage bottle and open the rubber stopper to let the drainage fluid flow smoothly. It can flow out through the drain pipe.
本实用新型的进一步设置为:所述腹带内壁靠近所述第一绒面魔术贴的位置及所述弹力固定袋外壁远离所述柔性杯托的一侧均可拆卸连接有粘性贴。The utility model is further configured as follows: the position of the inner wall of the abdominal belt close to the first velvet Velcro and the side of the outer wall of the elastic fixing bag away from the flexible cup holder can be detachably connected with an adhesive sticker.
通过采用上述技术方案,患者独自操作时能将腹带的一端提前固定,方便患者后续的操作,也能固定弹力固定袋,防止患者运动时,引流瓶来回晃动。By adopting the above technical solution, one end of the abdominal belt can be fixed in advance when the patient operates alone, which is convenient for the patient's subsequent operation, and the elastic fixing bag can also be fixed to prevent the drainage bottle from shaking back and forth when the patient moves.
本实用新型的进一步设置为:每一肩带的外壁均滑动连接有沿其长度方向滑动且可调整对应肩带长度的调整扣。The utility model is further provided as follows: the outer wall of each shoulder strap is slidably connected with an adjustment buckle which slides along its length direction and can adjust the length of the corresponding shoulder strap.
通过采用上述技术方案,可根据不同的患者,调整肩带的长度,在不影响固定效果的同时也能提高患者的舒适感。By adopting the above technical solution, the length of the shoulder strap can be adjusted according to different patients, which can improve the comfort of the patient without affecting the fixation effect.
本实用新型的进一步设置为:每一第一稳定布的上端与对应第二稳定布的上端之间均连接有连接布条。The utility model is further configured as follows: a connecting cloth strip is connected between the upper end of each first stabilizing cloth and the upper end of the corresponding second stabilizing cloth.
通过采用上述技术方案,方便在固定时第一稳定布及第二稳定布同时受力且受力大小一致,不让引流管滑动。By adopting the above technical solution, it is convenient for the first stabilizing cloth and the second stabilizing cloth to be subjected to force at the same time and the force is the same in size during fixing, so that the drainage tube is not allowed to slide.
与现有技术相比,本实用新型具有以下有益效果:Compared with the prior art, the utility model has the following beneficial effects:
其一、本实用新型更换敷贴时不仅能一个人独立完成,还能有效固定引流管,不让其折叠影响引流效果,且患者能根据实际情况调节固定的松紧,提升患者的舒适程度;First, the utility model can not only complete the replacement of the applicator by one person, but also effectively fix the drainage tube, so as not to let its folding affect the drainage effect, and the patient can adjust the tightness of the fixation according to the actual situation, improving the comfort of the patient;
其二、本实用新型的肩带不仅能防止腹带滑落,还能让柔性杯托与患者的伤口处贴合,且不会让引流管晃动;Second, the shoulder strap of the present utility model can not only prevent the abdominal belt from slipping, but also allow the flexible cup holder to fit the patient's wound without shaking the drainage tube;
其三、本实用新型的粘性贴便于患者独自操作时固定腹带,方便后续的操作。Thirdly, the adhesive sticker of the present invention is convenient for the patient to fix the abdominal belt when operating alone, which is convenient for subsequent operations.
附图说明Description of drawings
图1是本实用新型的整体结构示意图;Fig. 1 is the overall structure schematic diagram of the present utility model;
图2主要是用于展示粘性贴及固定基座。Figure 2 is mainly used to show adhesive stickers and fixed bases.
图中:1、腹带;11、弹力带;12、第一勾面魔术贴;13、第一绒面魔术贴;14、第二绒面魔术贴;15、第二勾面魔术贴;16、弹力固定袋;17、肩带;18、调整扣;19、粘性贴;2、柔性杯托;21、第一稳定布;22、第二稳定布;23、连接布条;24、引流瓶;25、进液管;26、排液管;27、引流管;28、橡胶塞;29、固定基座。In the picture: 1. Belly belt; 11. Elastic belt; 12. The first hook-and-loop Velcro; 13. The first suede Velcro; 14. The second suede Velcro; , elastic fixing bag; 17, shoulder strap; 18, adjustment buckle; 19, adhesive sticker; 2, flexible cup holder; 21, first stable cloth; 22, second stable cloth; 23, connecting cloth strip; 24, drainage bottle ; 25, inlet pipe; 26, drain pipe; 27, drainage pipe; 28, rubber stopper; 29, fixed base.
具体实施方式Detailed ways
以下结合附图对本实用新型作进一步详细说明。The present utility model will be described in further detail below in conjunction with the accompanying drawings.
实施例,参照图1-2,一种乳腺外科用伤口引流固定装置,包括腹带1,腹带1的一端设置有一根沿其高度方向设置的弹力带11,弹力带11的内壁设置有一片第一勾面魔术贴12,腹带1外壁靠近其另一端的位置设置有一片与第一勾面魔术贴12配合使用的第一绒面魔术贴13,腹带1外壁的上端设置有两个沿其长度方向设置的柔性杯托2,柔性杯托2包括一片第一稳定布21、一片与第一稳定布21配合使用的第二稳定布22,每一第一稳定布21与对应第二稳定布22之间均留有间隙,每一柔性杯托2的上端与腹带1的上端之间均可拆卸连接有一根用于固定腹带1的肩带17,两根肩带17呈交叉设置。1-2, a wound drainage fixing device for breast surgery, including a belly band 1, one end of the belly band 1 is provided with an
腹带1外壁一侧的下方设置有一个弹力固定袋16,弹力固定袋16内可拆卸连接有一个引流瓶24,引流瓶24外壁上端连通有一根进液管25,引流瓶24外壁的上端于进液管25的一侧连通有一根排液管26,排液管26的管口可拆卸连接有一个用于堵住排液管26的橡胶塞28,进液管25可拆卸连接有一根与之连通且穿过柔性杯托2间隙伸到其内部的引流管27,每一柔性杯托2内壁的下端均设置有一个用于固定引流管27的固定基座29,腹带1的外壁于柔性杯托2的下方设置有一片第二勾面魔术贴15,第二勾面魔术贴15的前端可拆卸连接有一片与之配合且用于固定引流管27的第二绒面魔术贴14。An
腹带1内壁靠近第一绒面魔术贴13的位置及弹力固定袋16外壁远离柔性杯托2的一侧均可拆卸连接有一片粘性贴19,每一肩带17的外壁均滑动连接有一个沿其长度方向滑动且可调整对应肩带17长度的调整扣18,每一第一稳定布21的上端与对应第二稳定布22的上端之间均连接有一条连接布条23。The position of the inner wall of the abdominal belt 1 close to the
使用方式:使用时,先通过粘性贴19将腹带1的一端贴在患者的身体上,通过第一绒面魔术贴13与第一勾面魔术贴12的配合将腹带1固定在患者胸部下方的位置,固定时可通过调整扣18调整弹力带11的长度,让其能固定腹带1的同时也不会造成患者的不适,弹力带11位于患者身体的一侧,将引流管27的一端穿过柔性杯托2的间隙,将引流管27插入患者的伤口,做好防护措施,将引流管27的另一端与引流瓶24上的进液管25连通,将引流瓶24放在弹力固定袋16内,弹力固定袋16上的粘性贴19能防止引流瓶24来回晃动,将肩带17连接在柔性杯托2与腹带1上,交叉设置的肩带17能将第一稳定布21与第二稳定布22往上且往后提拉,让柔性杯托2与患者的伤口贴合,连接布条23能让第一稳定布21及第二稳定布22同时受力且受力大小一致,不让引流管27滑动。How to use: When using, first stick one end of the abdominal belt 1 on the patient's body through the
通过固定基座29固定引流管27,撕开第二绒面魔术贴14,将引流管27平整的放置在第二勾面魔术贴15上端,轻轻的将第二绒面魔术贴14贴在第二勾面魔术贴15上,固定引流管27,引流液则会顺着引流管27流进引流瓶24内,即便患者在做常规运动时,也不会因为运动幅度过大扯到引流管27或让引流管27折叠,需要更换敷贴时,患者也能独自一人完成更换,且不需要将整个固定装置脱下只需松开前端的肩带17就能更换,引流瓶24将装满时,取出引流瓶24,打开橡胶塞28,让引流液顺着排液管26流出即可。The
本具体实施例仅仅是对本实用新型的解释,其并不是对本实用新型的限制,本领域技术人员在阅读完本说明书后可以根据需要对本实施例做出没有创造性贡献的修改,但只要在本实用新型的权利要求范围内都受到专利法的保护。This specific embodiment is only an explanation of the present utility model, and it is not a limitation of the present utility model. Those skilled in the art can make modifications to the present embodiment without creative contribution as needed after reading this specification, but as long as the utility model is used in the present invention All new types of claims are protected by the patent law.
Claims (4)
Priority Applications (1)
| Application Number | Priority Date | Filing Date | Title |
|---|---|---|---|
| CN202220763108.6U CN217219682U (en) | 2022-04-02 | 2022-04-02 | Wound drainage fixing device for breast surgery |
Applications Claiming Priority (1)
| Application Number | Priority Date | Filing Date | Title |
|---|---|---|---|
| CN202220763108.6U CN217219682U (en) | 2022-04-02 | 2022-04-02 | Wound drainage fixing device for breast surgery |
Publications (1)
| Publication Number | Publication Date |
|---|---|
| CN217219682U true CN217219682U (en) | 2022-08-19 |
Family
ID=82819014
Family Applications (1)
| Application Number | Title | Priority Date | Filing Date |
|---|---|---|---|
| CN202220763108.6U Active CN217219682U (en) | 2022-04-02 | 2022-04-02 | Wound drainage fixing device for breast surgery |
Country Status (1)
| Country | Link |
|---|---|
| CN (1) | CN217219682U (en) |
-
2022
- 2022-04-02 CN CN202220763108.6U patent/CN217219682U/en active Active
Similar Documents
| Publication | Publication Date | Title |
|---|---|---|
| CN210990982U (en) | A support component for post-operative nursing care of breast department | |
| CN206526333U (en) | Nephrology dept.'s dialysis fixing device | |
| CN217219682U (en) | Wound drainage fixing device for breast surgery | |
| CN207370922U (en) | Mammary gland patient's postoperative drainage fixing device | |
| CN207101428U (en) | A kind of breast modified radical mastectomy rear gasbag oppresses fixing device | |
| CN216798360U (en) | A new type of drainage tube | |
| CN115501452A (en) | Drainage tube fixing device | |
| CN104586579A (en) | Composite pressurizing bellyband for urinary surgery | |
| CN210932225U (en) | A breast surgery nursing device | |
| CN213821574U (en) | Restorative breast tray after lumpectomy | |
| CN209286283U (en) | Wound drainage fixation device for breast surgery | |
| CN217366256U (en) | Urine collecting device for female urinary incontinence patient | |
| CN209122551U (en) | A kind of recovery fixation device after thyroid surgery | |
| CN209107747U (en) | Stoma abdominal belt for abdominal surgical operation | |
| CN211244658U (en) | A gastrointestinal decompressor device for fixing gastric tube | |
| CN209075619U (en) | A kind of drainage bag protection locking belt | |
| CN210904572U (en) | PICC pipe and disposable infusion pump fixing device | |
| CN210811904U (en) | Comfortable practical stoma chassis protecting band | |
| CN215778366U (en) | Adjustable neck compression device | |
| CN209884519U (en) | Wound protection device for thoracic surgery | |
| CN209751339U (en) | Adjustable comfortable stoma waistband | |
| CN218852799U (en) | Pregnant woman water bag induced labor fixer | |
| CN216439701U (en) | Gastrointestinal decompression negative pressure ball fixing device | |
| CN209332174U (en) | A kind of waist and belly fixing belt | |
| CN221309235U (en) | A multifunctional abdominal belt capable of fixing drainage tube |
Legal Events
| Date | Code | Title | Description |
|---|---|---|---|
| GR01 | Patent grant | ||
| GR01 | Patent grant |
