CN217217717U - Convenient type afforestation spray truck - Google Patents
Convenient type afforestation spray truck Download PDFInfo
- Publication number
- CN217217717U CN217217717U CN202220291555.6U CN202220291555U CN217217717U CN 217217717 U CN217217717 U CN 217217717U CN 202220291555 U CN202220291555 U CN 202220291555U CN 217217717 U CN217217717 U CN 217217717U
- Authority
- CN
- China
- Prior art keywords
- frame
- water
- vehicle
- vehicle frame
- shaped pipe
- Prior art date
- Legal status (The legal status is an assumption and is not a legal conclusion. Google has not performed a legal analysis and makes no representation as to the accuracy of the status listed.)
- Active
Links
- 239000007921 spray Substances 0.000 title claims abstract description 18
- XLYOFNOQVPJJNP-UHFFFAOYSA-N water Substances O XLYOFNOQVPJJNP-UHFFFAOYSA-N 0.000 claims abstract description 71
- 238000005507 spraying Methods 0.000 claims abstract description 24
- 238000005086 pumping Methods 0.000 claims description 7
- 230000000712 assembly Effects 0.000 claims 1
- 238000000429 assembly Methods 0.000 claims 1
- 230000000694 effects Effects 0.000 abstract description 4
- 239000003651 drinking water Substances 0.000 description 2
- 235000020188 drinking water Nutrition 0.000 description 2
- 238000000034 method Methods 0.000 description 2
- 230000009286 beneficial effect Effects 0.000 description 1
- 230000007547 defect Effects 0.000 description 1
- 238000010586 diagram Methods 0.000 description 1
- 238000004146 energy storage Methods 0.000 description 1
- 238000002347 injection Methods 0.000 description 1
- 239000007924 injection Substances 0.000 description 1
- 239000000243 solution Substances 0.000 description 1
Images
Classifications
-
- Y—GENERAL TAGGING OF NEW TECHNOLOGICAL DEVELOPMENTS; GENERAL TAGGING OF CROSS-SECTIONAL TECHNOLOGIES SPANNING OVER SEVERAL SECTIONS OF THE IPC; TECHNICAL SUBJECTS COVERED BY FORMER USPC CROSS-REFERENCE ART COLLECTIONS [XRACs] AND DIGESTS
- Y02—TECHNOLOGIES OR APPLICATIONS FOR MITIGATION OR ADAPTATION AGAINST CLIMATE CHANGE
- Y02A—TECHNOLOGIES FOR ADAPTATION TO CLIMATE CHANGE
- Y02A40/00—Adaptation technologies in agriculture, forestry, livestock or agroalimentary production
- Y02A40/10—Adaptation technologies in agriculture, forestry, livestock or agroalimentary production in agriculture
- Y02A40/22—Improving land use; Improving water use or availability; Controlling erosion
Landscapes
- Catching Or Destruction (AREA)
Abstract
The utility model belongs to the technical field of greening spraying vehicles, in particular to a convenient greening spraying vehicle, which comprises a vehicle frame, wherein the front end of the top of the vehicle frame is provided with a movable water spraying mechanism, the movable water spraying mechanism comprises mounting plates vertically arranged at both sides of the top of the vehicle frame, a limiting slide bar is horizontally connected between the top ends of the mounting plates, a reciprocating lead screw is rotatably arranged between the two mounting plates below the limiting slide bar, one end of the reciprocating lead screw is connected with a motor output shaft fixedly arranged on the vehicle frame, and a slide seat is sleeved on the outer side of the reciprocating screw rod in a threaded manner, a limiting slide rod is inserted into the inner side of the slide seat in a sliding manner, a T-shaped pipe is rotatably arranged in the middle of the slide seat, a plurality of spray heads are arranged on one side, away from the frame, of the T-shaped pipe at equal intervals, the middle end part of the T-shaped pipe is communicated with an adapter fixedly arranged at the side end of the slide seat, the adapter is connected with a water supply mechanism, and the T-shaped pipe is connected with the frame through a linkage mechanism. The utility model discloses spray with portable and rotation type and combine together to this has effectively increased the effect of spraying of afforestation.
Description
Technical Field
The utility model belongs to the technical field of the afforestation spray truck, a convenient type afforestation spray truck is specifically disclosed.
Background
Landscaping needs regularly to water the afforestation vegetation, and present watering mode is watered from a distance with the help of water through the pipeline, and this watering mode manual labor intensity is big, and the flexibility can be poor, and is convenient inadequately, needs the manual work to drag the water pipe and walks away, and water watering is not even enough simultaneously to this provides a convenient type afforestation spray truck.
SUMMERY OF THE UTILITY MODEL
The utility model aims at solving the defects existing in the prior art and providing a convenient greening spraying vehicle.
In order to achieve the purpose, the utility model provides a convenient greening spraying vehicle, which comprises a vehicle frame, four corners of the bottom of the vehicle frame are provided with moving parts, the front end of the top of the vehicle frame is provided with a movable water spraying mechanism, the movable water spraying mechanism comprises mounting plates vertically arranged on two sides of the top of the vehicle frame, a limiting slide bar is horizontally connected between the top ends of the mounting plates, a reciprocating screw rod is rotatably arranged between the two mounting plates below the limiting slide bar, one end of the reciprocating screw rod is connected with a motor output shaft fixedly arranged on the vehicle frame, a slide seat is sleeved on the outer side of the reciprocating screw rod through threads, the limiting slide bar is inserted into the inner side of the slide seat in a sliding way, a T-shaped pipe is rotatably arranged in the middle position of the slide seat, a plurality of spray heads are equidistantly arranged on one side of the T-shaped pipe away from the vehicle frame, the middle end part of the T-shaped pipe is communicated with an adapter fixedly arranged on the side end of the slide seat, the adapter is connected with the water supply mechanism, and the T-shaped pipe is connected with the frame through the linkage mechanism.
In the above technical solution, preferably, the moving member includes a wheel frame installed at a bottom corner of the frame, and the moving wheel is rotatably installed inside the wheel frame.
In the technical scheme, it is preferred, water supply mechanism includes the vertical water storage bucket of installing at the frame intermediate position, the water storage bucket top is provided with the water filling port, just the water pump is installed to frame bottom top, communicate through the drinking-water pipe between the suction mouth of water pump and the water storage barrel head portion, communicate through the water delivery hose between the discharge port of water pump and the adapter.
In the above technical scheme, preferably, the suction pipe is in a U-shaped configuration, and the suction pipe is provided with a control valve.
In the above technical scheme, preferably, the linkage mechanism includes a gear fixedly sleeved on the outer side of the middle position of the T-shaped pipe, a toothed plate is horizontally installed at the top end of the frame at a position corresponding to the gear, and the gear is meshed with the toothed plate.
In the above technical scheme, preferably, the solar photovoltaic panel assembly is rotatably installed on both sides of the top of the frame, the hydraulic rod is rotatably installed between the middle positions of the two ends of the solar photovoltaic panel assembly and the frame, the solar photovoltaic panel assembly is connected with the storage battery installed above the bottom of the frame through a wire, and the storage battery is connected with the water pump through a wire.
In the above technical scheme, preferably, L-shaped frames are installed on both sides of the rear end of the top of the frame, and a holding rod is horizontally installed between the tops of the two L-shaped frames.
Compared with the prior art, the utility model discloses following beneficial effect has:
the utility model discloses a set up water supply mechanism to can be to the inside water delivery of T type pipe, simultaneously spout in order through a plurality of shower nozzles that set up, and the motor of setting can drive reciprocal lead screw and order about slide reciprocating motion on spacing slide bar to this drives the portable water spray treatment of T type pipe, and through setting up link gear, thereby at slide reciprocating motion in-process, also can order about T type pipe and carry out the rotation type water spray, effectively increased the effect of spraying of afforestation.
Drawings
Fig. 1 is a schematic structural view of a convenient greening spraying vehicle provided by the utility model;
fig. 2 is the utility model provides a partial mechanism split schematic diagram of convenient type afforestation spray truck.
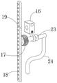
In the figure: the device comprises a frame 1, a wheel frame 2, a moving wheel 3, a water pump 4, a water pumping pipe 5, a control valve 6, a hydraulic rod 7, a reciprocating screw rod 8, a toothed plate 9, an accumulator jar 10, a solar photovoltaic panel assembly 11, an L-shaped frame 12, a supporting rod 13, a water storage bucket 14, a water filling port 15, a sliding seat 16, a gear 17, a spray head 18, a T-shaped pipe 19, a limiting slide rod 20, a mounting plate 21, a motor 22, an adapter 23 and a water delivery hose 24.
Detailed Description
In order to make the aforementioned objects, features and advantages of the present invention more clearly understood, the present invention will be described in further detail with reference to the accompanying drawings and detailed description.
As shown in fig. 1-2, the portable greening spraying vehicle comprises a frame 1, wherein moving members are arranged at four corners of the bottom of the frame 1, the moving members comprise wheel frames 2 arranged at the corners of the bottom of the frame 1, moving wheels 3 are rotatably arranged in the wheel frames 2, L-shaped frames 12 are arranged at two sides of the rear end of the top of the frame 1, and a holding rod 13 is horizontally arranged between the tops of the two L-shaped frames 12; through setting up wheel carrier 2 to can install removal wheel 3, so that promote frame 1 and remove, improve the flexibility of this device, and the L type frame 12 and the pole 13 of holding of setting can be convenient for the staff and support the operation.
The front end of the top of the frame 1 is provided with a movable water spraying mechanism, the movable water spraying mechanism comprises mounting plates 21 vertically mounted on two sides of the top of the frame 1, a limiting slide bar 20 is horizontally connected between the top ends of the mounting plates 21, a reciprocating screw 8 is rotatably mounted between the two mounting plates 21 below the limiting slide bar 20, one end of the reciprocating screw 8 is connected with an output shaft of a motor 22 fixedly mounted on the frame 1, a slide base 16 is sleeved on the outer side of the reciprocating screw 8 in a threaded manner, the limiting slide bar 20 is inserted into the inner side of the slide base 16 in a sliding manner, a T-shaped pipe 19 is rotatably mounted in the middle of the slide base 16, a plurality of spray heads 18 are equidistantly mounted on one side, away from the frame 1, of the T-shaped pipe 19 is communicated with an adapter 23 fixedly mounted on the side end of the slide base 16, the adapter 23 is connected with a water supply mechanism, and the T-shaped pipe 19 is connected with the frame 1 through a linkage mechanism; through setting up motor 22 to can drive reciprocal lead screw 8 and drive slide 16 reciprocating motion on spacing slide bar 20, drive T type pipe 19 portable water spray treatment with this, simultaneously because T type pipe 19 is connected with adapter 23 is rotated, thereby water spray when follow-up link gear can drive T type pipe 19 rotatory, effectively increased the spraying effect of afforestation.
The water supply mechanism comprises a water storage barrel 14 vertically arranged in the middle of the vehicle frame 1, a water filling port 15 is arranged at the top end of the water storage barrel 14, a water pump 4 is arranged above the bottom of the vehicle frame 1, a suction port of the water pump 4 is communicated with the bottom of the water storage barrel 14 through a water pumping pipe 5, and a discharge port of the water pump 4 is communicated with the adapter 23 through a water delivery hose 24; through starting water pump 4 to can take out the inside water of water storage bucket 14 to T type pipe 19 inside under the cooperation of drinking-water pipe 5 and water delivery hose 24, spray the watering to the afforestation through shower nozzle 18, the water filling port 15 that sets up simultaneously can carry out the water injection to water storage bucket 14 is inside.
The water pumping pipe 5 is arranged in a U shape, and a control valve 6 is arranged on the water pumping pipe 5; by means of the control valve 6, the suction pipe 5 can be closed during operation.
The linkage mechanism comprises a gear 17 fixedly sleeved on the outer side of the middle position of the T-shaped pipe 19, a toothed plate 9 is horizontally arranged at the top end of the frame 1 at the position corresponding to the gear 17, and the gear 17 is meshed with the toothed plate 9; through setting up pinion rack 9 to at slide 16 reciprocating motion in-process, gear 17 also can drive T type pipe 19 and carry out the rotation type water spray, has effectively increased the spraying effect of afforestation.
The solar photovoltaic panel assembly 11 is rotatably mounted on two sides of the top of the frame 1, the hydraulic rods 7 are rotatably mounted between the middle positions of two ends of the solar photovoltaic panel assembly 11 and the frame 1, the solar photovoltaic panel assembly 11 is connected with the storage battery 10 mounted above the bottom of the frame 1 through a lead, and the storage battery 10 is connected with the water pump 4 through a lead; through setting up solar photovoltaic board subassembly 11 to can convert outside sunlight into electric energy storage to accumulator jar 10, so that supply power to 4 work of water pump, can adjust the support to the angle of solar photovoltaic board subassembly 11 through setting up hydraulic stem 7 simultaneously, improve the photic rate of solar photovoltaic board subassembly 11.
The foregoing shows and describes the general principles, essential features, and advantages of the invention. It should be understood by those skilled in the art that the present invention is not limited by the above embodiments, and the description of the embodiments and the description is only the principle of the present invention, without departing from the spirit and scope of the present invention. The scope of the invention is defined by the appended claims and equivalents thereof.
Claims (7)
1. The convenient greening spraying vehicle comprises a vehicle frame (1), moving parts are arranged at four corners of the bottom of the vehicle frame (1), and the greening spraying vehicle is characterized in that a movable water spraying mechanism is arranged at the front end of the top of the vehicle frame (1) and comprises mounting plates (21) vertically mounted on two sides of the top of the vehicle frame (1), a limiting slide rod (20) is horizontally connected between the top ends of the mounting plates (21), a reciprocating lead screw (8) is rotatably mounted between the two mounting plates (21) below the limiting slide rod (20), one end of the reciprocating lead screw (8) is connected with an output shaft of a motor (22) fixedly mounted on the vehicle frame (1), a slide seat (16) is sleeved on the outer side of the reciprocating lead screw (8) in a threaded manner, the limiting slide rod (20) is slidably inserted into the inner side of the slide seat (16), and a T-shaped pipe (19) is rotatably mounted at the middle position of the slide seat (16), a plurality of spray heads (18) are installed on one side, far away from the frame (1), of the T-shaped pipe (19) at equal intervals, the middle end of the T-shaped pipe (19) is communicated with an adapter (23) fixedly installed at the side end of the sliding seat (16), the adapter (23) is connected with a water supply mechanism, and the T-shaped pipe (19) is connected with the frame (1) through a linkage mechanism.
2. A portable afforestation sprinkler vehicle according to claim 1, wherein the moving member comprises a wheel frame (2) installed at the bottom corner of the frame (1), the moving wheel (3) is installed inside the wheel frame (2) in a rotating way.
3. A convenient and fast type afforesting spraying vehicle according to claim 1, characterized in that, the water supply mechanism includes a water storage bucket (14) vertically installed at the middle position of the vehicle frame (1), a water filling opening (15) is arranged at the top end of the water storage bucket (14), a water pump (4) is installed above the bottom of the vehicle frame (1), the suction opening of the water pump (4) is communicated with the bottom of the water storage bucket (14) through a water pumping pipe (5), and the discharge opening of the water pump (4) is communicated with the adapter (23) through a water delivery hose (24).
4. A portable greening spraying vehicle as claimed in claim 3, characterized in that the water pumping pipe (5) is U-shaped and the water pumping pipe (5) is provided with a control valve (6).
5. A portable greening spraying vehicle as claimed in claim 1, characterized in that the linkage mechanism comprises a gear (17) fixedly sleeved outside the middle position of the T-shaped pipe (19), a toothed plate (9) is horizontally mounted on the top end of the frame (1) at the position corresponding to the gear (17), and the gear (17) is meshed with the toothed plate (9).
6. The convenient greening spraying vehicle as claimed in claim 3, wherein solar photovoltaic panel assemblies (11) are rotatably mounted on both sides of the top of the frame (1), hydraulic rods (7) are rotatably mounted between the middle positions of both ends of each solar photovoltaic panel assembly (11) and the frame (1), each solar photovoltaic panel assembly (11) is connected with a storage battery (10) mounted above the bottom of the frame (1) through a lead, and each storage battery (10) is connected with the water pump (4) through a lead.
7. A convenient and fast type greening spraying vehicle as claimed in claim 1, characterized in that L-shaped frames (12) are installed on both sides of the rear end of the top of the vehicle frame (1), and a holding rod (13) is horizontally installed between the tops of the two L-shaped frames (12).
Priority Applications (1)
| Application Number | Priority Date | Filing Date | Title |
|---|---|---|---|
| CN202220291555.6U CN217217717U (en) | 2022-02-14 | 2022-02-14 | Convenient type afforestation spray truck |
Applications Claiming Priority (1)
| Application Number | Priority Date | Filing Date | Title |
|---|---|---|---|
| CN202220291555.6U CN217217717U (en) | 2022-02-14 | 2022-02-14 | Convenient type afforestation spray truck |
Publications (1)
| Publication Number | Publication Date |
|---|---|
| CN217217717U true CN217217717U (en) | 2022-08-19 |
Family
ID=82834214
Family Applications (1)
| Application Number | Title | Priority Date | Filing Date |
|---|---|---|---|
| CN202220291555.6U Active CN217217717U (en) | 2022-02-14 | 2022-02-14 | Convenient type afforestation spray truck |
Country Status (1)
| Country | Link |
|---|---|
| CN (1) | CN217217717U (en) |
Cited By (1)
| Publication number | Priority date | Publication date | Assignee | Title |
|---|---|---|---|---|
| CN118601354A (en) * | 2024-06-06 | 2024-09-06 | 江苏启安建设集团有限公司 | A water-saving spray curing device for concrete building structure |
-
2022
- 2022-02-14 CN CN202220291555.6U patent/CN217217717U/en active Active
Cited By (2)
| Publication number | Priority date | Publication date | Assignee | Title |
|---|---|---|---|---|
| CN118601354A (en) * | 2024-06-06 | 2024-09-06 | 江苏启安建设集团有限公司 | A water-saving spray curing device for concrete building structure |
| CN118601354B (en) * | 2024-06-06 | 2025-02-25 | 江苏启安建设集团有限公司 | A water-saving spray curing device for concrete building structure |
Similar Documents
| Publication | Publication Date | Title |
|---|---|---|
| CN216314339U (en) | Rare afforestation plant winter protection maintenance structure in gardens | |
| CN217217717U (en) | Convenient type afforestation spray truck | |
| CN112090616A (en) | Heatstroke prevention dust removal spray set for construction | |
| CN112657877A (en) | Ice and snow removing device for solar cell panel | |
| CN113318877B (en) | Municipal works trunk whitewash equipment | |
| CN108526093A (en) | Cleaning machine suitable for the isometrical porcelain vase of substation | |
| CN211203882U (en) | Intelligent street lamp | |
| CN219643866U (en) | Solar power generation device convenient to clean | |
| CN216689961U (en) | Green building greening curtain wall | |
| CN214852799U (en) | Fruit tree foliage spray device | |
| CN213214557U (en) | Municipal garden is with sprinkling fluid infusion formula plant culture apparatus | |
| CN215233288U (en) | Spraying deodorization fog gun carriage | |
| CN212876835U (en) | Pergola for garden engineering | |
| CN212212223U (en) | Automatic balance sprinkling irrigation device for garden | |
| CN209155415U (en) | A kind of construction energy-saving and environment friendly flusher | |
| CN210329095U (en) | Landscape plant spills medicine device | |
| CN216058628U (en) | Agricultural irrigation device | |
| CN115486355A (en) | Sprinkler irrigation device and method of use thereof | |
| CN218163881U (en) | Formula that flows nutrient solution circulation supply vegetable planting frame | |
| CN217564382U (en) | Black fungus stick culture apparatus | |
| CN216438201U (en) | Agricultural outdoor sprinkling system based on new forms of energy electric power | |
| CN221468821U (en) | A pesticide sprayer with a nozzle height adjustable | |
| CN215269892U (en) | Solar energy sprays agricultural device | |
| CN221553179U (en) | Intelligent rotary photovoltaic bracket capable of automatically tracking light rays | |
| CN221011648U (en) | Gardens pesticide environmental protection sprinkler for nursery stock in gardens |
Legal Events
| Date | Code | Title | Description |
|---|---|---|---|
| GR01 | Patent grant | ||
| GR01 | Patent grant |