CN217193970U - Auxiliary device for strip aluminum processing - Google Patents
Auxiliary device for strip aluminum processing Download PDFInfo
- Publication number
- CN217193970U CN217193970U CN202123275370.0U CN202123275370U CN217193970U CN 217193970 U CN217193970 U CN 217193970U CN 202123275370 U CN202123275370 U CN 202123275370U CN 217193970 U CN217193970 U CN 217193970U
- Authority
- CN
- China
- Prior art keywords
- processing
- column
- fixing
- strip
- auxiliary device
- Prior art date
- Legal status (The legal status is an assumption and is not a legal conclusion. Google has not performed a legal analysis and makes no representation as to the accuracy of the status listed.)
- Active
Links
- XAGFODPZIPBFFR-UHFFFAOYSA-N aluminium Chemical compound [Al] XAGFODPZIPBFFR-UHFFFAOYSA-N 0.000 title claims abstract description 24
- 229910052782 aluminium Inorganic materials 0.000 title claims abstract description 24
- 238000004140 cleaning Methods 0.000 claims abstract description 36
- 239000000463 material Substances 0.000 claims abstract description 16
- 238000001125 extrusion Methods 0.000 claims abstract description 10
- 238000003825 pressing Methods 0.000 claims description 21
- 238000009434 installation Methods 0.000 claims description 3
- 230000010405 clearance mechanism Effects 0.000 claims 1
- 230000000694 effects Effects 0.000 abstract description 10
- 230000009286 beneficial effect Effects 0.000 abstract description 2
- 238000010586 diagram Methods 0.000 description 5
- 230000004048 modification Effects 0.000 description 2
- 238000012986 modification Methods 0.000 description 2
- 230000003139 buffering effect Effects 0.000 description 1
- 238000010276 construction Methods 0.000 description 1
- 238000005520 cutting process Methods 0.000 description 1
- 238000000034 method Methods 0.000 description 1
- 238000003466 welding Methods 0.000 description 1
Images
Classifications
-
- Y—GENERAL TAGGING OF NEW TECHNOLOGICAL DEVELOPMENTS; GENERAL TAGGING OF CROSS-SECTIONAL TECHNOLOGIES SPANNING OVER SEVERAL SECTIONS OF THE IPC; TECHNICAL SUBJECTS COVERED BY FORMER USPC CROSS-REFERENCE ART COLLECTIONS [XRACs] AND DIGESTS
- Y02—TECHNOLOGIES OR APPLICATIONS FOR MITIGATION OR ADAPTATION AGAINST CLIMATE CHANGE
- Y02P—CLIMATE CHANGE MITIGATION TECHNOLOGIES IN THE PRODUCTION OR PROCESSING OF GOODS
- Y02P70/00—Climate change mitigation technologies in the production process for final industrial or consumer products
- Y02P70/10—Greenhouse gas [GHG] capture, material saving, heat recovery or other energy efficient measures, e.g. motor control, characterised by manufacturing processes, e.g. for rolling metal or metal working
Landscapes
- Straightening Metal Sheet-Like Bodies (AREA)
- Winding, Rewinding, Material Storage Devices (AREA)
Abstract
本实用新型公开了一种条形铝材加工用辅助装置,涉及条形铝材加工技术领域,包括加工设备、辅助架和加工台,所述加工设备的底部固定安装有加工台,所述加工台的底部固定安装有支撑柱,所述加工设备的侧面设置有辅助架,所述辅助架的内部设置有固定机构,所述加工台的顶部设置有清理机构。本实用新型通过加工件放置到辅助架上,配合伸缩柱伸缩移动,带动挤压板挤压在加工件上,达到固定的效果,挤压固定的同时,带动摩擦块与加工件的表面摩擦,利用摩擦的阻力,提高固定的性能,方便装置更好的固定加工件,解决了设备自身容易产生震动力,导致加工件脱落的问题,有利于增加装置的固定性能,提高装置的工作效率。
The utility model discloses an auxiliary device for strip-shaped aluminum material processing, which relates to the technical field of strip-shaped aluminum material processing. A support column is fixedly installed on the bottom of the table, an auxiliary frame is arranged on the side of the processing equipment, a fixing mechanism is arranged inside the auxiliary frame, and a cleaning mechanism is arranged on the top of the processing table. The utility model places the processing piece on the auxiliary frame, cooperates with the telescopic column to telescopically move, and drives the extrusion plate to squeeze on the processing piece to achieve the effect of fixing. Using the frictional resistance to improve the fixing performance, it is convenient for the device to better fix the workpiece, which solves the problem that the equipment itself is prone to vibration and causes the workpiece to fall off, which is beneficial to increase the fixing performance of the device and improve the working efficiency of the device.
Description
技术领域technical field
本实用新型涉及条形铝材加工技术领域,具体涉及一种条形铝材加工用辅助装置。The utility model relates to the technical field of strip-shaped aluminum material processing, in particular to an auxiliary device for strip-shaped aluminum material processing.
背景技术Background technique
条形铝材适用范围很广,屋面、墙面、门窗、骨架、内外装饰板、天花板、吊顶、栏杆扶手、室内家具、商店货柜以及施工用的模板等都可以用到,而条形铝材在制作成成品时,经常需要的就是切割和焊接。Strip aluminum has a wide range of applications, such as roofing, walls, doors and windows, skeletons, internal and external decorative panels, ceilings, ceilings, railings, indoor furniture, store containers and construction templates. Cutting and welding is often all that is required when making a finished product.
针对现有技术存在以下问题:The following problems exist for the prior art:
1、条形铝材加工用辅助装置的固定性能较差,设备自身容易产生震动力,导致加工件脱落,影响加工件的加工问题;1. The fixing performance of the auxiliary device for strip aluminum processing is poor, and the equipment itself is prone to vibration force, which causes the workpiece to fall off and affects the processing of the workpiece;
2、条形铝材加工时,容易产生大量的碎屑,从而需要人工进行清理,造成人工劳动力提升,提高加工成本的问题。2. When the strip aluminum is processed, it is easy to generate a large amount of debris, which requires manual cleaning, resulting in the increase of manual labor and the increase of processing costs.
实用新型内容Utility model content
本实用新型提供一种条形铝材加工用辅助装置,其中一种目的是为了具备增加固定性能,解决条形铝材加工用辅助装置的固定性能较差,设备自身容易产生震动力,导致加工件脱落,影响加工件的加工问题;其中另一种目的是为了解决条形铝材加工时,容易产生大量的碎屑,从而需要人工进行清理,造成人工劳动力提升,提高加工成本的问题,以达到自动清理碎屑的效果。The utility model provides an auxiliary device for bar-shaped aluminum material processing, one of which is to increase the fixing performance, and solve the problem that the fixing performance of the auxiliary device for bar-shaped aluminum material processing is poor, and the equipment itself is prone to generate vibration force, resulting in processing Parts fall off, affecting the processing of the processed parts; another purpose is to solve the problem that a large amount of debris is easily generated during the processing of strip aluminum, which requires manual cleaning, resulting in increased labor and increased processing costs. To achieve the effect of automatic cleaning of debris.
为解决上述技术问题,本实用新型所采用的技术方案是:In order to solve the above-mentioned technical problems, the technical scheme adopted by the present utility model is:
一种条形铝材加工用辅助装置,包括加工设备、辅助架和加工台,所述加工设备的底部固定安装有加工台,所述加工台的底部固定安装有支撑柱,所述加工设备的侧面设置有辅助架,所述辅助架的内部设置有固定机构,所述加工台的顶部设置有清理机构。An auxiliary device for processing a bar-shaped aluminum material, comprising processing equipment, an auxiliary frame and a processing table, the processing table is fixedly installed at the bottom of the processing equipment, a support column is fixedly installed at the bottom of the processing table, and the processing equipment An auxiliary frame is arranged on the side, a fixing mechanism is arranged inside the auxiliary frame, and a cleaning mechanism is arranged on the top of the processing table.
所述固定机构包括固定杆,所述固定杆的顶部固定安装有固定板,所述固定板的内部开设有固定槽。The fixing mechanism includes a fixing rod, a fixing plate is fixedly installed on the top of the fixing rod, and a fixing groove is opened inside the fixing plate.
所述清理机构包括清扫柱,所述清扫柱的内部设置有旋转柱,所述旋转柱的两侧活动安装有移动机构。The cleaning mechanism includes a cleaning column, a rotating column is arranged inside the cleaning column, and a moving mechanism is movably installed on both sides of the rotating column.
本实用新型技术方案的进一步改进在于:所述固定槽的内侧设置有伸缩柱,所述伸缩柱的一端固定连接有挤压板。A further improvement of the technical solution of the present invention is that a telescopic column is arranged on the inner side of the fixing groove, and an extrusion plate is fixedly connected to one end of the telescopic column.
本实用新型技术方案的进一步改进在于:所述挤压板的内部开设有按压槽,所述按压槽内腔的顶部固定安装有按压块,所述按压块的顶部固定安装有复位弹柱。A further improvement of the technical solution of the present invention is that a pressing groove is formed inside the pressing plate, a pressing block is fixedly installed on the top of the inner cavity of the pressing groove, and a reset spring column is fixedly installed on the top of the pressing block.
本实用新型技术方案的进一步改进在于:所述挤压板的顶部设置有摩擦块,所述摩擦块的底部固定安装有缓冲垫,所述缓冲垫的底部固定安装有气压垫,所述气压垫的底部固定安装有推压板。A further improvement of the technical solution of the present invention is that: the top of the pressing plate is provided with a friction block, the bottom of the friction block is fixedly installed with a buffer pad, the bottom of the buffer pad is fixedly installed with an air pressure pad, and the air pressure pad A push plate is fixedly installed at the bottom of the .
本实用新型技术方案的进一步改进在于:所述清扫柱的外侧固定安装有弹力毛刷,所述弹力毛刷的底部固定安装有安装块。A further improvement of the technical solution of the present invention is that an elastic brush is fixedly installed on the outer side of the cleaning column, and a mounting block is fixedly installed at the bottom of the elastic brush.
本实用新型技术方案的进一步改进在于:所述安装块的底部固定安装有气囊层,所述气囊层的内部固定安装有缓冲块。A further improvement of the technical solution of the present invention is that an airbag layer is fixedly installed at the bottom of the installation block, and a buffer block is fixedly installed inside the airbag layer.
本实用新型技术方案的进一步改进在于:所述固定板的内部固定安装有滑柱,所述滑柱的外侧固定安装滑块,所述滑块的侧面设置在旋转柱的一侧,所述旋转柱的一侧设置有动力电机。A further improvement of the technical solution of the present invention is that: a sliding column is fixedly installed inside the fixing plate, a slider is fixedly installed on the outer side of the sliding column, and the side surface of the sliding block is arranged on one side of the rotating column, and the rotating One side of the column is provided with a power motor.
由于采用了上述技术方案,本实用新型相对现有技术来说,取得的技术进步是:Due to the adoption of the above-mentioned technical solutions, the technical progress achieved by the present utility model relative to the prior art is:
1、本实用新型提供一种条形铝材加工用辅助装置,通过加工件放置到辅助架上,配合伸缩柱伸缩移动,带动挤压板挤压在加工件上,达到固定的效果,挤压固定的同时,带动摩擦块与加工件的表面摩擦,利用摩擦的阻力,提高固定的性能,方便装置更好的固定加工件,解决了设备自身容易产生震动力,导致加工件脱落的问题,有利于增加装置的固定性能,提高装置的工作效率。1. The present utility model provides an auxiliary device for strip-shaped aluminum material processing, which is placed on the auxiliary frame through the processing piece, and cooperates with the telescopic column to telescopically move to drive the extrusion plate to be squeezed on the processing piece to achieve a fixed effect. At the same time of fixing, it drives the friction between the friction block and the surface of the workpiece, and uses the frictional resistance to improve the fixing performance, which is convenient for the device to better fix the workpiece, and solves the problem that the equipment itself is prone to vibration and causes the workpiece to fall off. It is beneficial to increase the fixing performance of the device and improve the working efficiency of the device.
2、本实用新型提供一种条形铝材加工用辅助装置,通过滑块在滑柱上滑动,带动旋转柱进行移动,再配合动力电机提供动力,带动旋转柱和清扫柱进行旋转清扫,使得清扫柱移动时配合旋转,达到清扫加工台的效果,再利用弹力毛刷的弹性和气囊层的柔软性相互配合,增加清扫柱使用寿命,然后随着移动清扫,从而把加工台上的碎屑清扫到收集口的内部,达到收集碎屑的功能,解决了条形铝材加工时,容易产生大量的碎屑,从而需要人工进行清理的问题,有利于装置便捷的清理碎屑,达到节省人工劳动力,降低加工成本的效果。2. The present utility model provides an auxiliary device for bar-shaped aluminum processing. The sliding block slides on the sliding column to drive the rotating column to move, and then cooperates with the power motor to provide power to drive the rotating column and the cleaning column to rotate and clean, so that the When the cleaning column moves, it rotates to achieve the effect of cleaning the processing table. Then, the elasticity of the elastic brush and the softness of the air bag layer cooperate with each other to increase the service life of the cleaning column, and then clean with the movement to remove the debris on the processing table. It is cleaned to the inside of the collection port to achieve the function of collecting debris, which solves the problem that a large amount of debris is easily generated during the processing of strip aluminum materials, which requires manual cleaning, which is conducive to the convenient cleaning of debris by the device and saves labor. labor, the effect of reducing processing costs.
附图说明Description of drawings
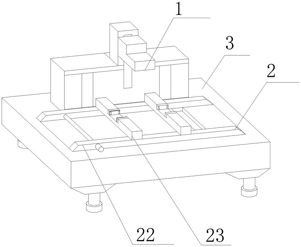
图1为本实用新型的结构示意图;Fig. 1 is the structural representation of the utility model;
图2为本实用新型的固定机构结构示意图;2 is a schematic structural diagram of a fixing mechanism of the present invention;
图3为本实用新型的挤压板剖视结构示意图;Fig. 3 is the sectional structure schematic diagram of the extrusion plate of the utility model;
图4为本实用新型的挤压板结构示意图;4 is a schematic structural diagram of the extrusion plate of the present invention;
图5为本实用新型的固定杆结构示意图;5 is a schematic structural diagram of a fixing rod of the present invention;
图6为本实用新型的清扫柱结构示意图。6 is a schematic structural diagram of a cleaning column of the present invention.
图中:1、加工设备;2、辅助架;21、固定机构;22、固定杆;23、固定板;231、滑柱;232、滑块;24、固定槽;241、伸缩柱;242、挤压板;2421、摩擦块;2422、缓冲垫;2423、气压垫;2424、推压板;243、按压槽;2431、按压块;2432、复位弹柱;3、加工台;31、清理机构;32、清扫柱;3221、气囊层;3222、缓冲块;321、弹力毛刷;322、安装块;33、旋转柱;330、动力电机;34、移动机构。In the figure: 1, processing equipment; 2, auxiliary frame; 21, fixing mechanism; 22, fixing rod; 23, fixing plate; 231, sliding column; 232, sliding block; 24, fixing groove; 241, telescopic column; 242, Squeeze plate; 2421, friction block; 2422, buffer pad; 2423, air pressure pad; 2424, push plate; 243, pressing groove; 2431, pressing block; 2432, reset spring column; 3, processing table; 31, cleaning mechanism; 32, cleaning column; 3221, air bag layer; 3222, buffer block; 321, elastic brush; 322, installation block; 33, rotating column; 330, power motor; 34, moving mechanism.
具体实施方式Detailed ways
下面结合实施例对本实用新型做进一步详细说明:Below in conjunction with embodiment, the utility model is described in further detail:
实施例1Example 1
如图1-6所示,本实用新型提供了一种条形铝材加工用辅助装置,包括加工设备1、辅助架2和加工台3,加工设备1的底部固定安装有加工台3,加工台3的底部固定安装有支撑柱,加工设备1的侧面设置有辅助架2,辅助架2的内部设置有固定机构21,加工台3的顶部设置有清理机构31,固定机构21包括固定杆22,固定杆22的顶部固定安装有固定板23,固定板23的内部开设有固定槽24,固定槽24的内侧设置有伸缩柱241,伸缩柱241的一端固定连接有挤压板242,挤压板242的顶部设置有摩擦块2421,摩擦块2421的底部固定安装有缓冲垫2422,缓冲垫2422的底部固定安装有气压垫2423,气压垫2423的底部固定安装有推压板2424。As shown in Figures 1-6, the present utility model provides an auxiliary device for processing a strip-shaped aluminum material, comprising a processing equipment 1, an
在本实施例中,通过加工件放置到辅助架2上,配合伸缩柱241伸缩移动,带动挤压板242挤压在加工件上,达到固定的效果,挤压固定的同时,带动摩擦块2421与加工件的表面摩擦,利用摩擦的阻力,提高固定的性能,方便装置更好的固定加工件,再由缓冲垫2422受力挤压气压垫2423,利用气压垫2423的弹性,进行缓冲作用力,达到缓冲保护加工件的功能。In this embodiment, the workpiece is placed on the
实施例2Example 2
如图1-6所示,在实施例1的基础上,本实用新型提供一种技术方案:优选的,挤压板242的内部开设有按压槽243,按压槽243内腔的顶部固定安装有按压块2431,按压块2431的顶部固定安装有复位弹柱2432。As shown in Figs. 1-6, on the basis of Embodiment 1, the present invention provides a technical solution: preferably, a
在本实施例中,通过挤压板242推压固定加工件时,使得挤压板242的接触面部分向内部挤压,然后由加工件卡在按压槽243上,配合复位弹柱2432的复位弹性,带动按压块2431挤压固定加工件,达到一个纵向固定的力的效果,从而提高装置的固定性能。In this embodiment, when the
实施例3Example 3
如图1-6所示,在实施例1的基础上,本实用新型提供一种技术方案:优选的,清理机构31的侧面开设有收集口,清理机构31包括清扫柱32,清扫柱32的内部设置有旋转柱33,旋转柱33的两侧活动安装有移动机构34,清扫柱32的外侧固定安装有弹力毛刷321,弹力毛刷321的底部固定安装有安装块322,安装块322的底部固定安装有气囊层3221,气囊层3221的内部固定安装有缓冲块3222,固定板23的内部固定安装有滑柱231,滑柱231的外侧固定安装滑块232,滑块232的侧面设置在旋转柱33的一侧,旋转柱33的一侧设置有动力电机330。As shown in FIGS. 1-6 , on the basis of Embodiment 1, the present invention provides a technical solution: preferably, a collection port is opened on the side of the
在本实施例中,通过滑块232在滑柱231上滑动,带动旋转柱33进行移动,再配合动力电机330提供动力,带动旋转柱33和清扫柱32进行旋转清扫,使得清扫柱32移动时配合旋转,达到清扫加工台3的效果,再利用弹力毛刷321的弹性和气囊层3221的柔软性相互配合,增加清扫柱32使用寿命,然后随着移动清扫,从而把加工台上的碎屑清扫到收集口的内部,达到收集碎屑的功能,方便装置便捷的清理碎屑,节省人工劳动力。In this embodiment, the sliding
下面具体说一下该条形铝材加工用辅助装置的工作原理。The working principle of the auxiliary device for strip aluminum processing will be described in detail below.
如图1-6所示,通过加工件放置到辅助架2上,配合伸缩柱241伸缩移动,带动挤压板242挤压在加工件上,达到固定的效果,挤压固定的同时,带动摩擦块2421与加工件的表面摩擦,利用摩擦的阻力,提高固定的性能,方便装置更好的固定加工件,通过滑块232在滑柱231上滑动,带动旋转柱33进行移动,再配合动力电机330提供动力,带动旋转柱33和清扫柱32进行旋转清扫,使得清扫柱32移动时配合旋转,达到清扫加工台3的效果,然后随着移动清扫,从而把加工台上的碎屑清扫到收集口的内部。As shown in Figure 1-6, the workpiece is placed on the
上文一般性的对本实用新型做了详尽的描述,但在本实用新型基础上,可以对之做一些修改或改进,这对于技术领域的一般技术人员是显而易见的。因此,在不脱离本实用新型思想精神的修改或改进,均在本实用新型的保护范围之内。The present invention has been generally described in detail above, but on the basis of the present invention, some modifications or improvements can be made, which is obvious to those skilled in the art. Therefore, any modification or improvement without departing from the spirit of the present invention is within the protection scope of the present invention.
Claims (7)
Priority Applications (1)
| Application Number | Priority Date | Filing Date | Title |
|---|---|---|---|
| CN202123275370.0U CN217193970U (en) | 2021-12-23 | 2021-12-23 | Auxiliary device for strip aluminum processing |
Applications Claiming Priority (1)
| Application Number | Priority Date | Filing Date | Title |
|---|---|---|---|
| CN202123275370.0U CN217193970U (en) | 2021-12-23 | 2021-12-23 | Auxiliary device for strip aluminum processing |
Publications (1)
| Publication Number | Publication Date |
|---|---|
| CN217193970U true CN217193970U (en) | 2022-08-16 |
Family
ID=82784103
Family Applications (1)
| Application Number | Title | Priority Date | Filing Date |
|---|---|---|---|
| CN202123275370.0U Active CN217193970U (en) | 2021-12-23 | 2021-12-23 | Auxiliary device for strip aluminum processing |
Country Status (1)
| Country | Link |
|---|---|
| CN (1) | CN217193970U (en) |
Cited By (1)
| Publication number | Priority date | Publication date | Assignee | Title |
|---|---|---|---|---|
| CN119188327A (en) * | 2024-11-29 | 2024-12-27 | 赣南科技学院 | A manufacturing device for crane parts |
-
2021
- 2021-12-23 CN CN202123275370.0U patent/CN217193970U/en active Active
Cited By (1)
| Publication number | Priority date | Publication date | Assignee | Title |
|---|---|---|---|---|
| CN119188327A (en) * | 2024-11-29 | 2024-12-27 | 赣南科技学院 | A manufacturing device for crane parts |
Similar Documents
| Publication | Publication Date | Title |
|---|---|---|
| CN217193970U (en) | Auxiliary device for strip aluminum processing | |
| CN114102139A (en) | Five metals panel cutting device with mechanism of bending | |
| CN222608393U (en) | Display screen cutting device | |
| CN221872245U (en) | A splash-proof structure | |
| CN118700083A (en) | A light source strip installation device | |
| CN216461130U (en) | A punching device for assembling door frame of passenger room | |
| CN219547377U (en) | Equipment is tailor in automobile seat surface fabric processing | |
| CN215789022U (en) | Aluminum alloy door and window production is with even burnishing device | |
| CN221896457U (en) | Energy-saving curtain wall door and window with environment-friendly multilayer structure | |
| CN222568853U (en) | Traction device for processing galvanized steel strip | |
| CN209663828U (en) | A kind of new ring spinning frame rubber roller cleaning device | |
| CN221908574U (en) | A dust removal device for producing aerospace vehicle parts | |
| CN218875000U (en) | Polishing machine | |
| CN220973440U (en) | Building insulation material's forming device | |
| CN222519603U (en) | A bending machine with debris cleaning function | |
| CN221872242U (en) | A kind of building material auxiliary processing and cutting device | |
| CN217290560U (en) | Civil engineering drilling equipment | |
| CN221749921U (en) | A book material protection rack for library | |
| CN217168203U (en) | Pressing plate device for building steel structure manufacturing | |
| CN213826012U (en) | A surface cleaning and dust removal machine for the bottom plate of a mold box | |
| CN223056832U (en) | Sunshine room section bar production cutting device | |
| CN218872938U (en) | Cleaning device for work piece production usefulness | |
| CN222627993U (en) | Die cutting machine for label production | |
| CN219483496U (en) | Dust cleaning device | |
| CN110219579B (en) | Electrostatic dust removal push-pull type screen window |
Legal Events
| Date | Code | Title | Description |
|---|---|---|---|
| GR01 | Patent grant | ||
| GR01 | Patent grant | ||
| TR01 | Transfer of patent right | ||
| TR01 | Transfer of patent right |
Effective date of registration: 20250110 Address after: No. 1013, Building D, East Industrial Zone, Jiegang Village, Lixi Village, Dali Town, Nanhai District, Foshan City, Guangdong Province (Address Declaration) Patentee after: Foshan Xurui Aluminum Industry Co.,Ltd. Country or region after: China Address before: 255000 East Bank of beixiaofu River, xilishan village, Kunlun town, Zichuan District, Zibo City, Shandong Province Patentee before: Shandong Yayin Aluminum Co.,Ltd. Country or region before: China |
