CN217119555U - Offset press printing waste water filtration equipment - Google Patents
Offset press printing waste water filtration equipment Download PDFInfo
- Publication number
- CN217119555U CN217119555U CN202123394562.3U CN202123394562U CN217119555U CN 217119555 U CN217119555 U CN 217119555U CN 202123394562 U CN202123394562 U CN 202123394562U CN 217119555 U CN217119555 U CN 217119555U
- Authority
- CN
- China
- Prior art keywords
- rod
- filter screen
- machine body
- connecting rod
- servo motor
- Prior art date
- Legal status (The legal status is an assumption and is not a legal conclusion. Google has not performed a legal analysis and makes no representation as to the accuracy of the status listed.)
- Active
Links
- 238000007639 printing Methods 0.000 title claims abstract description 21
- 238000004075 wastewater filtration Methods 0.000 title claims description 8
- 239000002351 wastewater Substances 0.000 claims abstract description 15
- 238000001914 filtration Methods 0.000 claims abstract description 13
- 238000007645 offset printing Methods 0.000 claims abstract 7
- 229910001385 heavy metal Inorganic materials 0.000 abstract description 5
- 230000000694 effects Effects 0.000 abstract description 3
- 244000309464 bull Species 0.000 description 6
- 238000004140 cleaning Methods 0.000 description 2
- 230000009286 beneficial effect Effects 0.000 description 1
- 238000010276 construction Methods 0.000 description 1
- 230000005484 gravity Effects 0.000 description 1
- 239000012535 impurity Substances 0.000 description 1
- 238000012986 modification Methods 0.000 description 1
- 230000004048 modification Effects 0.000 description 1
- 239000000126 substance Substances 0.000 description 1
Images
Landscapes
- Filtration Of Liquid (AREA)
Abstract
The utility model discloses an offset printing machine printing wastewater filtering device, which comprises a machine body, wherein a chute is reserved on the inner wall of the machine body, the end part of a rotating shaft is connected with the inner wall of the machine body, the other end of the rotating shaft is connected with a servo motor, the bottom of the servo motor is provided with a support frame which is fixedly connected with the outer wall of the machine body, the top of the vertical rod is connected with a pull rope, the offset printing machine printing wastewater filtering device drives the rotating rod to rotate when the servo motor rotates through the mutual matching of the chute, a slide block, a vertical rod, a filter screen, a horizontal rod, a fixture block, a connecting rod, a fixed rod, a rotating shaft, the servo motor and other parts, and drives the connecting rod to do vertical vibration motion through the fixed rod and the horizontal plate, thereby driving the filter screen to do vertical vibration motion and avoiding the reduction of filtering effect caused by the blockage of meshes by heavy metals, be provided with the stay cord, can take out the filter screen through drawing together the stay cord, clear up.
Description
Technical Field
The utility model relates to an offset press technical field specifically is an offset press printing wastewater filtration equipment.
Background
The printing wastewater of the offset press is generated when the inside of the used offset press is cleaned, and the main component of the wastewater consists of various organic matters, namely heavy metals, so the wastewater cannot be directly discharged into the environment, otherwise, the environment is damaged difficultly.
However, the existing offset press printing wastewater filtering equipment is mostly a fixed type filter screen, so that the situation that meshes are blocked by heavy metal often occurs, and then the high frequency is needed to be removed for cleaning, so that the filtering efficiency is low. Aiming at the problems, innovative design is urgently needed on the basis of the original offset press printing wastewater filtering equipment.
SUMMERY OF THE UTILITY MODEL
An object of the utility model is to provide an offset press printing waste water filtration equipment to solve above-mentioned background art and propose current offset press printing waste water filtration equipment, mostly be fixed filter screen, so often can appear the mesh by the condition of heavy metal jam, need the problem of clearance off the high frequency.
In order to achieve the above purpose, the utility model provides a following technical scheme: a printing wastewater filtering device of an offset press comprises a machine body, wherein a chute is reserved on the inner wall of the machine body, a slide block is arranged inside the slide groove, the end part of the slide block is connected with a vertical rod, the bottom of the vertical rod is provided with a filter screen, the bottom of the filter screen is provided with a cross bar, the surface of the cross bar is connected with a clamping block, the bottom of the clamping block is connected with a connecting rod, a transverse plate is arranged on the surface of the connecting rod, the end part of the transverse plate is fixedly connected with the inner wall of the machine body, a fixed rod is arranged at the bottom of the connecting rod, a rotating rod is arranged on the surface of the fixed rod, a rotating shaft is fixedly penetrated in the rotating rod, the end part of the rotating shaft is connected with the inner wall of the machine body, the other end of the rotating shaft is connected with a servo motor, the bottom of servo motor is provided with the support frame, the outer wall fixed connection of support frame and organism, the top of montant is connected with the stay cord.
Preferably, the sliding blocks form a sliding structure with the machine body through sliding grooves, and the number of the sliding blocks is two.
Preferably, the connecting rod constitutes sliding structure with the diaphragm, the diaphragm is provided with two.
Preferably, the clamping blocks and the cross rod form a clamping structure, and the number of the clamping blocks is two.
Preferably, the rotating rod and the connecting rod form a rotating structure through a fixing rod, the fixing rod is of an I-shaped structure, and the fixing rod and the rotating rod form a clamping type sliding structure.
Preferably, the number of the pull ropes is two, and the pull ropes are symmetrically distributed around the central axis of the filter screen.
Compared with the prior art, the beneficial effects of the utility model are that: this offset press printing waste water filtration equipment, through the spout, the slider, the montant, the filter screen, the horizontal pole, the fixture block, the connecting rod, the dead lever, the bull stick, mutually supporting of parts such as pivot and servo motor, can drive the bull stick when making servo motor pivoted and rotate, through dead lever and diaphragm, it is up-and-down vibrating motion to drive the connecting rod, thereby it is up-and-down vibrating motion to drive the filter screen, avoided reducing the filter effect because of the mesh is blockked up by the heavy metal, be provided with the stay cord, can take out the filter screen through drawing together the stay cord, clear up.
Drawings
FIG. 1 is a schematic front view of the present invention;
FIG. 2 is a schematic side view of the present invention;
FIG. 3 is a schematic top view of the present invention;
fig. 4 is an enlarged schematic structural view of a portion a in fig. 1 according to the present invention.
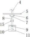
In the figure: 1. a body; 2. a chute; 3. a slider; 4. a vertical rod; 5. a filter screen; 6. a cross bar; 7. a clamping block; 8. a connecting rod; 9. fixing the rod; 10. a rotating rod; 11. a rotating shaft; 12. a servo motor; 13. a support frame; 14. pulling a rope; 15. a transverse plate.
Detailed Description
The technical solutions in the embodiments of the present invention will be described clearly and completely with reference to the accompanying drawings in the embodiments of the present invention, and it is obvious that the described embodiments are only some embodiments of the present invention, not all embodiments. Based on the embodiments in the present invention, all other embodiments obtained by a person skilled in the art without creative work belong to the protection scope of the present invention.
Referring to fig. 1-4, the present invention provides a technical solution: the utility model provides an offset press printing waste water filtration equipment, including organism 1, the inner wall reservation of organism 1 has spout 2, the inside of spout 2 is provided with slider 3, the end connection of slider 3 has montant 4, the bottom of montant 4 is provided with filter screen 5, the bottom of filter screen 5 is provided with horizontal pole 6, the surface connection of horizontal pole 6 has fixture block 7, the bottom of fixture block 7 is connected with connecting rod 8, the surface of connecting rod 8 is provided with diaphragm 15, the tip of diaphragm 15 and organism 1's inner wall fixed connection, the bottom of connecting rod 8 is provided with dead lever 9, the surface of dead lever 9 is provided with bull stick 10, the inside of bull stick 10 is run through and is fixed with pivot 11, the tip of pivot 11 and organism 1's inner wall interconnect, the other end of pivot 11 is connected with servo motor 12, servo motor 12's bottom is provided with support frame 13, support frame 13 and organism 1's outer wall fixed connection, the top of montant 4 is connected with stay cord 14.
The sliding block 3 forms a sliding structure with the machine body 1 through the sliding groove 2, and the sliding block 3 is provided with two sliding blocks, so that the filter screen 5 can be pulled out for cleaning and can do vibrating motion to avoid mesh blockage.
Connecting rod 8 and diaphragm 15 constitute sliding construction, and diaphragm 15 is provided with two for connecting rod 8 can be the up-and-down vibrating motion in vertical direction, and then drives horizontal pole 6 and be vibrating motion, has avoided the mesh to be blockked up easily.
The clamping block 7 and the cross rod 6 form a clamping structure, and the two clamping blocks 7 are arranged, so that the clamping blocks 7 can be clamped with the cross rod 6, the cross rod 6 can be driven to do vibrating motion when the clamping blocks 7 do vibrating motion, and the filter screen 5 is driven to do vibrating motion, and meshes cannot be easily blocked.
The rotating rod 10 forms a rotating structure through the fixing rod 9 and the connecting rod 8, the fixing rod 9 is of an I-shaped structure, the fixing rod 9 and the rotating rod 10 form a clamping type sliding structure, the servo motor 12 drives the rotating rod 10 to move, the rotating rod 10 can drive the connecting rod 8 to move through the fixing rod 9, and then the whole filter is driven.
Two pull ropes 14 are arranged, the pull ropes 14 are symmetrically distributed about the central axis of the filter screen 5, and the filter screen 5 can be pulled out of the machine body 1 by pulling the pull ropes 14 to clean filtered substances on the surface of the filter screen.
The working principle is as follows: when the offset press printing wastewater filtering device is used, firstly printing wastewater is discharged into the device, then the servo motor 12 is started, because the end part of the servo motor 12 is connected with the rotating shaft 11, the rotating shaft 11 is driven to rotate by the rotation of the servo motor 12, and because the surface of the rotating shaft 11 is fixed with the rotating rod 10, when the rotating shaft 11 rotates, the rotating rod 10 is driven to rotate, and the rotating rod 10 rotates to drive the fixing rod 9 to rotate through the empty groove on the surface, and the fixing rod 9 and the connecting rod 8 are connected with each other, when the servo motor 12 rotates a quarter circle upwards, the rotating rod 10 is driven to rotate a quarter circle upwards, because of the transverse plate 15, when the rotating rod 10 rotates a quarter circle upwards, the connecting rod 8 is driven to move upwards, because the connecting rod 8 is connected with the transverse rod 6 through the fixture block 7, when the connecting rod 8 moves upwards, can push up horizontal pole 6 upward movement, and then drive filter screen 5 upward movement, when servo motor 12 continues the pivoted, can do downward quarter circular motion, and then drive bull stick 10 and do downward quarter circular motion, bull stick 10 is downward quarter circular motion and can drive connecting rod 8 downstream, filter screen 5 is downward motion under the effect of gravity, servo motor 12 begins the reversal afterwards, begin to do new round semicircular motion, and then drive filter screen 5 and make new up-and-down vibrating motion, after the drainage is accomplished, take out filter screen 5 through stay cord 14, after having cleared up the impurity on surface, it can to put back.
Although the present invention has been described in detail with reference to the foregoing embodiments, it will be apparent to those skilled in the art that modifications may be made to the embodiments or portions thereof without departing from the spirit and scope of the invention.
Claims (6)
1. The utility model provides an offset press printing wastewater filtration equipment, includes organism (1), its characterized in that: the inner wall of the machine body (1) is reserved with a sliding groove (2), a sliding block (3) is arranged inside the sliding groove (2), the end part of the sliding block (3) is connected with a vertical rod (4), a filter screen (5) is arranged at the bottom of the vertical rod (4), a cross rod (6) is arranged at the bottom of the filter screen (5), a clamping block (7) is connected to the surface of the cross rod (6), a connecting rod (8) is connected to the bottom of the clamping block (7), a transverse plate (15) is arranged on the surface of the connecting rod (8), the end part of the transverse plate (15) is fixedly connected with the inner wall of the machine body (1), a fixing rod (9) is arranged at the bottom of the connecting rod (8), a rotating rod (10) is arranged on the surface of the fixing rod (9), a rotating shaft (11) penetrates through the inside of the rotating rod (10), and the end part of the rotating shaft (11) is connected with the inner wall of the machine body (1), the other end of pivot (11) is connected with servo motor (12), the bottom of servo motor (12) is provided with support frame (13), the outer wall fixed connection of support frame (13) and organism (1), the top of montant (4) is connected with stay cord (14).
2. The offset printing press printing wastewater filtering apparatus according to claim 1, wherein: the sliding block (3) and the machine body (1) form a sliding structure through the sliding groove (2), and the number of the sliding blocks (3) is two.
3. The offset printing press printing wastewater filtering apparatus according to claim 1, wherein: the connecting rod (8) and the transverse plate (15) form a sliding structure, and the transverse plate (15) is provided with two.
4. The offset printing press printing wastewater filtering apparatus according to claim 1, wherein: the clamping blocks (7) and the cross rod (6) form a clamping structure, and two clamping blocks (7) are arranged.
5. The offset printing press printing wastewater filtering apparatus according to claim 1, wherein: the rotary rod (10) and the connecting rod (8) form a rotary structure through the fixing rod (9), the fixing rod (9) is of an I-shaped structure, and the fixing rod (9) and the rotary rod (10) form a clamping type sliding structure.
6. The offset printing press printing wastewater filtering apparatus according to claim 1, wherein: the two pull ropes (14) are arranged, and the pull ropes (14) are symmetrically distributed around the central axis of the filter screen (5).
Priority Applications (1)
| Application Number | Priority Date | Filing Date | Title |
|---|---|---|---|
| CN202123394562.3U CN217119555U (en) | 2021-12-30 | 2021-12-30 | Offset press printing waste water filtration equipment |
Applications Claiming Priority (1)
| Application Number | Priority Date | Filing Date | Title |
|---|---|---|---|
| CN202123394562.3U CN217119555U (en) | 2021-12-30 | 2021-12-30 | Offset press printing waste water filtration equipment |
Publications (1)
| Publication Number | Publication Date |
|---|---|
| CN217119555U true CN217119555U (en) | 2022-08-05 |
Family
ID=82620018
Family Applications (1)
| Application Number | Title | Priority Date | Filing Date |
|---|---|---|---|
| CN202123394562.3U Active CN217119555U (en) | 2021-12-30 | 2021-12-30 | Offset press printing waste water filtration equipment |
Country Status (1)
| Country | Link |
|---|---|
| CN (1) | CN217119555U (en) |
-
2021
- 2021-12-30 CN CN202123394562.3U patent/CN217119555U/en active Active
Similar Documents
| Publication | Publication Date | Title |
|---|---|---|
| CN108815907B (en) | Hydraulic engineering filter equipment | |
| CN210001750U (en) | hydraulic engineering sludge cleaning device capable of separating sewage | |
| CN112814062A (en) | Anti-blocking river channel dredging treatment equipment | |
| CN216405312U (en) | Trash rack cleaning equipment for hydraulic engineering | |
| CN214571080U (en) | Sewage treatment plant for municipal works | |
| CN116371047B (en) | Papermaking pulping solid-liquid separation device and solid-liquid separation method thereof | |
| CN111827387B (en) | A canal dredging device | |
| CN217119555U (en) | Offset press printing waste water filtration equipment | |
| CN117101887A (en) | A new type of multifunctional centrifugal concentrator and its use method | |
| CN213978896U (en) | River course cleaning device for hydraulic engineering | |
| CN220834263U (en) | Sewage sedimentation tank capable of facilitating sundry cleaning | |
| CN104941275A (en) | Sewage treatment equipment | |
| CN211521631U (en) | Dry slag fishing device for wastewater treatment | |
| CN218340351U (en) | Sieving mechanism is used in house construction | |
| CN114917645B (en) | Plastic pipe convenient for sewage disposal | |
| CN213233587U (en) | Small-size lakebed sludge pumping machine | |
| CN214714698U (en) | Sewage treatment plant convenient to clearance filter screen | |
| CN215852279U (en) | A new type of vibrating solid-liquid separation filling machine | |
| CN211419789U (en) | Urban construction uses sewage edulcoration collection device | |
| CN210331885U (en) | Water source water quality purification device | |
| CN222723740U (en) | Real-time reinjection device for overflow sewage in wellhead operation | |
| CN223853443U (en) | A self-cleaning device for negative pressure-free water supply equipment | |
| CN221131364U (en) | Sand-water separation equipment | |
| CN221681733U (en) | A water storage structure | |
| CN216093247U (en) | Mixing arrangement is used in production of ultrasonic cleaner |
Legal Events
| Date | Code | Title | Description |
|---|---|---|---|
| GR01 | Patent grant | ||
| GR01 | Patent grant |