CN217019455U - A high-precision flat-nose vise machine tool fixture - Google Patents
A high-precision flat-nose vise machine tool fixture Download PDFInfo
- Publication number
- CN217019455U CN217019455U CN202123213567.1U CN202123213567U CN217019455U CN 217019455 U CN217019455 U CN 217019455U CN 202123213567 U CN202123213567 U CN 202123213567U CN 217019455 U CN217019455 U CN 217019455U
- Authority
- CN
- China
- Prior art keywords
- plate
- machine tool
- push rod
- electric push
- base
- Prior art date
- Legal status (The legal status is an assumption and is not a legal conclusion. Google has not performed a legal analysis and makes no representation as to the accuracy of the status listed.)
- Expired - Fee Related
Links
Images
Landscapes
- Jigs For Machine Tools (AREA)
Abstract
本实用新型公开了一种高精密平口钳机床夹具,包括底座,所述底座上转动连接有放置板,所述底座的上端设有安装槽,所述安装槽内安装有第一电动推杆,所述第一电动推杆的输出端安装有滑板,所述滑板与放置板之间铰接连接有支撑板,所述放置板上安装有定位块,所述放置板上固定连接有U型板,所述U型板的内壁设有相对的两个导向槽,两个所述导向槽内均滑动连接有齿条板,两个所述齿条板与第二电动推杆的一端均安装有夹持柱,所述U型板上安装有第二电动推杆。本实用新型不仅可以对高低面不同的工件进行稳定的夹持且适用范围广,也可以对平面工件夹持,同时,可以对工件进行角度进行精准的调节,提高加工的精度。
The utility model discloses a high-precision vise machine tool fixture, comprising a base, a placing plate is rotatably connected to the base, an installation groove is arranged on the upper end of the base, and a first electric push rod is installed in the installation groove, A sliding plate is installed at the output end of the first electric push rod, a support plate is hingedly connected between the sliding plate and the placing plate, a positioning block is installed on the placing plate, and a U-shaped plate is fixedly connected to the placing plate, The inner wall of the U-shaped plate is provided with two opposite guide grooves, a rack plate is slidably connected in the two guide grooves, and a clip is installed on one end of the two rack plates and the second electric push rod. A second electric push rod is installed on the U-shaped plate. The utility model can not only stably clamp workpieces with different high and low surfaces and has a wide application range, but also can clamp flat workpieces, and at the same time, the angle of the workpiece can be precisely adjusted to improve the machining accuracy.
Description
技术领域technical field
本实用新型涉及夹具技术领域,尤其涉及一种高精密平口钳机床夹具。The utility model relates to the technical field of clamps, in particular to a clamp for a high-precision flat-nose vise machine tool.
背景技术Background technique
夹具是指机械制造过程中用来固定加工对象,使之占有正确的位置,以接受施工或检测的装置。Fixture refers to the device used to fix the processing object in the process of mechanical manufacturing, so that it occupies the correct position to accept construction or inspection.
现有的夹具虽可以对工件进行稳定夹持,但是针对夹持面高低不同的工件不能够有效的处理;同时,现有技术公开了申请号为CN201520337574.8的一种高精密平口钳机床夹具,该专利对于夹持后工件角度调节的精度不高,需要进行改进。Although the existing fixture can stably clamp the workpiece, it cannot effectively handle workpieces with different clamping surfaces; at the same time, the prior art discloses a high-precision flat vise machine tool fixture with application number CN201520337574.8 , the accuracy of this patent for adjusting the angle of the workpiece after clamping is not high and needs to be improved.
因此,我们设计了一种高精密平口钳机床夹具来解决以上问题。Therefore, we designed a high-precision vise machine fixture to solve the above problems.
实用新型内容Utility model content
本实用新型的目的是为了解决现有技术中存在的缺点,而提出的一种高精密平口钳机床夹具。The purpose of the utility model is to propose a high-precision flat-nose vise machine tool fixture in order to solve the shortcomings existing in the prior art.
为了实现上述目的,本实用新型采用了如下技术方案:In order to achieve the above-mentioned purpose, the utility model adopts the following technical solutions:
一种高精密平口钳机床夹具,包括底座,所述底座上转动连接有放置板,所述底座的上端设有安装槽,所述安装槽内安装有第一电动推杆,所述第一电动推杆的输出端安装有滑板,所述滑板与放置板之间铰接连接有支撑板,所述放置板上安装有定位块,所述放置板上固定连接有U型板,所述U型板的内壁设有相对的两个导向槽,两个所述导向槽内均滑动连接有齿条板,两个所述齿条板与第二电动推杆的一端均安装有夹持柱,所述U型板上安装有第二电动推杆,所述第二电动推杆延伸至U型板内,且所述第二电动推杆的输出端安装有齿轮,所述齿轮与两个齿条板相啮合。A high-precision flat vise machine tool fixture, comprising a base, a placing plate is rotatably connected to the base, an installation groove is arranged on the upper end of the base, a first electric push rod is installed in the installation groove, and the first electric push rod is installed in the installation groove. A sliding plate is installed at the output end of the push rod, a support plate is hingedly connected between the sliding plate and the placing plate, a positioning block is installed on the placing plate, a U-shaped plate is fixedly connected to the placing plate, and the U-shaped plate is fixedly connected. The inner wall is provided with two opposite guide grooves, and rack plates are slidably connected in the two guide grooves, and a clamping column is installed on one end of the two rack plates and the second electric push rod. A second electric push rod is installed on the U-shaped plate, the second electric push rod extends into the U-shaped plate, and a gear is installed at the output end of the second electric push rod, and the gear is connected to the two rack plates. meshed.
优选地,所述放置板的前后端安装有连接块,两个所述连接块通过轴杆与底座铰接连接。Preferably, connecting blocks are installed at the front and rear ends of the placing plate, and the two connecting blocks are hingedly connected to the base through a shaft.
优选地,所述支撑板与滑板的上端铰接连接,所述支撑板与放置板的底部铰接连接。Preferably, the support plate is hingedly connected to the upper end of the slide plate, and the support plate is hingedly connected to the bottom of the placing plate.
优选地,所述夹持柱与齿条板相背的一端固定连接有橡胶垫。Preferably, a rubber pad is fixedly connected to the end of the clamping column facing away from the rack plate.
优选地,所述导向槽呈U型形状。Preferably, the guide groove is U-shaped.
优选地,所述第二电动推杆的输出端安装有安装架,所述齿轮安装在安装架上。Preferably, a mounting bracket is mounted on the output end of the second electric push rod, and the gear is mounted on the mounting rack.
本实用新型与现有技术相比,其有益效果为:Compared with the prior art, the utility model has the following beneficial effects:
1、第二电动推杆工作带动齿轮、两个齿条板和两个夹持柱移动,当其中一个夹持柱与工件的高处相抵时,随着第二电动推杆的移动,使得与工件相抵对应的齿条板移动,从而驱动齿轮转动,齿轮传动驱动另一个齿条板移动,进而驱动另一个夹持柱与工件相抵,从而可以对工件进行稳定的夹持,且可以适用于高低面不同的工件,适用范围广。1. The second electric push rod works to drive the gear, the two rack plates and the two clamping columns to move. When one of the clamping columns is in contact with the height of the workpiece, with the movement of the second electric push rod, the The workpiece moves against the corresponding rack plate, thereby driving the gear to rotate, and the gear drive drives the other rack plate to move, which in turn drives the other clamping column to abut the workpiece, so that the workpiece can be stably clamped, and it can be applied to high and low Workpieces with different surfaces are suitable for a wide range of applications.
2、第一电动推杆驱动滑板移动,在支撑板作用下,可以驱动放置板转动,从而实现对工件的角度调节,通过第一电动推杆可以对工件的角度进行精准的调节。2. The first electric push rod drives the slide plate to move, and under the action of the support plate, the placing plate can be driven to rotate, so as to realize the angle adjustment of the workpiece, and the first electric push rod can precisely adjust the angle of the workpiece.
综上所述,本实用新型不仅可以对高低面不同的工件进行稳定的夹持且适用范围广,也可以对平面工件夹持,同时,可以对工件进行角度进行精准的调节,提高加工的精度。In summary, the utility model can not only stably clamp workpieces with different high and low surfaces and has a wide range of applications, but also clamp flat workpieces, and at the same time, the angle of the workpiece can be accurately adjusted to improve the machining accuracy. .
附图说明Description of drawings
图1为本实用新型提出的一种高精密平口钳机床夹具的结构示意图;Fig. 1 is the structural representation of a kind of high-precision flat-nose vise machine tool fixture proposed by the utility model;
图2为本实用新型提出的一种高精密平口钳机床夹具中U型板的俯视图。Fig. 2 is a top view of a U-shaped plate in a fixture of a high-precision flat-nose vise machine tool proposed by the utility model.
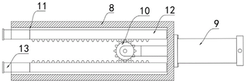
图中:1底座、2安装槽、3第一电动推杆、4滑板、5支撑板、6定位块、7放置板、8U型板、9第二电动推杆、10齿轮、11导向槽、12齿条板、13夹持柱。In the picture: 1 base, 2 installation slot, 3 first electric push rod, 4 slide plate, 5 support plate, 6 positioning block, 7 placement plate, 8 U-shaped plate, 9 second electric push rod, 10 gear, 11 guide groove, 12 rack plates, 13 clamping columns.
具体实施方式Detailed ways
下面将结合本实用新型实施例中的附图,对本实用新型实施例中的技术方案进行清楚、完整地描述,显然,所描述的实施例仅仅是本实用新型一部分实施例,而不是全部的实施例。The technical solutions in the embodiments of the present utility model will be clearly and completely described below with reference to the accompanying drawings in the embodiments of the present utility model. Obviously, the described embodiments are only a part of the embodiments of the present utility model, rather than all the implementations. example.
参照图1-2,一种高精密平口钳机床夹具,包括底座1,底座1上转动连接有放置板7,放置板7的前后端安装有连接块,两个连接块通过轴杆与底座1铰接连接;底座1的上端设有安装槽2,安装槽2内安装有第一电动推杆3,第一电动推杆3的输出端安装有滑板4,滑板4与放置板7之间铰接连接有支撑板5,支撑板5与滑板4的上端铰接连接,支撑板5与放置板7的底部铰接连接。Referring to Figure 1-2, a high-precision vise machine tool fixture includes a
放置板7上安装有定位块6,放置板7上固定连接有U型板8,U型板8的内壁设有相对的两个导向槽11,两个导向槽11内均滑动连接有齿条板12,导向槽11呈U型形状,从而可以保证齿条板12稳定的滑动;两个齿条板12与第二电动推杆9的一端均安装有夹持柱13,夹持柱13与齿条板12相背的一端固定连接有橡胶垫,可以对工件进行保护。A
U型板8上安装有第二电动推杆9,第二电动推杆9延伸至U型板8内,且第二电动推杆9的输出端安装有齿轮10,第二电动推杆9的输出端安装有安装架,齿轮10安装在安装架上,齿轮10与两个齿条板12相啮合。A second
本实用新型使用时,将工件与定位块6相抵,然后启动第二电动推杆9,第二电动推杆9工作带动齿轮10、两个齿条板12和两个夹持柱13移动,当其中一个夹持柱13与工件的高处相抵时,随着第二电动推杆9的移动,使得与工件相抵对应的齿条板12移动,从而驱动齿轮10转动,齿轮10传动驱动另一个齿条板12移动,进而驱动另一个夹持柱13与工件相抵,从而可以对工件进行稳定的夹持,且可以适用于高低面不同的工件,适用范围广;When the utility model is used, the workpiece is abutted against the
当需要对工件进行角度调节时,启动第一电动推杆3驱动滑板4移动,在支撑板5作用下,可以驱动放置板7转动,从而实现对工件的角度调节,通过第一电动推杆13可以对工件的角度进行精准的调节。When it is necessary to adjust the angle of the workpiece, the first
以上所述,仅为本实用新型较佳的具体实施方式,但本实用新型的保护范围并不局限于此,任何熟悉本技术领域的技术人员在本实用新型揭露的技术范围内,根据本实用新型的技术方案及其实用新型构思加以等同替换或改变,都应涵盖在本实用新型的保护范围之内。The above description is only a preferred embodiment of the present invention, but the protection scope of the present invention is not limited to this. Equivalent replacement or modification of the new technical solution and its utility model concept shall be included within the protection scope of the present utility model.
Claims (6)
Priority Applications (1)
| Application Number | Priority Date | Filing Date | Title |
|---|---|---|---|
| CN202123213567.1U CN217019455U (en) | 2021-12-20 | 2021-12-20 | A high-precision flat-nose vise machine tool fixture |
Applications Claiming Priority (1)
| Application Number | Priority Date | Filing Date | Title |
|---|---|---|---|
| CN202123213567.1U CN217019455U (en) | 2021-12-20 | 2021-12-20 | A high-precision flat-nose vise machine tool fixture |
Publications (1)
| Publication Number | Publication Date |
|---|---|
| CN217019455U true CN217019455U (en) | 2022-07-22 |
Family
ID=82442873
Family Applications (1)
| Application Number | Title | Priority Date | Filing Date |
|---|---|---|---|
| CN202123213567.1U Expired - Fee Related CN217019455U (en) | 2021-12-20 | 2021-12-20 | A high-precision flat-nose vise machine tool fixture |
Country Status (1)
| Country | Link |
|---|---|
| CN (1) | CN217019455U (en) |
-
2021
- 2021-12-20 CN CN202123213567.1U patent/CN217019455U/en not_active Expired - Fee Related
Similar Documents
| Publication | Publication Date | Title |
|---|---|---|
| CN207900688U (en) | A kind of carving Milling Machining special fixture | |
| CN211681039U (en) | Clamp device convenient to clamp | |
| CN211490555U (en) | Clamping die applied to high-speed engraving and milling machine | |
| CN217019455U (en) | A high-precision flat-nose vise machine tool fixture | |
| CN204564860U (en) | A kind of flexible holding device of bending pipe fitting | |
| CN221676448U (en) | A multi-station clamping tool | |
| CN211387843U (en) | Clamp structure for CNC (computer numerical control) machining | |
| CN220612812U (en) | Adjustable welding fixture | |
| CN219521896U (en) | A boring jig for special-shaped workpieces | |
| CN217394356U (en) | Fixing device for machine tool machining | |
| CN215699992U (en) | 4.5 axle anchor clamps | |
| CN215092110U (en) | Universal clamp | |
| CN213858868U (en) | Adjustable machining tool clamp | |
| CN210876873U (en) | A plate bending system and plate bending machine | |
| CN220145255U (en) | Clamp for mechanical engineering | |
| CN221640233U (en) | Nonferrous metal dysmorphism spare adds clamping apparatus of angularly adjustable | |
| CN219818832U (en) | An adjustable turbine box processing jig | |
| CN217776719U (en) | Adjustable accurate flat tongs for hardware machining | |
| CN220762311U (en) | A positioning mechanism for clamp frame production | |
| CN222627022U (en) | Hydraulic self-adjusting clamp | |
| CN220718583U (en) | Adjustable water meter machining clamp | |
| CN213731389U (en) | Workpiece positioning device for electric automation processing | |
| CN222627546U (en) | Cylindrical metal workpiece clamping tool | |
| CN221792355U (en) | A sine vise | |
| CN223265446U (en) | A chuck jaw grinding table arc grinding wheel compensation device |
Legal Events
| Date | Code | Title | Description |
|---|---|---|---|
| GR01 | Patent grant | ||
| GR01 | Patent grant | ||
| CF01 | Termination of patent right due to non-payment of annual fee | ||
| CF01 | Termination of patent right due to non-payment of annual fee |
Granted publication date: 20220722 |
