CN216914167U - Building board drilling equipment - Google Patents
Building board drilling equipment Download PDFInfo
- Publication number
- CN216914167U CN216914167U CN202123109262.6U CN202123109262U CN216914167U CN 216914167 U CN216914167 U CN 216914167U CN 202123109262 U CN202123109262 U CN 202123109262U CN 216914167 U CN216914167 U CN 216914167U
- Authority
- CN
- China
- Prior art keywords
- motor
- screw
- arm
- shaped arm
- fixedly connected
- Prior art date
- Legal status (The legal status is an assumption and is not a legal conclusion. Google has not performed a legal analysis and makes no representation as to the accuracy of the status listed.)
- Expired - Fee Related
Links
- 238000005553 drilling Methods 0.000 title claims abstract description 17
- 238000004080 punching Methods 0.000 claims abstract description 27
- 238000004140 cleaning Methods 0.000 claims abstract description 16
- 230000009979 protective mechanism Effects 0.000 claims abstract description 8
- 230000001681 protective effect Effects 0.000 claims description 17
- 238000009434 installation Methods 0.000 claims description 7
- 230000000149 penetrating effect Effects 0.000 claims description 6
- 230000004224 protection Effects 0.000 claims description 5
- 238000010276 construction Methods 0.000 claims description 4
- 238000003912 environmental pollution Methods 0.000 abstract description 4
- 239000002023 wood Substances 0.000 abstract description 3
- 230000000903 blocking effect Effects 0.000 description 5
- 238000010586 diagram Methods 0.000 description 2
- 239000011120 plywood Substances 0.000 description 2
- 239000002699 waste material Substances 0.000 description 2
- 230000009286 beneficial effect Effects 0.000 description 1
- 238000005520 cutting process Methods 0.000 description 1
- 238000001125 extrusion Methods 0.000 description 1
- 238000003754 machining Methods 0.000 description 1
- 239000000463 material Substances 0.000 description 1
- 238000000034 method Methods 0.000 description 1
- 238000012986 modification Methods 0.000 description 1
- 230000004048 modification Effects 0.000 description 1
- 238000003825 pressing Methods 0.000 description 1
- 238000003860 storage Methods 0.000 description 1
Images
Classifications
-
- Y—GENERAL TAGGING OF NEW TECHNOLOGICAL DEVELOPMENTS; GENERAL TAGGING OF CROSS-SECTIONAL TECHNOLOGIES SPANNING OVER SEVERAL SECTIONS OF THE IPC; TECHNICAL SUBJECTS COVERED BY FORMER USPC CROSS-REFERENCE ART COLLECTIONS [XRACs] AND DIGESTS
- Y02—TECHNOLOGIES OR APPLICATIONS FOR MITIGATION OR ADAPTATION AGAINST CLIMATE CHANGE
- Y02P—CLIMATE CHANGE MITIGATION TECHNOLOGIES IN THE PRODUCTION OR PROCESSING OF GOODS
- Y02P70/00—Climate change mitigation technologies in the production process for final industrial or consumer products
- Y02P70/10—Greenhouse gas [GHG] capture, material saving, heat recovery or other energy efficient measures, e.g. motor control, characterised by manufacturing processes, e.g. for rolling metal or metal working
Landscapes
- Processing Of Stones Or Stones Resemblance Materials (AREA)
Abstract
本实用新型公开了一种建筑板材打孔设备,包括工作台,所述工作台的上表面一侧转动连接有L型臂,所述工作台上表面且与L型臂相对应的位置固定连接有竖臂,所述竖臂和L型臂的一端之间设有固定机构,所述L型臂的外表面开设有第一滑槽。本实用新型中,通过可转动的L型臂和固定机构,启动固定机构中的第一电机可以使得卡块移出卡槽,从而便能够转动型臂,进而将打孔电机移动到空旷的位置进行钻头更换,从而大大方便使用人员,通过设置的夹紧机构可以避免板材在打孔时出现移动的情况,通过设置的防护机构和清理机构可以避免打孔时木屑飞溅,造成环境污染,同时可以将产生的木屑吸进收集箱中,还可以对打孔电机进行散热。
The utility model discloses a perforating equipment for building boards, which comprises a worktable, an L-shaped arm is rotatably connected to one side of the upper surface of the worktable, and the upper surface of the worktable is fixedly connected with the position corresponding to the L-shaped arm. There is a vertical arm, a fixing mechanism is arranged between the vertical arm and one end of the L-shaped arm, and a first chute is provided on the outer surface of the L-shaped arm. In the present invention, through the rotatable L-shaped arm and the fixing mechanism, the first motor in the fixing mechanism can be activated to move the clamping block out of the clamping slot, so that the arm can be rotated, and then the punching motor can be moved to an open position. The drill bit is replaced, which greatly facilitates the user. The set clamping mechanism can avoid the movement of the plate during drilling. The set protective mechanism and cleaning mechanism can avoid the sawdust splashing during drilling, causing environmental pollution. The resulting wood chips are sucked into a collection box, which also dissipates heat from the perforated motor.
Description
技术领域technical field
本实用新型涉及板材打孔技术领域,尤其涉及一种建筑板材打孔设备。The utility model relates to the technical field of plate punching, in particular to a punching device for building plates.
背景技术Background technique
打孔设备是指利用比目标物更坚硬、更锐利的工具通过旋转切削或旋转挤压的方式,在目标物上留下圆柱形孔或洞的机械和设备统称,随着社会的发展,打孔装置在机械加工、建筑等方面使用越来越广泛;Punching equipment refers to machinery and equipment that use a tool that is harder and sharper than the target to leave cylindrical holes or holes on the target by rotary cutting or rotary extrusion. Hole devices are more and more widely used in machining, construction, etc.;
现涉及一种建筑板材打孔设备,现有的建筑板材打孔设备在使用时一般是通过人工将板材压住然后在进行打孔,这样容易在打孔时出现晃动,从而造成打孔失败,并且产生的废屑不容易收集,清理麻烦,浪费人力物力,而且现有的建筑板材打孔设备的打孔电机一般都是安装在龙门架上,不便于进行钻头的更换,大大增加了工作负担。Now it relates to a perforating equipment for building boards. The existing perforating equipment for building boards generally presses the board manually and then punches holes, which is easy to shake during punching, resulting in failure of punching. In addition, the generated waste chips are not easy to collect, which is troublesome to clean, and wastes manpower and material resources. Moreover, the punching motors of the existing building board punching equipment are generally installed on the gantry, which is inconvenient to replace the drill bit, which greatly increases the workload. .
实用新型内容Utility model content
本实用新型的目的是为了解决现有技术中存在的缺点,而提出的一种建筑板材打孔设备。The purpose of the utility model is to propose a perforating equipment for building boards in order to solve the shortcomings existing in the prior art.
为了实现上述目的,本实用新型采用了如下技术方案:一种建筑板材打孔设备,包括工作台,所述工作台的上表面一侧转动连接有L型臂,所述工作台上表面且与L型臂相对应的位置固定连接有竖臂,所述竖臂和L型臂的一端之间设有固定机构,所述L型臂的外表面开设有第一滑槽,所述第一滑槽的内部安装有移动机构,所述移动机构的移动端固定安装有电动推杆,所述电动推杆的活动杆底端固定连接有安装板,所述安装板的下表面安装有打孔电机,所述打孔电机的输出轴固定安装有钻头,所述安装板的外表面套设安装有防护机构,所述工作台的一侧设有与防护机构相连通的清理机构,所述工作台的上表面分别开设有第二滑槽和加工口,所述第二滑槽的内部安装有夹紧机构。In order to achieve the above purpose, the utility model adopts the following technical scheme: a building board drilling equipment, including a workbench, an L-shaped arm is rotatably connected to one side of the upper surface of the workbench, and the upper surface of the workbench is connected with the workbench. A vertical arm is fixedly connected to the corresponding position of the L-shaped arm, a fixing mechanism is provided between the vertical arm and one end of the L-shaped arm, and a first chute is provided on the outer surface of the L-shaped arm, and the first sliding A moving mechanism is installed inside the slot, an electric push rod is fixedly installed at the moving end of the moving mechanism, a mounting plate is fixedly connected to the bottom end of the movable rod of the electric push rod, and a punching motor is installed on the lower surface of the mounting plate , a drill bit is fixedly installed on the output shaft of the punching motor, a protective mechanism is sleeved and installed on the outer surface of the mounting plate, and a cleaning mechanism communicated with the protective mechanism is provided on one side of the workbench. A second chute and a processing port are respectively opened on the upper surface of the second chute, and a clamping mechanism is installed inside the second chute.
进一步的,所述固定机构包括开设在L型臂一端下表面的卡槽和开设在竖臂外表面一侧的收纳槽,所述竖臂外表面开设有安装槽,所述安装槽的内部安装有第一电机,所述第一电机的输出轴固定连接有第一螺杆,所述第一螺杆的外表面螺纹连接有卡块,所述卡块贯穿安装槽的顶部并延伸至卡槽的内部。Further, the fixing mechanism includes a clamping slot opened on the lower surface of one end of the L-shaped arm and a receiving slot opened on one side of the outer surface of the vertical arm. There is a first motor, the output shaft of the first motor is fixedly connected with a first screw, the outer surface of the first screw is screwed with a block, the block penetrates the top of the installation slot and extends to the interior of the slot .
进一步的,所述移动机构包括贯穿第一滑槽的第二螺杆,所述第二螺杆的外表面螺纹连接有T型块,所述L型臂的一侧安装有与第二螺杆相连接的第二电机,所述电动推杆安装在T型块的外表面。Further, the moving mechanism includes a second screw penetrating through the first chute, the outer surface of the second screw is threadedly connected with a T-shaped block, and one side of the L-shaped arm is installed with a second screw connected to the second screw. For the second motor, the electric push rod is installed on the outer surface of the T-block.
进一步的,所述防护机构包括套设在安装板外表面支撑套,且所述支撑套的内壁与安装板的外表面螺纹连接,所述支撑套的下表面开设有环形槽,所述环形槽的内顶部固定连接有弹簧,所述弹簧的底端固定连接有透明防护罩,所述透明防护罩的外表面开设有通孔。Further, the protection mechanism includes a support sleeve sleeved on the outer surface of the mounting plate, and the inner wall of the support sleeve is threadedly connected with the outer surface of the mounting plate, and an annular groove is formed on the lower surface of the support sleeve, and the annular groove is formed. A spring is fixedly connected to the inner top of the spring, a transparent protective cover is fixedly connected to the bottom end of the spring, and a through hole is opened on the outer surface of the transparent protective cover.
进一步的,所述清理机构包括位于工作台一侧的收集箱,所述收集箱的顶部安装有抽风机,所述抽风机的抽风端与收集箱的顶部相连通,且所述抽风机的抽风端位于收集箱顶部的一端嵌入安装有过滤网,所述收集箱的顶部一侧贯穿固定连通有抽吸管,所述抽吸管的一端贯穿透明防护罩。Further, the cleaning mechanism includes a collection box located on one side of the workbench, a suction fan is installed on the top of the collection box, the suction end of the suction fan is communicated with the top of the collection box, and the suction of the suction fan is A filter screen is embedded and installed at the end located at the top of the collection box, a suction pipe is fixed and communicated through one side of the top of the collection box, and one end of the suction pipe penetrates the transparent protective cover.
进一步的,所述夹紧机构包括贯穿第二滑槽的第三螺杆,所述第三螺杆的外表面对称螺纹连接有滑块,所述滑块的顶端固定连接有夹板,所述工作台的一侧安装有与第三螺杆相连接的第三电机。Further, the clamping mechanism includes a third screw penetrating the second chute, the outer surface of the third screw is symmetrically threadedly connected with a slider, the top of the slider is fixedly connected with a splint, and the workbench is A third motor connected with the third screw is installed on one side.
进一步的,所述工作台的下表面四周固定连接有支撑腿,所述工作台的下表面且与加工口相对应的位置滑动可拆卸连接有清理箱。Further, support legs are fixedly connected around the lower surface of the worktable, and a cleaning box is slidably and detachably connected to the lower surface of the worktable at a position corresponding to the processing port.
本实用新型的有益效果:The beneficial effects of the present utility model:
1、本实用新型在使用时,该建筑板材打孔设备,通过可转动的L型臂和固定机构,启动固定机构中的第一电机可以使得卡块移出卡槽,从而便能够转动型臂,进而将打孔电机移动到空旷的位置进行钻头更换,从而大大方便使用人员。1. When the utility model is in use, the construction board drilling equipment, through the rotatable L-shaped arm and the fixing mechanism, activates the first motor in the fixing mechanism to move the clamping block out of the clamping slot, so that the arm can be rotated, Then, the punching motor is moved to an open position to replace the drill bit, which greatly facilitates the user.
2、本实用新型在使用时,该建筑板材打孔设备,通过设置的夹紧机构,不需要人工压紧即可将建筑板材夹紧,从而避免打孔时出现移动的情况。2. When the utility model is in use, the building board punching equipment can clamp the building board without manual pressing through the provided clamping mechanism, so as to avoid the situation of moving during drilling.
3、本实用新型在使用时,该建筑板材打孔设备,通过设置的防护机构和清理机构可以避免打孔时木屑飞溅,造成环境污染,同时可以将产生的木屑吸进收集箱中,从而实现透明防护罩内的清洁,并且还可以对打孔电机进行散热。3. When the utility model is in use, the construction board punching equipment can prevent the sawdust from splashing during punching and cause environmental pollution through the provided protection mechanism and cleaning mechanism, and at the same time, the generated sawdust can be sucked into the collection box, thereby realizing Cleaning inside the transparent protective cover, and can also dissipate heat from the perforated motor.
附图说明Description of drawings
图1为本实用新型的立体图;Fig. 1 is the perspective view of the utility model;
图2为本实用新型的整体结构示意图;Fig. 2 is the overall structure schematic diagram of the present utility model;
图3为本实用新型的侧视图;Fig. 3 is the side view of the utility model;
图4为本实用新型的固定机构的结构示意图;Fig. 4 is the structural representation of the fixing mechanism of the present invention;
图5为本实用新型的防护机构的结构示意图。5 is a schematic structural diagram of the protection mechanism of the present invention.
图例说明:illustration:
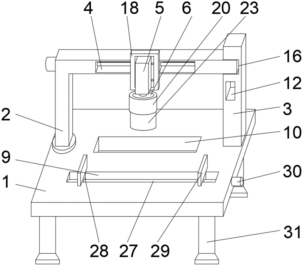
1、工作台;2、L型臂;3、竖臂;4、第一滑槽;5、电动推杆;6、安装板;7、打孔电机;8、钻头;9、第二滑槽;10、加工口;11、卡槽;12、安装槽;13、第一电机;14、第一螺杆;15、卡块;16、收纳槽;17、第二螺杆;18、T型块;19、第二电机;20、支撑套;21、环形槽;22、弹簧;23、透明防护罩;24、收集箱;25、抽风机;26、抽吸管;27、第三螺杆;28、滑块;29、夹板;30、第三电机;31、支撑腿;32、清理箱。1. Workbench; 2. L-shaped arm; 3. Vertical arm; 4. The first chute; 5. Electric push rod; 6. Mounting plate; 7. Drilling motor; 8. Drill bit; 9. The second chute ; 10, processing port; 11, card slot; 12, installation slot; 13, first motor; 14, first screw; 15, clip; 16, storage slot; 17, second screw; 18, T-block; 19, the second motor; 20, the support sleeve; 21, the annular groove; 22, the spring; 23, the transparent protective cover; 24, the collection box; 25, the exhaust fan; 26, the suction pipe; 27, the third screw; 28, Slider; 29, splint; 30, third motor; 31, support leg; 32, cleaning box.
具体实施方式Detailed ways
参照图1至图5,涉及一种建筑板材打孔设备,包括工作台1,工作台1的上表面一侧转动连接有L型臂2,工作台1上表面且与L型臂2相对应的位置固定连接有竖臂3,竖臂3和L型臂2的一端之间设有固定机构,L型臂2的外表面开设有第一滑槽4,第一滑槽4的内部安装有移动机构,移动机构的移动端固定安装有电动推杆5,电动推杆5的活动杆底端固定连接有安装板6,安装板6的下表面安装有打孔电机7,打孔电机7的输出轴固定安装有钻头8,安装板6的外表面套设安装有防护机构,工作台1的一侧设有与防护机构相连通的清理机构,工作台1的上表面分别开设有第二滑槽9和加工口10,第二滑槽9的内部安装有夹紧机构。1 to 5, it relates to a building board drilling equipment, including a
固定机构包括开设在L型臂2一端下表面的卡槽11和开设在竖臂3外表面一侧的收纳槽16,竖臂3外表面开设有安装槽12,安装槽12的内部安装有第一电机13,第一电机13的输出轴固定连接有第一螺杆14,第一螺杆14的外表面螺纹连接有卡块15,卡块15贯穿安装槽12的顶部并延伸至卡槽11的内部,第一电机13转动带动第一螺杆14转动,从而带动卡块15向下移动,从而使得卡块15移出卡槽11。The fixing mechanism includes a
移动机构包括贯穿第一滑槽4的第二螺杆17,第二螺杆17的外表面螺纹连接有T型块18,L型臂2的一侧安装有与第二螺杆17相连接的第二电机19,电动推杆5安装在T型块18的外表面,第二电机19转动带动第二螺杆17转动,从而带动T型块18左右移动,进而带动打孔电机7和钻头8左右移动。The moving mechanism includes a
防护机构包括套设在安装板6外表面支撑套20,且支撑套20的内壁与安装板6的外表面螺纹连接,支撑套20的下表面开设有环形槽21,环形槽21的内顶部固定连接有弹簧22,弹簧22的底端固定连接有透明防护罩23,透明防护罩23的外表面开设有通孔,钻头8向下移动时,透明防护罩23与建筑板材的上表面相接触,从而配合支撑套20将打孔处罩住,从而避免打孔时木屑飞溅,造成环境污染。The protective mechanism includes a
清理机构包括位于工作台1一侧的收集箱24,收集箱24的顶部安装有抽风机25,抽风机25的抽风端与收集箱24的顶部相连通,且抽风机25的抽风端位于收集箱24顶部的一端嵌入安装有过滤网,收集箱24的顶部一侧贯穿固定连通有抽吸管26,抽吸管26的一端贯穿透明防护罩23,抽风机25将收集箱24内部抽成负压,进而通过抽吸管26将透明防护罩23内的木屑吸进收集箱24中,从而实现透明防护罩23内的清洁,并且还可以对打孔电机7进行散热。The cleaning mechanism includes a
夹紧机构包括贯穿第二滑槽9的第三螺杆27,第三螺杆27的外表面对称螺纹连接有滑块28,滑块28的顶端固定连接有夹板29,工作台1的一侧安装有与第三螺杆27相连接的第三电机30,第三电机30转动带动第三螺杆27转动,从而带动两个滑块28和两个夹板29相对移动,进而将建筑板材固定住,避免打孔时出现移动的情况。The clamping mechanism includes a
工作台1的下表面四周固定连接有支撑腿31,工作台1的下表面且与加工口10相对应的位置滑动可拆卸连接有清理箱32,支撑腿31是为了便于放置设备,清理箱32是为了便于收集打孔后底部产生的木屑。A
在使用建筑板材打孔设备时,首先确定好打孔的位置,使得打孔位置处于加工口10的上方,进而启动第三电机30,第三电机30转动带动第三螺杆27转动,从而带动两个滑块28和两个夹板29相对移动,进而将建筑板材固定住,避免打孔时出现移动的情况,然后启动第二电机19,第二电机19转动带动第二螺杆17转动,从而带动T型块18移动,进而带动打孔电机7和钻头8移动到需要打孔的位置,进而启动电动推杆5和打孔电机7进行打孔,钻头8向下移动时,透明防护罩23与建筑板材的上表面相接触,从而配合支撑套20将打孔处罩住,从而避免打孔时木屑飞溅,造成环境污染,进而启动抽风机25,抽风机25将收集箱24内部抽成负压,进而通过抽吸管26将透明防护罩23内的木屑吸进收集箱24中,从而实现透明防护罩23内的清洁,并且还可以对打孔电机7进行散热,当需要对钻头8进行更换时,只需启动第一电机13,第一电机13转动带动第一螺杆14转动,从而带动卡块15向下移动,从而使得卡块15移出卡槽11,此时便能够转动L型臂2,进而使打孔电机7移动到空旷的位置进行钻头8更换,从而大大方便使用人员。When using the building board punching equipment, first determine the punching position so that the punching position is above the
以上所述仅为本实用新型的较佳实施例,并不用以限制本实用新型,凡在本实用新型的精神和原则之内,所作的任何修改、等同替换、改进等,均应包含在本实用新型的保护范围之内。The above are only preferred embodiments of the present invention, and are not intended to limit the present invention. Any modifications, equivalent replacements, improvements, etc. made within the spirit and principles of the present invention shall be included in the present invention. within the scope of protection of the utility model.
Claims (7)
Priority Applications (1)
| Application Number | Priority Date | Filing Date | Title |
|---|---|---|---|
| CN202123109262.6U CN216914167U (en) | 2021-12-13 | 2021-12-13 | Building board drilling equipment |
Applications Claiming Priority (1)
| Application Number | Priority Date | Filing Date | Title |
|---|---|---|---|
| CN202123109262.6U CN216914167U (en) | 2021-12-13 | 2021-12-13 | Building board drilling equipment |
Publications (1)
| Publication Number | Publication Date |
|---|---|
| CN216914167U true CN216914167U (en) | 2022-07-08 |
Family
ID=82252621
Family Applications (1)
| Application Number | Title | Priority Date | Filing Date |
|---|---|---|---|
| CN202123109262.6U Expired - Fee Related CN216914167U (en) | 2021-12-13 | 2021-12-13 | Building board drilling equipment |
Country Status (1)
| Country | Link |
|---|---|
| CN (1) | CN216914167U (en) |
Cited By (7)
| Publication number | Priority date | Publication date | Assignee | Title |
|---|---|---|---|---|
| CN115534027A (en) * | 2022-12-05 | 2022-12-30 | 泰州大自然家居有限公司 | Perforating device is used in processing of prefabricated cupboard |
| CN116277276A (en) * | 2023-01-13 | 2023-06-23 | 江苏新喜地新材料科技有限公司 | Dalle drilling equipment |
| CN116728522A (en) * | 2023-08-11 | 2023-09-12 | 靖江市新村建设工程有限公司 | Perforating device for building decorative panel installation |
| CN118254246A (en) * | 2024-05-07 | 2024-06-28 | 济宁昱琎建筑工程有限公司 | A recycling mechanism and construction wood processing and punching equipment |
| CN118493529A (en) * | 2024-07-17 | 2024-08-16 | 江苏昱硕建设有限公司 | Adjustable woodworking drilling machine |
| CN118528362A (en) * | 2023-12-13 | 2024-08-23 | 广州众山精密科技有限公司 | A cutting device for processing composite sheet tailings and a method of using the same |
| CN118663946A (en) * | 2024-07-26 | 2024-09-20 | 江苏科密机械制造有限公司 | Punching device for machining parts of precision mechanical equipment |
-
2021
- 2021-12-13 CN CN202123109262.6U patent/CN216914167U/en not_active Expired - Fee Related
Cited By (11)
| Publication number | Priority date | Publication date | Assignee | Title |
|---|---|---|---|---|
| CN115534027A (en) * | 2022-12-05 | 2022-12-30 | 泰州大自然家居有限公司 | Perforating device is used in processing of prefabricated cupboard |
| CN115534027B (en) * | 2022-12-05 | 2023-03-10 | 泰州大自然家居有限公司 | Perforating device is used in processing of prefabricated cupboard |
| CN116277276A (en) * | 2023-01-13 | 2023-06-23 | 江苏新喜地新材料科技有限公司 | Dalle drilling equipment |
| CN116277276B (en) * | 2023-01-13 | 2023-11-03 | 江苏新喜地新材料科技有限公司 | Dalle drilling equipment |
| CN116728522A (en) * | 2023-08-11 | 2023-09-12 | 靖江市新村建设工程有限公司 | Perforating device for building decorative panel installation |
| CN116728522B (en) * | 2023-08-11 | 2023-10-27 | 靖江市新村建设工程有限公司 | A drilling device for installing building decorative panels |
| CN118528362A (en) * | 2023-12-13 | 2024-08-23 | 广州众山精密科技有限公司 | A cutting device for processing composite sheet tailings and a method of using the same |
| CN118254246A (en) * | 2024-05-07 | 2024-06-28 | 济宁昱琎建筑工程有限公司 | A recycling mechanism and construction wood processing and punching equipment |
| CN118493529A (en) * | 2024-07-17 | 2024-08-16 | 江苏昱硕建设有限公司 | Adjustable woodworking drilling machine |
| CN118493529B (en) * | 2024-07-17 | 2024-09-27 | 江苏昱硕建设有限公司 | Adjustable woodworking drilling machine |
| CN118663946A (en) * | 2024-07-26 | 2024-09-20 | 江苏科密机械制造有限公司 | Punching device for machining parts of precision mechanical equipment |
Similar Documents
| Publication | Publication Date | Title |
|---|---|---|
| CN216914167U (en) | Building board drilling equipment | |
| CN214978066U (en) | A construction material cutting device | |
| CN110170680A (en) | Device for Deep Hole is used in a kind of processing of electronic lock | |
| CN210616790U (en) | Perforating device for wood working | |
| CN214724956U (en) | Core-board processing device with function is collected to saw-dust | |
| CN211104479U (en) | A punching machine for wood processing | |
| CN212287981U (en) | Furniture processing perforating device | |
| CN213257232U (en) | Plate cutting and punching device for furniture production | |
| CN211489718U (en) | A CNC horizontal double-axis drilling machine | |
| CN209868835U (en) | Drilling equipment is used in bamboo clapper processing | |
| CN208005750U (en) | A kind of paper cutter | |
| CN220279908U (en) | Furniture drilling equipment capable of controlling drilling depth | |
| CN218699433U (en) | Hole machining device with waste collecting function | |
| CN223186635U (en) | EPS foam board punching device | |
| CN211161997U (en) | Tool to lock processing is with bench drill operation platform that has and accomodate piece function | |
| CN213859629U (en) | Perforating device is used in paper products processing with limit structure | |
| CN221456241U (en) | Panel fluting device is used in panel processing | |
| CN222588975U (en) | A drilling machine with dust blowing | |
| CN219053662U (en) | Panel drilling equipment with synchronous positioning mechanism | |
| CN216096490U (en) | A kind of drilling machine for compressor balance block processing | |
| CN212551877U (en) | Special perforating device of decoration engineering board | |
| CN215145832U (en) | An automatic cutting device for sponge production and processing | |
| CN219820228U (en) | Wall puncher capable of preventing dust diffusion | |
| CN221089354U (en) | Small-size drilling equipment | |
| CN213674243U (en) | A circuit board cutting device |
Legal Events
| Date | Code | Title | Description |
|---|---|---|---|
| GR01 | Patent grant | ||
| GR01 | Patent grant | ||
| CF01 | Termination of patent right due to non-payment of annual fee | ||
| CF01 | Termination of patent right due to non-payment of annual fee |
Granted publication date: 20220708 |
