CN216642442U - A water pump for pump station with anti-clogging function - Google Patents
A water pump for pump station with anti-clogging function Download PDFInfo
- Publication number
- CN216642442U CN216642442U CN202220147341.1U CN202220147341U CN216642442U CN 216642442 U CN216642442 U CN 216642442U CN 202220147341 U CN202220147341 U CN 202220147341U CN 216642442 U CN216642442 U CN 216642442U
- Authority
- CN
- China
- Prior art keywords
- pipe
- connecting pipe
- water pump
- water
- pump
- Prior art date
- Legal status (The legal status is an assumption and is not a legal conclusion. Google has not performed a legal analysis and makes no representation as to the accuracy of the status listed.)
- Expired - Fee Related
Links
- XLYOFNOQVPJJNP-UHFFFAOYSA-N water Substances O XLYOFNOQVPJJNP-UHFFFAOYSA-N 0.000 title claims abstract description 53
- 230000008021 deposition Effects 0.000 claims abstract description 14
- 239000010865 sewage Substances 0.000 claims abstract description 14
- 238000010298 pulverizing process Methods 0.000 claims abstract description 8
- 238000007789 sealing Methods 0.000 claims description 36
- 230000008878 coupling Effects 0.000 claims description 3
- 238000010168 coupling process Methods 0.000 claims description 3
- 238000005859 coupling reaction Methods 0.000 claims description 3
- 239000012535 impurity Substances 0.000 abstract description 12
- 238000001914 filtration Methods 0.000 abstract description 6
- 230000005484 gravity Effects 0.000 abstract description 3
- 238000010586 diagram Methods 0.000 description 4
- 238000005516 engineering process Methods 0.000 description 2
- 238000012986 modification Methods 0.000 description 2
- 230000004048 modification Effects 0.000 description 2
- 230000009286 beneficial effect Effects 0.000 description 1
- 238000004891 communication Methods 0.000 description 1
- 238000009434 installation Methods 0.000 description 1
- 238000000034 method Methods 0.000 description 1
- 230000002035 prolonged effect Effects 0.000 description 1
- 230000001681 protective effect Effects 0.000 description 1
- 238000005086 pumping Methods 0.000 description 1
- 238000004062 sedimentation Methods 0.000 description 1
Images
Classifications
-
- Y—GENERAL TAGGING OF NEW TECHNOLOGICAL DEVELOPMENTS; GENERAL TAGGING OF CROSS-SECTIONAL TECHNOLOGIES SPANNING OVER SEVERAL SECTIONS OF THE IPC; TECHNICAL SUBJECTS COVERED BY FORMER USPC CROSS-REFERENCE ART COLLECTIONS [XRACs] AND DIGESTS
- Y02—TECHNOLOGIES OR APPLICATIONS FOR MITIGATION OR ADAPTATION AGAINST CLIMATE CHANGE
- Y02A—TECHNOLOGIES FOR ADAPTATION TO CLIMATE CHANGE
- Y02A20/00—Water conservation; Efficient water supply; Efficient water use
- Y02A20/20—Controlling water pollution; Waste water treatment
Landscapes
- Structures Of Non-Positive Displacement Pumps (AREA)
Abstract
本实用新型涉及水泵防堵技术领域,具体公开了一种具有防堵塞功能的泵站用水泵,包括水泵本体和防堵过滤机构;所述水泵本体上设置有进水管,防堵过滤机构包括安装在进水管上的U型过滤管,U型过滤管与水源管道连通;所述U型过滤管包括左侧连接管、右侧连接管和弧形沉积管,弧形沉积管的底端连通带有控制阀门的导污管,右侧连接管与进水管连接,右侧连接管的上部安装有防堵滤网,防堵滤网的底部安装有粉碎刀片。在该水泵运行时,可以通过U形过滤管对水源中的杂质进行过滤,通过粉碎刀片对较大的杂质进行粉碎工作,经由防堵滤网滤出的杂质在重力的作用下沉积至导污管内,对其起到防堵塞、防护的作用。
The utility model relates to the technical field of anti-clogging of water pumps, and specifically discloses a water pump for a pump station with an anti-clogging function, comprising a water pump body and an anti-clogging filtering mechanism; The U-shaped filter pipe on the water inlet pipe is connected with the water source pipeline; the U-shaped filter pipe includes a left connecting pipe, a right connecting pipe and an arc-shaped deposition pipe, and the bottom end of the arc-shaped deposition pipe is connected with a belt There is a sewage guide pipe with a control valve, the right connecting pipe is connected with the water inlet pipe, the upper part of the right connecting pipe is equipped with an anti-blocking filter screen, and the bottom of the anti-blocking filter screen is equipped with a crushing blade. When the water pump is running, the impurities in the water source can be filtered through the U-shaped filter pipe, the larger impurities can be pulverized by the pulverizing blade, and the impurities filtered out through the anti-blocking filter screen are deposited under the action of gravity to guide the pollution. In the tube, it plays the role of anti-clogging and protection.
Description
技术领域technical field
本实用新型涉及水泵防堵技术领域,具体为一种具有防堵塞功能的泵站用水泵。The utility model relates to the technical field of anti-clogging of water pumps, in particular to a water pump for pumping stations with an anti-clogging function.
背景技术Background technique
由于泵站用水泵在实际应用时,水泵的部分组件会一直处于水中,导致水中杂物进入水泵后会影响水泵的正常运转,导致水泵的使用寿命较短,泵站成本较高。因此,亟需一种具有防堵塞功能的泵站用水泵。When the pump used in the pump station is actually used, some components of the pump will always be in the water, which will affect the normal operation of the pump after the sundries in the water enter the pump, resulting in a short service life of the pump and a high cost of the pump station. Therefore, there is an urgent need for a pump for a pump station with an anti-clogging function.
实用新型内容Utility model content
本实用新型的目的在于提供一种具有防堵塞功能的泵站用水泵,以解决上述背景技术中提出的问题。The purpose of the present invention is to provide a water pump for a pump station with an anti-clogging function, so as to solve the problems raised in the above-mentioned background technology.
为实现上述目的,本实用新型提供如下技术方案:一种具有防堵塞功能的泵站用水泵,包括水泵本体和防堵过滤机构;所述水泵本体上设置有进水管,防堵过滤机构包括安装在进水管上的U型过滤管,U型过滤管与水源管道连通;所述U型过滤管包括左侧连接管、右侧连接管和弧形沉积管,左侧连接管、右侧连接管的底端与弧形沉积管的顶端连接,弧形沉积管的底端连通带有控制阀门的导污管,导污管连通集污盒;In order to achieve the above purpose, the present utility model provides the following technical solutions: a water pump for a pump station with an anti-clogging function, comprising a water pump body and an anti-clogging filtering mechanism; the water pump body is provided with a water inlet pipe, and the anti-clogging filtering mechanism includes an installation The U-shaped filter pipe on the water inlet pipe is connected with the water source pipe; the U-shaped filter pipe includes a left connecting pipe, a right connecting pipe and an arc-shaped sedimentation pipe, and the left connecting pipe and the right connecting pipe The bottom end of the arc deposition tube is connected with the top end of the arc deposition tube, the bottom end of the arc deposition tube is connected with a sewage guide pipe with a control valve, and the sewage guide pipe is connected with the sewage collection box;
所述右侧连接管与进水管连接,右侧连接管的上部安装有防堵滤网,防堵滤网的底部安装有粉碎刀片,粉碎刀片安装在旋转轴上,旋转轴通过联轴器连接有旋转电机;所述左侧连接管、右侧连接管远离弧形沉积管的一端均设置有水平连接管,旋转轴的顶端贯穿水平连接管设置,旋转电机安装在水平连接管上。The right connecting pipe is connected with the water inlet pipe, an anti-blocking filter screen is installed on the upper part of the right connecting pipe, a pulverizing blade is installed at the bottom of the anti-blocking filter screen, and the pulverizing blade is installed on the rotating shaft, and the rotating shaft is connected by a coupling There is a rotating motor; the left connecting pipe and the right connecting pipe are provided with a horizontal connecting pipe at one end away from the arc-shaped deposition pipe, the top of the rotating shaft is arranged through the horizontal connecting pipe, and the rotating motor is installed on the horizontal connecting pipe.
优选的,所述水平连接管的顶端设置有电机固定座,旋转电机通过法兰与螺栓的配合固定在电机固定座上。Preferably, the top end of the horizontal connecting pipe is provided with a motor fixing seat, and the rotating motor is fixed on the motor fixing seat through the cooperation of the flange and the bolt.
优选的,所述水平连接管的端部安装有用于外接管道的管道连接件,并通过管道连接件与定位连接头连接,定位连接头设置在进水管、水源管道上。Preferably, the end of the horizontal connecting pipe is provided with a pipe connecting piece for externally connecting the pipe, and is connected with a positioning connecting head through the pipe connecting piece, and the positioning connecting head is arranged on the water inlet pipe and the water source pipe.
优选的,所述管道连接件包括与定位连接头配合使用的密封连接头,密封连接头与定位连接头之间设置有密封垫片。Preferably, the pipeline connector includes a sealing connector used in cooperation with the positioning connector, and a sealing gasket is provided between the sealing connector and the positioning connector.
优选的,所述密封连接头、定位连接头之间通过锁紧螺栓和锁紧螺母连接。Preferably, the sealing connector and the positioning connector are connected by locking bolts and locking nuts.
优选的,所述密封连接头的外环上固定连接有密封环,密封环嵌套在定位连接头的外壁上,密封环的内环上设置有密封圈。Preferably, a sealing ring is fixedly connected to the outer ring of the sealing connection head, the sealing ring is nested on the outer wall of the positioning connection head, and a sealing ring is arranged on the inner ring of the sealing ring.
与现有技术相比,本实用新型的有益效果是:Compared with the prior art, the beneficial effects of the present utility model are:
1、本实用新型提供的一种具有防堵塞功能的泵站用水泵,在该水泵运行时,可以通过U形过滤管对水源中的杂质进行过滤,通过粉碎刀片对较大的杂质进行粉碎工作,经由防堵滤网滤出的杂质在重力的作用下沉积至导污管内,操作人员可以定期打开导污管上的阀门,使得杂质收集至集污盒内,对其进行定期清理,避免杂质进入水泵,对其起到防堵塞、防护的作用。1. The utility model provides a water pump for a pump station with an anti-clogging function. When the water pump is running, the impurities in the water source can be filtered through the U-shaped filter pipe, and the larger impurities can be pulverized by the pulverizing blade. , the impurities filtered out by the anti-blocking filter are deposited into the sewage pipe under the action of gravity. The operator can open the valve on the sewage pipe regularly, so that the impurities are collected in the sewage collection box, and they are cleaned regularly to avoid impurities. Entering the water pump, it plays the role of anti-clogging and protection.
2、本实用新型提供的一种具有防堵塞功能的泵站用水泵,该防堵过滤机构可拆卸式的安装在水泵本体的进水管上,使其能够便于清理、维护,延长其使用寿命。2. The utility model provides a pump with anti-clogging function for a pump station. The anti-clogging filtering mechanism is detachably installed on the water inlet pipe of the pump body, so that it can be easily cleaned and maintained, and its service life can be prolonged.
附图说明Description of drawings
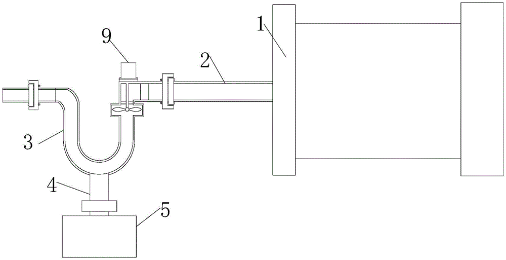
图1为本实用新型的整体结构示意图;Fig. 1 is the overall structure schematic diagram of the present utility model;
图2为本实用新型的防堵过滤机构的具体结构示意图;Fig. 2 is the concrete structure schematic diagram of the anti-blocking filter mechanism of the present invention;
图3为本实用新型的局部具体结构示意图;Fig. 3 is the partial concrete structure schematic diagram of the utility model;
图4为本实用新型的密封连接头与定位连接头的连接结构示意图。FIG. 4 is a schematic diagram of the connection structure of the sealing connector and the positioning connector of the present invention.
图中:1、水泵本体;2、进水管;3、U型过滤管;31、左侧连接管;32、右侧连接管;33、弧形沉积管;4、导污管;5、集污盒;6、防堵滤网;7、粉碎刀片;8、旋转轴;9、旋转电机;10、水平连接管;11、电机固定座;12、法兰;13、定位连接头;14、密封连接头;15、密封垫片;16、密封环;17、密封圈;18、水源管道。In the figure: 1. Water pump body; 2. Water inlet pipe; 3. U-shaped filter pipe; 31. Left connecting pipe; 32. Right connecting pipe; 33. Arc deposition pipe; Dirt box; 6. Anti-blocking filter; 7. Crushing blade; 8. Rotating shaft; 9. Rotating motor; 10. Horizontal connecting pipe; 11. Motor fixing seat; 12. Flange; 13. Positioning connector; 14. 15. Sealing gasket; 16. Sealing ring; 17. Sealing ring; 18. Water source pipeline.
具体实施方式Detailed ways
下面将结合本实用新型实施例中的附图,对本实用新型实施例中的技术方案进行清楚、完整地描述,显然,所描述的实施例仅仅是本实用新型一部分实施例,而不是全部的实施例。基于本实用新型中的实施例,本领域普通技术人员在没有做出创造性劳动前提下所获得的所有其他实施例,都属于本实用新型保护的范围。The technical solutions in the embodiments of the present utility model will be clearly and completely described below with reference to the accompanying drawings in the embodiments of the present utility model. Obviously, the described embodiments are only a part of the embodiments of the present utility model, rather than all the implementations. example. Based on the embodiments of the present invention, all other embodiments obtained by those of ordinary skill in the art without creative work fall within the protection scope of the present invention.
在本发明的描述中,需要说明的是,术语“竖直”、“上”、“下”、“水平”等指示的方位或位置关系为基于附图所示的方位或位置关系,仅是为了便于描述本发明和简化描述,而不是指示或暗示所指的装置或元件必须具有特定的方位、以特定的方位构造和操作,因此不能理解为对本发明的限制。In the description of the present invention, it should be noted that the orientations or positional relationships indicated by the terms "vertical", "upper", "lower", "horizontal", etc. are based on the orientations or positional relationships shown in the drawings, only In order to facilitate the description of the present invention and simplify the description, it is not indicated or implied that the indicated device or element must have a particular orientation, be constructed and operated in a particular orientation, and therefore should not be construed as limiting the present invention.
在本发明的描述中,还需要说明的是,除非另有明确的规定和限定,术语“设置”、“安装”、“相连”、“连接”应做广义理解,例如,可以是固定连接,也可以是可拆卸连接,或一体地连接;可以是机械连接,也可以是电连接;可以是直接相连,也可以通过中间媒介间接相连,可以是两个元件内部的连通。对于本领域的普通技术人员而言,可以根据具体情况理解上述术语在本发明中的具体含义。In the description of the present invention, it should also be noted that, unless otherwise expressly specified and limited, the terms "arranged", "installed", "connected" and "connected" should be understood in a broad sense, for example, it may be a fixed connection, It can also be a detachable connection, or an integral connection; it can be a mechanical connection or an electrical connection; it can be a direct connection, or an indirect connection through an intermediate medium, or the internal communication between the two components. For those of ordinary skill in the art, the specific meanings of the above terms in the present invention can be understood according to specific situations.
请参阅图1-4,本实用新型提供一种技术方案:一种具有防堵塞功能的泵站用水泵,包括水泵本体1和防堵过滤机构;水泵本体1上设置有进水管2,防堵过滤机构包括安装在进水管2上的U型过滤管3,U型过滤管3与水源管道18连通;U型过滤管3包括左侧连接管31、右侧连接管32和弧形沉积管33,左侧连接管31、右侧连接管32的底端与弧形沉积管33的顶端连接,弧形沉积管33的底端连通带有控制阀门的导污管4,导污管4连通集污盒5;1-4, the present utility model provides a technical solution: a water pump for a pump station with an anti-clogging function, comprising a water pump body 1 and an anti-clogging filtering mechanism; The filtering mechanism includes a
右侧连接管32与进水管2连接,右侧连接管32的上部安装有防堵滤网6,防堵滤网6的底部安装有粉碎刀片7,粉碎刀片7安装在旋转轴8上,旋转轴8通过联轴器连接有旋转电机9;左侧连接管31、右侧连接管32远离弧形沉积管33的一端均设置有水平连接管10,旋转轴8的顶端贯穿水平连接管10设置,旋转电机9安装在水平连接管10上。The right connecting
进一步的,水平连接管10的顶端设置有电机固定座11,旋转电机9通过法兰12与螺栓的配合固定在电机固定座上11。Further, the top end of the horizontal connecting
进一步的,水平连接管10的端部安装有用于外接管道的管道连接件,并通过管道连接件与定位连接头13连接,定位连接头13设置在进水管2、水源管道18上。Further, the end of the horizontal connecting
进一步的,管道连接件包括与定位连接头13配合使用的密封连接头14,密封连接头14与定位连接头13之间设置有密封垫片15。Further, the pipeline connector includes a
进一步的,密封连接头14、定位连接头13之间通过锁紧螺栓和锁紧螺母连接。Further, the sealing
进一步的,密封连接头14的外环上固定连接有密封环16,密封环16嵌套在定位连接头13的外壁上,密封环16的内环上设置有密封圈17。Further, a sealing
工作原理:先将U型过滤管3放置在水源管道18与进水管2之间,如何将密封连接头14与对应的定位连接头13对齐,再将密封垫片15放置在密封连接头14、定位连接头13之间,使得密封环16嵌套在定位连接头13的圆周外侧,再用锁紧螺栓和锁紧螺母将密封连接头14、定位连接头13连接固定。Working principle: first place the
在该水泵本体1实际运行时,可以通过U型过滤管3对水源中的杂质进行过滤,同时,接通旋转电机9的电源,使得旋转电机9通过旋转轴8带动粉碎刀片7同步旋转,进而通过粉碎刀片7对较大的杂质进行粉碎工作,经由防堵滤网6滤出的杂质在重力的作用下沉积至导污管4内,操作人员可以定期打开导污管4上的阀门,使得杂质沉积至集污盒5内,进而对水泵本体1起到防堵塞、防护的作用。During the actual operation of the water pump body 1, the impurities in the water source can be filtered through the
值得注意的是:整个装置通过控制器对其实现控制,由于控制器为常用设备,属于现有成熟技术,在此不再赘述其电性连接关系以及具体的电路结构。It is worth noting that the entire device is controlled by a controller. Since the controller is a common device and belongs to the existing mature technology, its electrical connection relationship and specific circuit structure will not be repeated here.
尽管已经示出和描述了本实用新型的实施例,对于本领域的普通技术人员而言,可以理解在不脱离本实用新型的原理和精神的情况下可以对这些实施例进行多种变化、修改、替换和变型,本实用新型的范围由所附权利要求及其等同物限定。Although the embodiments of the present invention have been shown and described, it will be understood by those skilled in the art that various changes and modifications can be made to these embodiments without departing from the principles and spirit of the present invention , alternatives and modifications, the scope of the present invention is defined by the appended claims and their equivalents.
Claims (6)
Priority Applications (1)
| Application Number | Priority Date | Filing Date | Title |
|---|---|---|---|
| CN202220147341.1U CN216642442U (en) | 2022-01-19 | 2022-01-19 | A water pump for pump station with anti-clogging function |
Applications Claiming Priority (1)
| Application Number | Priority Date | Filing Date | Title |
|---|---|---|---|
| CN202220147341.1U CN216642442U (en) | 2022-01-19 | 2022-01-19 | A water pump for pump station with anti-clogging function |
Publications (1)
| Publication Number | Publication Date |
|---|---|
| CN216642442U true CN216642442U (en) | 2022-05-31 |
Family
ID=81729217
Family Applications (1)
| Application Number | Title | Priority Date | Filing Date |
|---|---|---|---|
| CN202220147341.1U Expired - Fee Related CN216642442U (en) | 2022-01-19 | 2022-01-19 | A water pump for pump station with anti-clogging function |
Country Status (1)
| Country | Link |
|---|---|
| CN (1) | CN216642442U (en) |
Cited By (2)
| Publication number | Priority date | Publication date | Assignee | Title |
|---|---|---|---|---|
| CN114992118A (en) * | 2022-07-20 | 2022-09-02 | 安徽省农业科学院农业工程研究所 | A energy-conserving water pump for agricultural intelligence water-saving irrigation is planted |
| CN115043502A (en) * | 2022-06-29 | 2022-09-13 | 深圳瑞新达新能源科技有限公司 | Sewage treatment device applying microbial carrier |
-
2022
- 2022-01-19 CN CN202220147341.1U patent/CN216642442U/en not_active Expired - Fee Related
Cited By (2)
| Publication number | Priority date | Publication date | Assignee | Title |
|---|---|---|---|---|
| CN115043502A (en) * | 2022-06-29 | 2022-09-13 | 深圳瑞新达新能源科技有限公司 | Sewage treatment device applying microbial carrier |
| CN114992118A (en) * | 2022-07-20 | 2022-09-02 | 安徽省农业科学院农业工程研究所 | A energy-conserving water pump for agricultural intelligence water-saving irrigation is planted |
Similar Documents
| Publication | Publication Date | Title |
|---|---|---|
| CN216642442U (en) | A water pump for pump station with anti-clogging function | |
| CN209568403U (en) | A road vacuum cleaner | |
| CN110639916A (en) | A heliostat mirror cleaning system | |
| CN213572161U (en) | Integration pump station convenient to desilting | |
| CN2488576Y (en) | Fully automatic cleaning filtering device | |
| CN219764867U (en) | Municipal works construction dust device | |
| CN216108920U (en) | Drain pipe filter equipment for municipal works | |
| CN217000050U (en) | Municipal sewage pipeline with early warning function | |
| CN216136765U (en) | Dirt conveying device matched with automatic dirt cleaning machine at water inlet of radial flow type hydropower station | |
| CN212369679U (en) | Self-cleaning Y-shaped filter | |
| CN213761002U (en) | Waste gas treatment conveying equipment for environmental protection equipment | |
| CN211039070U (en) | Energy-saving pump for steel plant | |
| CN212360168U (en) | Anti-blocking single-screw pump | |
| CN221709158U (en) | Outdoor preassembled transformer substation | |
| CN221867530U (en) | Filter screen cleaning device for sewage treatment | |
| CN216320279U (en) | Filter equipment for municipal administration water supply and drainage | |
| CN206693171U (en) | A kind of new power station sewage blocking device | |
| CN215939456U (en) | Dust collector for municipal works | |
| CN221296354U (en) | Magnetic scale and dirt remover | |
| CN220747107U (en) | Water conservancy design is with high efficiency water storage device | |
| CN220487846U (en) | Sewage lifting pump | |
| CN220779185U (en) | Filter screen anti-blocking device for ship | |
| CN222479857U (en) | Water supply pipeline with impurity filtering capability | |
| CN221896873U (en) | A circulating water pump device for pickling and passivation of stainless steel | |
| CN221086683U (en) | Dust collector is used in manganese oxide workshop |
Legal Events
| Date | Code | Title | Description |
|---|---|---|---|
| GR01 | Patent grant | ||
| GR01 | Patent grant | ||
| CF01 | Termination of patent right due to non-payment of annual fee |
Granted publication date: 20220531 |
|
| CF01 | Termination of patent right due to non-payment of annual fee |
