CN216604762U - Ammonia water flow adjusting device of cement kiln SCR denitration device - Google Patents
Ammonia water flow adjusting device of cement kiln SCR denitration device Download PDFInfo
- Publication number
- CN216604762U CN216604762U CN202123401618.3U CN202123401618U CN216604762U CN 216604762 U CN216604762 U CN 216604762U CN 202123401618 U CN202123401618 U CN 202123401618U CN 216604762 U CN216604762 U CN 216604762U
- Authority
- CN
- China
- Prior art keywords
- ammonia water
- ammonia
- pipeline
- water flow
- cement kiln
- Prior art date
- Legal status (The legal status is an assumption and is not a legal conclusion. Google has not performed a legal analysis and makes no representation as to the accuracy of the status listed.)
- Active
Links
- VHUUQVKOLVNVRT-UHFFFAOYSA-N Ammonium hydroxide Chemical compound [NH4+].[OH-] VHUUQVKOLVNVRT-UHFFFAOYSA-N 0.000 title claims abstract description 79
- 235000011114 ammonium hydroxide Nutrition 0.000 title claims abstract description 79
- 239000004568 cement Substances 0.000 title claims abstract description 16
- QGZKDVFQNNGYKY-UHFFFAOYSA-N Ammonia Chemical compound N QGZKDVFQNNGYKY-UHFFFAOYSA-N 0.000 claims abstract description 73
- 230000001105 regulatory effect Effects 0.000 claims abstract description 32
- 229910021529 ammonia Inorganic materials 0.000 claims abstract description 28
- XLYOFNOQVPJJNP-UHFFFAOYSA-N water Substances O XLYOFNOQVPJJNP-UHFFFAOYSA-N 0.000 claims abstract description 23
- 238000005507 spraying Methods 0.000 claims abstract description 16
- 239000007921 spray Substances 0.000 claims description 7
- 238000002347 injection Methods 0.000 claims description 4
- 239000007924 injection Substances 0.000 claims description 4
- UGFAIRIUMAVXCW-UHFFFAOYSA-N Carbon monoxide Chemical compound [O+]#[C-] UGFAIRIUMAVXCW-UHFFFAOYSA-N 0.000 abstract description 11
- 239000003546 flue gas Substances 0.000 abstract description 11
- 230000000694 effects Effects 0.000 abstract description 6
- 238000000034 method Methods 0.000 abstract description 2
- MWUXSHHQAYIFBG-UHFFFAOYSA-N nitrogen oxide Inorganic materials O=[N] MWUXSHHQAYIFBG-UHFFFAOYSA-N 0.000 description 3
- 238000005406 washing Methods 0.000 description 2
- 239000003054 catalyst Substances 0.000 description 1
- 238000006243 chemical reaction Methods 0.000 description 1
- 238000010276 construction Methods 0.000 description 1
- 230000001276 controlling effect Effects 0.000 description 1
- 230000007547 defect Effects 0.000 description 1
- 238000005516 engineering process Methods 0.000 description 1
- 239000007788 liquid Substances 0.000 description 1
- 238000006479 redox reaction Methods 0.000 description 1
- 239000000243 solution Substances 0.000 description 1
Images
Landscapes
- Treating Waste Gases (AREA)
Abstract
The utility model discloses an ammonia water flow regulating device of cement kiln SCR denitration equipment, which comprises an ammonia water tank, an ammonia water pump, an ammonia water flow regulating mechanism, a flue and an ammonia spraying mechanism arranged in the flue, wherein the ammonia water flow regulating mechanism comprises a feeding pipeline, a return pipeline and a regulating pipeline, the water inlet end and the water outlet end of the feeding pipeline are respectively connected with the ammonia water tank and the flue, the ammonia water pump is arranged at the rear end of the feeding pipeline, and the water inlet end and the water outlet end of the return pipeline are respectively connected with the middle part of the feeding pipeline and the ammonia water tank. The method is simple to operate, can realize stable ammonia water flow adjustment, enables the flow and the pressure of the ammonia water to meet the requirements, and improves the mixing effect between the flue gas and the ammonia water.
Description
Technical Field
The utility model belongs to the technical field of SCR denitration ammonia injection, and particularly relates to an ammonia water flow adjusting device of cement kiln SCR denitration equipment.
Background
At present, a centrifugal pump is used for generating power, ammonia water is sprayed into a flue through a spray gun to be fully mixed with flue gas, and the mixed flue gas enters a denitration reactor and meets a catalyst to generate an oxidation-reduction reaction, so that the aim of removing nitrogen oxides in the flue gas is fulfilled. This technology can greatly improve denitration efficiency, but the ubiquitous problem of the aqueous ammonia flow adjusting device of using at present is when adjusting the aqueous ammonia flow, generally through the frequency of adjusting the inverter pump for the aqueous ammonia flow meets the requirements, but the operation can cause the change of aqueous ammonia pressure like this, and flow and pressure are difficult all in the design range simultaneously. In view of this, it is necessary to research an ammonia water flow adjusting device of a cement kiln SCR denitration device.
Disclosure of Invention
In order to overcome the defects in the prior art, the utility model aims to provide an ammonia water flow regulating device of cement kiln SCR denitration equipment, which can realize stable ammonia water flow regulation, ensure that the flow and the pressure of ammonia water meet the requirements, and improve the mixing effect between flue gas and ammonia water.
In order to achieve the above purpose, the utility model adopts the following technical scheme:
the utility model provides a cement kiln SCR denitration equipment's aqueous ammonia flow regulating device, including the aqueous ammonia jar, the ammonia pump, aqueous ammonia flow regulating mechanism, the flue with set up in the inside ammonia mechanism that spouts of flue, aqueous ammonia flow regulating mechanism includes the feeding line, return line and adjusting line, feeding line's the end of intaking and play water end connect aqueous ammonia jar and flue respectively, the ammonia pump sets up in feeding line's rear end, feeding line's middle part and aqueous ammonia jar are connected respectively to feeding line's the end of intaking and play water end of return line, be provided with the relief valve on the return line, feeding line's middle part and return line's middle part are connected respectively to adjusting line's the end of intaking and play water end, the adjusting line is provided with first governing valve on the way.
Preferably, the front end of the feeding pipeline is provided with a second regulating valve, a flowmeter and a pressure transmitter, and the flow of the ammonia water can be regulated through the second regulating valve.
Preferably, the ammonia spraying mechanism comprises a plurality of first baffles, a plurality of second baffles and an ammonia spraying pipe, the first baffles are fixed inside the flue at equal intervals, the second baffles are arranged between every two adjacent first baffles, and the ammonia spraying pipe is arranged on the top wall of the flue between the first baffles and the second baffles.
Preferably, the lower part of aforementioned first baffle and the upper portion of second baffle all are provided with the small opening of a plurality of evenly distributed, and the flue gas can contact the aqueous ammonia when passing through the small opening to improve the mixing effect.
Preferably, the bottom of aforementioned first baffle and the bottom of second baffle all are provided with a plurality of openings, and the aqueous ammonia that falls to the flue bottom can flow to denitration reactor in, avoids the aqueous ammonia to persist in the flue.
Preferably, spray guns are arranged on two sides and the bottom of the ammonia spraying pipe, and the water outlet end of the feeding pipeline is connected with the ammonia spraying pipe through a branch pipe.
Preferably, the back end of the feeding pipeline is also provided with a standby pump, and the standby pump and the ammonia water pump are arranged in parallel.
Preferably, the feeding pipelines on the two sides of the ammonia pump and the backup pump are both connected with emptying branch pipes, the emptying branch pipes are provided with electromagnetic valves, and washing liquor can be discharged through the emptying branch pipes when the pipelines are washed in the early stage.
The utility model has the advantages that: the ammonia water flow control device is simple in structure and convenient to use, can realize stable ammonia water flow regulation, can obtain stable ammonia water pressure by adjusting the frequency of the ammonia water pump, and can obtain constant flow under the condition of unchanged pressure by controlling the opening degrees of the first regulating valve and the second regulating valve, so that the flow and the pressure of ammonia water can meet the requirements; the ammonia water is sprayed to the upper parts of the first baffle and the second baffle through the spray gun, the ammonia water flows downwards on the surfaces of the first baffle and the second baffle, a water curtain can be formed at the position of the leakage hole, and the flue gas is contacted with the ammonia water curtain when passing through the leakage hole, so that the mixing effect between the flue gas and the ammonia water can be improved, and the denitration efficiency is improved; through the design of first baffle and second baffle, the mixing time between multiplicable flue gas and the aqueous ammonia to improve the mixed effect.
Drawings
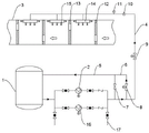
FIG. 1 is a schematic structural view of the present invention;
FIG. 2 is a schematic view of the construction of a first baffle plate according to the present invention;
fig. 3 is a schematic structural view of a second baffle plate in the present invention.
The meaning of the reference symbols in the figures: 1. ammonia tank, 2, ammonia pump, 3, flue, 4, feeding pipeline, 5, return line, 6, regulating pipeline, 7, relief valve, 8, first governing valve, 9, second governing valve, 10, flowmeter, 11, pressure transmitter, 12, first baffle, 12.1, small opening, 12.2, opening, 13, second baffle, 14, spout ammonia pipe, 15, spray gun, 16, backup pump, 17, emptying branch pipe.
Detailed Description
The utility model is described in detail below with reference to the figures and the embodiments.
Referring to fig. 1-3, the ammonia water flow regulating device of the cement kiln SCR denitration device comprises an ammonia water tank 1, an ammonia water pump 2, an ammonia water flow regulating mechanism, a flue 3 and an ammonia spraying mechanism arranged inside the flue 3.
The ammonia water flow regulating mechanism comprises a feeding pipeline 4, a return pipeline 5 and a regulating pipeline 6, wherein the water inlet end and the water outlet end of the feeding pipeline 4 are respectively connected with an ammonia water tank 1 and a flue 3, an ammonia water pump 2 is arranged at the rear end of the feeding pipeline 4, the water inlet end and the water outlet end of the return pipeline 5 are respectively connected with the middle part of the feeding pipeline 4 and the ammonia water tank 1, a safety valve 7 is arranged on the return pipeline 5, the water inlet end and the water outlet end of the regulating pipeline 6 are respectively connected with the middle part of the feeding pipeline 4 and the middle part of the return pipeline 5, and a first regulating valve 8 is arranged on the regulating pipeline 6.
The front end of the feeding pipeline 4 is provided with a second regulating valve 9, a flowmeter 10 and a pressure transmitter 11, and the flow of the ammonia water can be regulated through the second regulating valve 9.
The ammonia spraying mechanism comprises a plurality of first baffles 12, second baffles 13 and an ammonia spraying pipe 14, spray guns 15 are arranged on two sides and at the bottom of the ammonia spraying pipe 14, and the water outlet end of the feeding pipeline 4 is connected with the ammonia spraying pipe 14 through a branch pipe. The first baffles 12 are fixed inside the flue 3 at equal intervals, the second baffles 13 are arranged between two adjacent first baffles 12, and the ammonia spraying pipe 14 is arranged on the top wall of the flue 3 between the first baffles 12 and the second baffles 13. The lower part of first baffle 12 and the upper portion of second baffle 13 all are provided with a plurality of evenly distributed's small opening 12.1, and the flue gas can contact the aqueous ammonia when passing through small opening 12.1 to improve the mixed effect. The bottom of first baffle 12 and the bottom of second baffle 13 all are provided with a plurality of openings 12.2, and the aqueous ammonia that falls to 3 bottoms of flue can flow to denitration reactor in, avoids the aqueous ammonia to stay in flue 3.
The back end of the feeding pipeline 4 is also provided with a standby pump 16, and the standby pump 16 and the ammonia pump 2 are arranged in parallel. The feeding pipelines 4 on the two sides of the ammonia pump 2 and the standby pump 16 are both connected with an emptying branch pipe 17, the emptying branch pipe 17 is provided with an electromagnetic valve, and when the pipeline is flushed in the early stage, the washing liquid can be discharged through the emptying branch pipe 17.
In order to better illustrate the utility model, the working process thereof is specifically described below:
adjusting the frequency of the ammonia water pump 2 to obtain a stable ammonia water pressure, adjusting the opening degree of the first adjusting valve 8 and the second adjusting valve 9 to obtain a constant flow under the condition of unchanged pressure, starting to convey ammonia water, spraying the ammonia water into the flue 3 through the spray gun 15, fully mixing with flue gas, and allowing the ammonia water to enter the denitration reactor for reaction.
The foregoing illustrates and describes the principles, general features, and advantages of the present invention. It should be understood by those skilled in the art that the above embodiments do not limit the present invention in any way, and all technical solutions obtained by using equivalent alternatives or equivalent variations fall within the scope of the present invention.
Claims (8)
1. An ammonia water flow adjusting device of cement kiln SCR denitration equipment comprises an ammonia water tank (1), an ammonia water pump (2), an ammonia water flow adjusting mechanism, a flue (3) and an ammonia spraying mechanism arranged inside the flue (3), and is characterized in that the ammonia water flow adjusting mechanism comprises a feeding pipeline (4), a return pipeline (5) and an adjusting pipeline (6), wherein the water inlet end and the water outlet end of the feeding pipeline (4) are respectively connected with the ammonia water tank (1) and the flue (3), the ammonia water pump (2) is arranged at the rear end of the feeding pipeline (4), the water inlet end and the water outlet end of the return pipeline (5) are respectively connected with the middle part of the feeding pipeline (4) and the ammonia water tank (1), a safety valve (7) is arranged on the return pipeline (5), and the water inlet end and the water outlet end of the adjusting pipeline (6) are respectively connected with the middle part of the feeding pipeline (4) and the middle part of the return pipeline (5), the adjusting pipeline (6) is provided with a first adjusting valve (8).
2. The ammonia water flow regulating device of the cement kiln SCR denitration device as claimed in claim 1, wherein the front end of the feeding pipeline (4) is provided with a second regulating valve (9), a flowmeter (10) and a pressure transmitter (11).
3. The ammonia water flow regulating device of the cement kiln SCR denitration device according to claim 1, wherein the ammonia injection mechanism comprises a plurality of first baffles (12), a plurality of second baffles (13) and an ammonia injection pipe (14), the plurality of first baffles (12) are fixed inside the flue (3) at equal intervals, the second baffles (13) are arranged between two adjacent first baffles (12), and the ammonia injection pipe (14) is arranged on the top wall of the flue (3) between the first baffles (12) and the second baffles (13).
4. The ammonia water flow regulating device of the cement kiln SCR denitration device according to claim 3, wherein a plurality of uniformly distributed leakage holes (12.1) are formed in the lower portion of the first baffle plate (12) and the upper portion of the second baffle plate (13).
5. The ammonia water flow regulating device of the cement kiln SCR denitration device according to claim 4, wherein the bottom of the first baffle plate (12) and the bottom of the second baffle plate (13) are provided with a plurality of through holes (12.2).
6. The ammonia water flow regulating device of the cement kiln SCR denitration device according to claim 3, wherein spray guns (15) are arranged on both sides and at the bottom of the ammonia spraying pipe (14), and the water outlet end of the feeding pipeline (4) is connected with the ammonia spraying pipe (14) through a branch pipe.
7. The ammonia water flow regulating device of the cement kiln SCR denitration device according to claim 1, wherein a backup pump (16) is further arranged at the rear end of the feeding pipeline (4), and the backup pump (16) and the ammonia water pump (2) are arranged in parallel.
8. The ammonia water flow regulating device of the cement kiln SCR denitration device according to claim 7, wherein the feeding pipelines (4) at two sides of the ammonia water pump (2) and the backup pump (16) are both connected with a vent branch pipe (17), and the vent branch pipe (17) is provided with an electromagnetic valve.
Priority Applications (1)
| Application Number | Priority Date | Filing Date | Title |
|---|---|---|---|
| CN202123401618.3U CN216604762U (en) | 2021-12-31 | 2021-12-31 | Ammonia water flow adjusting device of cement kiln SCR denitration device |
Applications Claiming Priority (1)
| Application Number | Priority Date | Filing Date | Title |
|---|---|---|---|
| CN202123401618.3U CN216604762U (en) | 2021-12-31 | 2021-12-31 | Ammonia water flow adjusting device of cement kiln SCR denitration device |
Publications (1)
| Publication Number | Publication Date |
|---|---|
| CN216604762U true CN216604762U (en) | 2022-05-27 |
Family
ID=81686475
Family Applications (1)
| Application Number | Title | Priority Date | Filing Date |
|---|---|---|---|
| CN202123401618.3U Active CN216604762U (en) | 2021-12-31 | 2021-12-31 | Ammonia water flow adjusting device of cement kiln SCR denitration device |
Country Status (1)
| Country | Link |
|---|---|
| CN (1) | CN216604762U (en) |
-
2021
- 2021-12-31 CN CN202123401618.3U patent/CN216604762U/en active Active
Similar Documents
| Publication | Publication Date | Title |
|---|---|---|
| CN203577626U (en) | Desulfurizer of circulating fluidized bed | |
| CN216604762U (en) | Ammonia water flow adjusting device of cement kiln SCR denitration device | |
| CN107158912A (en) | A kind of high-temperature steam is atomized denitrification apparatus | |
| CN112010328A (en) | Urea hydrolysis ammonia production equipment | |
| CN209049224U (en) | A kind of efficient SCR denitration device | |
| CN210125301U (en) | SCR denitrification facility | |
| CN214681043U (en) | SCR denitration reducing agent preparation device with flue gas heating system | |
| CN210138602U (en) | Acid mixer | |
| CN211169873U (en) | Urea hydrolysis device | |
| CN219879540U (en) | Waste gas treatment system for producing polycarboxylate water reducer | |
| CN114177866A (en) | A kind of continuous kettle type 2,6-methylethylphenyl-formimine production device and method | |
| CN209317386U (en) | Flue gas desulfurization system | |
| CN213193179U (en) | Wet flue gas desulfurization flow equalizing device | |
| CN214319686U (en) | Novel full automatic control system of denitration | |
| CN208009591U (en) | A kind of pipe-line system | |
| CN209393016U (en) | A coke oven chimney ammonia injection equipment | |
| CN109307259B (en) | Towerless deaerator | |
| CN208389812U (en) | Jet flow stirring kettle | |
| CN220766533U (en) | Sewage purification dosing device | |
| CN218188942U (en) | Denitration shower nozzle with guiding device | |
| CN222872139U (en) | Cleaning mechanism of reaction kettle | |
| CN220283683U (en) | Desulfurization waste water concentration decrement device | |
| CN215610504U (en) | Organic waste gas purification device | |
| CN210122561U (en) | Blast furnace gas dechlorination system | |
| CN215233282U (en) | Wet flue gas desulfurization major diameter single tower whirl system of thermal power plant |
Legal Events
| Date | Code | Title | Description |
|---|---|---|---|
| GR01 | Patent grant | ||
| GR01 | Patent grant |