CN216562185U - Demonstration equipment for economic management teaching - Google Patents

Demonstration equipment for economic management teaching Download PDF

Info

Publication number
CN216562185U
CN216562185U CN202122947716.0U CN202122947716U CN216562185U CN 216562185 U CN216562185 U CN 216562185U CN 202122947716 U CN202122947716 U CN 202122947716U CN 216562185 U CN216562185 U CN 216562185U
Authority
CN
China
Prior art keywords
fixedly connected
base
rod
motor
economic management
Prior art date
Legal status (The legal status is an assumption and is not a legal conclusion. Google has not performed a legal analysis and makes no representation as to the accuracy of the status listed.)
Expired - Fee Related
Application number
CN202122947716.0U
Other languages
Chinese (zh)
Inventor
张黎
郭霞
吴雷雷
王海鹏
Current Assignee (The listed assignees may be inaccurate. Google has not performed a legal analysis and makes no representation or warranty as to the accuracy of the list.)
Individual
Original Assignee
Individual
Priority date (The priority date is an assumption and is not a legal conclusion. Google has not performed a legal analysis and makes no representation as to the accuracy of the date listed.)
Filing date
Publication date
Application filed by Individual filed Critical Individual
Priority to CN202122947716.0U priority Critical patent/CN216562185U/en
Application granted granted Critical
Publication of CN216562185U publication Critical patent/CN216562185U/en
Expired - Fee Related legal-status Critical Current
Anticipated expiration legal-status Critical

Links

Images

Landscapes

  • Devices For Indicating Variable Information By Combining Individual Elements (AREA)

Abstract

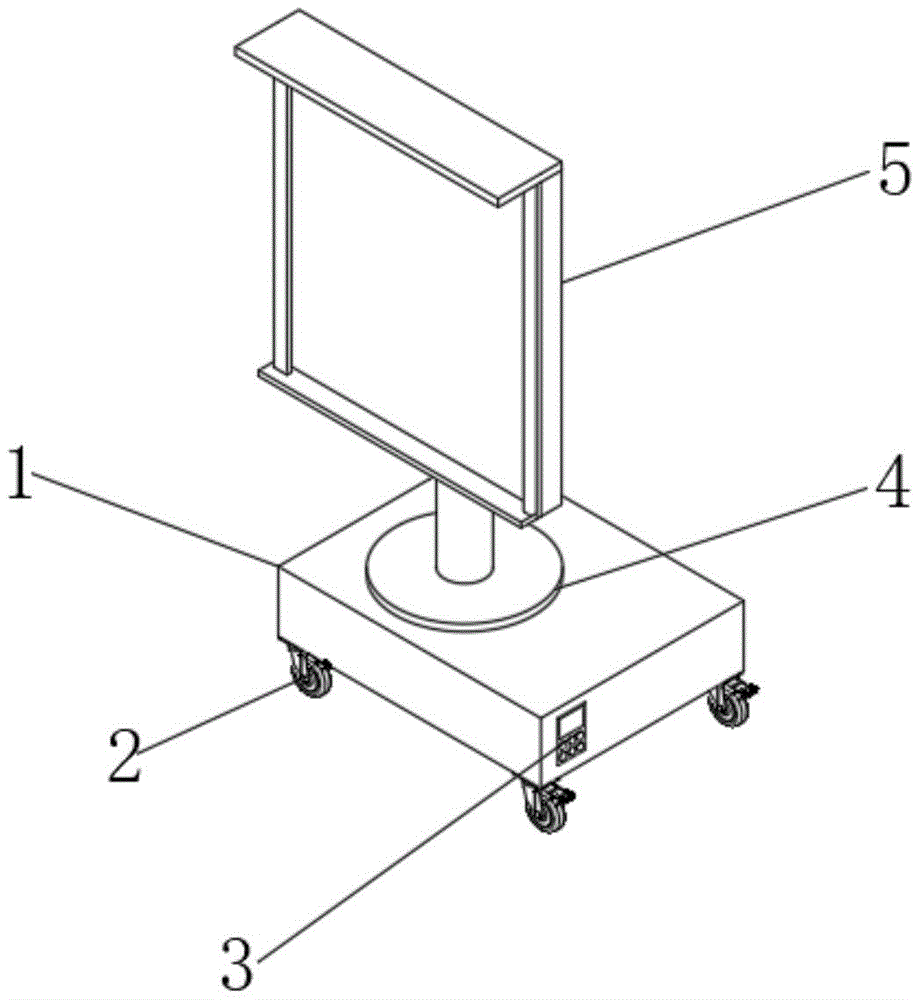
本实用新型公开了一种经济管理教学的演示设备,包括底座,底座的底端四角均固定连接有万向轮,底座的上方设置有展示板,底座的上方设置有高度调节结构,底座的内侧设置有转动机构,转动机构包括电机、主动齿轮、从动齿轮和转动杆,电机固定连接于底座的内侧,主动齿轮固定连接于电机的输出端,从动齿轮啮合连接于主动齿轮的外侧,转动杆固定连接于从动齿轮的内侧。本实用新型通过在底座的内部固定连接有电机,电机的输出端固定连接有主动齿轮,主动齿轮的外侧啮合连接有从动齿轮,从动齿轮固定连接于转动杆的外侧,转动杆的顶端固定连接有转动盘,通过转动机构的设置,能有效对展示板的展示方向进行调整,使其被观察的视野更加多样。

Figure 202122947716

The utility model discloses a demonstration device for economic management teaching, comprising a base, the four corners of the bottom end of the base are fixedly connected with universal wheels, a display board is arranged above the base, a height adjustment structure is arranged above the base, and the inner side of the base is provided with a display board. A rotating mechanism is provided. The rotating mechanism includes a motor, a driving gear, a driven gear and a rotating rod. The motor is fixedly connected to the inner side of the base, the driving gear is fixedly connected to the output end of the motor, and the driven gear is meshed and connected to the outer side of the driving gear. The rod is fixedly connected to the inner side of the driven gear. In the utility model, a motor is fixedly connected inside the base, an output end of the motor is fixedly connected with a driving gear, an outer side of the driving gear is meshed with a driven gear, the driven gear is fixedly connected to the outer side of the rotating rod, and the top of the rotating rod is fixed A rotating disc is connected, and through the setting of the rotating mechanism, the display direction of the display board can be adjusted effectively, so that the observed field of vision is more diverse.

Figure 202122947716

Description

Demonstration equipment for economic management teaching
Technical Field
The utility model relates to the field of teaching demonstration, in particular to demonstration equipment for economic management teaching.
Background
Economic management teaching demonstration teaching aid is a teaching aid who is used for assisting the relevant knowledge of explanation economic management, and economic management science in the teaching process, can use a lot of statistical chart and statistical graph to explain to give lessons to the student, lets the student understand more easily, along with the development economic management teaching demonstration teaching of scientific and technological kind is more and more, and is higher and higher to economic management teaching demonstration teaching aid demand.
When the demonstration equipment of current teaching usefulness was used, mostly was the fixed angle design, and the angle can't be adjusted, and the congruence meeting of both sides can not be better because of the content on the demonstration board of watching because of the direction problem, and the demonstration board is inconvenient to rotate, causes the study achievement relatively poor, can not adjust the height simultaneously, and adaptability is poor, because equipment inconvenient dismantlement when not using, occupies too much space, causes its inconvenient storage.
SUMMERY OF THE UTILITY MODEL
The utility model aims to provide a demonstration device for economic management teaching, which solves the problems in the background technology.
In order to achieve the purpose, the utility model provides the following technical scheme: the demonstration equipment for economic management teaching comprises a base, wherein four corners of the bottom end of the base are fixedly connected with universal wheels, a display board is arranged above the base, a height adjusting structure is arranged above the base, and a rotating mechanism is arranged on the inner side of the base;
slewing mechanism includes motor, driving gear, driven gear and dwang, motor fixed connection is in the inboard of base, driving gear fixed connection is in the output of motor, driven gear meshing is connected in the outside of driving gear, dwang fixed connection is in driven gear's inboard.
Preferably, one end of the rotating rod is rotatably connected to the inner side of the base, and the other end of the rotating rod is arranged on the outer side of the base and is fixedly connected with the rotating disc.
Preferably, height adjusting mechanism includes backup pad, telescopic link, connecting rod and bracing piece, backup pad fixed connection is in the output of telescopic link, the bracing piece is provided with two respectively fixed connection in the top of backup pad, the other end of bracing piece sets up in the inboard of connecting rod, be provided with angle adjusting mechanism between connecting rod and the show board.
Preferably, the top end of one of the support rods is fixedly connected with a first mounting block through a fixing bolt, the top end of the other support rod is fixedly connected with a second mounting block through a fixing bolt, and the fixing bolt penetrates through the support rods, the first mounting block and the connecting rod.
Preferably, the telescopic rod is fixedly connected to the top end of the rotating disc, and the rotating disc is rotatably connected to the upper portion of the base.
Preferably, angle adjustment mechanism includes fixed block and spacing bolt, the fixed block is provided with two and respectively fixed connection in one side of show board, the one end interlude of connecting rod sets up between two fixed blocks, spacing bolt and two fixed block threaded connection interlude.
Preferably, the outer side of the base is provided with a control switch, and the control switch is electrically connected with the motor through a lead.
The utility model has the technical effects and advantages that:
(1) according to the utility model, the motor is fixedly connected in the base, the output end of the motor is fixedly connected with the driving gear, the outer side of the driving gear is meshed with the driven gear, the driven gear is fixedly connected to the outer side of the rotating rod, the top end of the rotating rod is fixedly connected with the rotating disc, and through the arrangement of the rotating mechanism, the display direction of the display board can be effectively adjusted, so that the observed visual fields of the display board are more diversified;
(2) according to the utility model, by arranging the supporting plate, the telescopic rod, the first mounting block, the second mounting block, the connecting rod, the fixing bolt and the supporting rod, when the height of the display board needs to be adjusted, the height of the telescopic rod can be adjusted to adjust the height of the display board, so that a good adaptive effect is achieved, meanwhile, the first mounting block and the second mounting block are respectively fixedly connected to the outer side of the connecting rod through the fixing bolt, so that the display board is convenient to disassemble after use, and the occupation of space is reduced.
Drawings
Fig. 1 is a schematic view of the main structure of the present invention.
Fig. 2 is a schematic front view of the angle adjusting mechanism of the present invention.
Fig. 3 is a schematic view of the internal structure of the base of the present invention.
Fig. 4 is a schematic top view of the angle adjusting mechanism of the present invention.
In the figure: base 1, universal wheel 2, control switch 3, rolling disc 4, show board 5, backup pad 6, telescopic link 7, first installation piece 8, second installation piece 9, connecting rod 10, fixing bolt 11, motor 12, driving gear 13, driven gear 14, dwang 15, bracing piece 16, fixed block 17, stop bolt 18.
Detailed Description
The technical solutions in the embodiments of the present invention will be clearly and completely described below with reference to the drawings in the embodiments of the present invention, and it is obvious that the described embodiments are only a part of the embodiments of the present invention, and not all of the embodiments. All other embodiments, which can be derived by a person skilled in the art from the embodiments given herein without making any creative effort, shall fall within the protection scope of the present invention.
The utility model provides a demonstration device for economic management teaching as shown in figures 1-3, which comprises a base 1, wherein four corners of the bottom end of the base 1 are fixedly connected with universal wheels 2, a display board 5 is arranged above the base 1, a height adjusting structure is arranged above the base 1, and a rotating mechanism is arranged on the inner side of the base 1;
the rotating mechanism comprises a motor 12, a driving gear 13, a driven gear 14 and a rotating rod 15, the motor 12 is fixedly connected to the inner side of the base 1, the driving gear 13 is fixedly connected to the output end of the motor 12, the driven gear 14 is meshed with the outer side of the driving gear 13, the rotating rod 15 is fixedly connected to the inner side of the driven gear 14, one end of the rotating rod 15 is rotatably connected to the inner side of the base 1, the other end of the rotating rod 15 is arranged on the outer side of the base 1 and is fixedly connected with a rotating disc 4, the motor 12 is fixedly connected to the inner part of the base 1, the output end of the motor 12 is fixedly connected with the driving gear 13, the outer side of the driving gear 13 is meshed with the driven gear 14, the driven gear 14 is fixedly connected to the outer side of the rotating rod 15, the rotating disc 4 is fixedly connected to the top end of the rotating rod 15, and the display direction of the display board 5 can be effectively adjusted through the arrangement of the rotating mechanism, the visual field observed by the device is more diversified;
the height adjusting mechanism comprises a supporting plate 6, a telescopic rod 7, a connecting rod 10 and a supporting rod 16, the supporting plate 6 is fixedly connected with the output end of the telescopic rod 7, the supporting rod 16 is provided with two top ends which are respectively and fixedly connected with the supporting plate 6, the other end of the supporting rod 16 is arranged at the inner side of the connecting rod 10, an angle adjusting mechanism is arranged between the connecting rod 10 and the display plate 5, the top end of one supporting rod 16 is fixedly connected with a first mounting block 8 through a fixing bolt 11, the top end of the other supporting rod 16 is fixedly connected with a second mounting block 9 through a fixing bolt 11, the fixing bolt 11 penetrates through the supporting rod 16, the first mounting block 8 and the connecting rod 10, the telescopic rod 7 is fixedly connected with the top end of the rotating disc 4, the rotating disc 4 is rotatably connected above the base 1, the outer side of the telescopic rod 7 is provided with a bolt, the supporting rod 7 is divided into a supporting rod and a sleeve pipe, the supporting rod is slidably connected with the inner side of the sleeve, the inner side of the supporting rod is provided with a bolt hole, during lifting, the height can be adjusted through the lifting supporting rod, after the height adjustment is finished, a bolt is inserted into the bolt hole for fixing, the height is determined, when the height of the display board needs to be adjusted, the height of the display board can be adjusted through adjusting the height of the telescopic rod 7 by arranging the supporting plate 6, the telescopic rod 7, the first mounting block 8, the second mounting block 9, the connecting rod 10, the fixing bolt 11 and the supporting rod 16, a good adaptive effect is achieved, meanwhile, the first mounting block 8 and the second mounting block 9 are fixedly connected to the outer side of the connecting rod 10 through the fixing bolt 11 respectively, the display board is convenient to disassemble after being used, and the space occupation is reduced;
the angle adjusting mechanism comprises two fixing blocks 17 and a limiting bolt 18, the two fixing blocks 17 are respectively and fixedly connected to one side of the display plate 5, one end of the connecting rod 10 is inserted between the two fixing blocks 17, the limiting bolt 18 is in threaded insertion connection with the two fixing blocks 17, when angle rotation is needed, the limiting bolt 18 is unscrewed, the display plate 5 is rotated to adjust the angle, and after the angle is determined, the limiting bolt 18 is screwed down to fix the angle;
the outside of base 1 is provided with control switch 3, and control switch 3 passes through the wire and with motor 12 electric connection, be convenient for control through control switch 3 motor 12, conveniently adjust its direction.
The working principle of the utility model is as follows: the display board height adjusting device comprises a base 1, a motor 12, a driving gear 13, a driven gear 14, a rotating disc 4, a supporting plate 6, a telescopic rod 7, a first mounting block 8, a second mounting block 9, a connecting rod 10, a fixing bolt 11 and a supporting rod 16, wherein the motor 12 is fixedly connected inside the base 1, the output end of the motor 12 is fixedly connected with the driving gear 13, the driven gear 14 is meshed and connected with the outer side of the driving gear 13, the driven gear 14 is fixedly connected with the outer side of the rotating rod 15, the rotating disc 4 is fixedly connected at the top end of the rotating rod 15, and the display direction of a display board 5 can be effectively adjusted through the arrangement of a rotating mechanism, so that the observed visual fields of the display board are more diversified, convenient dismantlement after finishing using, the occupation in reduction space, through angle adjustment mechanism's setting, when needs carry out the angular rotation, unscrew limit bolt 18, rotate show board 5 and carry out the adjustment of angle, confirm the angle after, screw up limit bolt 18 and fix and can accomplish angle modulation work.
Finally, it should be noted that: although the present invention has been described in detail with reference to the foregoing embodiments, it will be apparent to those skilled in the art that modifications may be made to the embodiments or portions thereof without departing from the spirit and scope of the utility model.

Claims (7)

1.一种经济管理教学的演示设备,包括底座(1),其特征在于,所述底座(1)的底端四角均固定连接有万向轮(2),所述底座(1)的上方设置有展示板(5),所述底座(1)的上方设置有高度调节结构,所述底座(1)的内侧设置有转动机构;1. A demonstration device for economic management teaching, comprising a base (1), characterized in that the four corners of the bottom end of the base (1) are fixedly connected with a universal wheel (2), and the top of the base (1) is fixedly connected with a universal wheel (2). A display board (5) is provided, a height adjustment structure is provided above the base (1), and a rotation mechanism is provided on the inner side of the base (1); 所述转动机构包括电机(12)、主动齿轮(13)、从动齿轮(14)和转动杆(15),所述电机(12)固定连接于底座(1)的内侧,所述主动齿轮(13)固定连接于电机(12)的输出端,所述从动齿轮(14)啮合连接于主动齿轮(13)的外侧,所述转动杆(15)固定连接于从动齿轮(14)的内侧。The rotating mechanism includes a motor (12), a driving gear (13), a driven gear (14) and a rotating rod (15), the motor (12) is fixedly connected to the inner side of the base (1), and the driving gear ( 13) is fixedly connected to the output end of the motor (12), the driven gear (14) is meshed and connected to the outside of the driving gear (13), and the rotating rod (15) is fixedly connected to the inside of the driven gear (14) . 2.根据权利要求1所述的一种经济管理教学的演示设备,其特征在于,所述转动杆(15)的一端转动连接于底座(1)的内侧,所述转动杆(15)的另一端设置于底座(1)的外侧且固定连接有转动盘(4)。2. The demonstration device for economic management teaching according to claim 1, wherein one end of the rotating rod (15) is rotatably connected to the inner side of the base (1), and the other end of the rotating rod (15) is rotatably connected to the inner side of the base (1). One end is arranged on the outside of the base (1) and is fixedly connected with a rotating disk (4). 3.根据权利要求1所述的一种经济管理教学的演示设备,其特征在于,所述高度调节机构包括支撑板(6)、伸缩杆(7)、连接杆(10)和支撑杆(16),所述支撑板(6)固定连接于伸缩杆(7)的输出端,所述支撑杆(16)设置有两个分别固定连接于支撑板(6)的顶端,所述支撑杆(16)的另一端设置于连接杆(10)的内侧,所述连接杆(10)和展示板(5)之间设置有角度调节机构。3. A demonstration device for economic management teaching according to claim 1, wherein the height adjustment mechanism comprises a support plate (6), a telescopic rod (7), a connecting rod (10) and a support rod (16) ), the support plate (6) is fixedly connected to the output end of the telescopic rod (7), the support rod (16) is provided with two top ends that are respectively fixedly connected to the support plate (6), the support rod (16) ) is arranged on the inner side of the connecting rod (10), and an angle adjusting mechanism is arranged between the connecting rod (10) and the display board (5). 4.根据权利要求3所述的一种经济管理教学的演示设备,其特征在于,其中一个所述支撑杆(16)的顶端通过固定螺栓(11)固定连接有第一安装块(8),其中另一个所述支撑杆(16)的顶端通过固定螺栓(11)固定连接有第二安装块(9),所述固定螺栓(11)贯穿支撑杆(16)、第一安装块(8)和连接杆(10)。4. The demonstration device for economic management teaching according to claim 3, wherein the top of one of the support rods (16) is fixedly connected with the first mounting block (8) through a fixing bolt (11), The top end of the other support rod (16) is fixedly connected with a second mounting block (9) through a fixing bolt (11), and the fixing bolt (11) penetrates the support rod (16) and the first mounting block (8) and connecting rod (10). 5.根据权利要求3所述的一种经济管理教学的演示设备,其特征在于,所述伸缩杆(7)固定连接于转动盘(4)的顶端,所述转动盘(4)转动连接于底座(1)的上方。5. A demonstration device for economic management teaching according to claim 3, characterized in that, the telescopic rod (7) is fixedly connected to the top of the rotating disk (4), and the rotating disk (4) is rotatably connected to the Above the base (1). 6.根据权利要求3所述的一种经济管理教学的演示设备,其特征在于,所述角度调节机构包括固定块(17)和限位螺栓(18),所述固定块(17)设置有两个且分别固定连接于展示板(5)的一侧,所述连接杆(10)的一端穿插设置于两个固定块(17)之间,所述限位螺栓(18)与两个固定块(17)螺纹穿插连接。6. A demonstration device for economic management teaching according to claim 3, wherein the angle adjustment mechanism comprises a fixing block (17) and a limit bolt (18), and the fixing block (17) is provided with Two are fixedly connected to one side of the display board (5) respectively, one end of the connecting rod (10) is inserted between the two fixing blocks (17), and the limiting bolt (18) is connected to the two fixing blocks (17). The block (17) is threadedly connected. 7.根据权利要求1所述的一种经济管理教学的演示设备,其特征在于,所述底座(1)的外侧设置有控制开关(3),所述控制开关(3)通过导线和电机(12)电性连接。7. The demonstration device of a kind of economic management teaching according to claim 1, is characterized in that, the outer side of described base (1) is provided with control switch (3), and described control switch (3) passes through wire and motor ( 12) Electrical connection.
CN202122947716.0U 2021-11-26 2021-11-26 Demonstration equipment for economic management teaching Expired - Fee Related CN216562185U (en)

Priority Applications (1)

Application Number Priority Date Filing Date Title
CN202122947716.0U CN216562185U (en) 2021-11-26 2021-11-26 Demonstration equipment for economic management teaching

Applications Claiming Priority (1)

Application Number Priority Date Filing Date Title
CN202122947716.0U CN216562185U (en) 2021-11-26 2021-11-26 Demonstration equipment for economic management teaching

Publications (1)

Publication Number Publication Date
CN216562185U true CN216562185U (en) 2022-05-17

Family

ID=81577314

Family Applications (1)

Application Number Title Priority Date Filing Date
CN202122947716.0U Expired - Fee Related CN216562185U (en) 2021-11-26 2021-11-26 Demonstration equipment for economic management teaching

Country Status (1)

Country Link
CN (1) CN216562185U (en)

Similar Documents

Publication Publication Date Title
CN216562185U (en) Demonstration equipment for economic management teaching
CN213361721U (en) Chinese language and literature multimedia teaching equipment
CN208000710U (en) A kind of solar energy electronic message board
CN108320867B (en) A kind of copper wire the end of a thread pressurizing unit adjusted based on pulley-type
CN210567208U (en) Electronic screen steering adjusting device
CN212384981U (en) Bridge press-fitting equipment
CN110848530A (en) Training device for computer software development
CN213333353U (en) Movie & TV film specialty is with novel exhibition device convenient to installation
CN217053080U (en) Bridge supports adjusting device for bridge construction
CN213211410U (en) Convenient display device for business teaching who adjusts
CN207651091U (en) A kind of English teaching display screen
CN218236724U (en) Equipment mounting support
CN209876413U (en) Electronic equipment strutting arrangement
CN221943795U (en) A teaching display screen device for first aid training
CN220891576U (en) A portable outdoor camera mounting bracket
CN209044903U (en) A kind of more study course online education devices
CN113404992A (en) Artificial intelligence touch-sensitive screen installation placer
CN221175704U (en) Outdoor display device
CN216287196U (en) Adjustable display teaching board for English education
CN219164297U (en) An oil-immersed power transformer monitoring device
CN218720319U (en) Computer display device for computer information engineering
CN218032332U (en) A new survey device
CN217214908U (en) Battery box fixing device for fire-fighting electric appliance
CN215643363U (en) Interactive topography sand table convenient to adjust
CN216393640U (en) Art design education auxiliary device

Legal Events

Date Code Title Description
GR01 Patent grant
GR01 Patent grant
CF01 Termination of patent right due to non-payment of annual fee

Granted publication date: 20220517

CF01 Termination of patent right due to non-payment of annual fee