CN216530219U - A operation platform that is arranged in electric power circuit of salt pond to overhaul - Google Patents

A operation platform that is arranged in electric power circuit of salt pond to overhaul Download PDF

Info

Publication number
CN216530219U
CN216530219U CN202122565748.4U CN202122565748U CN216530219U CN 216530219 U CN216530219 U CN 216530219U CN 202122565748 U CN202122565748 U CN 202122565748U CN 216530219 U CN216530219 U CN 216530219U
Authority
CN
China
Prior art keywords
sets
reinforcing
rod
platform
salt pond
Prior art date
Legal status (The legal status is an assumption and is not a legal conclusion. Google has not performed a legal analysis and makes no representation as to the accuracy of the status listed.)
Expired - Fee Related
Application number
CN202122565748.4U
Other languages
Chinese (zh)
Inventor
王文强
吴春海
戚振飞
花明
陈秋梁
吕文玉
任玉涛
Current Assignee (The listed assignees may be inaccurate. Google has not performed a legal analysis and makes no representation or warranty as to the accuracy of the list.)
Binzhou Power Supply Co of State Grid Shandong Electric Power Co Ltd
Original Assignee
Binzhou Power Supply Co of State Grid Shandong Electric Power Co Ltd
Priority date (The priority date is an assumption and is not a legal conclusion. Google has not performed a legal analysis and makes no representation as to the accuracy of the date listed.)
Filing date
Publication date
Application filed by Binzhou Power Supply Co of State Grid Shandong Electric Power Co Ltd filed Critical Binzhou Power Supply Co of State Grid Shandong Electric Power Co Ltd
Priority to CN202122565748.4U priority Critical patent/CN216530219U/en
Application granted granted Critical
Publication of CN216530219U publication Critical patent/CN216530219U/en
Expired - Fee Related legal-status Critical Current
Anticipated expiration legal-status Critical

Links

Images

Landscapes

  • Working Measures On Existing Buildindgs (AREA)

Abstract

本实用新型属于线路维修领域,具体公开了用于盐池中的电力线路检修的作业平台,包括两组承载座,两组所述承载座之间分别镶嵌有调节导杆以及加强杆,所述加强杆位于调节导杆的前方,所述调节导杆的外表面贴合安装有两组调节框,所述加强杆的外表面贴合安装有两组加强框,所述调节导杆的下方与加强杆的下方均设置有平台座,所述平台座的上端面分别倾斜延伸有两组连接拉杆以及两组加强支架,所述连接拉杆位于加强支架的后方,所述连接拉杆的端部与加强支架的端部均水平镶嵌有平台主体。本实用新型能够在提高维修方便度的同时保证其作业的安全性,并能够满足其使用需求。

Figure 202122565748

The utility model belongs to the field of line maintenance, and specifically discloses an operation platform for power line maintenance in a salt pool, comprising two sets of bearing seats, and between the two sets of bearing seats, an adjustment guide rod and a reinforcement rod are respectively inlaid. The rod is located in front of the adjustment guide rod, the outer surface of the adjustment guide rod is fitted with two sets of adjustment frames, and the outer surface of the reinforcement rod is fitted with two sets of reinforcement frames. The bottom of the rod is provided with a platform seat, and the upper end surface of the platform seat is respectively extended with two sets of connecting rods and two sets of reinforcing brackets, the connecting rods are located at the rear of the reinforcing brackets, and the ends of the connecting rods are connected to the reinforcing brackets. The ends of each are horizontally inlaid with the platform body. The utility model can ensure the safety of its operation while improving the maintenance convenience, and can meet its use requirements.

Figure 202122565748

Description

A operation platform that is arranged in electric power circuit of salt pond to overhaul
Technical Field
The utility model belongs to the field of line maintenance, and particularly discloses an operation platform for electric power line maintenance in a salt pond.
Background
Salt pond mainly used stores and melts its effect with salt, wherein many power line that have erect in the top of salt pond are in order to supply power to some electric power facilities in the salt room, present when this circuit trouble maintains, need to remove the scaffold earlier and put in the salt pond for the maintenance personal stands, just can maintain the circuit of salt pond top afterwards, and need remove the scaffold out of the salt pond after the maintenance, the very big increase of its operation the loaded down with trivial details degree when maintaining, seriously influence its easy maintenance degree, simultaneously the scaffold is placed very easily because the accumulational salt of salt bottom of salt pond causes the phenomenon that the scaffold is put unstably and thereby appears toppling after in the salt pond, cause the maintenance personal who stands on the scaffold to appear injured, its potential safety hazard is great.
SUMMERY OF THE UTILITY MODEL
In view of the above, the present invention provides a work platform for repairing a power line in a salt pond to solve the problems in the prior art.
In order to achieve the above purpose, the utility model provides an operation platform for electric power line maintenance in a salt pond, which comprises two groups of bearing seats, wherein an adjusting guide rod and a reinforcing rod are respectively embedded between the two groups of bearing seats, the reinforcing rod is positioned in front of the adjusting guide rod, two groups of adjusting frames are attached to the outer surface of the adjusting guide rod, two groups of reinforcing frames are attached to the outer surface of the reinforcing rod, platform seats are respectively arranged below the adjusting guide rod and below the reinforcing rod, two groups of connecting pull rods and two groups of reinforcing brackets are respectively obliquely extended from the upper end surface of the platform seats, the connecting pull rods are positioned behind the reinforcing brackets, platform main bodies are horizontally embedded in the end parts of the connecting pull rods and the end parts of the reinforcing brackets, the connecting pull rods are connected with the adjusting frames, the reinforcing brackets are connected with the reinforcing frames, and a fixing seat is embedded between the two groups of adjusting frames, the upper end face of the fixing seat penetrates through the magnetic fixing device and is provided with a fixing column, and the fixing column is attached to the upper end face of the adjusting guide rod in a penetrating mode.
In the above technical scheme, preferably, a second connecting block extends from the front end face of the adjusting frame, and the end of the second connecting block is fixedly connected with the connecting pull rod.
Preferably, the front end face of the reinforcing frame extends to form a first connecting block, and the end part of the first connecting block is fixedly connected with the reinforcing support.
Preferably, a plurality of groups of adjusting holes are formed in the upper end face of the adjusting guide rod, and the fixing column is attached to the inside of one group of adjusting holes.
Preferably, the upper edge of the inside of the adjusting hole is provided with an inclined plane, and the upper end part of the fixing column is inlaid with a pull ring.
Preferably, a magnetic ring is embedded on the outer side of the fixing column and is adsorbed with the fixing seat.
Compared with the prior art, the utility model has the following beneficial effects: the platform main body can extend to the upper part of the salt pond through the pulling and supporting effects of the connecting pull rod and the reinforcing bracket, so that maintenance personnel can stand on the platform main body to maintain a circuit above the salt pond, the phenomenon that a scaffold frame needs to be moved in the salt pond first in the maintenance process is avoided, the maintenance convenience is improved, the inclination angles of the connecting pull rod and the reinforcing bracket can be reinforced through the matching between the reinforcing rod and the reinforcing frame and the matching between the adjusting guide rod and the adjusting frame, so that the platform main body cannot fall into the salt pond in the maintenance process, the operation safety is further ensured, meanwhile, through pulling the fixing column which is adsorbed and fixed by the magnetic ring, the fixing column is separated from the adjusting hole on the adjusting guide rod, the adjusting frame can be driven to move to slide on the adjusting guide rod, and the idler wheel on the platform seat rolls on the edge of the salt pond, the position of the platform main body is adjusted to meet the use requirement of the platform main body.
Drawings
FIG. 1 is a schematic view of the overall structure of the present invention;
fig. 2 is a schematic view of the present invention at an adjustment block.
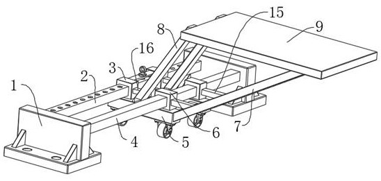
In the figure: 1. a bearing seat; 2. adjusting the guide rod; 3. an adjusting frame; 4. a reinforcing bar; 5. a platform base; 6. a reinforcing frame; 7. a reinforcing bracket; 8. connecting a pull rod; 9. a platform body; 10. a fixed seat; 11. fixing a column; 12. a magnetic ring; 13. an adjustment hole; 14. a pull ring; 15. a first connecting block; 16. and a second connecting block.
Detailed Description
In order that the above objects, features and advantages of the present invention can be more clearly understood, a more particular description of the utility model will be rendered by reference to the appended drawings.
In the following description, numerous specific details are set forth in order to provide a thorough understanding of the present invention, however, the present invention may be practiced in other ways than those specifically described herein, and thus the present invention is not limited to the specific embodiments disclosed below.
As shown in fig. 1-2, the work platform for electric power line maintenance in a salt pond includes two sets of bearing seats 1, an adjusting guide rod 2 and a reinforcing rod 4 are respectively embedded between the two sets of bearing seats 1, the reinforcing rod 4 is located in front of the adjusting guide rod 2, two sets of adjusting frames 3 are attached to the outer surface of the adjusting guide rod 2, two sets of reinforcing frames 6 are attached to the outer surface of the reinforcing rod 4, platform seats 5 are respectively arranged below the adjusting guide rod 2 and below the reinforcing rod 4, two sets of connecting pull rods 8 and two sets of reinforcing brackets 7 are respectively extended obliquely from the upper end surface of the platform seat 5, the inclined angles of the connecting pull rods 8 and the reinforcing brackets 7 can be reinforced through the adjusting guide rod 2 and the reinforcing rod 4, the platform seat 5 plays a role in bearing the connecting pull rods 8 and the reinforcing brackets 7, and can be pressed on the ground to bear the adjusting guide rod 2 and the reinforcing rod 4, with the atress that reduces adjusting guide arm 2 and stiffener 4 to can utilize the gyro wheel of 5 bottoms of platform seat to reduce the frictional force with ground when platform main part 9 removes, so that promote, connect pull rod 8 and play the effect of carrying out the pulling to platform main part 9, strengthen support 7 and play the effect of carrying out the support to platform main part 9, bear seat 1 and can fix on the salt pond edge through expansion bolts.
Connecting rod 8 is located the rear of strengthening support 7, connecting rod 8's tip and the equal level of tip of strengthening support 7 are inlayed and are had platform main part 9, connecting rod 8 is connected with adjusting frame 3, adjusting frame 3's preceding terminal surface extends there is connecting block 16 No. two, connecting block 16's tip and connecting rod 8 fixed connection, strengthening support 7 is connected with strengthening frame 6, strengthening frame 6's preceding terminal surface extends there is connecting block 15 No. one, connecting block 15's tip and strengthening support 7 fixed connection, it has fixing base 10 to inlay between two sets of adjusting frame 3, connecting rod 8 and adjusting frame 3 are together fixed through connecting block 16 No. two that set up, connecting block 15 can be together fixed strengthening support 7 and strengthening frame 6.
The upper end face of fixing base 10 runs through magnetism fixed mounting and has fixed column 11, magnetic ring 12 has been inlayed in the outside of fixed column 11, magnetic ring 12 adsorbs with fixing base 10 mutually, fixed column 11 laminating runs through in the up end of adjusting guide 2, the up end of adjusting guide 2 has seted up multiunit regulation hole 13, fixed column 11 laminates in the inside of one of them group regulation hole 13, the inside top edge department of regulation hole 13 sets up to the inclined plane, the upper end of fixed column 11 is inlayed and is had pull ring 14, can fix fixing base 10 through the fixed column 11 that sets up, and then fix adjustment frame 3, make adjustment frame 3 unable slide, and then fix the position of platform main part 9, the inside top edge department of adjustment hole 13 sets up for the inclined plane can be convenient for fixed column 11 to get into, magnetic ring 12 plays and adsorbs fixed effect to fixed column 11.
When the device is used, the fixed columns 11 adsorbed and fixed by the magnetic rings 12 are pulled to separate the fixed columns 11 from the adjusting holes 13 on the adjusting guide rods 2, the adjusting frames 3 can be driven to move to slide on the adjusting guide rods 2, the rollers on the platform seat 5 roll along the sides of the salt pond at the moment to adjust the position of the platform main body 9, the platform main body 9 can be located in a maintenance area, a maintenance worker can stand on the platform main body 9 to maintain the circuit above the salt pond, in the maintenance process, the inclination angles of the connecting pull rod 8 and the reinforcing bracket 7 can be reinforced under the matching between the reinforcing rod 4 and the reinforcing frame 6 and the matching between the adjusting guide rods 2 and the adjusting frames 3, and then the platform main body 9 pulled and supported by the connecting pull rod 8 and the reinforcing bracket 7 is reinforced, so that the platform main body 9 cannot fall into the salt pond in the maintenance process, thereby ensuring the operation safety.
In the present invention, the terms "mounting," "connecting," "fixing," and the like are used in a broad sense, for example, "connecting" may be a fixed connection, a detachable connection, or an integral connection; may be directly connected or indirectly connected through an intermediate. The specific meanings of the above terms in the present invention can be understood by those skilled in the art according to specific situations.
In the description herein, the appearances of the phrases "one embodiment," "some embodiments," "a specific embodiment," or the like, in various places throughout this specification are not necessarily all referring to the same embodiment or example, but rather to the same embodiment or example. In this specification, the schematic representations of the terms used above do not necessarily refer to the same embodiment or example. Furthermore, the particular features, structures, materials, or characteristics described may be combined in any suitable manner in any one or more embodiments or examples.
The foregoing shows and describes the general principles, essential features, and advantages of the utility model. It will be understood by those skilled in the art that the present invention is not limited to the embodiments described above, which are merely illustrative of the principles of the utility model, but that various changes and modifications may be made without departing from the spirit and scope of the utility model, which fall within the scope of the utility model as claimed. The scope of the utility model is defined by the appended claims and equivalents thereof.

Claims (6)

1.用于盐池中的电力线路检修的作业平台,其特征在于,包括两组承载座(1),两组所述承载座(1)之间分别镶嵌有调节导杆(2)以及加强杆(4),所述加强杆(4)位于调节导杆(2)的前方,所述调节导杆(2)的外表面贴合安装有两组调节框(3),所述加强杆(4)的外表面贴合安装有两组加强框(6),所述调节导杆(2)的下方与加强杆(4)的下方均设置有平台座(5),所述平台座(5)的上端面分别倾斜延伸有两组连接拉杆(8)以及两组加强支架(7),所述连接拉杆(8)位于加强支架(7)的后方,所述连接拉杆(8)的端部与加强支架(7)的端部均水平镶嵌有平台主体(9),所述连接拉杆(8)与调节框(3)相连接,所述加强支架(7)与加强框(6)相连接,两组所述调节框(3)之间镶嵌有固定座(10),所述固定座(10)的上端面贯穿磁性固定安装有固定柱(11),所述固定柱(11)贴合贯穿于调节导杆(2)的上端面。1. An operation platform for overhauling power lines in a salt pond, characterized in that it comprises two sets of bearing seats (1), and adjustment guide rods (2) and reinforcing rods are respectively embedded between the two sets of bearing seats (1). (4), the reinforcement rod (4) is located in front of the adjustment guide rod (2), and two sets of adjustment frames (3) are fitted on the outer surface of the adjustment guide rod (2). ) are fitted with two sets of reinforcing frames (6), and a platform seat (5) is provided below the adjusting guide rod (2) and below the reinforcing rod (4). The platform seat (5) Two sets of connecting rods (8) and two sets of reinforcing brackets (7) extend obliquely from the upper end surface of the connecting rods (8), the connecting rods (8) are located at the rear of the reinforcing brackets (7), and the ends of the connecting rods (8) are connected to the The ends of the reinforcing bracket (7) are horizontally embedded with the platform main body (9), the connecting rod (8) is connected with the adjusting frame (3), and the reinforcing bracket (7) is connected with the reinforcing frame (6), A fixing seat (10) is inlaid between the two sets of the adjusting frames (3), the upper end surface of the fixing seat (10) is magnetically fixed and installed with a fixing column (11), and the fixing column (11) fits and penetrates through on the upper end face of the adjusting guide rod (2). 2.根据权利要求1所述的用于盐池中的电力线路检修的作业平台,其特征在于,所述调节框(3)的前端面延伸有二号连接块(16),所述二号连接块(16)的端部与连接拉杆(8)固定连接。2 . The work platform for overhauling power lines in a salt pond according to claim 1 , wherein a No. 2 connecting block ( 16 ) extends from the front end surface of the adjusting frame ( 3 ), and the No. 2 connection The end of the block (16) is fixedly connected with the connecting rod (8). 3.根据权利要求1所述的用于盐池中的电力线路检修的作业平台,其特征在于,所述加强框(6)的前端面延伸有一号连接块(15),所述一号连接块(15)的端部与加强支架(7)固定连接。3. The work platform for overhauling power lines in a salt pond according to claim 1, wherein a No. 1 connecting block (15) extends from the front end surface of the reinforcing frame (6), and the No. 1 connecting block The end of (15) is fixedly connected with the reinforcing bracket (7). 4.根据权利要求1所述的用于盐池中的电力线路检修的作业平台,其特征在于,所述调节导杆(2)的上端面开设有多组调节孔(13),所述固定柱(11)贴合于其中一组调节孔(13)的内部。4 . The work platform for overhauling power lines in a salt pond according to claim 1 , wherein the upper end surface of the adjustment guide rod ( 2 ) is provided with a plurality of sets of adjustment holes ( 13 ). (11) is fitted to the inside of one set of adjustment holes (13). 5.根据权利要求4所述的用于盐池中的电力线路检修的作业平台,其特征在于,所述调节孔(13)的内部上边缘处开设为斜面,所述固定柱(11)的上端部镶嵌有拉环(14)。5. The work platform for overhauling power lines in a salt pond according to claim 4, characterized in that the inner upper edge of the adjustment hole (13) is opened as a slope, and the upper end of the fixing column (11) The top is inlaid with a pull ring (14). 6.根据权利要求1所述的用于盐池中的电力线路检修的作业平台,其特征在于,所述固定柱(11)的外侧镶嵌有磁环(12),所述磁环(12)与固定座(10)相吸附。6 . The work platform for overhauling power lines in a salt pond according to claim 1 , wherein a magnetic ring ( 12 ) is inlaid on the outer side of the fixing column ( 11 ), and the magnetic ring ( 12 ) is connected with the magnetic ring ( 12 ). 7 . The fixed seat (10) is adsorbed.
CN202122565748.4U 2021-10-25 2021-10-25 A operation platform that is arranged in electric power circuit of salt pond to overhaul Expired - Fee Related CN216530219U (en)

Priority Applications (1)

Application Number Priority Date Filing Date Title
CN202122565748.4U CN216530219U (en) 2021-10-25 2021-10-25 A operation platform that is arranged in electric power circuit of salt pond to overhaul

Applications Claiming Priority (1)

Application Number Priority Date Filing Date Title
CN202122565748.4U CN216530219U (en) 2021-10-25 2021-10-25 A operation platform that is arranged in electric power circuit of salt pond to overhaul

Publications (1)

Publication Number Publication Date
CN216530219U true CN216530219U (en) 2022-05-13

Family

ID=81525067

Family Applications (1)

Application Number Title Priority Date Filing Date
CN202122565748.4U Expired - Fee Related CN216530219U (en) 2021-10-25 2021-10-25 A operation platform that is arranged in electric power circuit of salt pond to overhaul

Country Status (1)

Country Link
CN (1) CN216530219U (en)

Similar Documents

Publication Publication Date Title
CN208650862U (en) A kind of anti-collapse suspension device of constructing tunnel
CN216530219U (en) A operation platform that is arranged in electric power circuit of salt pond to overhaul
CN111633689B (en) A remove base for intelligent robot
CN212331096U (en) A remove base for intelligent robot
CN221628199U (en) Tunnel anchor bolt support frame convenient to equipment
CN220867997U (en) Bridge basin type support installation auxiliary device
CN222328046U (en) Temporary rigid supporting leg fixing device for disassembling portal crane
CN104905915B (en) Lift type multifunctional wheelchair and implementation method thereof
CN2416219Y (en) Screen door unit frame structure
CN212543700U (en) High-reliability roof photovoltaic support
CN208884951U (en) A kind of climbing frame for building that stability is good
CN213770979U (en) Convenient modularized design elevator car of dismantling
CN207858146U (en) A kind of rear axle firm banking for rear-axle welding
CN116517259B (en) Attached lifting scaffold
CN206346518U (en) A kind of assembly type grandstand
CN220414805U (en) Building machine reinforcement backup limit structure
CN223175656U (en) Install in steel roofing installation movable gallows of purlin
CN220093748U (en) Horizontal machining center gear motor installation device
CN218021649U (en) Oxygen tank cart for welding
CN216239607U (en) Civil engineering construction support
CN216854310U (en) Loft goods shelf
CN216974096U (en) Movable full scaffold for curve cast-in-place tunnel
CN220928610U (en) Reinforced bearing frame
CN221119315U (en) Supplementary corner post supports platform structure that encorbelments
CN219298720U (en) Building construction shaped steel outer frame that encorbelments

Legal Events

Date Code Title Description
GR01 Patent grant
GR01 Patent grant
CF01 Termination of patent right due to non-payment of annual fee
CF01 Termination of patent right due to non-payment of annual fee

Granted publication date: 20220513