CN216516183U - Integral filler wall brickwork drawknot muscle built-in fitting - Google Patents
Integral filler wall brickwork drawknot muscle built-in fitting Download PDFInfo
- Publication number
- CN216516183U CN216516183U CN202122940904.0U CN202122940904U CN216516183U CN 216516183 U CN216516183 U CN 216516183U CN 202122940904 U CN202122940904 U CN 202122940904U CN 216516183 U CN216516183 U CN 216516183U
- Authority
- CN
- China
- Prior art keywords
- sleeve
- groove
- integral
- vertical plate
- embedded part
- Prior art date
- Legal status (The legal status is an assumption and is not a legal conclusion. Google has not performed a legal analysis and makes no representation as to the accuracy of the status listed.)
- Expired - Fee Related
Links
- 239000000945 filler Substances 0.000 title 1
- 210000003205 muscle Anatomy 0.000 title 1
- 229910000831 Steel Inorganic materials 0.000 claims abstract description 13
- 239000010959 steel Substances 0.000 claims abstract description 13
- 230000002787 reinforcement Effects 0.000 claims description 3
- 239000004567 concrete Substances 0.000 description 7
- 239000004570 mortar (masonry) Substances 0.000 description 4
- 238000010586 diagram Methods 0.000 description 2
- 230000000694 effects Effects 0.000 description 2
- 238000009434 installation Methods 0.000 description 2
- 238000000034 method Methods 0.000 description 2
- 239000011150 reinforced concrete Substances 0.000 description 2
- 230000009286 beneficial effect Effects 0.000 description 1
- 239000011449 brick Substances 0.000 description 1
- 238000009435 building construction Methods 0.000 description 1
- 238000005336 cracking Methods 0.000 description 1
- 230000007547 defect Effects 0.000 description 1
- 238000006073 displacement reaction Methods 0.000 description 1
Images
Landscapes
- Conveying And Assembling Of Building Elements In Situ (AREA)
Abstract
本申请公开了一种整体式填充墙砌体拉结筋预埋件,涉及拉结筋预埋件技术领域,其技术方案包括:支架、竖板以及套筒,所述支架包括焊接于钢筋骨架内的多根钢筋,且所述支架的延伸方向与钢筋骨架的延伸方向相垂直,所述竖板固定连接在支架上,所述竖板的延伸方向与支架的延伸方向相垂直,所述套筒套设在螺纹套的外侧,所述竖板上开设有长条槽,所述套筒滑动连接于长条槽内,且所述套筒的一端穿过长条槽,所述套筒上设置有将套筒锁定在长条槽内的锁定组件,本申请在使用时,能够在拉结筋不在填充墙砌体灰缝中时,对拉结筋的高度进行调整。
The application discloses an integral infill wall masonry tie-bar pre-embedded part, which relates to the technical field of tie-bar pre-embedded parts. The technical scheme includes: a bracket, a vertical plate and a sleeve; The extension direction of the support is perpendicular to the extension direction of the steel skeleton, the vertical plate is fixedly connected to the support, the extension direction of the vertical plate is perpendicular to the extension direction of the support, and the sleeve The sleeve is set on the outer side of the threaded sleeve, the vertical plate is provided with a long groove, the sleeve is slidably connected in the long groove, and one end of the sleeve passes through the long groove, and the sleeve is A locking assembly for locking the sleeve in the elongated groove is provided, and the height of the tie bars can be adjusted when the tie bars are not in the ash joints of the filling wall masonry when the application is in use.
Description
技术领域technical field
本申请涉及拉结筋预埋件技术领域,尤其是涉及一种整体式填充墙砌体拉结筋预埋件。The present application relates to the technical field of tie reinforcement embedded parts, and in particular to an integral infill wall masonry tie reinforcement embedded part.
背景技术Background technique
在建筑施工中,为保证混凝土结构与填充墙砌体的整体性,通常采用拉结筋将混凝土结构与砌体结构拉结成为一个整体,一般做法采用预埋植筋的方式,将混凝土与砌体结构进行拉结,预埋件的作用是与现浇结构浇注在一起,用来焊接填充墙拉结筋使用,将拉结筋砌到墙里面,摆在砖层当中起连接砌体防止开裂的作用。In building construction, in order to ensure the integrity of the concrete structure and the masonry of the filling wall, the concrete structure and the masonry structure are usually tied together by tie bars. The function of the pre-embedded parts is to cast together with the cast-in-place structure, and they are used to weld the infill wall tie bars. The tie bars are built into the wall and placed in the brick layer to connect the masonry to prevent cracking. effect.
现有的专利申请号为CN 201420785952.4的专利,提出了一种钢筋混凝土墙板拉结筋预埋件包括螺栓套、支架和拉结筋,螺栓套通过支架焊接在钢筋骨架相应位置处,浇注在混凝土墙板内部,螺栓套外端刚好露出在钢筋混凝土墙板的侧面,拉结筋可以通过螺纹与螺栓套连接,可以提高混凝土结构的抗震性能。The existing patent application number is CN 201420785952.4, which proposes a reinforced concrete wall panel tie rib embedded part including a bolt sleeve, a bracket and a tie rib. Inside the concrete wall panel, the outer end of the bolt sleeve is just exposed on the side of the reinforced concrete wall panel, and the tie bars can be connected with the bolt sleeve through threads, which can improve the seismic performance of the concrete structure.
针对上述中的相关技术,发明人认为存在有以下缺陷:由于螺栓套通过支架焊接在钢筋骨架相应位置处,在浇注混凝土过程中,由于振捣混凝土时随着钢筋骨架产生位移,可能会出现与螺纹套螺纹连接的拉结筋不在填充墙砌体灰缝中的情况,对此有待进一步改善。In view of the above-mentioned related art, the inventor believes that there are the following defects: since the bolt sleeve is welded at the corresponding position of the steel frame through the bracket, in the process of pouring the concrete, due to the displacement of the steel frame when the concrete is vibrated, there may be problems with the steel frame. The situation that the tie bars of the threaded connection of the threaded sleeve are not in the mortar joints of the infill wall masonry needs to be further improved.
实用新型内容Utility model content
为了改善可能出现拉结筋不在填充墙砌体灰缝中的问题,本申请提供一种整体式填充墙砌体拉结筋预埋件。In order to improve the problem that the tie bars may not be in the ash joints of the infill wall masonry, the present application provides an integral infill wall masonry tie bar pre-embedded part.
本申请提供的一种整体式填充墙砌体拉结筋预埋件,采用如下的技术方案:An integral infill wall masonry tie-bar pre-embedded part provided by the application adopts the following technical scheme:
一种整体式填充墙砌体拉结筋预埋件,包括支架、竖板以及套筒,所述支架包括焊接于钢筋骨架内的多根钢筋,且所述支架的延伸方向与钢筋骨架的延伸方向相垂直,所述竖板固定连接在支架上,所述竖板的延伸方向与支架的延伸方向相垂直,所述套筒套设在螺纹套的外侧,所述竖板上开设有长条槽,所述套筒滑动连接于长条槽内,且所述套筒的一端穿过长条槽,所述套筒上设置有将套筒锁定在长条槽内的锁定组件。An integral infill wall masonry tie-bar pre-embedded part includes a bracket, a vertical plate and a sleeve, the bracket includes a plurality of steel bars welded in a steel frame, and the extension direction of the support is the same as the extension of the steel frame. The vertical direction is perpendicular, the vertical plate is fixedly connected to the bracket, the extending direction of the vertical plate is vertical to the extending direction of the bracket, the sleeve is sleeved on the outer side of the threaded sleeve, and the vertical plate is provided with a long strip The sleeve is slidably connected in the elongated slot, one end of the sleeve passes through the elongated slot, and the sleeve is provided with a locking component for locking the sleeve in the elongated slot.
通过采用上述技术方案,设置的套筒滑动连接于长条槽内,套筒套设在螺纹套的外侧,可以通过调节套筒在长条槽内的高度,实现螺纹套的高度调节,调节至适宜高度后,通过锁定组件将套筒锁定在竖板上,从而可以改善可能出现拉结筋不在填充墙砌体灰缝中的问题。By adopting the above technical solution, the sleeve is slidably connected to the elongated groove, and the sleeve is sleeved on the outer side of the threaded sleeve. By adjusting the height of the sleeve in the elongated groove, the height of the threaded sleeve can be adjusted to After the height is suitable, the sleeve is locked on the riser by the locking assembly, which can improve the problem that the tie bar is not in the mortar joint of the infill wall masonry.
可选的,所述锁定组件包括限位件以及锁定件,所述限位件包括限位片,所述限位片上开设有供套筒穿过的穿孔,所述限位片滑动连接于套筒穿过长条槽的一端。Optionally, the locking assembly includes a limit piece and a lock piece, the limit piece includes a limit piece, the limit piece is provided with a through hole for the sleeve to pass through, and the limit piece is slidably connected to the sleeve. The barrel passes through one end of the elongated slot.
通过采用上述技术方案,设置的限位片,使套筒穿过穿孔,通过锁定件将套筒锁定在竖板上,限位片可以限制套筒的位置,减少出现套筒晃动的情况。By adopting the above technical solution, the limiting piece is provided so that the sleeve passes through the perforation, and the sleeve is locked on the vertical plate by the locking piece, the limiting piece can limit the position of the sleeve and reduce the shaking of the sleeve.
可选的,所述套筒穿过长条槽的一端的外侧设有外螺纹,所述锁定件包括螺纹连接于套筒穿出长条槽一端的螺母,所述螺母抵接限位片远离竖板一侧。Optionally, an outer thread is provided on the outer side of one end of the sleeve passing through the elongated groove, the locking member includes a nut threadedly connected to the end of the sleeve passing through the elongated groove, and the nut abuts the limiting piece away from the long groove. one side of the riser.
通过采用上述技术方案,设置的螺母,旋转螺母,将螺母抵紧在限位片的远离竖板一侧的表面,从而可以将限位片紧紧的抵在竖板表面,实现对套筒的固定。By adopting the above technical solution, the nut is set, the nut is rotated, and the nut is pressed against the surface of the limit piece on the side away from the vertical plate, so that the limit piece can be tightly pressed against the surface of the vertical plate, so as to realize the safety of the sleeve. fixed.
可选的,所述穿孔的尺寸与套筒的尺寸相适配。Optionally, the size of the through hole is adapted to the size of the sleeve.
通过采用上述技术方案,设置的穿孔的尺寸与套筒的尺寸相适配,可以减少出现套筒晃动的情况。By adopting the above technical solution, the size of the provided through hole is adapted to the size of the sleeve, so that the situation that the sleeve shakes can be reduced.
可选的,所述套筒远离穿出长条槽一端的内侧设有凹槽,所述凹槽内通过弹性件滑动连接有滑块,所述滑块上设置有使螺纹套卡在套筒内侧的卡紧件。Optionally, a groove is provided on the inner side of the sleeve away from one end that passes through the long groove, and a slider is slidably connected in the groove through an elastic member, and the slider is provided with a threaded sleeve to be clamped on the sleeve. inner clip.
通过采用上述技术方案,设置的滑块在凹槽内滑动,在弹性件的作用下,可以使螺纹套在套筒内滑动时,卡紧件收缩在凹槽内,当螺纹套滑动至预定位置时,可以使卡紧件将螺纹套卡紧。By adopting the above technical solution, the slider slides in the groove, and under the action of the elastic member, when the threaded sleeve slides in the sleeve, the clamping member shrinks in the groove, and when the threaded sleeve slides to a predetermined position When the clamp is used, the threaded sleeve can be clamped tightly by the clamping piece.
可选的,所述弹性件包括弹性弹簧,所述弹性弹簧的一端与凹槽的内壁固定连接,所述弹性弹簧的另一端与滑块靠近凹槽内壁一侧固定连接。Optionally, the elastic member includes an elastic spring, one end of the elastic spring is fixedly connected to the inner wall of the groove, and the other end of the elastic spring is fixedly connected to the side of the slider close to the inner wall of the groove.
通过采用上述技术方案,设置的弹性弹簧,可以利用弹性弹簧的弹性力实现滑块在凹槽内滑动。By adopting the above technical solution, the provided elastic spring can utilize the elastic force of the elastic spring to realize sliding of the slider in the groove.
可选的,所述卡紧件包括安装在滑块远离凹槽内壁一侧的卡块,所述卡块呈斜楔状设置,所述螺纹套的外侧开设有与卡块相适配的卡槽。Optionally, the clamping member includes a clamping block installed on the side of the slider away from the inner wall of the groove, the clamping block is arranged in an oblique wedge shape, and the outer side of the threaded sleeve is provided with a clamping groove adapted to the clamping block. .
通过采用上述技术方案,设置的卡块,可以利用弹性弹簧的弹性作用力,带动滑块在凹槽内滑动,滑块与卡块固定连接,从而可以带动卡块收缩至凹槽,或者卡至卡槽。By adopting the above technical solution, the provided clamping block can use the elastic force of the elastic spring to drive the slider to slide in the groove, and the sliding block is fixedly connected with the clamping block, so that the clamping block can be driven to shrink into the groove, or be stuck to the groove. card slot.
可选的,所述螺母与限位片之间设置有弹性垫圈。Optionally, an elastic washer is arranged between the nut and the limiting piece.
通过采用上述技术方案,设置的弹性垫圈,可以使螺母将限位片更加牢固的抵在竖板表面,另一方面,可以减少在不断旋转螺母的过程中,限位片表面受到的磨损。By adopting the above technical solution, the elastic washer provided can make the nut more firmly abut the limiting piece on the surface of the vertical plate, and on the other hand, can reduce the wear on the surface of the limiting piece during the continuous rotation of the nut.
综上所述,本申请包括以下至少一种有益技术效果:To sum up, the present application includes at least one of the following beneficial technical effects:
1.设置的套筒、限位片以及螺母,可以使螺母将限位片抵在竖板的表面,实现对套筒的锁定,当需要再次调整高度时,可以反向旋转螺母,将螺母拧松,实现套筒高度的快速调节,当出现拉结筋不在填充墙砌体灰缝中的问题,可以非常方便快捷的对套筒的高度进行调节;1. The set sleeve, limit piece and nut can make the nut push the limit piece against the surface of the vertical plate to realize the locking of the sleeve. When the height needs to be adjusted again, the nut can be reversely rotated and the nut can be screwed. The height of the sleeve can be adjusted quickly and easily. When there is a problem that the tie bars are not in the mortar joints of the filling wall masonry, the height of the sleeve can be adjusted very conveniently and quickly;
2.设置的弹性弹簧、滑块以及卡块,可以实现套筒套设在螺纹套的外侧,将卡块抵在凹槽内,使螺纹套滑动至套筒内侧,滑动至卡块靠近卡槽时,利用弹性弹簧的弹性作用力,使卡块卡在卡槽内。2. The elastic spring, slider and clamping block provided can realize that the sleeve is set on the outer side of the threaded sleeve, and the clamping block is pressed into the groove, so that the threaded sleeve slides to the inner side of the sleeve, and slides until the clamping block is close to the groove. When the elastic force of the elastic spring is used, the card block is stuck in the card slot.
附图说明Description of drawings
图1是本申请实施例的整体结构示意图;Fig. 1 is the overall structure schematic diagram of the embodiment of the present application;
图2是本申请实施例的整体剖视结构示意图;Fig. 2 is the overall sectional structure schematic diagram of the embodiment of the present application;
图3是图2中A部分的放大示意图。FIG. 3 is an enlarged schematic view of part A in FIG. 2 .
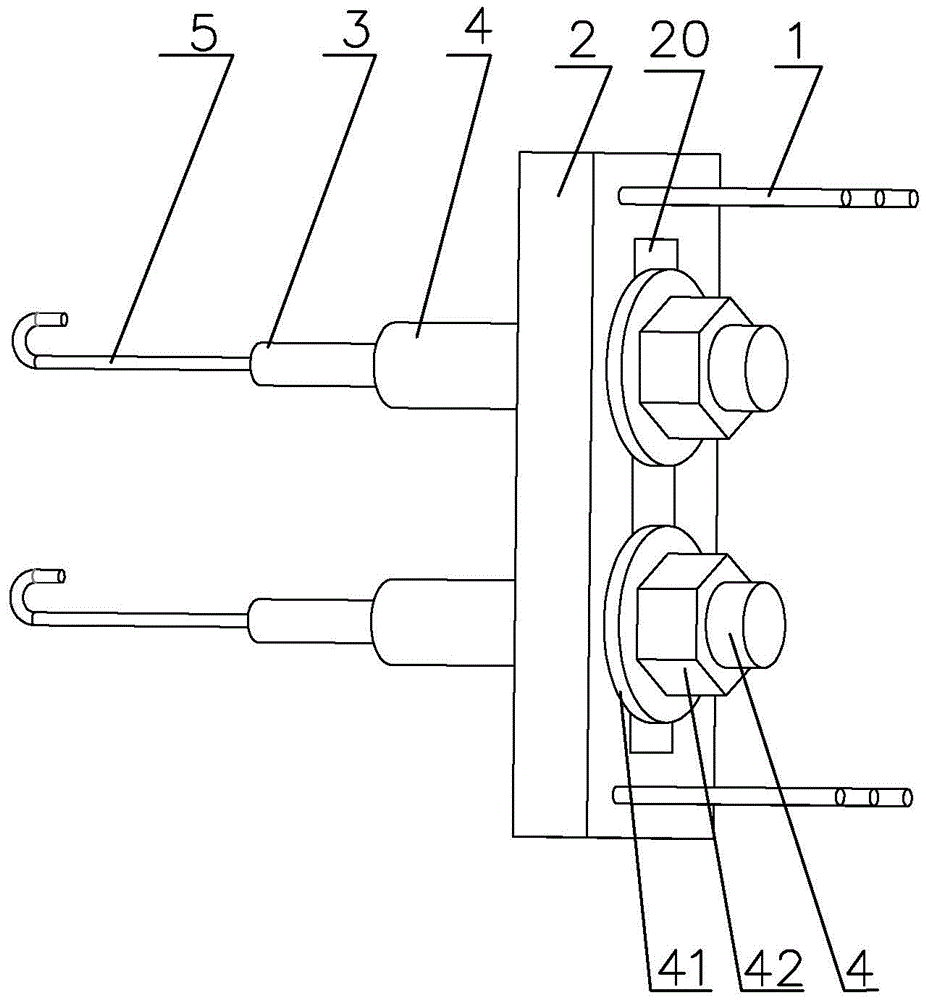
附图标记:1、支架;2、竖板;20、长条槽;3、螺纹套;4、套筒;41、限位片;42、螺母;43、凹槽;44、滑块;45、弹性弹簧;46、卡块;47、卡槽;5、拉结筋。Reference numerals: 1, bracket; 2, vertical plate; 20, long slot; 3, threaded sleeve; 4, sleeve; 41, limit piece; 42, nut; 43, groove; 44, slider; 45 , elastic spring; 46, card block; 47, card slot; 5, tie bar.
具体实施方式Detailed ways
以下结合附图对本申请作进一步详细说明。The present application will be further described in detail below with reference to the accompanying drawings.
本申请实施例公开一种整体式填充墙砌体拉结筋预埋件,参照图1,包括支架1、竖板2以及套筒4,支架1包括多根钢筋,多根钢筋与钢筋骨架内的钢筋固定连接,并且支架1内的钢筋与钢筋骨架的延伸方向相垂直,竖板2可采用钢板,竖板2上开设有安装孔,支架1内的钢筋插入安装孔,并且将竖板2焊接固定在支架1上,使支架1对竖板2起到支撑的作用,在竖板2上开设有长条槽20,长条槽20的延伸方向与竖板2的延伸方向一致,套筒4内为中空设置,套筒4套设在螺纹套3的外侧,螺纹套3内侧螺纹连接有拉结筋5,套筒4的一端穿过长条槽20,并且套筒4滑动连接于长条槽20内,在套筒4穿过长条槽20的一端设置有锁定套筒4的锁定组件,当需要调节拉结筋5的高度时,可以将锁定组件解除,根据需要的高度对套筒4的高度进行调节,以实现对拉结筋5高度的调节。The embodiment of the present application discloses an integral infill wall masonry tie-bar pre-embedded part. Referring to FIG. 1 , it includes a
在本实施例中,参照图2,锁定组件包括限位片41以及螺母42,限位片41上开设有穿孔,穿孔的尺寸与套筒4的尺寸相适配,可以使套筒4穿过穿孔,并且可以使套筒4不会在限位片41上晃动,限位片41滑动连接于套筒4穿出长条槽20的一端,套筒4穿出长条槽20的一端的外侧设置有螺纹,螺母42螺纹连接于套筒4的外侧,螺母42可以采用六角螺母42,使用扳手旋转螺母42,将螺母42抵接在限位片41远离竖板2的一侧,使螺母42将限位紧紧的抵压在竖板2的表面,实现对套筒4的固定。In this embodiment, referring to FIG. 2 , the locking assembly includes a
当拉结筋5不在填充墙砌体灰缝中时,可以将反向旋转螺母42,将螺母42对限位片41的锁定解除,然后在长条槽20内沿长条槽20的延伸方向滑动套筒4,使拉结筋5能够卡在填充墙砌体的灰缝中,然后再将螺母42拧紧,将螺母42拧至限位片41能够紧紧的抵接在竖板2表面,再次实现对套筒4的锁定,从而可以实现对拉结筋5的固定,并且在限位片41与螺母42之间设置有弹性垫圈,不仅可以使螺母42将限位片41抵压的更加牢固,而且可以减少在不断旋转螺母42的过程中,限位片41表面受到的磨损。When the
在本实施例中,参照图2和图3,套筒4远离穿出长条槽20一端的内部开设有凹槽43,凹槽43内滑动连接有滑块44,滑块44与凹槽43的内壁通过弹性弹簧45相连接,弹性弹簧45的一端与凹槽43的内壁固定连接,弹性弹簧45的另一端与滑块44靠近凹槽43内壁的一端固定连接,滑块44远离弹性弹簧45的一侧安装有卡块46,卡块46设置为斜楔状,凹槽43可以容纳滑块44以及卡块46,在螺纹套3的外侧开设有与卡块46相适配的卡槽47,螺纹套3的尺寸比套筒4的尺寸略小,先将套筒4内的卡块46抵在螺纹套3的外表面,可以使螺纹套3在套筒4内滑动,螺纹套3抵压卡块46,将卡块46收缩至凹槽43内,当滑动至卡块46靠近卡槽47时,卡块46会在弹性弹簧45的作用下卡入卡槽47,实现套筒4与螺纹套3的固定。In this embodiment, referring to FIG. 2 and FIG. 3 , a
本申请实施例一种整体式填充墙砌体拉结筋5预埋件的实施原理为:当出现拉结筋5不在填充墙砌体灰缝中的情况时,因为拉结筋5螺纹连接于螺纹套3的内部,螺纹套3通过弹性弹簧45、滑块44以及卡块46套设在套筒4的内部,可以通过调节套筒4在长条槽20内的高度,从而可以对拉结筋5的高度进行调整,将螺母42向远离限位片41的方向旋转,将螺母42拧松,然后使套筒4在长条槽20内沿长条槽20的延伸方向滑动,实现套筒4的高度调节,从而可以实现对拉结筋5高度的调整,使拉结筋5能够处在填充墙砌体的灰缝中,然后再灌注混凝土。The implementation principle of an integral infill wall
以上均为本申请的较佳实施例,并非依此限制本申请的保护范围,故:凡依本申请的结构、形状、原理所做的等效变化,均应涵盖于本申请的保护范围之内。The above are all preferred embodiments of the present application, and are not intended to limit the protection scope of the present application. Therefore: all equivalent changes made according to the structure, shape and principle of the present application should be included in the protection scope of the present application. Inside.
Claims (8)
Priority Applications (1)
| Application Number | Priority Date | Filing Date | Title |
|---|---|---|---|
| CN202122940904.0U CN216516183U (en) | 2021-11-23 | 2021-11-23 | Integral filler wall brickwork drawknot muscle built-in fitting |
Applications Claiming Priority (1)
| Application Number | Priority Date | Filing Date | Title |
|---|---|---|---|
| CN202122940904.0U CN216516183U (en) | 2021-11-23 | 2021-11-23 | Integral filler wall brickwork drawknot muscle built-in fitting |
Publications (1)
| Publication Number | Publication Date |
|---|---|
| CN216516183U true CN216516183U (en) | 2022-05-13 |
Family
ID=81464008
Family Applications (1)
| Application Number | Title | Priority Date | Filing Date |
|---|---|---|---|
| CN202122940904.0U Expired - Fee Related CN216516183U (en) | 2021-11-23 | 2021-11-23 | Integral filler wall brickwork drawknot muscle built-in fitting |
Country Status (1)
| Country | Link |
|---|---|
| CN (1) | CN216516183U (en) |
Cited By (1)
| Publication number | Priority date | Publication date | Assignee | Title |
|---|---|---|---|---|
| CN116446538A (en) * | 2023-04-25 | 2023-07-18 | 中铁四局集团有限公司 | Assembled wall tie bar embedded part and installation and fixation method thereof |
-
2021
- 2021-11-23 CN CN202122940904.0U patent/CN216516183U/en not_active Expired - Fee Related
Cited By (1)
| Publication number | Priority date | Publication date | Assignee | Title |
|---|---|---|---|---|
| CN116446538A (en) * | 2023-04-25 | 2023-07-18 | 中铁四局集团有限公司 | Assembled wall tie bar embedded part and installation and fixation method thereof |
Similar Documents
| Publication | Publication Date | Title |
|---|---|---|
| US20080173788A1 (en) | Lightweight Crane-Set Forming Panel | |
| CN216516183U (en) | Integral filler wall brickwork drawknot muscle built-in fitting | |
| CN110258932A (en) | A kind of sleeve connection structure and sleeve | |
| CN103397787B (en) | The two-way X intersection of a kind of reinforced column underpinning technique | |
| US20160289982A1 (en) | Formwork element | |
| US20020189193A1 (en) | Barrier cable end bracket assembly | |
| WO2018112681A1 (en) | Construction formwork | |
| CN207727617U (en) | A kind of multi-section bar Shi Hafen slot embedded parts installation device for positioning and securing | |
| CN207700669U (en) | A kind of bracing means of builder's jack and laminated floor slab | |
| CN107859247B (en) | A kind of multi-functional reinforcement protection layer control device and construction method | |
| CN119352653A (en) | Embedded parts for engineering construction | |
| KR200450331Y1 (en) | Retrofit die fixture | |
| JP3810759B2 (en) | Edge widening structure of existing substructure by precast block and its construction method | |
| CN217557414U (en) | Steel bar positioning device convenient to adjust and have enough to meet need | |
| CN211850023U (en) | A modular building prestressed tenon joint structure | |
| CN215670176U (en) | A detachable exterior wall waterproof deformation joint construction structure | |
| CN211228918U (en) | A revolvable auxiliary wall support | |
| KR200426202Y1 (en) | Formwork fixture | |
| KR100609500B1 (en) | Temporary material fixing device using rebar | |
| CN222350245U (en) | Cast-in-place concrete wall form reinforcing and supporting assembly | |
| CN208748838U (en) | Cantilevered steel beam anchoring structure | |
| TWI868292B (en) | Fixing assembly with steel bar pad and formwork lock | |
| CN222667570U (en) | Can have enough to meet need two fastener formula outer frame even wall spare | |
| CN222614548U (en) | Assembled wallboard built-in fitting | |
| CN219887573U (en) | Shear wall template installation reinforcing apparatus |
Legal Events
| Date | Code | Title | Description |
|---|---|---|---|
| GR01 | Patent grant | ||
| GR01 | Patent grant | ||
| CF01 | Termination of patent right due to non-payment of annual fee |
Granted publication date: 20220513 |
|
| CF01 | Termination of patent right due to non-payment of annual fee |
