CN216408765U - A crystal glass lamp that is easy to disassemble and assemble - Google Patents
A crystal glass lamp that is easy to disassemble and assemble Download PDFInfo
- Publication number
- CN216408765U CN216408765U CN202220006396.0U CN202220006396U CN216408765U CN 216408765 U CN216408765 U CN 216408765U CN 202220006396 U CN202220006396 U CN 202220006396U CN 216408765 U CN216408765 U CN 216408765U
- Authority
- CN
- China
- Prior art keywords
- lamp
- wall
- crystal
- nut seat
- support rod
- Prior art date
- Legal status (The legal status is an assumption and is not a legal conclusion. Google has not performed a legal analysis and makes no representation as to the accuracy of the status listed.)
- Expired - Fee Related
Links
- 239000005355 lead glass Substances 0.000 title claims abstract description 13
- 239000013078 crystal Substances 0.000 claims abstract description 24
- 230000007246 mechanism Effects 0.000 claims abstract description 17
- 230000008878 coupling Effects 0.000 claims abstract description 5
- 238000010168 coupling process Methods 0.000 claims abstract description 5
- 238000005859 coupling reaction Methods 0.000 claims abstract description 5
- 239000011521 glass Substances 0.000 claims 1
- 230000000694 effects Effects 0.000 abstract description 5
- 238000010586 diagram Methods 0.000 description 2
- 241001465382 Physalis alkekengi Species 0.000 description 1
- 230000009286 beneficial effect Effects 0.000 description 1
- 238000005516 engineering process Methods 0.000 description 1
- 238000009434 installation Methods 0.000 description 1
- 238000000034 method Methods 0.000 description 1
- 230000004048 modification Effects 0.000 description 1
- 238000012986 modification Methods 0.000 description 1
Images
Landscapes
- Non-Portable Lighting Devices Or Systems Thereof (AREA)
Abstract
本实用新型公开了一种便于拆装的水晶玻璃灯,包括灯架和水晶灯,灯架顶部固定连接有安装板,且灯架顶端内壁螺栓连接有固定座,固定座内壁嵌设有电机,电机输出端通过联轴器与螺纹杆顶端固接,本实用新型中,通过电机的转动带动螺纹杆转动,转动的螺纹杆带动螺母座在螺纹杆上移动,转动的螺纹杆带动螺母座在螺纹杆上移动,从而可驱动摆动机构带动水晶灯进行摆动,达到对水晶灯之间的位置和角度调节的效果,通过导板在灯架内壁的滑动设置可对螺母座进行限位,防止螺纹杆带动螺母座自转而无法上下移动,通过灯罩和水晶灯与固定头之间的螺纹连接便于进行安装和拆卸,可通过摆动机构将灯杆转动至收纳槽中进行收纳,节约空间,便于对灯体的运输。
The utility model discloses a crystal glass lamp which is easy to disassemble and assemble, which comprises a lamp holder and a crystal lamp. A mounting plate is fixedly connected to the top of the lamp holder, a fixing seat is bolted on the inner wall of the top of the lamp holder, and a motor is embedded in the inner wall of the fixing seat. The output end of the motor is fixedly connected with the top end of the threaded rod through a coupling. In this utility model, the rotation of the motor drives the threaded rod to rotate, the rotating threaded rod drives the nut seat to move on the threaded rod, and the rotating threaded rod drives the nut seat to move on the threaded rod. By moving on the rod, the swing mechanism can be driven to drive the crystal lamp to swing, and the effect of adjusting the position and angle between the crystal lamps can be achieved. The nut seat rotates and cannot move up and down. It is easy to install and disassemble through the threaded connection between the lampshade, the crystal lamp and the fixed head. transportation.
Description
技术领域technical field
本实用新型涉及灯具技术领域,尤其涉及一种便于拆装的水晶玻璃灯。The utility model relates to the technical field of lamps, in particular to a crystal glass lamp which is easy to disassemble and assemble.
背景技术Background technique
水晶灯是吊装在室内天花板上的高级装饰用照明灯,所有垂吊下来的灯具都归入吊灯类别,水晶灯的花样最多,且随着灯具技术的成熟,各种灯具发展迅速,灯具不但可以用来照明,同时也可以装扮房间。Crystal lamps are high-grade decorative lighting lamps that are hung on the indoor ceiling. All hanging lamps are classified into the category of chandeliers. Crystal lamps have the most patterns. With the maturity of lighting technology, various lamps and lanterns have developed rapidly. Used for lighting, but also to decorate the room.
然而现有的大部分水晶玻璃灯在使用时,其角度不易调节,导致照明效果不易调整,且由于水晶灯的灯体庞大,不易运输和安装。However, when most of the existing crystal glass lamps are in use, the angle is not easy to adjust, so the lighting effect is not easy to adjust, and because the lamp body of the crystal lamp is large, it is difficult to transport and install.
实用新型内容Utility model content
本实用新型的目的在于:为了解决上述问题,而提出的一种便于拆装的水晶玻璃灯。The purpose of the utility model is to provide a crystal glass lamp that is easy to disassemble and assemble in order to solve the above problems.
为了实现上述目的,本实用新型采用了如下技术方案:In order to achieve the above-mentioned purpose, the utility model adopts the following technical scheme:
一种便于拆装的水晶玻璃灯,包括灯架和水晶灯,所述灯架顶部固定连接有安装板,且所述灯架顶端内壁螺栓连接有固定座,所述固定座内壁嵌设有电机,所述电机输出端通过联轴器与螺纹杆顶端固接,所述螺纹杆外端螺纹连接有螺母座,所述螺母座外壁设置有摆动机构。A crystal glass lamp that is easy to disassemble and assemble, comprising a lamp frame and a crystal lamp, a mounting plate is fixedly connected to the top of the lamp frame, and a fixing seat is bolted to the inner wall of the top of the lamp frame, and a motor is embedded in the inner wall of the fixing seat The motor output end is fixedly connected with the top end of the threaded rod through a coupling, the outer end of the threaded rod is threadedly connected with a nut seat, and the outer wall of the nut seat is provided with a swing mechanism.
作为上述技术方案的进一步描述:As a further description of the above technical solution:
所述摆动机构包括第一支杆、弹簧、第二支杆和灯杆,所述第二支杆一端转动设置于螺母座外壁,所述第二支杆另一端通过弹簧与第一支杆固接,所述第一支杆铰接设置于灯杆一端,所述灯杆转动设置于安装架内侧壁。The swing mechanism includes a first support rod, a spring, a second support rod and a light rod, one end of the second support rod is rotatably arranged on the outer wall of the nut seat, and the other end of the second support rod is fixed to the first support rod through a spring. connected, the first support rod is hingedly arranged at one end of the light pole, and the light pole is rotatably arranged on the inner side wall of the mounting frame.
作为上述技术方案的进一步描述:As a further description of the above technical solution:
所述安装架固定安装于灯架内侧壁,所述灯杆远离安装架端固接有固定头,所述固定头一端螺纹连接有水晶灯,所述水晶灯外侧设置有灯罩,所述灯罩螺纹连接于固定头外端。The mounting frame is fixedly installed on the inner side wall of the lamp frame, the end of the lamp pole away from the mounting frame is fixedly connected with a fixing head, one end of the fixing head is threadedly connected with a crystal lamp, the outer side of the crystal lamp is provided with a lampshade, and the lampshade is threaded Connected to the outer end of the fixed head.
作为上述技术方案的进一步描述:As a further description of the above technical solution:
所述灯架外侧壁开设有收纳槽,所述收纳槽宽度与灯罩相契合。The outer side wall of the lamp frame is provided with a receiving groove, and the width of the receiving groove is matched with the lampshade.
作为上述技术方案的进一步描述:As a further description of the above technical solution:
所述摆动机构设置有若干组,若干组所述摆动机构均匀设置于螺母座外壁,所述螺母座通过设置的导板与灯架内壁滑动连接。。The swing mechanism is provided with several groups, and the swing mechanisms are evenly arranged on the outer wall of the nut seat, and the nut seat is slidably connected with the inner wall of the lamp holder through the provided guide plate. .
综上所述,由于采用了上述技术方案,本实用新型的有益效果是:To sum up, due to the adoption of the above-mentioned technical solutions, the beneficial effects of the present utility model are:
通过电机的转动带动螺纹杆转动,转动的螺纹杆带动螺母座在螺纹杆上移动,转动的螺纹杆带动螺母座在螺纹杆上移动,从而可驱动摆动机构带动水晶灯进行摆动,达到对水晶灯之间的位置和角度调节的效果,通过导板在灯架内壁的滑动设置可对螺母座进行限位,防止螺纹杆带动螺母座自转而无法上下移动;The rotation of the motor drives the threaded rod to rotate, the rotating threaded rod drives the nut seat to move on the threaded rod, and the rotating threaded rod drives the nut seat to move on the threaded rod, so that the swing mechanism can be driven to drive the crystal lamp to swing, so that the crystal lamp can be oscillated. The effect of adjusting the position and angle between the two, the nut seat can be limited by the sliding setting of the guide plate on the inner wall of the lamp frame, so as to prevent the threaded rod from driving the nut seat to rotate and unable to move up and down;
通过灯罩和水晶灯与固定头之间的螺纹连接便于进行安装和拆卸,可通过摆动机构将灯杆转动至收纳槽中进行收纳,节约空间,便于对灯体的运输。The threaded connection between the lampshade, the crystal lamp and the fixed head is convenient for installation and disassembly, and the lamp post can be rotated into the storage groove through the swing mechanism for storage, which saves space and facilitates the transportation of the lamp body.
附图说明Description of drawings
图1示出了根据本实用新型实施例提供的便于拆装的水晶玻璃灯剖面结构示意图;1 shows a schematic cross-sectional structure diagram of a crystal glass lamp that is easy to disassemble and assemble according to an embodiment of the present invention;
图2示出了根据本实用新型实施例提供的便于拆装的水晶玻璃灯正视结构示意图;FIG. 2 shows a schematic front view structure of a crystal glass lamp that is easy to disassemble and assemble according to an embodiment of the present invention;
图3示出了根据本实用新型实施例提供的图1中A结构放大示意图。FIG. 3 shows an enlarged schematic diagram of the structure A in FIG. 1 according to an embodiment of the present invention.
图例说明:illustration:
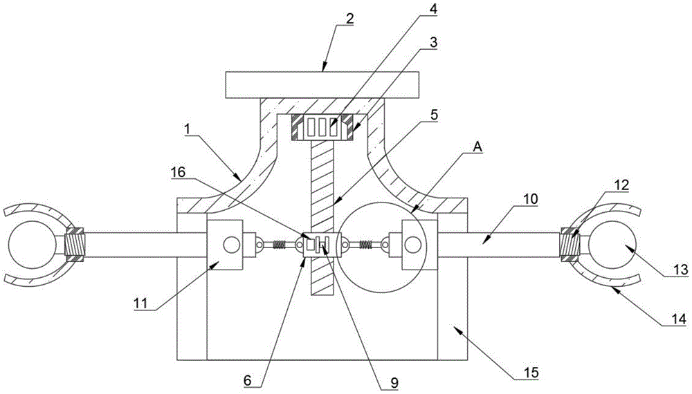
1、灯架;2、安装板;3、固定座;4、电机;5、螺纹杆;6、螺母座;7、第一支杆;8、弹簧;9、第二支杆;10、灯杆;11、安装架;12、固定头;13、水晶灯;14、灯罩;15、收纳槽;16、导板。1. Lamp stand; 2. Mounting plate; 3. Fixed seat; 4. Motor; 5. Threaded rod; 6. Nut seat; 7. First support rod; 8. Spring; 9. Second support rod; 10. Lamp Rod; 11. Mounting frame; 12. Fixed head; 13. Crystal lamp; 14. Lampshade; 15. Storage slot; 16. Guide plate.
具体实施方式Detailed ways
下面将结合本实用新型实施例中的附图,对本实用新型实施例中的技术方案进行清楚、完整地描述,显然,所描述的实施例仅仅是本实用新型一部分实施例,而不是全部的实施例。基于本实用新型中的实施例,本领域普通技术人员在没有作出创造性劳动前提下所获得的所有其它实施例,都属于本实用新型保护的范围。The technical solutions in the embodiments of the present utility model will be clearly and completely described below with reference to the accompanying drawings in the embodiments of the present utility model. Obviously, the described embodiments are only a part of the embodiments of the present utility model, rather than all the implementations. example. Based on the embodiments of the present invention, all other embodiments obtained by those of ordinary skill in the art without creative work fall within the protection scope of the present invention.
请参阅图1-3,本实用新型提供一种技术方案:Please refer to Figures 1-3, the utility model provides a technical solution:
具体的,如图1所示,一种便于拆装的水晶玻璃灯,包括灯架1和水晶灯13,灯架1顶部固定连接有安装板2,且灯架1顶端内壁螺栓连接有固定座3,固定座3内壁嵌设有电机4,电机4输出端通过联轴器与螺纹杆5顶端固接,螺纹杆5外端螺纹连接有螺母座6,螺母座6外壁设置有摆动机构,通过电机4的转动带动螺纹杆5转动,转动的螺纹杆5带动螺母座6在螺纹杆5上移动,从而可驱动摆动机构带动水晶灯13进行摆动,达到对水晶灯13之间的位置和角度调节的效果。Specifically, as shown in FIG. 1 , a crystal glass lamp that is easy to disassemble and assemble includes a
具体的,如图3所示,摆动机构包括第一支杆7、弹簧8、第二支杆9和灯杆10,第二支杆9一端转动设置于螺母座6外壁,第二支杆9另一端通过弹簧8与第一支杆7固接,第一支杆7铰接设置于灯杆10一端,灯杆10转动设置于安装架11内侧壁,通过螺母座6的移动带动第二支杆9转动,转动的第二支杆9通过弹簧8带动第一支杆7摆动,最终在第一支杆7的摆动下可带动灯杆10在安装架11上转动。Specifically, as shown in FIG. 3, the swing mechanism includes a
具体的,如图1所示,安装架11固定安装于灯架1内侧壁,灯杆10远离安装架11端固接有固定头12,固定头12一端螺纹连接有水晶灯13,水晶灯13外侧设置有灯罩14,灯罩14螺纹连接于固定头12外端,通过灯罩14和水晶灯13与固定头12之间的螺纹连接便于进行安装和拆卸。Specifically, as shown in FIG. 1 , the mounting
具体的,如图2所示,灯架1外侧壁开设有收纳槽15,收纳槽15宽度与灯罩14相契合,可通过摆动机构将灯杆10转动至收纳槽15中进行收纳,节约空间,便于对灯体的运输。Specifically, as shown in FIG. 2 , the outer side wall of the
具体的,如图1所示,摆动机构设置有若干组,若干组摆动机构均匀设置于螺母座6外壁,螺母座6通过设置的导板16与灯架1内壁滑动连接,通过导板16在灯架1内壁的滑动设置可对螺母座6进行限位,防止螺纹杆5带动螺母座6自转而无法上下移动。Specifically, as shown in FIG. 1, the swing mechanism is provided with several groups, and several groups of swing mechanisms are evenly arranged on the outer wall of the
工作原理:使用时,通过设置的安装板2将灯体进行安装,通过电机4的转动带动螺纹杆5转动,转动的螺纹杆5带动螺母座6在螺纹杆5上移动,通过导板16在灯架1内壁的滑动设置可对螺母座6进行限位,防止螺纹杆5带动螺母座6自转而无法上下移动,通过螺母座6的移动带动第二支杆9转动,转动的第二支杆9通过弹簧8带动第一支杆7摆动,最终在第一支杆7的摆动下可带动灯杆10在安装架11上转动,从而可带动水晶灯13进行摆动,达到对水晶灯13之间的位置和角度调节的效果,通过灯罩14和水晶灯13与固定头12之间的螺纹连接便于进行安装和拆卸,可通过摆动机构将灯杆10转动至收纳槽15中进行收纳,节约空间,便于对灯体的运输。Working principle: when in use, the lamp body is installed by the installed mounting
以上所述,仅为本实用新型较佳的具体实施方式,但本实用新型的保护范围并不局限于此,任何熟悉本技术领域的技术人员在本实用新型揭露的技术范围内,根据本实用新型的技术方案及其实用新型构思加以等同替换或改变,都应涵盖在本实用新型的保护范围之内。The above are only the preferred specific embodiments of the present invention, but the protection scope of the present invention is not limited to this. Equivalent replacement or modification of the new technical solution and its utility model concept shall be included within the protection scope of the present utility model.
Claims (5)
Priority Applications (1)
| Application Number | Priority Date | Filing Date | Title |
|---|---|---|---|
| CN202220006396.0U CN216408765U (en) | 2022-01-04 | 2022-01-04 | A crystal glass lamp that is easy to disassemble and assemble |
Applications Claiming Priority (1)
| Application Number | Priority Date | Filing Date | Title |
|---|---|---|---|
| CN202220006396.0U CN216408765U (en) | 2022-01-04 | 2022-01-04 | A crystal glass lamp that is easy to disassemble and assemble |
Publications (1)
| Publication Number | Publication Date |
|---|---|
| CN216408765U true CN216408765U (en) | 2022-04-29 |
Family
ID=81286550
Family Applications (1)
| Application Number | Title | Priority Date | Filing Date |
|---|---|---|---|
| CN202220006396.0U Expired - Fee Related CN216408765U (en) | 2022-01-04 | 2022-01-04 | A crystal glass lamp that is easy to disassemble and assemble |
Country Status (1)
| Country | Link |
|---|---|
| CN (1) | CN216408765U (en) |
Cited By (1)
| Publication number | Priority date | Publication date | Assignee | Title |
|---|---|---|---|---|
| CN115370984A (en) * | 2022-08-09 | 2022-11-22 | 青海路桥建设机械工程有限公司 | Transition section connecting device at junction of tunnel roadbed and highway roadbed and using method |
-
2022
- 2022-01-04 CN CN202220006396.0U patent/CN216408765U/en not_active Expired - Fee Related
Cited By (1)
| Publication number | Priority date | Publication date | Assignee | Title |
|---|---|---|---|---|
| CN115370984A (en) * | 2022-08-09 | 2022-11-22 | 青海路桥建设机械工程有限公司 | Transition section connecting device at junction of tunnel roadbed and highway roadbed and using method |
Similar Documents
| Publication | Publication Date | Title |
|---|---|---|
| CN216408765U (en) | A crystal glass lamp that is easy to disassemble and assemble | |
| CN211902527U (en) | An LED lighting lamp with adjustable light angle | |
| CN207473281U (en) | A kind of bulb brightening structure of projector | |
| CN215730702U (en) | Advertisement design display lamp box | |
| CN210800842U (en) | Mounting structure of linear projecting lamp of LED | |
| CN209116167U (en) | a flood light | |
| CN209960371U (en) | An easily adjustable solar street light | |
| CN222669868U (en) | Illumination color lamp with adjustable illumination range | |
| CN217952207U (en) | Display top row light adjusting mechanism | |
| CN217928660U (en) | Mounting seat of LED illuminating lamp | |
| CN217928471U (en) | A steering adjustment structure for LED floodlights | |
| CN207555367U (en) | A kind of downlight of adjustable light projector angle | |
| CN213118758U (en) | Track spotlight convenient to adjust | |
| CN218671775U (en) | An eye-protecting classroom lamp that is easy to overhaul | |
| CN217235372U (en) | LED projecting lamp is adjusted to multi-angle | |
| CN221780627U (en) | A floodlight | |
| CN221629668U (en) | Angle-adjustable floodlight | |
| CN222186796U (en) | Dining pendant lamp convenient to detach | |
| CN223076858U (en) | LED spotlight convenient to rotate | |
| CN111457277A (en) | Multi-angle L ED wall washer lamp | |
| CN221349021U (en) | Mounting bracket for lighting engineering | |
| CN218494824U (en) | LED wall washer | |
| CN215523025U (en) | Lighting device for tunnel engineering measurement | |
| CN222085902U (en) | Wall emergency evacuation lamp mounting and fixing bracket | |
| CN216591239U (en) | Turnover indoor lighting lamp |
Legal Events
| Date | Code | Title | Description |
|---|---|---|---|
| GR01 | Patent grant | ||
| GR01 | Patent grant | ||
| CF01 | Termination of patent right due to non-payment of annual fee | ||
| CF01 | Termination of patent right due to non-payment of annual fee |
Granted publication date: 20220429 |
