CN216348564U - Quick detection device of side slope rate - Google Patents

Quick detection device of side slope rate Download PDF

Info

Publication number
CN216348564U
CN216348564U CN202123196092.XU CN202123196092U CN216348564U CN 216348564 U CN216348564 U CN 216348564U CN 202123196092 U CN202123196092 U CN 202123196092U CN 216348564 U CN216348564 U CN 216348564U
Authority
CN
China
Prior art keywords
measuring ruler
slope
measuring
line
side slope
Prior art date
Legal status (The legal status is an assumption and is not a legal conclusion. Google has not performed a legal analysis and makes no representation as to the accuracy of the status listed.)
Active
Application number
CN202123196092.XU
Other languages
Chinese (zh)
Inventor
孟源
李冠扬
林联奇
刘家豪
Current Assignee (The listed assignees may be inaccurate. Google has not performed a legal analysis and makes no representation or warranty as to the accuracy of the list.)
CCCC First Highway Engineering Co Ltd
CCCC First Highway Xiamen Engineering Co Ltd
Original Assignee
CCCC First Highway Engineering Co Ltd
CCCC First Highway Xiamen Engineering Co Ltd
Priority date (The priority date is an assumption and is not a legal conclusion. Google has not performed a legal analysis and makes no representation as to the accuracy of the date listed.)
Filing date
Publication date
Application filed by CCCC First Highway Engineering Co Ltd, CCCC First Highway Xiamen Engineering Co Ltd filed Critical CCCC First Highway Engineering Co Ltd
Priority to CN202123196092.XU priority Critical patent/CN216348564U/en
Application granted granted Critical
Publication of CN216348564U publication Critical patent/CN216348564U/en
Active legal-status Critical Current
Anticipated expiration legal-status Critical

Links

Images

Landscapes

  • A Measuring Device Byusing Mechanical Method (AREA)

Abstract

本实用新型提出了一种边坡坡率快速检测装置,涉及边坡检测装置技术领域。一种边坡坡率快速检测装置,包括边坡板、第一测量尺和第二测量尺;第一测量尺的一端与边坡板一端转动连接,另一端为自由端,第二测量尺一端与边坡板一端转动连接,另一端为自由端,第一测量尺和第二测量尺上均设置有水平度测量器;第一测量尺内沿第一测量尺的测量方向开设有第一矩形孔,第一矩形孔上相对的两短侧壁之间设有第一指示线,第二测量尺内沿第二测量尺的测量方向开设有第二矩形孔,第二矩形孔上相对的两短侧壁之间设有第二指示线;此装置使得边坡测量时的数据更加精准,从而使得坡率测量更加准确,且结构简单,测量方便,制造成本低。

Figure 202123196092

The utility model provides a rapid detection device for the slope rate of a side slope, which relates to the technical field of side slope detection devices. A rapid detection device for slope rate, comprising a side slope plate, a first measuring ruler and a second measuring ruler; one end of the first measuring ruler is rotatably connected with one end of the side slope plate, the other end is a free end, and one end of the second measuring ruler is One end is rotatably connected with the slope plate, and the other end is the free end. The first measuring ruler and the second measuring ruler are both provided with a levelness measuring device; the first measuring ruler is provided with a first rectangle along the measuring direction of the first measuring ruler. Holes, a first indicator line is arranged between the two opposite short side walls on the first rectangular hole, a second rectangular hole is opened in the second measuring ruler along the measurement direction of the second measuring ruler, and two opposite sides of the second rectangular hole are arranged. A second indicator line is arranged between the short side walls; this device makes the data during slope measurement more accurate, thereby making the slope rate measurement more accurate, and has a simple structure, convenient measurement and low manufacturing cost.

Figure 202123196092

Description

Quick detection device of side slope rate
Technical Field
The utility model relates to the technical field of slope detection devices, in particular to a rapid slope rate detection device.
Background
At present, in engineering construction, the slope rate of a side slope needs to be measured, once the slope rate of the side slope is determined, if the slope rate exceeds a specified value in construction, the problems of increase of occupied area and economic cost of a cross section can be caused, if the slope rate does not reach the specified value, the stability of a roadbed can be directly influenced, and hidden quality hazards are buried, so that the accurate measurement of the slope rate of the side slope of the roadbed in construction not only can enable the side slope to be quickly formed and save the construction time, but also can effectively ensure the stability of the roadbed; however, the determination of the slope rate of the slope requires measuring various data of the slope, and the measurement and conversion are carried out, so that the workload is large and complicated, the data is not very accurate, and the problem is urgently needed to be solved.
SUMMERY OF THE UTILITY MODEL
The utility model aims to provide a device for rapidly detecting the slope rate of a side slope, which enables the data during slope measurement to be more accurate, so that the slope rate measurement is more accurate, and the device has the advantages of simple structure, convenience in measurement and low manufacturing cost.
The embodiment of the utility model is realized by the following steps:
the embodiment of the application provides a rapid detection device for slope rate of a side slope, which comprises a side slope plate, a first measuring scale and a second measuring scale; one end of the first measuring scale is rotatably connected with one end of the slope plate, the other end of the first measuring scale is a free end, one end of the second measuring scale is rotatably connected with one end of the slope plate, the other end of the second measuring scale is a free end, and the first measuring scale and the second measuring scale are both provided with levelness measuring devices; first rectangular hole has been seted up along the measuring direction of above-mentioned first dipperstick in the above-mentioned first dipperstick, be equipped with first instruction line on the first rectangular hole between two relative short lateral walls, the extension line of above-mentioned first instruction line passes the hinge center of above-mentioned first dipperstick and above-mentioned side slope board, the second rectangular hole has been seted up along the measuring direction of above-mentioned second dipperstick in the above-mentioned second dipperstick, be equipped with the second instruction line on the second rectangular hole between two relative short lateral walls, the extension line of above-mentioned second instruction line passes the hinge center of above-mentioned second dipperstick and above-mentioned side slope board.
In some embodiments of the present invention, the first indication line is a red line, and the second indication line is a black line.
In some embodiments of the present invention, the first measuring scale and the second measuring scale are provided with circular grooves, and the levelness measuring device is provided in the circular grooves.
In some embodiments of the present invention, the levelness meter includes a shaft and a pointer, the pointer is rotatably connected to the shaft, and the shaft is disposed on a central axis of the circular groove.
In some embodiments of the present invention, the bottom of each of the two circular grooves is provided with a detection line, the detection line on the first measuring scale is perpendicular to the long side of the first measuring scale, and the detection line on the second measuring scale is parallel to the long side of the second measuring scale.
In some embodiments of the present invention, the slope plate is a retractable plate.
In some embodiments of the present invention, the slope plate is provided with a fixing device.
In some embodiments of the present invention, the fixing device includes a plurality of fixing pins, and the plurality of fixing pins are uniformly distributed on the slope plate.
In some embodiments of the present invention, the slope plate is provided with a first clamping plate and a second clamping plate, the first clamping plate is provided with a first clamping groove for clamping the first measuring scale, and the second clamping plate is provided with a second clamping groove for clamping the second measuring scale.
In some embodiments of the present invention, rubber pads are disposed on inner side walls of the first engaging groove and the second engaging groove.
Compared with the prior art, the embodiment of the utility model has at least the following advantages or beneficial effects:
a rapid detection device for slope rate of a side slope comprises a side slope plate, a first measuring scale and a second measuring scale; one end of the first measuring scale is rotatably connected with one end of the slope plate, the other end of the first measuring scale is a free end, one end of the second measuring scale is rotatably connected with one end of the slope plate, the other end of the second measuring scale is a free end, and the first measuring scale and the second measuring scale are both provided with levelness measuring devices; first rectangular hole has been seted up along the measuring direction of above-mentioned first dipperstick in the above-mentioned first dipperstick, be equipped with first instruction line on the first rectangular hole between two relative short lateral walls, the extension line of above-mentioned first instruction line passes the hinge center of above-mentioned first dipperstick and above-mentioned side slope board, the second rectangular hole has been seted up along the measuring direction of above-mentioned second dipperstick in the above-mentioned second dipperstick, be equipped with the second instruction line on the second rectangular hole between two relative short lateral walls, the extension line of above-mentioned second instruction line passes the hinge center of above-mentioned second dipperstick and above-mentioned side slope board.
The first measuring scale, the second measuring scale and the slope plate form a triangular structure for detecting the slope rate of the slope; at the during operation, place the side slope board on the side slope, then rotate first dipperstick and second dipperstick, levelness caliber through on first dipperstick and the second dipperstick is measured, first dipperstick rotates to the horizontal direction, the second dipperstick rotates to vertical direction, then read out the measured data on first dipperstick and the second dipperstick, can reach the slope rate of side slope through calculating, moreover, the steam generator is simple in structure, and convenient for operation, and whole device simple structure, and convenient for carrying, low in manufacturing cost.
When the first measuring scale rotates to the horizontal direction and the second measuring scale rotates to the vertical direction, the first indicating line and the second indicating line intersect vertically and intersect at one point when viewed from the front, and the data on the first measuring scale indicated by the second indicating line and the data on the second measuring scale indicated by the first indicating line are read, so that the measured data are more accurate because the extension line of the first indicating line passes through the hinge center of the first measuring scale and the slope plate, the extension line of the second indicating line passes through the hinge center of the second measuring scale and the hinge center of the slope plate, the connecting line between the two hinge points is parallel to the slope surface, the two hinge points and the intersection point form a right triangle, and the distance from the hinge center of the first measuring scale and the hinge center of the slope plate to the intersection point (the intersection point of the first indicating line and the second indicating line) is the real data measured by the first measuring scale, the distance from the hinged center of the first measuring scale and the side slope plate to the intersection point (the intersection point of the first indicating line and the second indicating line) is the real data measured by the second measuring scale, the measured boundary slope rate is more accurate, and the construction effect is better.
Drawings
In order to more clearly illustrate the technical solutions of the embodiments of the present invention, the drawings needed to be used in the embodiments will be briefly described below, it should be understood that the following drawings only illustrate some embodiments of the present invention and therefore should not be considered as limiting the scope, and for those skilled in the art, other related drawings can be obtained according to the drawings without inventive efforts.
FIG. 1 is a schematic structural view of the structure of the present invention during slope detection;
FIG. 2 is an enlarged view of A of FIG. 1 according to the present invention;
FIG. 3 is a schematic top view of the present invention.
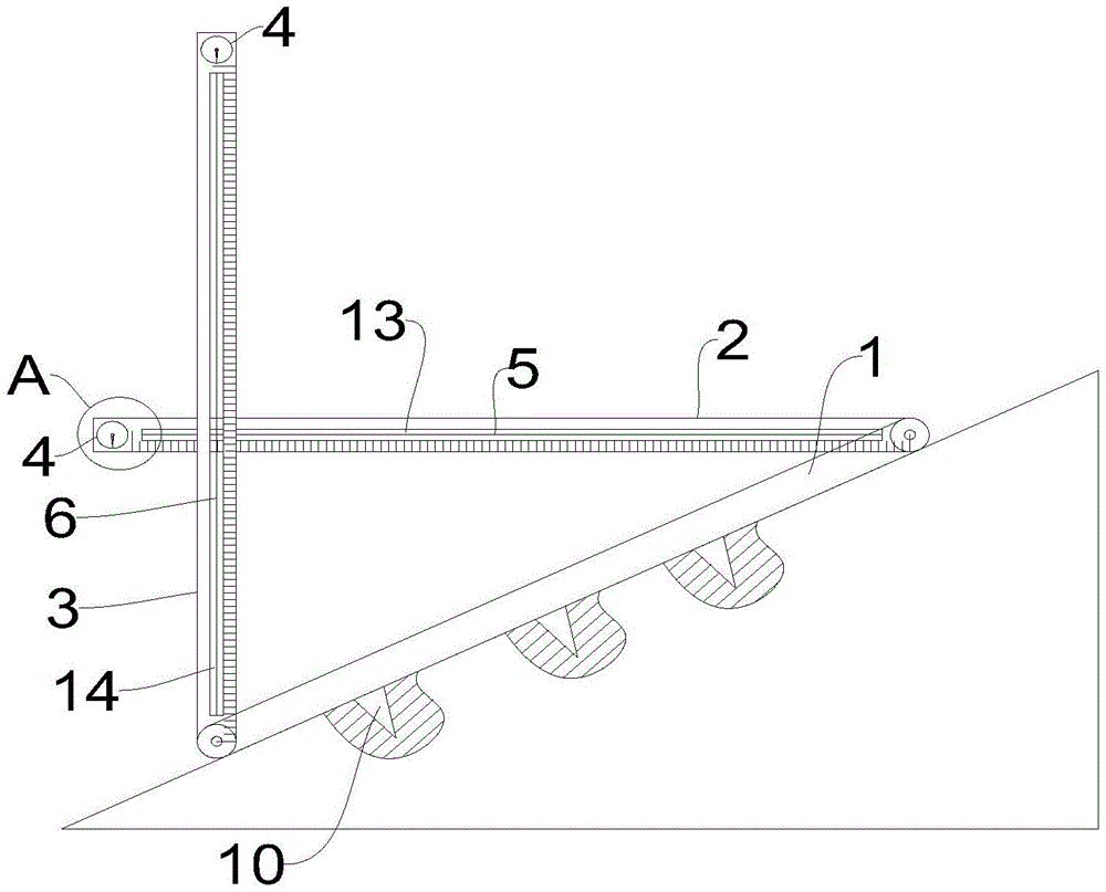
Icon: 1-slope plate, 2-first measuring scale, 3-second measuring scale, 4-levelness measuring device, 5-first indicating line, 6-second indicating line, 7-circular groove, 8-pointer, 9-detecting line, 10-fixing pin, 11-first clamping and connecting plate, 12-second clamping and connecting plate, 13-first rectangular hole and 14-second rectangular hole.
Detailed Description
In order to make the objects, technical solutions and advantages of the embodiments of the present invention clearer, the technical solutions in the embodiments of the present invention will be clearly and completely described below with reference to the drawings in the embodiments of the present invention, and it is obvious that the described embodiments are some, but not all, embodiments of the present invention. The components of embodiments of the present invention generally described and illustrated in the figures herein may be arranged and designed in a wide variety of different configurations.
Thus, the following detailed description of the embodiments of the present invention, presented in the figures, is not intended to limit the scope of the utility model, as claimed, but is merely representative of selected embodiments of the utility model. All other embodiments, which can be derived by a person skilled in the art from the embodiments given herein without making any creative effort, shall fall within the protection scope of the present invention.
It should be noted that: like reference numbers and letters refer to like items in the following figures, and thus, once an item is defined in one figure, it need not be further defined and explained in subsequent figures.
In the description of the embodiments of the present invention, it should be noted that, if the terms "center", "upper", "lower", "left", "right", "vertical", "horizontal", "inner", "outer", etc. indicate an orientation or a positional relationship based on the orientation or the positional relationship shown in the drawings, or an orientation or a positional relationship which is usually placed when the products of the present invention are used, the description is only for convenience and simplicity, and the indication or the suggestion that the referred device or element must have a specific orientation, be constructed in a specific orientation, and be operated, and thus, the present invention should not be construed as being limited. Furthermore, the terms "first," "second," and the like are used merely to distinguish one description from another, and are not to be construed as indicating or implying relative importance.
Furthermore, the terms "horizontal", "vertical", "overhang" and the like do not require that the components be absolutely horizontal or overhang, but may be slightly inclined. For example, "horizontal" merely means that the direction is more horizontal than "vertical" and does not mean that the structure must be perfectly horizontal, but may be slightly inclined.
In the description of the embodiments of the present invention, it should be further noted that unless otherwise explicitly stated or limited, the terms "disposed," "mounted," "connected," and "connected" should be interpreted broadly, and may be, for example, fixedly connected, detachably connected, or integrally connected; can be mechanically or electrically connected; they may be connected directly or indirectly through intervening media, or they may be interconnected between two elements. The specific meanings of the above terms in the present invention can be understood by those skilled in the art according to specific situations.
Example 1
As shown in fig. 1-3, the present embodiment provides a device for rapidly detecting a slope ratio of a side slope, which includes a side slope plate 1, a first measuring ruler 2 and a second measuring ruler 3; one end of the first measuring scale 2 is rotatably connected with one end of the side slope plate 1, the other end is a free end, one end of the second measuring scale 3 is rotatably connected with one end of the side slope plate 1, the other end is a free end, and the first measuring scale 2 and the second measuring scale 3 are both provided with levelness measuring devices 4; first rectangular hole 13 has been seted up along the measuring direction of above-mentioned first dipperstick 2 in the above-mentioned first dipperstick 2, be equipped with first instruction line 5 on the first rectangular hole 13 between two relative short sidewalls, the extension line of above-mentioned first instruction line 5 passes the articulated center of above-mentioned first dipperstick 2 and above-mentioned side slope board 1, second rectangular hole 14 has been seted up along the measuring direction of above-mentioned second dipperstick 3 in the above-mentioned second dipperstick 3, be equipped with second instruction line 6 on the second rectangular hole 14 between two relative short sidewalls, the extension line of above-mentioned second instruction line 6 passes the articulated center of above-mentioned second dipperstick 3 and above-mentioned side slope board 1.
In the embodiment, the first measuring scale 2, the second measuring scale 3 and the slope plate 1 form a triangular structure for detecting the slope rate of the slope; at the during operation, place slope board 1 on the side slope, then rotate first dipperstick 2 and second dipperstick 3, levelness caliber 4 through on first dipperstick 2 and the second dipperstick 3 is measured, first dipperstick 2 rotates to the horizontal direction, second dipperstick 3 rotates to vertical direction, then read out the measured data on first dipperstick 2 and the second dipperstick 3, can reach the slope rate of side slope through calculating, moreover, the steam generator is simple in structure, and convenient for operation, and whole device convenient to carry, low in manufacturing cost.
When the first measuring scale 2 is rotated to the horizontal direction and the second measuring scale 3 is rotated to the vertical direction, the first indication line 5 and the second indication line 6 are vertically crossed and crossed at a point when viewed from the front, and the data on the first measuring scale 2 indicated by the second indication line 6 and the data on the second measuring scale 3 indicated by the first indication line 5 are read, and the measured data is more accurate because the extension line of the first indication line 5 passes through the hinge center of the first measuring scale 2 and the side slope plate 1, the extension line of the second indication line 6 passes through the hinge center of the second measuring scale 3 and the hinge center of the side slope plate 1, the connecting line between the two hinge points is parallel to the slope surface, and the two hinge points and the intersection point form a right triangle, and the distance from the hinge center of the first measuring scale 2 and the hinge center of the side slope plate 1 to the intersection point (the intersection point of the first indication line 5 and the second indication line 6) is the real data measured by the first measuring scale 2, the distance from the hinged center of the first measuring scale 2 and the slope plate 1 to the intersection point (the intersection point of the first indicating line 5 and the second indicating line 6) is the real data measured by the second measuring scale 3, the measured boundary slope rate is more accurate, and the construction effect is better; the first and second rectangular apertures 13, 14 are provided to make the reading at the intersection of the first and second indicator lines 5, 6 clearer, without the need to read through the dipstick itself, making the reading more accurate.
In some embodiments of the present invention, the first indication line 5 is a red line, and the second indication line 6 is a black line.
In the above embodiment, the first indicator line 5 is a red line, and the second indicator line 6 is a black line, so that the intersection of the first indicator line 5 and the second indicator line 6 is more obvious, and is easily recognized by a measurer, and then data is read.
Specifically, the color of the first indicator line 5 may be other colors, and the color of the second indicator line 6 may be other colors, as long as the colors of the first indicator line 5 and the second indicator line 6 are different, and the intersection point is clearly visible.
Example 2
As shown in fig. 1 to 3, in this embodiment, in addition to embodiment 1, circular grooves 7 are provided in both the first measuring scale 2 and the second measuring scale 3, and the levelness measuring instrument 4 is provided in the circular grooves 7.
In the present embodiment, the circular groove 7 is used to protect the levelness meter 4 so that the levelness meter 4 is protected from external damage, thereby preventing the entire apparatus from being damaged, which is convenient.
In some embodiments of the present invention, the levelness meter 4 includes a rotating shaft and a pointer 8, the pointer 8 is rotatably connected to the rotating shaft, and the rotating shaft is disposed at a central axis of the circular groove 7.
In the above-mentioned embodiment, pointer 8 can revolute the rotation of axes, and pointer 8 is perpendicular downwards all the time because gravity, and when pointer 8 on the first dipperstick 2 was perpendicular with the sideline of first dipperstick 2, first dipperstick 2 was in the horizontality, and when pointer 8 on the second dipperstick 3 was parallel with the sideline of second dipperstick 3, second dipperstick 3 was in vertical state to carry out the data reading of first dipperstick 2 and second dipperstick 3, it is more convenient.
In some embodiments of the present embodiment, a detection line 9 is provided at the bottom of each of the two circular grooves 7, the detection line 9 on the first measuring scale 2 is perpendicular to the long side of the first measuring scale 2, and the detection line 9 on the second measuring scale 3 is parallel to the long side of the second measuring scale 3.
In the above-mentioned embodiment, when pointer 8 on the first dipperstick 2 coincides with detection line 9 on it, think that first dipperstick 2 is in horizontal position promptly, when pointer 8 on the second dipperstick 3 coincides with detection line 9 on it, think that second dipperstick 3 is in vertical position promptly to first dipperstick 2 and second dipperstick 3 reachs the measuring position, and is more convenient, is more convenient for confirm the measuring position of first dipperstick 2 and second dipperstick 3, makes its position more accurate.
Example 3
As shown in fig. 1 to 3, in the present embodiment, on the basis of some of the above embodiments, the slope board 1 is a telescopic board.
In this embodiment, the side slope plate 1 is a telescopic plate, so that the length of the side slope plate 1 can be adjusted, the slope rate of the side slope can be measured for multiple times, and the measured data is more accurate.
In some embodiments of the present embodiment, the slope board 1 is provided with a fixing device.
In the above embodiment, the fixing device is used to fix the slope board 1 on the slope, so that the device does not need to be held by the user when measuring, and after fixing, the measured data is more accurate.
In some embodiments of the present invention, the fixing device includes a plurality of fixing pins 10, and the fixing pins 10 are uniformly distributed on the slope plate 1.
In some embodiments of the present embodiment, the plurality of fixing pins 10 are uniformly distributed on the slope sheet 1, so that the slope sheet 1 can be better fixed on the slope, and the processing cost is low.
Example 4
As shown in fig. 1 to 3, in this embodiment, on the basis of some of the above embodiments, the slope board 1 is provided with a first engaging plate 11 and a second engaging plate 12, the first engaging plate 11 is provided with a first engaging groove for engaging with the first measuring scale 2, and the second engaging plate 12 is provided with a second engaging groove for engaging with the second measuring scale 3.
In this embodiment, when the device did not use, can rotate first dipperstick 2 and second dipperstick 3 get into first joint inslot to first dipperstick 2 joint, get into second joint inslot to 3 joints of second dipperstick, thereby make the vertical space of whole device diminish, first dipperstick 2 and second dipperstick 3 are also fixed in addition, avoided first dipperstick 2 and second dipperstick 3 to rotate in disorder, increased the transport degree of difficulty of porter, it is more convenient.
In some embodiments of this embodiment, the first engaging groove and the second engaging groove are both provided with rubber pads.
In above-mentioned embodiment, the rubber pad makes first dipperstick 2 and second dipperstick 3 joint get into first joint groove and second joint inslot back respectively, avoids first dipperstick 2 and second dipperstick 3 when the joint, and there is the grinding mark on the surface, influences reading of data, has the existence of rubber pad moreover for first dipperstick 2 and second dipperstick 3's fixed more stable.
In summary, the embodiment of the present invention provides a device for rapidly detecting a slope ratio of a side slope, which includes a side slope plate 1, a first measuring ruler 2 and a second measuring ruler 3; one end of the first measuring scale 2 is rotatably connected with one end of the side slope plate 1, the other end is a free end, one end of the second measuring scale 3 is rotatably connected with one end of the side slope plate 1, the other end is a free end, and the first measuring scale 2 and the second measuring scale 3 are both provided with levelness measuring devices 4; first rectangular hole 13 has been seted up along the measuring direction of above-mentioned first dipperstick 2 in the above-mentioned first dipperstick 2, be equipped with first instruction line 5 on the first rectangular hole 13 between two relative short sidewalls, the extension line of above-mentioned first instruction line 5 passes the articulated center of above-mentioned first dipperstick 2 and above-mentioned side slope board 1, second rectangular hole 14 has been seted up along the measuring direction of above-mentioned second dipperstick 3 in the above-mentioned second dipperstick 3, be equipped with second instruction line 6 on the second rectangular hole 14 between two relative short sidewalls, the extension line of above-mentioned second instruction line 6 passes the articulated center of above-mentioned second dipperstick 3 and above-mentioned side slope board 1.
In the embodiment, the first measuring scale 2, the second measuring scale 3 and the slope plate 1 form a triangular structure for detecting the slope rate of the slope; at the during operation, place slope board 1 on the side slope, then rotate first dipperstick 2 and second dipperstick 3, levelness caliber 4 through on first dipperstick 2 and the second dipperstick 3 is measured, first dipperstick 2 rotates to the horizontal direction, second dipperstick 3 rotates to vertical direction, then read out the measured data on first dipperstick 2 and the second dipperstick 3, can reach the slope rate of side slope through calculating, moreover, the steam generator is simple in structure, and convenient for operation, and whole device convenient to carry, low in manufacturing cost.
When the first measuring scale 2 is rotated to the horizontal direction and the second measuring scale 3 is rotated to the vertical direction, the first indication line 5 and the second indication line 6 are vertically crossed and crossed at a point when viewed from the front, and the data on the first measuring scale 2 indicated by the second indication line 6 and the data on the second measuring scale 3 indicated by the first indication line 5 are read, and the measured data is more accurate because the extension line of the first indication line 5 passes through the hinge center of the first measuring scale 2 and the side slope plate 1, the extension line of the second indication line 6 passes through the hinge center of the second measuring scale 3 and the hinge center of the side slope plate 1, the connecting line between the two hinge points is parallel to the slope surface, and the two hinge points and the intersection point form a right triangle, and the distance from the hinge center of the first measuring scale 2 and the hinge center of the side slope plate 1 to the intersection point (the intersection point of the first indication line 5 and the second indication line 6) is the real data measured by the first measuring scale 2, the distance from the hinged center of the first measuring scale 2 and the slope plate 1 to the intersection point (the intersection point of the first indicating line 5 and the second indicating line 6) is the real data measured by the second measuring scale 3, the measured boundary slope rate is more accurate, and the construction effect is better; the first and second rectangular apertures 13, 14 are provided to make the reading at the intersection of the first and second indicator lines 5, 6 clearer, without the need to read through the dipstick itself, making the reading more accurate.
The above is only a preferred embodiment of the present invention, and is not intended to limit the present invention, and various modifications and changes will occur to those skilled in the art. Any modification, equivalent replacement, or improvement made within the spirit and principle of the present invention should be included in the protection scope of the present invention.

Claims (10)

1.一种边坡坡率快速检测装置,其特征在于:包括边坡板、第一测量尺和第二测量尺;1. a rapid detection device for side slope rate, is characterized in that: comprise side slope plate, the first measuring ruler and the second measuring ruler; 所述第一测量尺的一端与所述边坡板一端转动连接,另一端为自由端,所述第二测量尺一端与所述边坡板一端转动连接,另一端为自由端,所述第一测量尺和所述第二测量尺上均设置有水平度测量器;One end of the first measuring ruler is rotatably connected to one end of the side slope board, and the other end is a free end. One end of the second measuring ruler is rotatably connected to one end of the side slope board, and the other end is a free end. A measuring ruler and the second measuring ruler are provided with a level measuring device; 所述第一测量尺内沿所述第一测量尺的测量方向开设有第一矩形孔,第一矩形孔上相对的两短侧壁之间设有第一指示线,所述第一指示线的延长线穿过所述第一测量尺与所述边坡板的铰接中心,所述第二测量尺内沿所述第二测量尺的测量方向开设有第二矩形孔,第二矩形孔上相对的两短侧壁之间设有第二指示线,所述第二指示线的延长线穿过所述第二测量尺与所述边坡板的铰接中心。A first rectangular hole is opened in the first measuring ruler along the measuring direction of the first measuring ruler, and a first indicator line is arranged between the two opposite short side walls on the first rectangular hole, and the first indicator line The extension line passes through the hinge center of the first measuring ruler and the side slope board, and a second rectangular hole is opened in the second measuring ruler along the measuring direction of the second measuring ruler. A second indicator line is arranged between the two opposite short side walls, and the extension line of the second indicator line passes through the hinge center of the second measuring ruler and the side slope board. 2.根据权利要求1所述的一种边坡坡率快速检测装置,其特征在于:所述第一指示线为红色线,所述第二指示线的颜色为黑色线。2 . The device for rapid detection of slope rate according to claim 1 , wherein the first indication line is a red line, and the color of the second indication line is a black line. 3 . 3.根据权利要求1所述的一种边坡坡率快速检测装置,其特征在于:所述第一测量尺和所述第二测量尺上均设有圆形槽,所述水平度测量器设于所述圆形槽内。3. The device for rapid detection of slope rate according to claim 1, wherein the first measuring ruler and the second measuring ruler are provided with circular grooves, and the levelness measuring device set in the circular groove. 4.根据权利要求3所述的一种边坡坡率快速检测装置,其特征在于:所述水平度测量器包括转轴和指针,所述指针转动连接于所述转轴上,所述转轴设于所述圆形槽内的中心轴。4 . The device for rapid detection of slope rate according to claim 3 , wherein the levelness measuring device comprises a rotating shaft and a pointer, the pointer is rotatably connected to the rotating shaft, and the rotating shaft is arranged on the rotating shaft. 5 . the central axis in the circular groove. 5.根据权利要求4所述的一种边坡坡率快速检测装置,其特征在于:两个所述圆形槽槽底均设有检测线,所述第一测量尺上的所述检测线与所述第一测量尺的长边相垂直,所述第二测量尺上的所述检测线与所述第二测量尺的长边相平行。5 . The device for rapid detection of slope rate according to claim 4 , wherein the two circular groove bottoms are provided with detection lines, and the detection lines on the first measuring ruler are provided with detection lines. 6 . It is perpendicular to the long side of the first measuring ruler, and the detection line on the second measuring ruler is parallel to the long side of the second measuring ruler. 6.根据权利要求1所述的一种边坡坡率快速检测装置,其特征在于:所述边坡板为伸缩板。6 . The rapid detection device for slope rate according to claim 1 , wherein the slope plate is a telescopic plate. 7 . 7.根据权利要求1所述的一种边坡坡率快速检测装置,其特征在于:所述边坡板上设置有固定装置。7 . The rapid detection device for side slope rate according to claim 1 , wherein a fixing device is provided on the side slope plate. 8 . 8.根据权利要求7所述的一种边坡坡率快速检测装置,其特征在于:所述固定装置包括多个固定销,多个所述固定销均匀分布于所述边坡板上。8 . The rapid detection device for slope rate according to claim 7 , wherein the fixing device comprises a plurality of fixing pins, and the plurality of fixing pins are evenly distributed on the slope plate. 9 . 9.根据权利要求1所述的一种边坡坡率快速检测装置,其特征在于:所述边坡板上设置有第一卡接板和第二卡接板,所述第一卡接板设有用于卡接所述第一测量尺的第一卡接槽,所述第二卡接板设有卡接所述第二测量尺的第二卡接槽。9 . The device for rapid detection of slope rate according to claim 1 , wherein a first clamping plate and a second clamping plate are arranged on the side slope plate, and the first clamping plate is 9 . A first clamping slot for clamping the first measuring ruler is provided, and the second clamping plate is provided with a second clamping slot for clamping the second measuring ruler. 10.根据权利要求9所述的一种边坡坡率快速检测装置,其特征在于:所述第一卡接槽和所述第二卡接槽内侧壁均设有橡胶垫。10 . The device for rapid detection of slope rate according to claim 9 , wherein rubber pads are provided on the inner side walls of the first clamping groove and the second clamping groove. 11 .
CN202123196092.XU 2021-12-17 2021-12-17 Quick detection device of side slope rate Active CN216348564U (en)

Priority Applications (1)

Application Number Priority Date Filing Date Title
CN202123196092.XU CN216348564U (en) 2021-12-17 2021-12-17 Quick detection device of side slope rate

Applications Claiming Priority (1)

Application Number Priority Date Filing Date Title
CN202123196092.XU CN216348564U (en) 2021-12-17 2021-12-17 Quick detection device of side slope rate

Publications (1)

Publication Number Publication Date
CN216348564U true CN216348564U (en) 2022-04-19

Family

ID=81166327

Family Applications (1)

Application Number Title Priority Date Filing Date
CN202123196092.XU Active CN216348564U (en) 2021-12-17 2021-12-17 Quick detection device of side slope rate

Country Status (1)

Country Link
CN (1) CN216348564U (en)

Cited By (1)

* Cited by examiner, † Cited by third party
Publication number Priority date Publication date Assignee Title
CN120426966A (en) * 2025-07-10 2025-08-05 浙江湾北工程勘察设计有限公司 A measuring device for geotechnical engineering survey

Cited By (2)

* Cited by examiner, † Cited by third party
Publication number Priority date Publication date Assignee Title
CN120426966A (en) * 2025-07-10 2025-08-05 浙江湾北工程勘察设计有限公司 A measuring device for geotechnical engineering survey
CN120426966B (en) * 2025-07-10 2025-09-05 浙江湾北工程勘察设计有限公司 Measuring equipment for geotechnical engineering investigation

Similar Documents

Publication Publication Date Title
CN206479129U (en) A kind of bearing testers
CN216348564U (en) Quick detection device of side slope rate
CN103047920B (en) A kind of limit, hole distance mearuring equipment
CN211452190U (en) Portable angular surveying chi
CN208984002U (en) A kind of rotary opening number reading bevel protractor
US2714256A (en) Pitch indicator for bowling ball bores
CN212205955U (en) Deformation detection tool for wind guide blades
US4604812A (en) Pitch-angle-checker (P-A-C)
CN218296934U (en) Multifunctional measurer
US4322888A (en) Multi-purpose gauge
CN208653460U (en) A kind of electric power civil engineering gradient measurer
CN212620556U (en) A flatness test device
CN205156802U (en) Width measuring device
CN207379427U (en) A kind of pipe fitting angle detector
CN215338032U (en) Multifunctional measuring tool for construction engineering
CN217442421U (en) Ship structure angle measurement scale and ship
CN216115813U (en) Slope measurer for building supervision
CN217818983U (en) Height and weight measuring device
CN212779203U (en) Multifunctional lift car floor height difference measuring device
CN221349990U (en) Building verticality tester
CN219219132U (en) Engineering tubular pile inclination detection device
CN209783578U (en) A portable construction measuring instrument
CN215832611U (en) Portable bridge beam supports degree of coming to nothing inspection device
CN110388896A (en) A kind of Multifunction measuring appliance
CN212133523U (en) Inside and outside callipers

Legal Events

Date Code Title Description
GR01 Patent grant
GR01 Patent grant