CN216258376U - Can improve antiseptic solution and spray disinfection machine people of degree of consistency - Google Patents
Can improve antiseptic solution and spray disinfection machine people of degree of consistency Download PDFInfo
- Publication number
- CN216258376U CN216258376U CN202122308404.5U CN202122308404U CN216258376U CN 216258376 U CN216258376 U CN 216258376U CN 202122308404 U CN202122308404 U CN 202122308404U CN 216258376 U CN216258376 U CN 216258376U
- Authority
- CN
- China
- Prior art keywords
- shell
- disinfection robot
- pipe
- sleeve
- disinfection
- Prior art date
- Legal status (The legal status is an assumption and is not a legal conclusion. Google has not performed a legal analysis and makes no representation as to the accuracy of the status listed.)
- Active
Links
- 238000004659 sterilization and disinfection Methods 0.000 title claims abstract description 53
- 239000007921 spray Substances 0.000 title claims abstract description 34
- 230000002421 anti-septic effect Effects 0.000 title abstract description 13
- 239000007788 liquid Substances 0.000 claims abstract description 34
- 239000000645 desinfectant Substances 0.000 claims abstract description 16
- 238000005507 spraying Methods 0.000 claims abstract description 12
- XLYOFNOQVPJJNP-UHFFFAOYSA-N water Substances O XLYOFNOQVPJJNP-UHFFFAOYSA-N 0.000 claims description 7
- 238000003466 welding Methods 0.000 claims description 4
- 239000000463 material Substances 0.000 claims description 3
- 238000000034 method Methods 0.000 abstract description 8
- 238000012986 modification Methods 0.000 description 2
- 230000004048 modification Effects 0.000 description 2
- 230000009286 beneficial effect Effects 0.000 description 1
- 238000004891 communication Methods 0.000 description 1
- 238000006073 displacement reaction Methods 0.000 description 1
- 238000005516 engineering process Methods 0.000 description 1
Images
Landscapes
- Catching Or Destruction (AREA)
Abstract
The utility model discloses a disinfection robot capable of improving the spraying uniformity of disinfectant, which mainly comprises a base, a shell, a control button and a spray head, wherein the shell is arranged above the base, the control button is arranged on the front side of the shell, and the spray head is arranged at the top of the shell; the method comprises the following steps: the inner box body is arranged inside the shell, a liquid inlet pipe is arranged on the shell, and the bottom end of the liquid inlet pipe is communicated with the inner box body; and the anti-collision strip is arranged on the outer wall of the base. This can improve antiseptic solution and spray disinfection machine people of degree of consistency, control button's the outside is provided with the guard plate, and the guard plate passes through the mutual block of fixture block and recess, like this when this disinfection machine people walks, can protect the control button region and shelter from, effectively prevents the collision and by the phenomenon of maloperation, and then guarantees the normal clear of disinfection work, has also improved this disinfection machine people's availability factor.
Description
Technical Field
The utility model relates to the technical field of robots, in particular to a disinfection robot capable of improving the spraying uniformity of disinfectant.
Background
With the development of communication technology, equipment applied in life is more and more intelligent, the most common is a robot, and nowadays, the robot is applied to various fields, such as disinfection robots used in public places like stations and restaurants, and replaces manual disinfection, so that the workload of workers is greatly reduced.
But present disinfection robot still has some weak points in the use, for example, the robot that sprays the antiseptic solution can only the displacement walking, be not convenient for carry out self-adjustment to spraying the angle, antiseptic solution sprays inhomogeneous phenomenon appears easily like this, disinfection efficiency has been reduced, and the robot is in the in-process of walking, do not protect the control district, appear by the phenomenon of maloperation because of the collision easily, thereby the availability factor to disinfection robot has been reduced, so we have proposed a disinfection robot that can improve the antiseptic solution and spray the degree of consistency, so that solve the problem that proposes in the aforesaid.
SUMMERY OF THE UTILITY MODEL
The utility model aims to provide a disinfection robot capable of improving the disinfectant spraying uniformity, and aims to solve the problems that the disinfection robot in the prior market can only move and walk, the spraying angle is not convenient to adjust automatically, so that the disinfectant is easy to spray unevenly, the disinfection efficiency is reduced, and in the walking process of the robot, a control area is not protected, the phenomenon of misoperation is easy to occur due to collision, and the use efficiency of the disinfection robot is reduced.
In order to achieve the purpose, the utility model provides the following technical scheme: a disinfection robot capable of improving the spraying uniformity of disinfectant mainly comprises a base, a shell, a control button and a spray head, wherein the shell is arranged above the base, the control button is arranged on the front side of the shell, and the spray head is arranged at the top of the shell;
the method comprises the following steps:
the inner box body is arranged inside the shell, a liquid inlet pipe is arranged on the shell, and the bottom end of the liquid inlet pipe is communicated with the inner box body;
the pump body is arranged above the inner box body, one end of the pump body is connected with the inner box body through a liquid suction pipe, and the other end of the pump body is provided with a liquid outlet pipe;
the sleeve is arranged above the pump body, one end, far away from the pump body, of the liquid outlet pipe is arranged inside the sleeve, a connecting rod is arranged inside the sleeve, the connecting rod is installed on the outer wall of the bottom end of the conveying pipe, a spray head is installed on the outer wall of the top of the conveying pipe, and the sleeve is connected with the inner wall of the shell through a fixing rod;
the anti-collision strip is arranged on the outer wall of the base;
and the protection plate is arranged on the outer surface of the shell, and the position of the protection plate corresponds to the position of the control button.
Preferably, the longitudinal center lines of the sleeve and the shell are located on the same straight line, the fixing rods on the outer wall of the sleeve are distributed at equal angles, and the fixing rods are respectively in welded connection with the outer wall of the sleeve and the inner wall of the shell, so that the sleeve is more firmly connected inside the shell, and the phenomenon of falling in the using process is effectively prevented.
Preferably, the connected mode of connecting rod and conveyer pipe is the welding, and the connecting rod is in the equal angular distribution of bottom of conveyer pipe to the play water end of connecting rod and drain pipe is located same water flat line, and when the drain pipe discharge antiseptic solution, can drive connecting rod and conveyer pipe and rotate together like this, thereby drive the shower nozzle through the conveyer pipe and rotate together.
Preferably, conveyer pipe and sheathed tube connected mode are connected for the bearing, and the shower nozzle symmetry at conveyer pipe top sets up to the bottom of conveyer pipe is the opening form, and rotation through the shower nozzle can make that the antiseptic solution sprays more even, and then improves this disinfection robot's disinfection efficiency.
Preferably, the connected mode of anticollision strip and base is for bonding, and the anticollision strip is the rubber material, can protect the outer wall of base through the anticollision strip, reduces the base and receives the striking and the probability of damaging.
Preferably, be provided with the fixture block on the guard plate, and the fixture block passes through the mutual block of recess and casing to the surface of casing is seted up to the recess, and the guard plate is the fretwork form simultaneously, the guard plate size is greater than control button's size, is convenient for carry out the dismouting operation to the guard plate, protects control button through the guard plate and shelters from, appears being collided and the phenomenon of maloperation when effectively preventing this disinfection robot from walking, has ensured the normal clear of disinfection work.
Compared with the prior art, the utility model has the beneficial effects that: the disinfection robot capable of improving the spraying uniformity of the disinfection solution,
(1) the connecting rods are arranged at the bottom of the conveying pipe and are distributed at equal angles, and the water outlet ends of the connecting rods and the liquid outlet pipe are positioned on the same horizontal line, so that when disinfectant is discharged from the liquid outlet pipe, the connecting rods and the conveying pipe can be driven to rotate, the spray head is driven to rotate together through the conveying pipe, the spray head can automatically rotate when the disinfectant is sprayed, the disinfectant is sprayed more uniformly, and the disinfection efficiency is improved;
(2) the outside of control button is provided with the guard plate, and is provided with the fixture block on the guard plate, and the fixture block passes through recess and the mutual block of casing, and when this disinfection robot walked like this, can protect the control button region and shelter from, effectively prevent the collision and by the phenomenon of maloperation, and then guarantee the normal clear of disinfection work, also improved this disinfection robot's availability factor.
Drawings
FIG. 1 is a schematic overall front view of the present invention;
FIG. 2 is a schematic view of a main sectional structure of the housing of the present invention;
FIG. 3 is a schematic view of a top-down structure of the connecting rod and the conveying pipe according to the present invention;
FIG. 4 is a side view of the shell and fender attachment of the present invention;
FIG. 5 is an enlarged view of a portion a of FIG. 4 according to the present invention;
FIG. 6 is a top view of the sleeve and rod connection of the present invention.
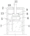
In the figure: 1. a base; 2. a housing; 3. a control button; 4. an inner box body; 5. a liquid inlet pipe; 6. a pump body; 7. a pipette; 8. a liquid outlet pipe; 9. a sleeve; 10. a connecting rod; 11. a delivery pipe; 12. a spray head; 13. Fixing the rod; 14. an anti-collision strip; 15. a protection plate; 16. a clamping block; 17. and (4) a groove.
Detailed Description
The technical solutions in the embodiments of the present invention will be clearly and completely described below with reference to the drawings in the embodiments of the present invention, and it is obvious that the described embodiments are only a part of the embodiments of the present invention, and not all of the embodiments. All other embodiments, which can be derived by a person skilled in the art from the embodiments given herein without making any creative effort, shall fall within the protection scope of the present invention.
Referring to fig. 1-6, the present invention provides a technical solution: a disinfection robot capable of improving the spraying uniformity of disinfectant is mainly composed of a base 1, a shell 2, a control button 3 and a spray head 12, wherein the shell 2 is arranged above the base 1, the control button 3 is arranged on the front side of the shell 2, and the spray head 12 is arranged on the top of the shell 2;
the method comprises the following steps:
the inner box body 4 is arranged inside the shell 2, a liquid inlet pipe 5 is arranged on the shell 2, and the bottom end of the liquid inlet pipe 5 is communicated with the inner box body 4;
the pump body 6 is arranged above the inner box body 4, one end of the pump body 6 is connected with the inner box body 4 through a liquid suction pipe 7, and the other end of the pump body 6 is provided with a liquid outlet pipe 8;
the sleeve 9 is arranged above the pump body 6, one end, far away from the pump body 6, of the liquid outlet pipe 8 is arranged inside the sleeve 9, a connecting rod 10 is arranged inside the sleeve 9, the connecting rod 10 is arranged on the outer wall of the bottom end of the conveying pipe 11, a spray head 12 is arranged on the outer wall of the top of the conveying pipe 11, and the sleeve 9 is connected with the inner wall of the shell 2 through a fixing rod 13;
the anti-collision strip 14 is arranged on the outer wall of the base 1;
and a shielding plate 15 disposed on an outer surface of the housing 2, the position of the shielding plate 15 corresponding to the position of the control button 3.
The longitudinal central lines of the sleeve 9 and the shell 2 are positioned on the same straight line, the fixing rods 13 on the outer wall of the sleeve 9 are distributed at equal angles, and the fixing rods 13 are respectively connected with the outer wall of the sleeve 9 and the inner wall of the shell 2 in a welding mode. The connecting rod 10 and the conveying pipe 11 are connected by welding, the connecting rod 10 is distributed at the bottom of the conveying pipe 11 at equal angles, and the connecting rod 10 and the water outlet end of the liquid outlet pipe 8 are positioned on the same horizontal line. The delivery pipe 11 and the sleeve 9 are connected by a bearing, the spray heads 12 at the top of the delivery pipe 11 are symmetrically arranged, and the bottom of the delivery pipe 11 is open.
Like this when 8 discharge antiseptic solutions of drain pipe, can drive connecting rod 10 and rotate, and connecting rod 10 is fixed at the bottom outer wall of conveyer pipe 11, be the bearing connection between conveyer pipe 11 and the sleeve pipe 9, and the top of conveyer pipe 11 is provided with 2 shower nozzles 12, and communicate each other between the bottom of conveyer pipe 11 and the sleeve pipe 9, so when connecting rod 10 is rotatory, can drive conveyer pipe 11 and shower nozzle 12 and rotate together, antiseptic solution gets into in conveyer pipe 11 and the shower nozzle 12 simultaneously, spout antiseptic solution through shower nozzle 12, along with the rotation of shower nozzle 12, can make antiseptic solution spray more evenly, improve and spray efficiency.
The connection mode of the bumper strip 14 and the base 1 is bonding, and the bumper strip 14 is made of rubber. Be provided with fixture block 16 on guard plate 15, and fixture block 16 passes through recess 17 and the mutual block of casing 2 to recess 17 is seted up on the surface of casing 2, and guard plate 15 is the fretwork form simultaneously, and guard plate 15's size is greater than control button 3's size.
When this robot normally works, the staff can advance recess 17 with 16 block on the guard plate 15 in, install guard plate 15, shelter from control button 3 through guard plate 15, effectively prevent that control button 3 from appearing by the phenomenon of maloperation, thereby can guarantee the normal clear of this robot antiseptic solution spray work, be provided with rubber material's anticollision strip 14 at the outer wall of base 1 in addition, consequently when this robot walking removes, can advance the protection to base 1, reduce the probability that the collision damaged.
The working principle is as follows: when the disinfection robot capable of improving the disinfection liquid spraying uniformity is used, as shown in fig. 1-6, firstly, a worker puts the robot at a corresponding position, then, prepared disinfection liquid is poured into the inner box body 4 from the liquid inlet pipe 5, then, the pump body 6 is started through the control button 3, the pump body 6 can pump out the disinfection liquid in the inner box body 4 through the liquid suction pipe 7 and convey the disinfection liquid to the liquid outlet pipe 8, one end of the liquid outlet pipe 8 far away from the pump body 6 is arranged in the sleeve 9, the connecting rod 10 is arranged inside the sleeve 9, and the water outlet ends of the connecting rod 10 and the liquid outlet pipe 8 are positioned on the same horizontal line, so that when the disinfection liquid is discharged from the liquid outlet pipe 8, the connecting rod 10, the conveying pipe 11 and the spray head 12 can be driven to rotate together, the disinfection liquid can be sprayed more uniformly along with the rotation of the spray head 12, the spraying efficiency is improved, the protection plate 15 is arranged on the front side of the control button 3, therefore, the control button 3 can be shielded by the protection plate 15, the phenomenon that the control button 3 is mistakenly operated is effectively prevented, normal operation of spraying the disinfectant of the robot can be guaranteed, the operation process of the whole device is just the operation process, and the content which is not described in detail in the specification belongs to the prior art which is known by professionals in the field.
Although the present invention has been described in detail with reference to the foregoing embodiments, it will be apparent to those skilled in the art that various changes in the embodiments and/or modifications of the utility model can be made, and equivalents and modifications of some features of the utility model can be made without departing from the spirit and scope of the utility model.
Claims (6)
1. A disinfection robot capable of improving the spraying uniformity of disinfectant mainly comprises a base, a shell, a control button and a spray head, wherein the shell is arranged above the base, the control button is arranged on the front side of the shell, and the spray head is arranged at the top of the shell;
it is characterized by comprising:
the inner box body is arranged inside the shell, a liquid inlet pipe is arranged on the shell, and the bottom end of the liquid inlet pipe is communicated with the inner box body;
the pump body is arranged above the inner box body, one end of the pump body is connected with the inner box body through a liquid suction pipe, and the other end of the pump body is provided with a liquid outlet pipe;
the sleeve is arranged above the pump body, one end, far away from the pump body, of the liquid outlet pipe is arranged inside the sleeve, a connecting rod is arranged inside the sleeve, the connecting rod is installed on the outer wall of the bottom end of the conveying pipe, a spray head is installed on the outer wall of the top of the conveying pipe, and the sleeve is connected with the inner wall of the shell through a fixing rod;
the anti-collision strip is arranged on the outer wall of the base;
and the protection plate is arranged on the outer surface of the shell, and the position of the protection plate corresponds to the position of the control button.
2. The disinfection robot of claim 1, wherein the disinfection robot is configured to increase the uniformity of disinfectant spray, the disinfection robot further comprising: the longitudinal central lines of the sleeve and the shell are positioned on the same straight line, the fixing rods on the outer wall of the sleeve are distributed at equal angles, and the fixing rods are respectively in welded connection with the outer wall of the sleeve and the inner wall of the shell.
3. The disinfection robot of claim 1, wherein the disinfection robot is configured to increase the uniformity of disinfectant spray, the disinfection robot further comprising: the connecting mode of connecting rod and conveyer pipe is the welding, and the connecting rod is in the equal angular distribution of the bottom of conveyer pipe to the water outlet end of connecting rod and drain pipe is located same water flat line.
4. The disinfection robot of claim 1, wherein the disinfection robot is configured to increase the uniformity of disinfectant spray, the disinfection robot further comprising: the delivery pipe and the sleeve are connected by the bearing, the spray heads at the top of the delivery pipe are symmetrically arranged, and the bottom of the delivery pipe is open.
5. The disinfection robot of claim 1, wherein the disinfection robot is configured to increase the uniformity of disinfectant spray, the disinfection robot further comprising: the connection mode of anticollision strip and base is for bonding, and the anticollision strip is the rubber material.
6. The disinfection robot of claim 1, wherein the disinfection robot is configured to increase the uniformity of disinfectant spray, the disinfection robot further comprising: be provided with the fixture block on the guard plate, and the fixture block passes through the mutual block of recess and casing to the surface of casing is seted up to the recess, and the guard plate is the fretwork form simultaneously, the size of guard plate is greater than control button's size.
Priority Applications (1)
| Application Number | Priority Date | Filing Date | Title |
|---|---|---|---|
| CN202122308404.5U CN216258376U (en) | 2021-09-23 | 2021-09-23 | Can improve antiseptic solution and spray disinfection machine people of degree of consistency |
Applications Claiming Priority (1)
| Application Number | Priority Date | Filing Date | Title |
|---|---|---|---|
| CN202122308404.5U CN216258376U (en) | 2021-09-23 | 2021-09-23 | Can improve antiseptic solution and spray disinfection machine people of degree of consistency |
Publications (1)
| Publication Number | Publication Date |
|---|---|
| CN216258376U true CN216258376U (en) | 2022-04-12 |
Family
ID=81064953
Family Applications (1)
| Application Number | Title | Priority Date | Filing Date |
|---|---|---|---|
| CN202122308404.5U Active CN216258376U (en) | 2021-09-23 | 2021-09-23 | Can improve antiseptic solution and spray disinfection machine people of degree of consistency |
Country Status (1)
| Country | Link |
|---|---|
| CN (1) | CN216258376U (en) |
-
2021
- 2021-09-23 CN CN202122308404.5U patent/CN216258376U/en active Active
Similar Documents
| Publication | Publication Date | Title |
|---|---|---|
| CN216258376U (en) | Can improve antiseptic solution and spray disinfection machine people of degree of consistency | |
| CN112516714A (en) | Watering dust fall structure for building engineering | |
| CN210699320U (en) | Dust collecting equipment for building construction site is built in room | |
| CN210901077U (en) | Pesticide sprinkler | |
| CN215888075U (en) | Watering device is used in highway construction | |
| CN211584434U (en) | Disinfection belt cleaning device for disease control | |
| CN211563957U (en) | Rotary chemical cleaning device for storage tank and chemical cleaning system for storage tank | |
| CN208824787U (en) | A kind of dedicated water spraying structure of concrete production plant area | |
| CN219630928U (en) | A dust removal device for concrete processing | |
| CN207220002U (en) | A kind of hog on hook sprinkling equipment | |
| CN211268291U (en) | Pesticide spraying device | |
| CN215138119U (en) | Indoor dust removal sprinkler that uses of green type construction | |
| CN214434025U (en) | Disinfectant spraying device for ground cleaning | |
| CN213427951U (en) | Pesticide spraying device for forestry disease and pest control | |
| CN108722737A (en) | A kind of wood strip finishing coat machine | |
| CN212018710U (en) | A belt cleaning device for producing herbal pieces-for | |
| CN212236696U (en) | Spraying type treatment device for extracting waste gas in chemical machinery production | |
| CN221536091U (en) | Dust fall device for bridge construction | |
| CN214853858U (en) | Hanger rail formula warmhouse booth intelligent equipment that sprays insecticide | |
| CN217828378U (en) | Novel nasal irrigator spray head structure | |
| CN207746001U (en) | A kind of spraying device for aroma diffusing equipment | |
| CN205289170U (en) | Antibiotic vial outer wall cleaning machine | |
| CN221128573U (en) | Pesticide sprinkler device is planted to maize | |
| CN215241661U (en) | Concrete water conservation curing means for building | |
| CN221109293U (en) | Dust collection treatment device |
Legal Events
| Date | Code | Title | Description |
|---|---|---|---|
| GR01 | Patent grant | ||
| GR01 | Patent grant |