CN216250599U - Frame circuit breaker prevents mistake locking device - Google Patents
Frame circuit breaker prevents mistake locking device Download PDFInfo
- Publication number
- CN216250599U CN216250599U CN202122788149.9U CN202122788149U CN216250599U CN 216250599 U CN216250599 U CN 216250599U CN 202122788149 U CN202122788149 U CN 202122788149U CN 216250599 U CN216250599 U CN 216250599U
- Authority
- CN
- China
- Prior art keywords
- circuit breaker
- fixedly connected
- casing
- electromagnet
- connecting piece
- Prior art date
- Legal status (The legal status is an assumption and is not a legal conclusion. Google has not performed a legal analysis and makes no representation as to the accuracy of the status listed.)
- Active
Links
- 230000007246 mechanism Effects 0.000 claims abstract description 29
- 238000004146 energy storage Methods 0.000 claims abstract description 13
- 239000000919 ceramic Substances 0.000 claims description 4
- 239000002184 metal Substances 0.000 claims description 3
- 230000000694 effects Effects 0.000 abstract description 9
- 238000000034 method Methods 0.000 abstract description 6
- 238000005520 cutting process Methods 0.000 abstract description 4
- 230000008569 process Effects 0.000 abstract description 4
- 238000012423 maintenance Methods 0.000 abstract description 3
- 230000009471 action Effects 0.000 description 3
- 238000010586 diagram Methods 0.000 description 2
- 238000003825 pressing Methods 0.000 description 2
- 230000002159 abnormal effect Effects 0.000 description 1
- 230000009286 beneficial effect Effects 0.000 description 1
- 230000000875 corresponding effect Effects 0.000 description 1
- 238000009826 distribution Methods 0.000 description 1
- 230000006872 improvement Effects 0.000 description 1
- 230000004048 modification Effects 0.000 description 1
- 238000012986 modification Methods 0.000 description 1
- 238000005457 optimization Methods 0.000 description 1
Images
Landscapes
- Breakers (AREA)
Abstract
The utility model provides an anti-misoperation lock device of a frame circuit breaker, which belongs to the technical field of frame circuit breakers and comprises a shell, an energy storage mechanism and an electromagnet mechanism, wherein a fixed frame is fixedly connected to the inner bottom surface of the shell, a circuit breaker main body is installed on the fixed frame, a circuit breaker panel is arranged on the front surface of the circuit breaker main body, the energy storage mechanism and the electromagnet mechanism are installed in the circuit breaker panel, a movable door is hinged to the front surface of the shell, and a connecting piece is fixedly connected to the back surface of the movable door. Through the connecting piece and the wiring mechanism that set up, can play the effect of cutting off the electro-magnet power, opening the door and overhauing the in-process of maintaining the circuit breaker, make the unable circular telegram of electro-magnet, only when the dodge gate closes, the electro-magnet just can use to can prevent to touch electro-magnet in the maintenance process mistake and lead to dangerous the emergence, thereby solved among the prior art problem that the maloperation takes place for the frame circuit breaker.
Description
Technical Field
The utility model belongs to the technical field of frame breakers, and particularly relates to an anti-misoperation lock device of a frame breaker.
Background
The universal circuit breaker is also called frame type circuit breaker, and is a mechanical switch electric appliance which can connect, bear and break the current under the normal circuit condition, and can also connect, bear and break the current for a certain time under the specified abnormal circuit condition. Conventional circuit breakers are used to distribute electrical energy and to protect lines and power equipment from overloads, undervoltages, short circuits, etc. The intelligent universal circuit breaker is suitable for a power distribution network with the alternating current of 50Hz, the rated voltage of 380V and 660V and the rated current of 200A-6300A, is mainly used for distributing electric energy and protecting circuits and power supply equipment from damage caused by faults such as overload, undervoltage, short circuit, single-phase grounding and the like, has multiple intelligent protection functions, can achieve selective protection, is accurate in action, avoids unnecessary power failure and improves the reliability of power supply. Under normal conditions, the switching circuit can be used for infrequent switching of the line. Circuit breakers below 1250A may be used to protect motors from overloads and short circuits in a network of 380V ac 50Hz voltage. And can be used for the infrequent starting of the motor under the normal condition.
When the frame short-circuiting device is used for switching on and switching off, energy is stored by the energy storage mechanism generally, then the electromagnet is used for limiting the position to keep the energy storage mechanism at a certain position, then the electromagnet is controlled to enable the energy storage mechanism to perform switching on and switching off, however, the control button of the electromagnet is touched by mistake under the condition of misoperation, and then an accident can be caused, so that a device capable of preventing misoperation is needed.
SUMMERY OF THE UTILITY MODEL
The utility model aims to provide an anti-misoperation device of a frame circuit breaker, and aims to solve the problem of misoperation of the frame circuit breaker in the prior art.
In order to achieve the purpose, the utility model provides the following technical scheme: the utility model provides a frame circuit breaker prevents mistake locking device, includes casing, energy storage mechanism and electromagnet mechanism, the interior bottom fixedly connected with mount of casing, install the circuit breaker main part on the mount, the front of circuit breaker main part is provided with circuit breaker panel, energy storage mechanism and electromagnet mechanism install in circuit breaker panel, the front of casing articulates there is the dodge gate, the back fixedly connected with connecting piece of dodge gate, the casing is close to and is provided with the wiring component on the inside wall of articulated position, be the contact connection between connecting piece and the wiring component, be the connection of electric lines between wiring component and the electromagnet mechanism.
In order to enable the frame circuit breaker anti-misoperation lock device to achieve the action of cutting off a power supply, the connecting piece preferably comprises a fixed block fixed on the back of the movable door, one end of the fixed block is fixedly connected with a connecting column, the wiring component comprises a fixed seat fixedly connected to the inner side wall of the shell, the upper end and the lower end of the fixed seat are both fixedly connected with wiring terminals, one ends of the two wiring terminals, which are close to each other, are both provided with contacts, the contacts and the fixed seat are fixedly connected, the distance between the two contacts is slightly smaller than the length of the connecting column, and the horizontal position of the connecting column is between the two contacts.
In order to ensure that the anti-misoperation lock device of the frame circuit breaker can achieve a safer effect, the fixing block and the fixing seat are preferably made of insulating ceramic parts, the connecting column is made of conductive metal, and the upper end and the lower end of the connecting column are both provided with round corners.
In order to enable the frame circuit breaker anti-misoperation lock device to achieve the effect that the electromagnet can be communicated with a power supply, as a preferable mode of the utility model, the wiring terminal and the electromagnet mechanism are connected through a wire, and the current in the wire is controlled by the control button and the connecting piece of the electromagnet together.
In order to enable the anti-misoperation lock device of the frame circuit breaker to achieve the effect of facilitating opening and closing of the movable door, the movable door is preferably hinged to the shell through a hinge, a handle is arranged on the side edge of the front face of the movable door, and through grooves are formed in the upper face and the lower face of the shell.
In order to enable the anti-misoperation lock device of the frame circuit breaker to achieve the effect of conveniently observing the working state and operation of the circuit breaker, as an optimization of the utility model, a guide rail is fixedly connected at the middle position of the front surface of the movable door, and a baffle is inserted into the inner wall of the guide rail.
Compared with the prior art, the utility model has the beneficial effects that:
1. this mistake locking device is prevented to frame circuit breaker through connecting piece and the wiring mechanism that sets up, can play the effect of cutting off the electro-magnet power, overhauls and maintains the in-process to the circuit breaker opening the door, makes the unable circular telegram of electro-magnet, only when the dodge gate closes, the electro-magnet just can use to can prevent to miss in the maintenance process and touch electro-magnet and lead to dangerous the emergence, thereby solved among the prior art the problem that the frame circuit breaker takes place the maloperation.
2. This frame circuit breaker prevents mistake locking device through the baffle that sets up, can take off the baffle at any time and observe the operating condition of circuit breaker or operate the circuit breaker panel to reach facilitate the use and dirt-proof effect.
Drawings
The accompanying drawings, which are included to provide a further understanding of the utility model and are incorporated in and constitute a part of this specification, illustrate embodiments of the utility model and together with the description serve to explain the principles of the utility model and not to limit the utility model. In the drawings:
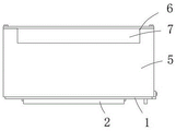
FIG. 1 is a schematic front view of an embodiment of the present invention;
FIG. 2 is a schematic top view of an embodiment of the present invention;
FIG. 3 is a schematic diagram of the internal structure of an embodiment of the present invention;
fig. 4 is an enlarged schematic structural diagram of a portion a in fig. 3 according to an embodiment of the present invention.
In the figure: 1. a movable door; 2. a baffle plate; 3. a guide rail; 4. a handle; 5. a housing; 6. a through groove; 7. a circuit breaker main body; 8. a hinge; 9. a fixed mount; 10. a circuit breaker panel; 11. a binding post; 12. a fixed seat; 13. a contact; 14. a fixed block; 15. connecting columns.
Detailed Description
The technical solutions in the embodiments of the present invention will be clearly and completely described below with reference to the drawings in the embodiments of the present invention, and it is obvious that the described embodiments are only a part of the embodiments of the present invention, and not all of the embodiments. All other embodiments, which can be derived by a person skilled in the art from the embodiments given herein without making any creative effort, shall fall within the protection scope of the present invention.
Referring to fig. 1-4, the present invention provides the following technical solutions: the utility model provides a frame circuit breaker prevents mistake locking device, which comprises a housin 5, energy storage mechanism and electromagnet mechanism, the interior bottom fixedly connected with mount 9 of casing 5, install circuit breaker main part 7 on the mount 9, the front of circuit breaker main part 7 is provided with circuit breaker panel 10, energy storage mechanism and electromagnet mechanism install in circuit breaker panel 10, the front of casing 5 articulates there is dodge gate 1, the back fixedly connected with connecting piece of dodge gate 1, casing 5 is provided with the wiring component on being close to the inside wall of articulated position, be the contact connection between connecting piece and the wiring component, be connection of electric lines between wiring component and the electromagnet mechanism.
In the specific embodiment of the utility model, the connecting piece and the wiring mechanism can be used for cutting off the power supply of the electromagnet, so that the electromagnet cannot be electrified in the process of opening the door to overhaul and maintain the circuit breaker, and the electromagnet can be used only when the movable door 1 is closed, thereby preventing the danger caused by mistakenly touching the electromagnet in the maintenance process.
Preferably, the connecting piece comprises a fixed block 14 fixed on the back of the movable door 1, one end of the fixed block 14 is fixedly connected with a connecting column 15, the wiring component comprises a fixed seat 12 fixedly connected with the inner side wall of the shell 5, the upper end and the lower end of the fixed seat 12 are both fixedly connected with wiring terminals 11, one end of each of the two wiring terminals 11 close to each other is provided with a contact 13, the contact 13 is fixedly connected with the fixed seat 12, the distance between the two contacts 13 is slightly smaller than the length of the connecting column 15, the horizontal position of the connecting column 15 is between the two contacts 13, when the movable door is opened, the connecting column 15 can leave the contacts 13 to disconnect a circuit, so that the electromagnet cannot work, a control button pressing the electromagnet cannot enable the electromagnet to work, therefore, even if the energy storage mechanism finishes energy storage, the next action cannot be carried out, the electromagnet can be powered on only when the connecting column 15 and the contacts 13 which are closed, at the moment, the electromagnet can have corresponding action only by pressing the control button of the electromagnet.
Further, fixed block 14 and fixing base 12 are insulating ceramic spare, and spliced pole 15 is conductive metal, and the upper and lower both ends of spliced pole 15 all have the fillet to handle, are insulating ceramic spare through fixed block 14 and the fixing base 12 that sets up, can prevent the electric leakage, through having the fillet to spliced pole 15 to handle, can make more smooth and easy entering even between a contact 13 of spliced pole 15.
Specifically, the wiring terminal 11 is connected with the electromagnet mechanism through an electric wire, the current in the electric wire is controlled by the control button of the electromagnet and the connecting piece together, the electromagnet can be connected to a power supply through the electric wire, and the current is controlled by the control button of the electromagnet and the connecting piece together, so that the connecting piece can play a role.
Specifically, hinge 8 is articulated between dodge gate 1 and the casing 5, and the positive side of dodge gate 1 is provided with handle 4, and logical groove 6 has all been seted up on the upper and lower two sides of casing 5, through the handle 4 that sets up, can be convenient open and shut dodge gate 1, through the logical groove 6 that sets up, can not influence the wiring of circuit breaker.
Further, the position fixedly connected with guide rail 3 in the middle of the activity door 1 openly, the baffle 2 has been pegged graft to the inner wall of guide rail 3, and through the baffle 2 that sets up, can take off the baffle 2 at any time and observe the operating condition of circuit breaker or operate circuit breaker panel 10 to reach facilitate the use and dirt-proof effect.
The electrical components presented in the document are all electrically connected with an external master controller and 220V mains, and the master controller can be a conventional known device controlled by a computer or the like.
Finally, it should be noted that: although the present invention has been described in detail with reference to the foregoing embodiments, it will be apparent to those skilled in the art that changes may be made in the embodiments and/or equivalents thereof without departing from the spirit and scope of the utility model. Any modification, equivalent replacement, or improvement made within the spirit and principle of the present invention should be included in the protection scope of the present invention.
Claims (6)
1. The utility model provides a frame circuit breaker prevents mistake locking device, includes casing (5), energy storage mechanism and electromagnet mechanism, its characterized in that: the interior bottom surface fixedly connected with mount (9) of casing (5), install circuit breaker main part (7) on mount (9), the front of circuit breaker main part (7) is provided with circuit breaker panel (10), energy storage mechanism and electromagnet mechanism install in circuit breaker panel (10), the front of casing (5) articulates there is dodge gate (1), the back fixedly connected with connecting piece of dodge gate (1), casing (5) are close to and are provided with the wiring component on the inside wall of articulated position, connect for the contact between connecting piece and the wiring component, be connection of electric lines between wiring component and the electromagnet mechanism.
2. The frame circuit breaker anti-misoperation lock apparatus according to claim 1, wherein: the connecting piece is including fixing fixed block (14) at the dodge gate (1) back, one end fixedly connected with spliced pole (15) of fixed block (14), the wiring component includes fixing base (12) of fixed connection at casing (5) inside wall, the equal fixedly connected with terminal (11) in upper and lower both ends of fixing base (12), the one end that two terminal (11) are close to each other all is provided with contact (13), fixed connection between contact (13) and fixing base (12), two interval between contact (13) slightly is less than the length of spliced pole (15), the horizontal position of spliced pole (15) is between two contact (13).
3. The frame circuit breaker anti-misoperation lock apparatus according to claim 2, wherein: the fixing block (14) and the fixing seat (12) are insulating ceramic pieces, the connecting column (15) is made of conductive metal, and round corners are arranged at the upper end and the lower end of the connecting column (15).
4. The frame circuit breaker anti-misoperation lock apparatus according to claim 2, wherein: the wiring terminal (11) is connected with the electromagnet mechanism through an electric wire, and the current in the electric wire is controlled jointly through a control button and a connecting piece of the electromagnet.
5. The frame circuit breaker anti-misoperation lock apparatus according to claim 1, wherein: articulated through hinge (8) between dodge gate (1) and casing (5), the positive side of dodge gate (1) is provided with handle (4), logical groove (6) have all been seted up to the upper and lower two sides of casing (5).
6. The frame circuit breaker anti-misoperation lock apparatus according to claim 1, wherein: the middle position of the front surface of the movable door (1) is fixedly connected with a guide rail (3), and a baffle (2) is inserted into the inner wall of the guide rail (3).
Priority Applications (1)
| Application Number | Priority Date | Filing Date | Title |
|---|---|---|---|
| CN202122788149.9U CN216250599U (en) | 2021-11-15 | 2021-11-15 | Frame circuit breaker prevents mistake locking device |
Applications Claiming Priority (1)
| Application Number | Priority Date | Filing Date | Title |
|---|---|---|---|
| CN202122788149.9U CN216250599U (en) | 2021-11-15 | 2021-11-15 | Frame circuit breaker prevents mistake locking device |
Publications (1)
| Publication Number | Publication Date |
|---|---|
| CN216250599U true CN216250599U (en) | 2022-04-08 |
Family
ID=80940703
Family Applications (1)
| Application Number | Title | Priority Date | Filing Date |
|---|---|---|---|
| CN202122788149.9U Active CN216250599U (en) | 2021-11-15 | 2021-11-15 | Frame circuit breaker prevents mistake locking device |
Country Status (1)
| Country | Link |
|---|---|
| CN (1) | CN216250599U (en) |
-
2021
- 2021-11-15 CN CN202122788149.9U patent/CN216250599U/en active Active
Similar Documents
| Publication | Publication Date | Title |
|---|---|---|
| CN103515956A (en) | Voltage switching automatic paralleling device | |
| CN216250599U (en) | Frame circuit breaker prevents mistake locking device | |
| CN213125124U (en) | Mine explosion-proof intelligent high-voltage complete set distribution device | |
| CN205646517U (en) | Construction site distribution box | |
| CN201466492U (en) | Electrical anti-maloperation locking device for ground stud tip | |
| CN210805670U (en) | Novel circuit breaker equipment | |
| CN218919597U (en) | Isolation load switch cabinet for protecting used transformer | |
| CN203589725U (en) | A voltage switching automatic parallel device | |
| CN211238039U (en) | Power module maintenance protection structure and power distribution cabinet | |
| CN211929412U (en) | Residual current circuit breaker with closing state detection function | |
| CN212849585U (en) | Anti-misoperation device of high-voltage board | |
| CN111223723A (en) | Electronic miniature circuit breaker | |
| CN217034213U (en) | Automatic device of patrolling and examining of reserve diesel generator starting line of building | |
| CN221102881U (en) | High-voltage board busbar ground connection handcart locking circuit | |
| CN222654602U (en) | Integrated power distribution cabinet with high safety | |
| CN217115950U (en) | Multi-loop electromagnetic starter device | |
| CN214900312U (en) | Uninterrupted protection device | |
| CN215451222U (en) | Interlocking mechanism applied to air switch | |
| CN217719371U (en) | Program interlocking device between networking promotion cabinets | |
| CN219371845U (en) | An open combination electric appliance | |
| CN221428414U (en) | A numerically controlled explosion-proof dual-power supply dual-contact feeder switch | |
| CN221767391U (en) | A high-voltage box with double safety locking device | |
| CN214069563U (en) | A Novel Three-phase Inconsistency Protection Circuit of GIS Circuit Breaker | |
| CN219553503U (en) | Application structure of 6kV grounding disconnecting link in 0.4kV power distribution system | |
| CN218678539U (en) | Box-type transformer double-loop power supply safety conversion device |
Legal Events
| Date | Code | Title | Description |
|---|---|---|---|
| GR01 | Patent grant | ||
| GR01 | Patent grant |