CN216136864U - Waste gas treatment purifier who contains dust - Google Patents

Waste gas treatment purifier who contains dust Download PDF

Info

Publication number
CN216136864U
CN216136864U CN202121735698.3U CN202121735698U CN216136864U CN 216136864 U CN216136864 U CN 216136864U CN 202121735698 U CN202121735698 U CN 202121735698U CN 216136864 U CN216136864 U CN 216136864U
Authority
CN
China
Prior art keywords
dust
movably connected
waste gas
pipe
placing box
Prior art date
Legal status (The legal status is an assumption and is not a legal conclusion. Google has not performed a legal analysis and makes no representation as to the accuracy of the status listed.)
Active
Application number
CN202121735698.3U
Other languages
Chinese (zh)
Inventor
王雅茹
Current Assignee (The listed assignees may be inaccurate. Google has not performed a legal analysis and makes no representation or warranty as to the accuracy of the list.)
Guangxi Xin Manganese Group Co ltd
Original Assignee
Guangxi Xin Manganese Group Co ltd
Priority date (The priority date is an assumption and is not a legal conclusion. Google has not performed a legal analysis and makes no representation as to the accuracy of the date listed.)
Filing date
Publication date
Application filed by Guangxi Xin Manganese Group Co ltd filed Critical Guangxi Xin Manganese Group Co ltd
Priority to CN202121735698.3U priority Critical patent/CN216136864U/en
Application granted granted Critical
Publication of CN216136864U publication Critical patent/CN216136864U/en
Active legal-status Critical Current
Anticipated expiration legal-status Critical

Links

Images

Landscapes

  • Filtering Of Dispersed Particles In Gases (AREA)
  • Treating Waste Gases (AREA)

Abstract

本实用新型属于废气处理技术领域,尤其为一种含有粉尘的废气处理净化装置,包括支撑板,所述支撑板的顶部活动连接有抽气泵,所述抽气泵的一侧活动连接有吸尘头,所述抽气泵的另一侧活动连接有放置箱。该废气处理净化装置,设置滤袋,排放到放置箱内粉尘废气会向上漂浮,粉尘废气在漂浮过程中会通过滤袋,滤袋将粉尘废气进行初步的过滤,将废气中较大的粉尘拦截,设置滤尘网,初步过滤处理的废气被鼓风机吹到通道管内,废气在通过通道管时,会经过滤尘网,滤尘网将废气内的粉尘进行吸附拦截,设置喷淋架,第一水泵将水箱内的催化剂抽出,通过水管排放到喷淋架内,喷淋架在将催化剂排放到处理箱内,对处理箱内的废气进行处理。

Figure 202121735698

The utility model belongs to the technical field of waste gas treatment, in particular to a waste gas treatment and purification device containing dust. , and a placement box is movably connected to the other side of the air pump. The waste gas treatment and purification device is equipped with a filter bag. The dust and waste gas discharged into the storage box will float upward. During the floating process, the dust and waste gas will pass through the filter bag. The filter bag will initially filter the dust and waste gas, and intercept the larger dust in the waste gas. , set up a dust filter screen, the preliminary filtered exhaust gas is blown into the channel pipe by the blower, and when the exhaust gas passes through the channel pipe, it will pass through the dust filter screen, and the dust filter screen will adsorb and intercept the dust in the exhaust gas, set up a spray frame, and the first water pump will pump the water tank The catalyst inside is extracted and discharged into the spray rack through the water pipe, and the spray rack discharges the catalyst into the treatment box to treat the exhaust gas in the treatment box.

Figure 202121735698

Description

Waste gas treatment purifier who contains dust
Technical Field
The utility model belongs to the technical field of waste gas treatment, and particularly relates to a waste gas treatment and purification device containing dust.
Background
The waste gas purification mainly refers to the treatment of industrial waste gas generated in industrial places, such as dust particles, smoke and dust, peculiar smell gas and toxic and harmful gas. The common waste gas purification includes factory smoke and dust waste gas purification, workshop dust waste gas purification, organic waste gas purification, waste gas peculiar smell purification, acid-base waste gas purification, chemical waste gas purification and the like, waste gas discharged in industrial production often has harmful influence on environment and human health, and purification measures are adopted to treat the waste gas before the waste gas is discharged into the atmosphere so as to enable the waste gas to meet the requirements of waste gas discharge standards, and the process is called waste gas purification. Common methods for exhaust gas purification are: the absorption method, the adsorption method, the condensation method and the combustion method are four methods, a complete waste gas purification system generally comprises five parts, namely a waste gas collecting device (gas collecting hood) for collecting the polluted gas, a purification device for connecting pipelines of all the parts of the system to purify the polluted gas, a ventilator for providing power for gas flow, a chimney for fully utilizing the diffusion and dilution capacity of the atmosphere to reduce pollution, and the treatment of the waste gas is carried out from two aspects: firstly, the waste gas dust removal aiming at suspended granular pollutants; secondly, the control of purifying the gaseous pollutants by the waste gas of the gaseous pollutants is mainly to separate the pollutants from the waste gas by utilizing the differences of physicochemical properties such as solubility, adsorption saturation, dew point, selective chemical reaction and the like; or to convert the contaminants into harmless or easily disposable substances. Basic methods for purifying exhaust gas include absorption, adsorption, condensation, catalytic conversion, and combustion.
At present, some factories can, float in the workshop and have the dust when the workshop in the factory is the preparation part when production, and the device of professional processing waste gas can be discharged to floated dust and waste gas, but present most exhaust gas purification device is inconvenient accomplishes the screening process to the waste gas that contains the dust in the use.
SUMMERY OF THE UTILITY MODEL
To solve the problems set forth in the background art described above. The utility model provides a waste gas treatment and purification device containing dust, which solves the problem that the waste gas purification device is inconvenient to screen and treat waste gas containing dust in the waste gas treatment process.
In order to achieve the purpose, the utility model provides the following technical scheme: a waste gas treatment and purification device containing dust comprises a support plate, wherein the top of the support plate is movably connected with an air pump, one side of the air pump is movably connected with a dust collection head, the other side of the air pump is movably connected with a placing box, the inner wall of the placing box is provided with a filter bag, one end of the placing box is connected with a first cover plate, the interior of the placing box is provided with a fixed frame, the upper surface of the fixed frame is movably connected with a placing box, one side of the placing box is provided with a second cover plate, one side of the placing box is provided with an air blower, the other side of the placing box is provided with a channel pipe, the interior of the channel pipe is movably connected with a dust filtering net, the top of the dust filtering net is fixedly connected with a pulling plate, the other side of the channel pipe is movably connected with a discharge pipe, one end of the discharge pipe is movably connected with a treatment box, and the bottom of the support plate is movably connected with a water tank, one side swing joint of water tank has first water pump, one side swing joint of first water pump has the water pipe, the one end swing joint of water pipe has the frame that sprays, the lower surface swing joint of backup pad has the collecting box, one side swing joint of collecting box has the second water pump, one side swing joint of second water pump has the drinking-water pipe, the one end swing joint of drinking-water pipe has the activated carbon board, the top swing joint who handles the case has the blast pipe, the surface swing joint of blast pipe has the valve, the four corners swing joint of backup pad bottom has the supporting leg.
Preferably, the air suction pump is connected with the placing box through a dust suction head, and the filter bag is U-shaped.
Preferably, the surface of the placing box is provided with a leak hole, and the inside of the placing box is provided with an adsorbent.
Preferably, the water pipe is connected with the spraying frame through a supporting plate, and the surface of the spraying frame is movably connected with a spray head.
Preferably, the placing box is connected with the processing box through a channel pipe, and the processing box is made of an insulator.
Compared with the prior art, the utility model has the beneficial effects that: this convenient waste gas treatment device to containing dust waste gas screening, set up the filter bag, it can upwards float to discharge to place incasement dust waste gas, dust waste gas can pass through the filter bag at showy in-process, the filter bag carries out preliminary filtration with dust waste gas, with great dust interception in the waste gas, set up the dirt filtrating screen, the waste gas of preliminary filtration processing is blown to the passageway intraductal by the air-blower, waste gas is when passing through the passageway pipe, can pass through the dirt filtrating screen, the dirt filtrating screen adsorbs the interception with the dust in the waste gas, set up the spray frame, first water pump takes the catalyst in the water tank out, discharge in the spray frame through the water pipe, the spray frame discharges the catalyst and handles the incasement, waste gas to handling the incasement handles.
Drawings
The accompanying drawings, which are included to provide a further understanding of the utility model and are incorporated in and constitute a part of this specification, illustrate embodiments of the utility model and together with the description serve to explain the principles of the utility model and not to limit the utility model. In the drawings:
FIG. 1 is a first perspective view of the present invention;
FIG. 2 is a second perspective view of the present invention;
FIG. 3 is a perspective cross-sectional view of the present invention;
fig. 4 is a perspective sectional view of the passage tube of the present invention.
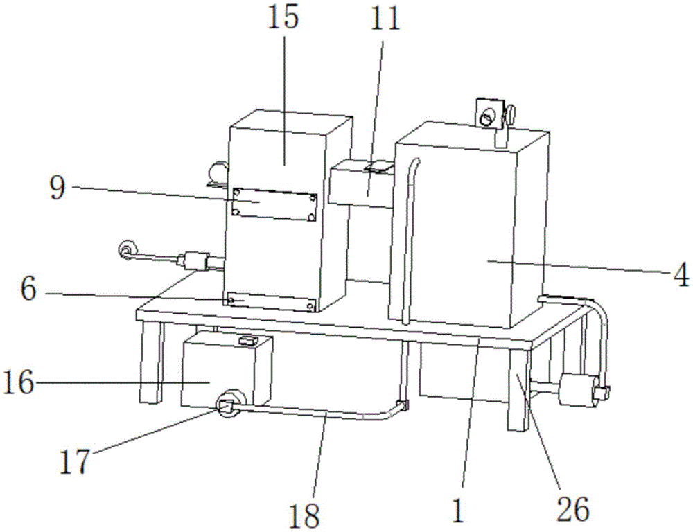
In the figure: 1, supporting a plate; 2, an air pump; 3 dust suction head; 4, placing the box; 5, filtering the bags; 6 a first cover plate; 7, fixing a frame; 8, placing a box; 9 a second cover plate; 10 a blower; 11 a channel tube; 12, a dust filter screen; 13, pulling a plate; 14 a discharge pipe; 15 treatment box; 16 water tanks; 17 a first water pump; 18 a water pipe; 19 a spray rack; 20 a collection box; 21 a second water pump; 22, a water pumping pipe; 23 an activated carbon plate; 24 an exhaust pipe; 25 a valve; 26 support the leg.
Detailed Description
The technical solutions in the embodiments of the present invention will be clearly and completely described below with reference to the drawings in the embodiments of the present invention, and it is obvious that the described embodiments are only a part of the embodiments of the present invention, and not all of the embodiments. All other embodiments, which can be derived by a person skilled in the art from the embodiments given herein without making any creative effort, shall fall within the protection scope of the present invention.
Referring to fig. 1-4, the present invention provides the following technical solutions: a waste gas treatment and purification device containing dust comprises a support plate 1, wherein the top of the support plate 1 is movably connected with an air pump 2, one side of the air pump 2 is movably connected with a dust collection head 3, the other side of the air pump 2 is movably connected with a placing box 4, the inner wall of the placing box 4 is provided with a filter bag 5, one end of the placing box 4 is connected with a first cover plate 6, the inside of the placing box 4 is provided with a fixing frame 7, the upper surface of the fixing frame 7 is movably connected with a placing box 8, one side of the placing box 8 is provided with a second cover plate 9, one side of the placing box 4 is provided with an air blower 10, the other side of the placing box 4 is provided with a channel pipe 11, the inside of the channel pipe 11 is movably connected with a dust filtering net 12, the top of the dust filtering net 12 is fixedly connected with a pulling plate 13, the other side of the channel pipe 11 is movably connected with a discharge pipe 14, one end of the discharge pipe 14 is movably connected with a treatment box 15, and the bottom of the support plate 1 is movably connected with a water tank 16, one side swing joint of water tank 16 has first water pump 17, one side swing joint of first water pump 17 has water pipe 18, the one end swing joint of water pipe 18 has spray frame 19, the lower surface swing joint of backup pad 1 has collecting box 20, one side swing joint of collecting box 20 has second water pump 21, one side swing joint of second water pump 21 has drinking-water pipe 22, the one end swing joint of drinking-water pipe 22 has activated carbon plate 23, the top swing joint of handling case 20 has blast pipe 24, the surface swing joint of blast pipe 24 has valve 25, the four corners swing joint of backup pad 1 bottom has supporting leg 26.
Specifically, aspiration pump 2 is connected with placing case 4 through dust absorption head 3, and the shape of filter bag 5 is the U type, and aspiration pump 2 discharges the waste gas that contains the dust through dust absorption head 3 and places the case 4 in, discharges and places case 4 interior dust waste gas and can upwards float, and dust waste gas can pass through filter bag 5 at showy in-process, and filter bag 5 carries out preliminary filtration with dust waste gas, with the great dust interception in the waste gas.
Specifically, the surface of placing box 8 is provided with the small opening, places box 8 inside and is provided with the adsorbent, and prefilter's waste gas can be adsorbed by the adsorbent through the small opening and is handled.
Specifically, the water pipe 18 is connected with a spray rack 19 through the support plate 1, a spray head is movably connected to the surface of the spray rack 19, the first water pump 17 pumps out the catalyst in the water tank 16 and discharges the catalyst into the spray rack 19 through the water pipe 18, and the spray rack 19 discharges the catalyst into the treatment box 15 through the spray head to treat the waste gas in the treatment box 15.
Specifically, the placing box 4 is connected with the processing box 15 through the channel pipe 11, the processing box 15 is made of an insulator, the waste gas discharged into the placing box 4 is discharged into the processing box 15 through the channel pipe 11, and the processing box 15 of the insulator prevents the catalyst from damaging the processing box 15 after the catalyst is used for a long time.
The working principle and the using process of the utility model are as follows: when the waste gas treatment and purification device containing dust is used, the support plate 1 is connected with the air pump 2, one side of the air pump 2 is connected with the dust collection head 3, the other side of the air pump 2 is connected with the placing box 4, the air pump 2 discharges the waste gas containing dust into the placing box 4 through the dust collection head 3, the inner wall of the placing box 4 is provided with the filter bag 5, the filter bag 5 preliminarily filters the dust and the waste gas, one end of the placing box 4 is connected with the first cover plate 6, the first cover plate 6 can be opened, the inside of the placing box 4 is provided with the fixing frame 7, the upper surface of the fixing frame 7 is connected with the placing box 8, the fixing frame 7 supports the placing box 8, one side of the placing box 8 is provided with the second cover plate 9, the second cover plate 9 can be opened, one side of the placing box 4 is provided with the air blower 10, the other side of the placing box 4 is provided with the channel pipe 11, the inside of the channel pipe 11 is connected with the dust filtration net 12, the top of the dust filtration net 12 is connected with the pull plate 13, the pull plate 13 can replace the dust filtration net 12, the other side of the channel pipe 11 is connected with a discharge pipe 14, one end of the discharge pipe 14 is connected with a processing box 15, a blower 10 discharges dust waste gas in the placing box 4 into the processing box 15 through the channel pipe 14, the bottom of the supporting plate 1 is connected with a water tank 16, one side of the water tank 16 is connected with a first water pump 17, one side of the first water pump 17 is connected with a water pipe 18, one end of the water pipe 18 is connected with a spray rack 19, the first water pump 17 discharges catalyst into the processing box 15 to process the waste gas, the lower surface of the supporting plate 1 is connected with a collecting box 20, one side of the collecting box 20 is connected with a second water pump 21, one side of the second water pump 21 is connected with a water pumping pipe 22, one end of the water pumping pipe 22 is connected with an activated carbon plate 23, the second water pump 21 processes the catalyst in the processing box 15 through the water pumping pipe 22 and the activated carbon plate 23, the processed catalyst is discharged into the collecting box 20, the top of the processing box 15 is connected with a gas discharge pipe 24, and the surface of the gas discharge pipe 24 is connected with a valve 25, the exhaust gas is discharged through the exhaust pipe 24 and the valve 25 after being treated, the four corners of the bottom of the supporting plate 1 are connected with supporting legs 26, and the supporting plate 26 supports the exhaust gas treatment and purification device.
Finally, it should be noted that: although the present invention has been described in detail with reference to the foregoing embodiments, it will be apparent to those skilled in the art that changes may be made in the embodiments and/or equivalents thereof without departing from the spirit and scope of the utility model. Any modification, equivalent replacement, or improvement made within the spirit and principle of the present invention should be included in the protection scope of the present invention.

Claims (5)

1. A dust-containing exhaust gas treatment purification device, comprising a support plate (1), characterized in that: the dust collector is characterized in that the top of the supporting plate (1) is movably connected with an air pump (2), one side of the air pump (2) is movably connected with a dust collection head (3), the other side of the air pump (2) is movably connected with a placing box (4), the inner wall of the placing box (4) is provided with a filter bag (5), one end of the placing box (4) is connected with a first cover plate (6), a fixing frame (7) is arranged inside the placing box (4), the upper surface of the fixing frame (7) is movably connected with a placing box (8), one side of the placing box (8) is provided with a second cover plate (9), one side of the placing box (4) is provided with an air blower (10), the other side of the placing box (4) is provided with a channel pipe (11), the inside of the channel pipe (11) is movably connected with a dust filtering net (12), and the top of the dust filtering net (12) is fixedly connected with a pulling plate (13), the device comprises a channel pipe (11), a discharge pipe (14) is movably connected to the other side of the channel pipe (11), a treatment box (15) is movably connected to one end of the discharge pipe (14), a water tank (16) is movably connected to the bottom of a support plate (1), a first water pump (17) is movably connected to one side of the water tank (16), a water pipe (18) is movably connected to one side of the first water pump (17), a spray rack (19) is movably connected to one end of the water pipe (18), a collection box (20) is movably connected to the lower surface of the support plate (1), a second water pump (21) is movably connected to one side of the collection box (20), a water pumping pipe (22) is movably connected to one side of the second water pump (21), an activated carbon plate (23) is movably connected to one end of the water pumping pipe (22), an exhaust pipe (24) is movably connected to the top of the treatment box (15), and a valve (25) is movably connected to the surface of the exhaust pipe (24), four corners of the bottom of the supporting plate (1) are movably connected with supporting legs (26).
2. The dust-containing exhaust gas treatment purification device according to claim 1, wherein: the air suction pump (2) is connected with the placing box (4) through the dust suction head (3), and the filter bag (5) is U-shaped.
3. The dust-containing exhaust gas treatment purification device according to claim 1, wherein: the surface of the placing box (8) is provided with a leak hole, and the inside of the placing box (8) is provided with an adsorbent.
4. The dust-containing exhaust gas treatment purification device according to claim 1, wherein: the water pipe (18) is connected with a spraying frame (19) through a support plate (1), and the surface of the spraying frame (19) is movably connected with a spray head.
5. The dust-containing exhaust gas treatment purification device according to claim 1, wherein: the placing box (4) is connected with a processing box (15) through a channel pipe (11), and the processing box (15) is made of an insulator.
CN202121735698.3U 2021-07-28 2021-07-28 Waste gas treatment purifier who contains dust Active CN216136864U (en)

Priority Applications (1)

Application Number Priority Date Filing Date Title
CN202121735698.3U CN216136864U (en) 2021-07-28 2021-07-28 Waste gas treatment purifier who contains dust

Applications Claiming Priority (1)

Application Number Priority Date Filing Date Title
CN202121735698.3U CN216136864U (en) 2021-07-28 2021-07-28 Waste gas treatment purifier who contains dust

Publications (1)

Publication Number Publication Date
CN216136864U true CN216136864U (en) 2022-03-29

Family

ID=80804466

Family Applications (1)

Application Number Title Priority Date Filing Date
CN202121735698.3U Active CN216136864U (en) 2021-07-28 2021-07-28 Waste gas treatment purifier who contains dust

Country Status (1)

Country Link
CN (1) CN216136864U (en)

Similar Documents

Publication Publication Date Title
CN205392065U (en) Waste gas dust treatment device
CN205586754U (en) Industry organic waste gas purification device
CN216136864U (en) Waste gas treatment purifier who contains dust
CN212663224U (en) A kind of waste gas treatment equipment with circulation treatment structure
CN210251703U (en) Industrial VOCs waste gas treatment device
CN110052088B (en) Smoke dust treatment device for movable flame cutting machine
CN210385482U (en) Water sprays clarification plant with light oxygen purification performance
CN215901200U (en) Chemical waste gas treatment device convenient to remove
CN214287334U (en) Integrated smoke dust paint chemical waste gas active carbon fiber purification treatment device
CN214075773U (en) Waste gas filters detection device
CN214019791U (en) Chemical waste gas treatment device
CN213409766U (en) A laboratory fume hood with purification system
CN212039622U (en) Industrial workshop welding fume exhaust gas purification device
CN113082993A (en) Laboratory waste gas integration purifier
CN209363231U (en) A kind of weld fumes purification system
CN212524184U (en) Laboratory multifunctional material taking table
CN113209759A (en) Chemical plant waste gas is collected with waste gas detection device who has separation purification performance
CN107694254B (en) Air purifier with water purification function
CN215692826U (en) A exhaust treatment device for processing usefulness of rubber mill
CN208372651U (en) A kind of chemical gases recyclable device
CN218249378U (en) Odor gas combined purification device
CN213286163U (en) Waste smoke purifying equipment for rubber production
CN212548882U (en) Environment-friendly paint spraying absorption device
CN112473310A (en) High-efficient collection device of waste gas
CN213853743U (en) A halogen-containing waste gas treatment device

Legal Events

Date Code Title Description
GR01 Patent grant
GR01 Patent grant
PE01 Entry into force of the registration of the contract for pledge of patent right
PE01 Entry into force of the registration of the contract for pledge of patent right

Denomination of utility model: A waste gas treatment and purification device containing dust

Granted publication date: 20220329

Pledgee: Bank of Guilin Co.,Ltd. Chongzuo branch

Pledgor: GUANGXI XIN-MANGANESE GROUP Co.,Ltd.

Registration number: Y2025980056221