CN216117574U - Urban water supply system uses pH value supervisory equipment - Google Patents

Urban water supply system uses pH value supervisory equipment Download PDF

Info

Publication number
CN216117574U
CN216117574U CN202122333864.3U CN202122333864U CN216117574U CN 216117574 U CN216117574 U CN 216117574U CN 202122333864 U CN202122333864 U CN 202122333864U CN 216117574 U CN216117574 U CN 216117574U
Authority
CN
China
Prior art keywords
water supply
plate
base
supply system
lead screw
Prior art date
Legal status (The legal status is an assumption and is not a legal conclusion. Google has not performed a legal analysis and makes no representation as to the accuracy of the status listed.)
Active
Application number
CN202122333864.3U
Other languages
Chinese (zh)
Inventor
董晓磊
许冲
朱其龙
Current Assignee (The listed assignees may be inaccurate. Google has not performed a legal analysis and makes no representation or warranty as to the accuracy of the list.)
Fuzhou Hollysys Technology Co ltd
Original Assignee
Sanyu Water Technology Suzhou Co ltd
Priority date (The priority date is an assumption and is not a legal conclusion. Google has not performed a legal analysis and makes no representation as to the accuracy of the date listed.)
Filing date
Publication date
Application filed by Sanyu Water Technology Suzhou Co ltd filed Critical Sanyu Water Technology Suzhou Co ltd
Priority to CN202122333864.3U priority Critical patent/CN216117574U/en
Application granted granted Critical
Publication of CN216117574U publication Critical patent/CN216117574U/en
Active legal-status Critical Current
Anticipated expiration legal-status Critical

Links

Images

Landscapes

  • Measurement Of Levels Of Liquids Or Fluent Solid Materials (AREA)

Abstract

本实用新型公开的属于城市供水系统pH值监控技术领域,具体为一种城市供水系统用pH值监控设备,包括底座,所述底座左右两端均设置有立板,左右两侧的所述立板之间的上端设置有顶板,所述顶板中部开设有放置孔,所述顶板上方前后两侧均安装有滑轨,所述滑轨上滑动连接有滑块,前后两侧的所述滑块之间的上端安装有支撑板,所述支撑板上安装有驱动装置,所述支撑板下侧安装有气缸,所述气缸伸缩端下侧设置有安装座,所述安装座下侧安装有pH值传感器,所述pH值传感器电连接有显示器,城市用水箱中放置有城市供水系统用水,通过气缸带动pH值传感器下降,使pH值传感器探测端进入水中,对城市供水系统用水的pH值进行检测监控。

Figure 202122333864

The utility model discloses and belongs to the technical field of pH value monitoring of urban water supply system, in particular to a pH value monitoring device for urban water supply system, comprising a base, the left and right ends of the base are provided with vertical plates, The upper end between the plates is provided with a top plate, the middle part of the top plate is provided with a placement hole, a slide rail is installed on the front and rear sides of the top plate, and a slider is slidably connected to the slide rail, and the sliders on the front and rear sides are installed A support plate is installed on the upper end of the support plate, a drive device is installed on the support plate, a cylinder is installed on the lower side of the support plate, a mounting seat is installed on the lower side of the telescopic end of the air cylinder, and a pH is installed on the lower side of the installation seat. The pH sensor is electrically connected with a display, the urban water tank is placed with water from the urban water supply system, and the pH sensor is driven down by the cylinder, so that the detection end of the pH sensor enters the water, and the pH value of the water in the urban water supply system is measured. Detection monitoring.

Figure 202122333864

Description

Urban water supply system uses pH value supervisory equipment
Technical Field
The utility model relates to the technical field of pH value monitoring of urban water supply systems, in particular to a pH value monitoring device for an urban water supply system.
Background
The urban water supply system needs to continuously supply water with sufficient quantity and qualified quality to cities so as to meet the requirements of urban residents on daily life, production, fire protection, greening, environmental sanitation and the like. Therefore, the water supply system must be carefully planned and designed.
Need detect the control to the pH value of water among the urban water supply system, for guaranteeing the accuracy that pH value sensor detected, need wash pH value sensor through distilled water before detecting, in the current pH value supervisory equipment for urban water supply system use, need the staff to wash pH value sensor manually, the operation is frequent, leads to using inconveniently.
SUMMERY OF THE UTILITY MODEL
The utility model aims to provide a pH value monitoring device for an urban water supply system, which solves the problem that the pH value sensor needs to be manually cleaned by a worker in the use process of the existing pH value monitoring device for the urban water supply system in the background technology, and the operation is frequent, so that the use is inconvenient.
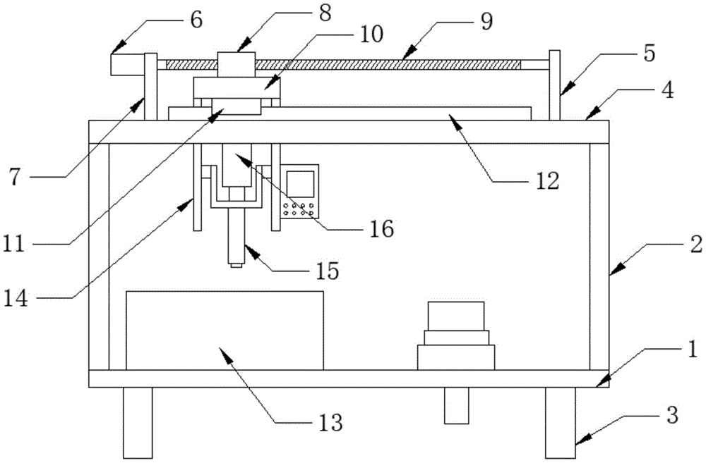
In order to achieve the purpose, the utility model provides the following technical scheme: the utility model provides a city is pH value supervisory equipment for water supply system, the on-line screen storage device comprises a base, both ends all are provided with the riser about the base, the left and right sides upper end between the riser is provided with the roof, the roof middle part has been seted up and has been placed the hole, the slide rail is all installed to both sides around the roof top, sliding connection has the slider on the slide rail, both sides around, the backup pad is installed to upper end between the slider, install drive arrangement in the backup pad, the cylinder is installed to the backup pad downside, the flexible end downside of cylinder is provided with the mount pad, pH value sensor is installed to the mount pad downside, pH value sensor electricity is connected with the display, the base left side is provided with the water tank for the city, belt cleaning device is installed on the base right side, the base lower extreme is provided with the supporting legs.
Preferably, the driving device comprises a first motor, a screw rod, a screw nut and a left side plate, the left side plate is arranged on the left side above the top plate, the first motor is installed on the left side plate, an output shaft of the first motor is connected with the screw rod, the screw nut is installed on the screw rod, and the screw nut is connected to the upper side of the supporting plate through a bolt.
Preferably, the right side of the top plate is provided with a right side plate, and the right end of the screw rod is rotatably connected with the right side plate.
Preferably, the left side and the right side below the supporting plate are both provided with sliding seats, the mounting seat is connected with the sliding seats in a sliding mode, and the display is mounted on the sliding seats.
Preferably, the cleaning device comprises a second motor, a fixed seat, a rotating seat and a distilled water tank, the fixed seat is arranged on the right side of the base, the rotating seat is connected to the upper side of the fixed seat in a rotating mode, a groove is formed in the upper side of the rotating seat, the distilled water tank is placed in the groove, and the second motor used for driving the rotating seat to rotate is mounted on the base.
Compared with the prior art, the utility model has the beneficial effects that:
1) the urban water tank is used for placing water for the urban water supply system, the pH value sensor is driven to descend through the air cylinder, the detection end of the pH value sensor enters water, and the pH value of the water for the urban water supply system is detected and monitored;
2) the driving device drives the pH value sensor to move rightwards, the pH value sensor is cleaned through the cleaning device, manual cleaning of workers is not needed, and the use is convenient;
3) the rotating seat is driven to rotate through the second motor, so that the distilled water tank is driven to rotate, distilled water is placed in the distilled water tank, and the distilled water tank is convenient to better clean the pH value sensor after rotating.
Drawings
FIG. 1 is a schematic structural view of the present invention;
FIG. 2 is a schematic cross-sectional view of the present invention;
FIG. 3 is a schematic perspective view of the distilled water tank and the rotary base of the present invention.
In the figure: the urban water tank comprises a base 1, a vertical plate 2, supporting legs 3, a top plate 4, a right side plate 5, a first motor 6, a left side plate 7, a lead screw nut 8, a lead screw 9, a supporting plate 10, a sliding block 11, a sliding rail 12, a urban water tank 13, a sliding seat 14, a pH value sensor 15, a cylinder 16, a display 17, an installation seat 18, a distilled water tank 19, a rotating seat 20, a fixing seat 21, a second motor 22, a groove 23 and a placing hole 24.
Detailed Description
The technical solutions in the embodiments of the present invention will be clearly and completely described below with reference to the drawings in the embodiments of the present invention, and it is obvious that the described embodiments are only a part of the embodiments of the present invention, and not all of the embodiments. All other embodiments, which can be derived by a person skilled in the art from the embodiments given herein without making any creative effort, shall fall within the protection scope of the present invention.
In the description of the present invention, it should be noted that the terms "upper", "lower", "inner", "outer", "top/bottom", and the like indicate orientations or positional relationships based on those shown in the drawings, and are only for convenience of description and simplification of description, but do not indicate or imply that the referred device or element must have a specific orientation, be constructed in a specific orientation, and be operated, and thus should not be construed as limiting the present invention. Furthermore, the terms "first" and "second" are used for descriptive purposes only and are not to be construed as indicating or implying relative importance.
In the description of the present invention, it should be noted that, unless otherwise explicitly specified or limited, the terms "mounted," "disposed," "sleeved/connected," "connected," and the like are to be construed broadly, e.g., "connected," which may be fixedly connected, detachably connected, or integrally connected; can be mechanically or electrically connected; they may be connected directly or indirectly through intervening media, or they may be interconnected between two elements. The specific meanings of the above terms in the present invention can be understood in specific cases to those skilled in the art.
Example (b):
referring to fig. 1-3, the present invention provides a technical solution: a pH value monitoring device for a city water supply system comprises a base 1, wherein vertical plates 2 are arranged at the left end and the right end of the base 1, a top plate 4 is arranged at the upper end between the vertical plates 2 at the left side and the right side, a placing hole 24 is formed in the middle of the top plate 4, slide rails 12 are arranged at the front side and the rear side above the top plate 4, slide blocks 11 are connected onto the slide rails 12 in a sliding manner, a support plate 10 is arranged at the upper end between the slide blocks 11 at the front side and the rear side, the support plate 10 can move leftwards and rightwards, a driving device is arranged on the support plate 10 and used for driving the support plate 10 to move, an air cylinder 16 is arranged at the lower side of the support plate 10, an installation seat 18 is arranged at the lower side of the telescopic end of the air cylinder 16, a pH value sensor 15 is arranged at the lower side of the installation seat 18, the pH value sensor 15 is electrically connected with a display 17, a city water tank 13 is arranged at the left side of the base 1, and a cleaning device is arranged at the right side of the base 1, the lower end of the base 1 is provided with a supporting leg 3.
The driving device comprises a first motor 6, a lead screw 9, a lead screw nut 8 and a left side plate 7, the left side plate 7 is arranged on the left side above the top plate 4, the first motor 6 is installed on the left side plate 7, the lead screw 9 is connected with an output shaft of the first motor 6, the lead screw nut 8 is installed on the lead screw 9, and the lead screw nut 8 is connected to the upper side of the supporting plate 10 through a bolt.
The right side of top 4 top is provided with right side board 5, lead screw 9 right-hand member rotates with right side board 5 to be connected, improves lead screw 9's stability.
The left side and the right side below the support plate 10 are both provided with sliding seats 14, the installation seat 18 is connected with the sliding seats 14 in a sliding mode, the installation seat 18 can stably move up and down, and the display 17 is installed on the sliding seats 14.
The cleaning device comprises a second motor 22, a fixed seat 21, a rotating seat 20 and a distilled water tank 19, the fixed seat 21 is arranged on the right side of the base 1, the rotating seat 20 is connected to the upper side of the fixed seat 21 in a rotating mode, a groove 23 is formed in the upper side of the rotating seat 20, the distilled water tank 19 is placed in the groove 23, and the second motor 22 used for driving the rotating seat 20 to rotate is mounted on the base 1.
The working principle is as follows: the air cylinder 16 drives the pH value sensor 15 to descend, so that the detection end of the pH value sensor 15 enters the distilled water tank 19, the pH value sensor 15 is cleaned through distilled water in the distilled water tank 19, the rotating seat 20 is driven to rotate through the second motor 22, the distilled water tank 19 is further driven to rotate, the cleaning effect is improved, after cleaning is completed, the air cylinder 16 drives the pH value sensor 15 to move upwards, the pH value sensor 15 is driven to move leftwards through rotation of the first motor 6, city water for a water supply system is placed in the city water tank 13, the air cylinder 16 drives the pH value sensor 15 to descend, so that the detection end of the pH value sensor 15 enters water, and the pH value of the city water for the water supply system is detected and monitored.
While there have been shown and described the fundamental principles and essential features of the utility model and advantages thereof, it will be apparent to those skilled in the art that the utility model is not limited to the details of the foregoing exemplary embodiments, but is capable of other specific forms without departing from the spirit or essential characteristics thereof; the present embodiments are therefore to be considered in all respects as illustrative and not restrictive, the scope of the utility model being indicated by the appended claims rather than by the foregoing description, and all changes which come within the meaning and range of equivalency of the claims are therefore intended to be embraced therein, and any reference signs in the claims are not intended to be construed as limiting the claim concerned.
Although embodiments of the present invention have been shown and described, it will be appreciated by those skilled in the art that changes, modifications, substitutions and alterations can be made in these embodiments without departing from the principles and spirit of the utility model, the scope of which is defined in the appended claims and their equivalents.

Claims (5)

1. The utility model provides a pH value supervisory equipment for urban water supply system, includes base (1), its characterized in that: the water tank is characterized in that vertical plates (2) are arranged at the left end and the right end of the base (1), a top plate (4) is arranged at the upper end between the vertical plates (2) at the left side and the right side, a placing hole (24) is formed in the middle of the top plate (4), slide rails (12) are arranged at the front side and the rear side above the top plate (4), slide blocks (11) are connected onto the slide rails (12) in a sliding manner, a support plate (10) is arranged at the upper end between the slide blocks (11) at the front side and the rear side, a driving device is arranged on the support plate (10), an air cylinder (16) is arranged at the lower side of the support plate (10), a mounting seat (18) is arranged at the lower side of the telescopic end of the air cylinder (16), a pH value sensor (15) is arranged at the lower side of the mounting seat (18), the pH value sensor (15) is electrically connected with a display (17), a water tank (13) for city is arranged at the left side of the base (1), a cleaning device is installed on the right side of the base (1), and supporting legs (3) are arranged at the lower end of the base (1).
2. The pH monitoring device for municipal water supply systems according to claim 1, wherein: the driving device comprises a first motor (6), a lead screw (9), a lead screw nut (8) and a left side plate (7), the left side plate (7) is arranged on the left side above the top plate (4), the first motor (6) is installed on the left side plate (7), the lead screw (9) is connected to an output shaft of the first motor (6), the lead screw nut (8) is installed on the lead screw (9), and the lead screw nut (8) is connected to the upper side of the supporting plate (10) through a bolt.
3. The pH monitoring device for municipal water supply system according to claim 2, wherein: the right side of the upper part of the top plate (4) is provided with a right side plate (5), and the right end of the screw rod (9) is rotatably connected with the right side plate (5).
4. The pH monitoring device for municipal water supply systems according to claim 1, wherein: the left side and the right side below the supporting plate (10) are provided with sliding seats (14), the mounting seat (18) is connected with the sliding seats (14) in a sliding mode, and the display (17) is mounted on the sliding seats (14).
5. The pH monitoring device for municipal water supply systems according to claim 1, wherein: the cleaning device comprises a second motor (22), a fixed seat (21), a rotating seat (20) and a distilled water tank (19), wherein the fixed seat (21) is arranged on the right side of the base (1), the rotating seat (20) is connected to the upper side of the fixed seat (21) in a rotating mode, a groove (23) is formed in the upper side of the rotating seat (20), the distilled water tank (19) is placed in the groove (23), and the base (1) is provided with the second motor (22) used for driving the rotating seat (20) to rotate.
CN202122333864.3U 2021-09-26 2021-09-26 Urban water supply system uses pH value supervisory equipment Active CN216117574U (en)

Priority Applications (1)

Application Number Priority Date Filing Date Title
CN202122333864.3U CN216117574U (en) 2021-09-26 2021-09-26 Urban water supply system uses pH value supervisory equipment

Applications Claiming Priority (1)

Application Number Priority Date Filing Date Title
CN202122333864.3U CN216117574U (en) 2021-09-26 2021-09-26 Urban water supply system uses pH value supervisory equipment

Publications (1)

Publication Number Publication Date
CN216117574U true CN216117574U (en) 2022-03-22

Family

ID=80688724

Family Applications (1)

Application Number Title Priority Date Filing Date
CN202122333864.3U Active CN216117574U (en) 2021-09-26 2021-09-26 Urban water supply system uses pH value supervisory equipment

Country Status (1)

Country Link
CN (1) CN216117574U (en)

Similar Documents

Publication Publication Date Title
CN211876949U (en) Aluminum alloy casting part flatness detection device
CN216117574U (en) Urban water supply system uses pH value supervisory equipment
CN213301959U (en) Building site raise dust monitor of being convenient for equipment maintenance for environmental monitoring
CN212970324U (en) A data collector for outdoor easy installation
CN222580048U (en) Monitoring device capable of linkage of urban carbon rows
CN214149409U (en) Air temperature and humidity sensor acquisition equipment
CN213090906U (en) Water level monitoring device for hydropower station
CN112964288A (en) Environment-friendly geological disaster monitor mounting bracket
CN210180476U (en) Multifunctional environment monitoring device
CN213021809U (en) Electronic water level detection equipment
CN215965005U (en) Construction environment monitoring device for building engineering convenient to remove
CN110108613A (en) A kind of fugitive dust instrument on-line monitoring information carrying means
CN215004857U (en) Dust on-line monitoring equipment
CN213301288U (en) Equipment supporting device for building detection
CN213336254U (en) An intelligent outdoor environment monitoring device based on single chip microcomputer
CN215064527U (en) A measuring and pay-out device for urban planning and design
CN223756074U (en) A high-precision dust and noise detection device
CN222164249U (en) Monitoring equipment
CN221398710U (en) Highway maintenance construction alarm
CN221094924U (en) Traffic engineering is with marking lamp
CN220323104U (en) Data acquisition device for visual detection of sand and stone materials
CN219551637U (en) A water level detection rod
CN221925213U (en) Pantograph detection vehicle
CN221006183U (en) Adjustable elevator guide rail measuring device
CN220568180U (en) Intelligent public toilet environment detection equipment adjusting mechanism

Legal Events

Date Code Title Description
GR01 Patent grant
GR01 Patent grant
CB03 Change of inventor or designer information
CB03 Change of inventor or designer information

Inventor after: Xu Chong

Inventor before: Dong Xiaolei

Inventor before: Xu Chong

Inventor before: Zhu Qilong

TR01 Transfer of patent right
TR01 Transfer of patent right

Effective date of registration: 20250929

Address after: 350000 Fujian Province, Fuzhou City, Gulou District, No. 78 Beihuan West Road, Building 2, Room 701

Patentee after: Fuzhou Hollysys Technology Co.,Ltd.

Country or region after: China

Address before: 215000 Jiangsu Province, Suzhou City, Gaoxin District, Jinshan Road No. 10, Building 1, Room 109-01

Patentee before: San Yu Water Technology (Suzhou) Co., Ltd.

Country or region before: China