CN216046240U - Wisdom heat supply surveillance camera head for cloud platform - Google Patents

Wisdom heat supply surveillance camera head for cloud platform Download PDF

Info

Publication number
CN216046240U
CN216046240U CN202022831328.1U CN202022831328U CN216046240U CN 216046240 U CN216046240 U CN 216046240U CN 202022831328 U CN202022831328 U CN 202022831328U CN 216046240 U CN216046240 U CN 216046240U
Authority
CN
China
Prior art keywords
gear
motor
rotating shaft
slider
belt pulley
Prior art date
Legal status (The legal status is an assumption and is not a legal conclusion. Google has not performed a legal analysis and makes no representation as to the accuracy of the status listed.)
Expired - Fee Related
Application number
CN202022831328.1U
Other languages
Chinese (zh)
Inventor
张辞源
Current Assignee (The listed assignees may be inaccurate. Google has not performed a legal analysis and makes no representation or warranty as to the accuracy of the list.)
Xi'an Woweilong Control System Co ltd
Original Assignee
Xi'an Woweilong Control System Co ltd
Priority date (The priority date is an assumption and is not a legal conclusion. Google has not performed a legal analysis and makes no representation as to the accuracy of the date listed.)
Filing date
Publication date
Application filed by Xi'an Woweilong Control System Co ltd filed Critical Xi'an Woweilong Control System Co ltd
Priority to CN202022831328.1U priority Critical patent/CN216046240U/en
Application granted granted Critical
Publication of CN216046240U publication Critical patent/CN216046240U/en
Expired - Fee Related legal-status Critical Current
Anticipated expiration legal-status Critical

Links

Images

Landscapes

  • Studio Devices (AREA)
  • Accessories Of Cameras (AREA)

Abstract

本实用新型涉及监控设备技术领域,且公开了一种智慧供热云平台用监控摄像头,包括支撑座,支撑座的下方通过轴承分别转动连接有转轴a和转轴b,支撑座的一侧连接有侧板且设置有支撑板,支撑板上设置有电机,电机的输出端与皮带轮a之间通过联轴器a传动,皮带轮a和皮带轮b之间通过传送带传动连接,侧板上开有滑槽,滑槽的内部有滑块a,皮带轮b下方连接有螺杆,螺杆上套设有滑块b,滑块b上设置有U型支架,U型支架上设置有两个旋转转轴,旋转转轴上设置有齿轮a和齿轮b,齿轮b上设置有转台,转台上卡接有摄像头,U型支架的一侧设置有电机支撑台,电机支撑台上安装有调速电机,本实用新型使用方便,能够调节摄像头的高度和角度。

Figure 202022831328

The utility model relates to the technical field of monitoring equipment, and discloses a monitoring camera for an intelligent heating cloud platform, which comprises a support seat, a rotating shaft a and a rotating shaft b are respectively rotatably connected under the support seat through bearings, and one side of the support seat is connected with a rotating shaft a and a rotating shaft b. The side plate is provided with a support plate, the support plate is provided with a motor, the output end of the motor and the pulley a are driven by the coupling a, the pulley a and the pulley b are connected by a transmission belt, and there is a chute on the side plate. , there is a slider a inside the chute, a screw rod is connected under the pulley b, a slider b is sleeved on the screw rod, a U-shaped bracket is arranged on the slider b, and two rotating shafts are arranged on the U-shaped bracket, and the rotating shaft is A gear a and a gear b are arranged, a turntable is arranged on the gear b, a camera is clamped on the turntable, a motor support table is arranged on one side of the U-shaped bracket, and a speed regulating motor is installed on the motor support table, and the utility model is convenient to use, Ability to adjust the height and angle of the camera.

Figure 202022831328

Description

Wisdom heat supply surveillance camera head for cloud platform
Technical Field
The utility model relates to the technical field of monitoring equipment, in particular to a monitoring camera for a smart heat supply cloud platform.
Background
With the development of society, the safety awareness of people is continuously improved and the requirement on safety is higher and higher while the network technology is gradually improved and the living standard of people is continuously improved. Application intelligent monitoring system monitors important place, be an important component in the current safety protection system, fix the camera in certain position usually in the application of camera, thereby monitor the region that the camera covered, but this kind of mode is in case the installation is accomplished, the control angle of camera just also is confirmed, can't adjust again, and most of camera devices are that fixed height can't adjust, there is certain limitation, present control erection equipment can not realize the angle effect of quick high-efficient regulation monitoring camera, and present monitoring camera can not realize quick centre gripping effect, inconvenient user uses, influence the result of use.
Present patent number CN203645755U discloses a first moving platform of surveillance camera, including the steelframe, its characterized in that: the bottom side of the steel frame is connected with a 3G cloud deck camera, the upper portion of the steel frame is hinged with a pair of pulleys through a triangular pulley arm, and two pulleys of the pair of pulleys are connected with steel wire ropes respectively. The utility model has simple structure, can reduce the shake of the video image, ensure that the video image has no deflection and ensure the accuracy of the position of the platform;
the prior patent number CN209845091U discloses a bracket for a monitoring camera, which comprises a fixed plate, a camera and a mounting seat, wherein a base is fixedly arranged on the fixed plate, a protection mechanism is arranged at the upper end of the base, and a plurality of bird thorn prevention mechanisms are arranged on the protection mechanism, and the bracket has the advantages that: in specific use, the bird prevention protection device for mounting the monitoring camera is characterized in that an n-shaped elastic plate in sliding connection is arranged at the upper end of a base, the n-shaped elastic plate is in sliding connection with an L-shaped sliding groove through an L-shaped sliding block, the upper surface of the n-shaped elastic plate is in a smooth arc shape under the action of extrusion force, one end of the n-shaped elastic plate is closed through a baffle connected with a hinge to effectively protect a circuit of monitoring equipment, a bird thorn prevention mechanism is fixedly mounted at the upper end of the n-shaped elastic plate, bird thorn can be prevented from staying on the elastic plate, and further damage to the equipment is prevented, the bird prevention protection device is simple to operate and convenient to mount and dismount;
the above patents still suffer from the following drawbacks:
1. when the monitoring camera is installed, most of the camera devices are fixed in height and cannot be adjusted, so that certain limitation exists;
2 surveillance camera head can not realize the angle effect of quick high-efficient regulation surveillance camera head when using to present surveillance camera head can not realize quick centre gripping effect, and inconvenient user uses, influences the result of use.
SUMMERY OF THE UTILITY MODEL
The utility model aims to provide a monitoring camera for a smart heat supply cloud platform, and aims to solve the problem that people cannot adjust the angle of the monitoring camera due to the fact that the monitoring camera devices are all fixed in height and cannot be adjusted quickly and efficiently in the prior art.
In order to achieve the purpose, the utility model adopts the following technical scheme: the belt pulley device comprises a supporting seat, wherein a rotating shaft a and a rotating shaft b are respectively and rotatably connected below the supporting seat through bearings, a belt pulley a and a belt pulley b are respectively and movably mounted on the rotating shaft a and the rotating shaft b, a side plate is fixedly connected to one side of the supporting seat, a supporting plate is arranged on the side plate, a motor is arranged on the supporting plate, the output end of the motor is in transmission with the belt pulley a through a coupling a, the belt pulley a is in transmission connection with the belt pulley b through a conveying belt, a sliding groove is formed in the side plate and located below the supporting plate, a sliding block a is arranged in the sliding groove, a screw rod is fixedly connected below the belt pulley b, a sliding block b is sleeved on the screw rod, the sliding block a is fixedly connected with the sliding block b through a connecting rod, a U-shaped support is arranged on the sliding block b, and two rotating shafts which are uniformly distributed are arranged in the U-shaped support, the automatic angle adjusting device is characterized in that the rotating shaft is provided with a gear a and a gear b respectively, the gear b is provided with a rotary table, the rotary table is connected with a camera in a clamping manner, one side of the U-shaped support is provided with a motor supporting table, and the motor supporting table is provided with a speed adjusting motor.
Preferably, the screw rod is provided with an external thread, the inside of the sliding block b is provided with an internal thread, and the external thread is matched with the internal thread.
Preferably, one side of the gear b is provided with a gear groove matched with the gear a, the gear a and the gear b are meshed with each other through the gear groove, and the other side of the gear b is fixedly connected with the rotary table.
Preferably, the output end of the speed regulating motor is provided with a coupler b, and the coupler b is in transmission connection with the gear a through a rotating shaft.
Preferably, the sliding groove and the lower end of the screw rod are provided with limiting blocks, and the size of each limiting block corresponds to that of the sliding block a and the sliding block b.
Preferably, a motor frame is fixedly mounted on one side of the motor and fixedly connected with the side plate through bolts.
Compared with the prior art, the utility model provides a monitoring camera for a smart heat supply cloud platform, which has the following beneficial effects:
(1) this wisdom heat supply surveillance camera head for cloud platform, through starter motor, then the output of motor passes through bearing an and drives rotatory belt pulley an, and belt pulley an drives belt pulley b through the conveyer belt again rotatoryly, and belt pulley b drives the screw rod rotation and makes slider b reciprocate on the screw rod, thereby is connected with surveillance camera head on the slider b and makes surveillance camera head also follow and reciprocate to the height of adjustment surveillance camera head enlarges monitoring range.
(2) This wisdom heat supply surveillance camera head for cloud platform, through starting buncher, then buncher's output passes through bearing b and drives rotatory pivot, and rotatory pivot drives gear an and gear b is rotatory again, and gear b drives the camera rotation of setting on the revolving stage again to the rotation angle of adjustment surveillance camera head enlarges the control visual angle.
Drawings
Fig. 1 is a schematic structural diagram of a monitoring camera for a smart heat supply cloud platform according to the present invention;
FIG. 2 is a schematic diagram of an internal structure of a surveillance camera for a smart heat supply cloud platform according to the present invention
Fig. 3 is a schematic diagram of an internal structure of a U-shaped bracket of a monitoring camera for a smart heat supply cloud platform according to the present invention.
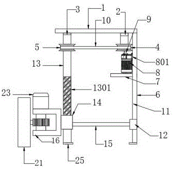
In the figure: 1. a supporting seat; 2. a rotating shaft a; 3. a rotating shaft b; 4. a belt pulley a; 5. a belt pulley b; 6. a side plate; 7. a support plate; 8. a motor; 801. a motor frame; 9. a coupler a; 10. A conveyor belt; 11. a chute; 12. a slide block a; 13. a screw; 1301. an external thread; 14. a slide block b; 1401. an internal thread; 15. a connecting rod; 16. a U-shaped bracket; 17. rotating the rotating shaft; 18. A gear a; 19. a gear b; 20. a turntable; 21. a camera; 22. a motor support table; 23. A speed-regulating motor; 24. a coupler b; 25. and a limiting block.
Detailed Description
The technical solutions in the embodiments of the present invention will be clearly and completely described below with reference to the drawings in the embodiments of the present invention, and it is obvious that the described embodiments are only a part of the embodiments of the present invention, and not all of the embodiments.
In the description of the present invention, it is to be understood that the terms "upper", "lower", "front", "rear", "left", "right", "top", "bottom", "inner", "outer", and the like, indicate orientations or positional relationships based on the orientations or positional relationships shown in the drawings, are merely for convenience in describing the present invention and simplifying the description, and do not indicate or imply that the device or element being referred to must have a particular orientation, be constructed and operated in a particular orientation, and thus, should not be construed as limiting the present invention.
Embodiment 1 as shown in fig. 1-3, a monitoring camera for a smart heat supply cloud platform includes a support base 1, a rotation shaft a2 and a rotation shaft b3 are respectively rotatably connected below the support base 1 through bearings, a belt pulley a4 and a belt pulley b5 are respectively movably mounted on the rotation shaft a2 and the rotation shaft b3, a side plate 6 is fixedly connected to one side of the support base 1, a support plate 7 is disposed on the side plate 6, a motor 8 is disposed on the support plate 7, an output end of the motor 8 and the belt pulley a4 are driven by a coupling a9, the belt pulley a4 and the belt pulley b5 are driven by a transmission belt 10, a chute 11 is formed below the support plate 7 on the side plate 6, a slider a12 is disposed inside the chute 11, a screw 13 is fixedly connected below the belt pulley b5, a slider b14 is sleeved on the screw 13, a slider a12 and a slider b14 are fixedly connected by a connection rod 15, a U-shaped bracket 16 is disposed on the slider b14, two rotating shafts 17 which are uniformly distributed are arranged inside the U-shaped support 16, a gear a18 and a gear b19 are respectively arranged on the rotating shafts 17, a rotary table 20 is arranged on the gear b19, a camera 21 is clamped on the rotary table 20, a motor support table 22 is arranged on one side of the U-shaped support 16, and a speed regulating motor 23 is arranged on the motor support table 22.
When the height of the camera 21 needs to be adjusted, the motor 8 is started, the output end of the motor 8 is in transmission with a belt pulley a4 through a coupling a9, the belt pulley a4 is in transmission connection with the belt pulley b5 through a transmission belt 10, the belt pulley b5 rotates to drive the screw 13 to rotate, a slider b14 is sleeved on the screw 13, the screw 13 rotates to drive the slider b14 to rotate up and down, a U-shaped support 16 is arranged on the slider b14, two rotating shafts 17 which are uniformly distributed are arranged inside the U-shaped support 16, a gear a18 and a gear b19 are respectively arranged on the rotating shafts 17, a turntable 20 is arranged on the gear b19, the camera 21 is clamped on the turntable 20, and the slider b14 rotates up and down to drive the camera 21 to rotate up and down, so that the height is adjusted;
when camera 21 needs angle adjustment, start buncher 23, output and end shaft coupling b24 swing joint through the buncher 23 that sets up, through setting up being connected through rotatory pivot 17 transmission between shaft coupling b24 and the gear a18, thereby drive rotatory pivot 17, thereby drive gear a18 and gear b19, thereby it rotates to drive camera 21, be provided with the assorted gear groove on gear a18 and the gear b19, thereby carry out angle modulation through gear groove intermeshing.
Embodiment 2 is based on embodiment 1, as shown in fig. 1, an external thread 1301 is arranged on the screw 13, an internal thread 1401 is arranged inside the slider b14, the external thread 1301 and the internal thread 1401 are matched with each other, when the camera 21 needs to be adjusted, the slider b14 moves up and down on the screw 13, and the external thread 1301 and the internal thread 1401 are matched with each other, so that the slider b14 does not suddenly slide down when moving up and down on the screw 13.
Embodiment 3 on the basis of embodiment 1, as shown in fig. 2, one side of the gear b19 is provided with a gear groove matched with the gear a18, the gear a18 and the gear b19 are meshed with each other through the gear groove, the other side of the gear b19 is fixedly connected with the turntable 20, and the turntable 20 rotates through the mutual rotation of the gear a18 and the gear b19, so that the angle is adjusted.
Embodiment 4 is based on embodiment 1, as shown in fig. 3, a coupler b24 is provided at the output end of the adjustable speed motor 23, and the coupler b24 is in transmission connection with the gear a18 through the rotating shaft 17, so that the rotating speed of the gear a18 can be controlled, and the angle of the camera 21 can be controlled.
Embodiment 5 is based on embodiment 1, as shown in fig. 1, the lower ends of the sliding groove 11 and the screw 13 are both provided with a limiting block 25, and the size of the limiting block 25 is set corresponding to the size between the sliding block a12 and the sliding block b14, so that the sliding block a12 and the sliding block b14 are prevented from exceeding the positions when sliding up and down.
Embodiment 6, as shown in fig. 1 on the basis of embodiment 1, one side of the motor 8 is fixedly provided with a motor frame 801, and the motor frame 801 is fixedly connected with the side plate 6 through bolts, so that the motor 8 can be better fixed, and potential safety hazards caused by the motor 8 in the working process are prevented.
Embodiment 7 as shown in fig. 1-3, the monitoring camera for intelligent heat supply cloud platform comprises a supporting base 1, a supporting base 1 is arranged to support a rotating shaft a2 and a rotating shaft b3 which are respectively and rotatably connected through a bearing, a belt pulley a4 and a belt pulley b5 are respectively and movably installed on the rotating shaft a2 and the rotating shaft b3 which are arranged, a side plate 6 is fixedly connected to one side of the supporting base 1, a supporting plate 7 is arranged on the side plate 6, a motor 8 is arranged on the supporting plate 7, the motor 8 is started, an output end of the motor 8 is in transmission with the belt pulley a4 through a coupling a9, the belt pulley a4 is in transmission connection with the belt pulley b5 through a transmission belt 10, the belt pulley b5 is in rotation to drive a screw 13 to rotate, a sliding block b14 is sleeved on the screw 13, the screw 13 is in rotation to drive the sliding block b14 to rotate up and down, a sliding groove 11 is formed below the supporting plate 7 through the side plate 6, the height of the camera 21 can be adjusted by arranging a slide block a12 in the sliding chute 11, fixedly connecting the slide block a12 with a slide block b14 through a connecting rod 15, driving the slide block a12 to move up and down on the sliding chute 11 through the connecting rod 15 when the slide block b14 moves up and down on a screw 13, arranging a limit block 25 corresponding to the position between a slide block a12 and a slide block b14 at the lower ends of the sliding chute 11 and the screw 13, so that the slide block a12 and the slide block b14 cannot exceed the limited position when sliding up and down, arranging a U-shaped bracket 16 on the slide block b14, arranging two uniformly distributed rotating shafts 17 in the U-shaped bracket 16, arranging a gear a18 and a gear b19 on the rotating shafts 17 respectively, arranging a rotary table 20 on the gear b19, clamping the camera 21 through the rotary table 20, and movably connecting the output of a speed adjusting motor 23 with an end b24, through setting up to be connected through rotatory pivot 17 transmission between shaft coupling b24 and the gear a18 to drive rotatory pivot 17, thereby drive gear a18 and gear b19, thereby drive camera 21 and rotate, be provided with assorted gear groove on through gear a18 and gear b19, thereby can carry out angle modulation to camera 21 through gear groove intermeshing.
The working principle and the working process of the utility model are as follows: when the monitoring camera for the intelligent heat supply cloud platform is used, a mounting hole is formed in a supporting seat 1, a bolt is used for fixedly mounting the supporting seat 1 through the mounting hole, the position of the supporting seat 1 is determined, a bearing is arranged below the supporting seat 1, a rotating shaft a2 and a rotating shaft b3 are respectively and rotatably connected through the bearing, a belt pulley a4 and a belt pulley b5 are respectively and movably mounted on a rotating shaft a2 and a rotating shaft b3, a side plate 6 is fixedly connected to one side of the supporting seat 1, a supporting plate 7 is arranged on the side plate 6, a motor 8 is arranged on the supporting plate 7, the motor 8 is started, the output end of the motor 8 and a belt pulley a4 are in transmission through a coupler a9, the belt pulley a4 and a belt pulley b5 are in transmission connection through a conveying belt 10, the belt pulley b5 rotates to drive a screw 13 to rotate, and a sliding block b14 is sleeved on the screw 13, the screw 13 is provided with an external thread 1301, the inside of the sliding block b14 is provided with an internal thread 1401, the external thread 1301 is matched with the internal thread 1401, the screw 13 rotates to drive the sliding block b14 to rotate up and down, the side plate 6 is provided with the sliding groove 11 positioned below the supporting plate 7, the sliding groove 11 is internally provided with the sliding block a12, the sliding block a12 is fixedly connected with the sliding block b14 through the connecting rod 15, the sliding block b14 drives the sliding block a12 to move up and down on the sliding groove 11 through the connecting rod 15 when moving up and down on the screw 13, the sliding block a12 and the sliding block b14 are both arranged at the lower ends of the sliding groove 11 and the screw 13, so that the sliding block a12 and the sliding block b14 are prevented from exceeding the limited position when sliding up and down, the sliding block b14 is provided with the U-shaped bracket 16, and the U-shaped bracket 16 is provided with two rotating shafts 17 which are uniformly distributed, the camera comprises a rotary rotating shaft 17, a gear a18 and a gear b19 are respectively arranged on the rotary rotating shaft 17, a rotary table 20 is arranged on the gear b19, the camera 21 is clamped and connected with the rotary table 20, the height of the camera 21 is adjusted, the monitoring range is enlarged, a motor support table 22 is arranged on one side of a U-shaped support 16, an adjustable speed motor 23 is arranged on the motor support table 22, the output of the adjustable speed motor 23 is movably connected with an end coupler b24, the rotary rotating shaft 17 is driven to rotate through the coupler b24, a gear a18 and a gear b19 are driven to rotate, the camera 21 is driven to rotate, matched gear grooves are arranged on the gear a18 and the gear b19, the rotation angle of the camera 21 is adjusted through mutual meshing of the gear grooves, and the monitoring visual angle is enlarged.
The above description is only for the preferred embodiment of the present invention, but the scope of the present invention is not limited thereto, and any person skilled in the art should be considered to be within the technical scope of the present invention, and equivalent alternatives or modifications according to the technical solution of the present invention and the inventive concept thereof should be covered by the scope of the present invention.

Claims (6)

1. The utility model provides a wisdom heat supply monitoring camera for cloud platform, includes supporting seat (1), its characterized in that: the lower part of the supporting seat (1) is respectively and rotatably connected with a rotating shaft a (2) and a rotating shaft b (3) through bearings, a belt pulley a (4) and a belt pulley b (5) are respectively and movably mounted on the rotating shaft a (2) and the rotating shaft b (3), a side plate (6) is fixedly connected to one side of the supporting seat (1), a supporting plate (7) is arranged on the side plate (6), a motor (8) is arranged on the supporting plate (7), the output end of the motor (8) is in transmission with the belt pulley a (4) through a shaft coupler a (9), the belt pulley a (4) is in transmission connection with the belt pulley b (5) through a conveying belt (10), a sliding groove (11) is formed in the lower part of the supporting plate (7) of the side plate (6), a sliding block a (12) is arranged inside the sliding groove (11), and a screw rod (13) is fixedly connected to the lower part of the belt pulley b (5), the utility model discloses a motor support, including screw rod (13), slider a (12) and slider b (14), the cover is equipped with slider b (14) on screw rod (13), through connecting rod (15) fixed connection between slider a (12) and slider b (14), be provided with U type support (16) on slider b (14), the inside of U type support (16) is provided with two evenly distributed's rotatory pivot (17), be provided with gear a (18) and gear b (19) on rotatory pivot (17) respectively, be provided with revolving stage (20) on gear b (19), the joint has camera (21) on revolving stage (20), one side of U type support (16) is provided with motor supporting platform (22), install buncher (23) on motor supporting platform (22).
2. The monitoring camera for the intelligent heat supply cloud platform according to claim 1, wherein: the screw rod (13) is provided with an external thread (1301), the slide block b (14) is internally provided with an internal thread (1401), and the external thread (1301) is matched with the internal thread (1401).
3. The monitoring camera for the intelligent heat supply cloud platform according to claim 1, wherein: one side of the gear b (19) is provided with a gear groove matched with the gear a (18), the gear a (18) and the gear b (19) are meshed with each other through the gear groove, and the other side of the gear b (19) is fixedly connected with the rotary table (20).
4. The monitoring camera for the intelligent heat supply cloud platform according to claim 1, wherein: the output end of the speed regulating motor (23) is provided with a coupler b (24), and the coupler b (24) is in transmission connection with the gear a (18) through a rotating shaft (17).
5. The monitoring camera for the intelligent heat supply cloud platform according to claim 1, wherein: the lower ends of the sliding groove (11) and the screw rod (13) are respectively provided with a limiting block (25), and the size of each limiting block (25) corresponds to that between the sliding block a (12) and the sliding block b (14).
6. The monitoring camera for the intelligent heat supply cloud platform according to claim 1, wherein: one side of the motor (8) is fixedly provided with a motor frame (801), and the motor frame (801) is fixedly connected with the side plate (6) through bolts.
CN202022831328.1U 2020-12-01 2020-12-01 Wisdom heat supply surveillance camera head for cloud platform Expired - Fee Related CN216046240U (en)

Priority Applications (1)

Application Number Priority Date Filing Date Title
CN202022831328.1U CN216046240U (en) 2020-12-01 2020-12-01 Wisdom heat supply surveillance camera head for cloud platform

Applications Claiming Priority (1)

Application Number Priority Date Filing Date Title
CN202022831328.1U CN216046240U (en) 2020-12-01 2020-12-01 Wisdom heat supply surveillance camera head for cloud platform

Publications (1)

Publication Number Publication Date
CN216046240U true CN216046240U (en) 2022-03-15

Family

ID=80596287

Family Applications (1)

Application Number Title Priority Date Filing Date
CN202022831328.1U Expired - Fee Related CN216046240U (en) 2020-12-01 2020-12-01 Wisdom heat supply surveillance camera head for cloud platform

Country Status (1)

Country Link
CN (1) CN216046240U (en)

Similar Documents

Publication Publication Date Title
CN106081600B (en) Automatic charging machine
CN208935698U (en) A multi-angle acquisition device for image processing
CN216046240U (en) Wisdom heat supply surveillance camera head for cloud platform
CN111853472A (en) Prevent falling electronic tripod with slide rail function
CN212367416U (en) All-round monitoring device
CN209146618U (en) A kind of fixed device of security protection intelligence camera installation
CN211902185U (en) Portable safety production supervise record appearance
CN219159882U (en) Spherical surveillance camera machine of angle easy regulation
CN210979252U (en) Thing networking security protection is with adjusting control support
CN210236249U (en) Automatic feeding device
CN222230100U (en) A multi-angle monitoring device
CN210106940U (en) Digital image projector capable of adjusting projection angle
CN217235058U (en) Rotation control device of camera
CN220647623U (en) Camera tripod head
CN220016797U (en) Monitor convenient to adjust
CN222011465U (en) Multifunctional safety detection device
CN222503273U (en) Adjustable cradle head
CN215420545U (en) Intelligent monitoring video playing controller convenient to adjust
CN223343222U (en) Water conservancy flood control is with slow flow equipment
CN222635642U (en) A 10KV cable operating temperature monitoring device
CN223768647U (en) Four-way adjusting bracket for detecting camera
CN215335297U (en) Screw-free heat dissipation camera
CN218064219U (en) Engineering cost consulting management progress monitoring device
CN220727647U (en) Monitoring device with remote adjusting function
CN206877027U (en) A New Portable Adjustable Angle Projector

Legal Events

Date Code Title Description
GR01 Patent grant
GR01 Patent grant
CF01 Termination of patent right due to non-payment of annual fee

Granted publication date: 20220315

CF01 Termination of patent right due to non-payment of annual fee