CN216018657U - Automatic trap lamp of collection insect corpse - Google Patents

Automatic trap lamp of collection insect corpse Download PDF

Info

Publication number
CN216018657U
CN216018657U CN202121945238.3U CN202121945238U CN216018657U CN 216018657 U CN216018657 U CN 216018657U CN 202121945238 U CN202121945238 U CN 202121945238U CN 216018657 U CN216018657 U CN 216018657U
Authority
CN
China
Prior art keywords
insect
top plate
base
fixedly installed
automatically collecting
Prior art date
Legal status (The legal status is an assumption and is not a legal conclusion. Google has not performed a legal analysis and makes no representation as to the accuracy of the status listed.)
Expired - Fee Related
Application number
CN202121945238.3U
Other languages
Chinese (zh)
Inventor
朱伯韬
Current Assignee (The listed assignees may be inaccurate. Google has not performed a legal analysis and makes no representation or warranty as to the accuracy of the list.)
Nantong Cs Lighting Co ltd
Original Assignee
Nantong Cs Lighting Co ltd
Priority date (The priority date is an assumption and is not a legal conclusion. Google has not performed a legal analysis and makes no representation as to the accuracy of the date listed.)
Filing date
Publication date
Application filed by Nantong Cs Lighting Co ltd filed Critical Nantong Cs Lighting Co ltd
Priority to CN202121945238.3U priority Critical patent/CN216018657U/en
Application granted granted Critical
Publication of CN216018657U publication Critical patent/CN216018657U/en
Expired - Fee Related legal-status Critical Current
Anticipated expiration legal-status Critical

Links

Images

Landscapes

  • Catching Or Destruction (AREA)

Abstract

本实用新型公开了一种自动收集昆虫尸体的诱虫灯,属于诱虫灯领域,包括底座,所述底座的内部固定安装有一号电机,所述一号电机的输出轴上固定套接有旋转杆,所述旋转杆的底部固定安装有毛刷,所述底座的内部固定套接有输送管,所述底座的一侧固定连接有收集箱,所述底座的顶部固定连接有防护壳,所述防护壳的顶部固定连接有顶板,所述顶板的底部固定安装有刮除机构,所述顶板的底部固定安装有杀虫机构;通过设置一号电机、旋转杆、输送管、毛刷和收集箱,可以对诱虫灯击杀后的昆虫尸体进行收集,输送管将尸体输送到收集箱,避免了昆虫的尸体会散落在周边,而十分影响环境卫生,从而便于对昆虫的尸体进行集中处理。

Figure 202121945238

The utility model discloses an insect trapping lamp for automatically collecting insect corpses, which belongs to the field of insect trapping lamps. The bottom of the rotating rod is fixedly installed with a brush, the interior of the base is fixedly sleeved with a conveying pipe, one side of the base is fixedly connected with a collection box, and the top of the base is fixedly connected with a protective shell, so The top of the protective shell is fixedly connected with a top plate, the bottom of the top plate is fixedly installed with a scraping mechanism, and the bottom of the top plate is fixedly installed with an insecticidal mechanism; The corpse of insects after being killed by the trap light can be collected, and the corpse is transported to the collection box by the conveying pipe, so as to avoid the corpse of the insect being scattered around, which will greatly affect the environmental sanitation, so as to facilitate the centralized treatment of the corpse of the insect. .

Figure 202121945238

Description

Automatic trap lamp of collection insect corpse
Technical Field
The utility model belongs to the technical field of trap lamps, and particularly relates to a trap lamp capable of automatically collecting insect corpses.
Background
The traditional deinsectization mainly uses pesticides, which not only brings the problem of pesticide residue in vegetables and soil and causes pollution to the agricultural ecological environment, but also endanger the health and safety of human bodies and the high quality and high efficiency of agricultural production, and the pesticide causes a great deal of pollution to the environment in the production process, researches show that the insects have phototaxis, and particularly at night, the insects fly towards the direction of the light after seeing the light and gather around the light, because many insects are harmful to crops such as dealer and fruit trees, people make various trap lamps by utilizing the characteristic that the insects tend to shine, however, after most of the existing trap lamps kill the insects, the corpses of the insects can be scattered around, which greatly affects the environmental sanitation, and killed insects may be stuck on a high-voltage power grid, and need to be cleaned manually, so that time and labor are wasted, and the insect attracting lamp capable of automatically collecting insect corpses is provided.
SUMMERY OF THE UTILITY MODEL
The utility model aims to provide an insect attracting lamp for automatically collecting insect corpses, which solves the problems in the background technology.
In order to achieve the purpose, the utility model provides the following technical scheme: the utility model provides an automatic trap lamp of collection insect corpse, includes the base, the inside fixed mounting of base has a motor, fixed the cup jointing has the rotary rod on the output shaft of a motor, the bottom fixed mounting of rotary rod has the brush, the fixed cup jointing in inside of base has the conveyer pipe, one side fixedly connected with collecting box of base, the top fixedly connected with protecting crust of base, the top fixedly connected with roof of protecting crust, the bottom fixed mounting of roof has scraping mechanism, the bottom fixed mounting of roof has insecticidal mechanism, the inside of roof has trap lamp body through installation mechanism fixed mounting.
In a preferred embodiment, the top end of the conveying pipe is positioned below the brush, the bottom end of the conveying pipe penetrates and extends to the inside of the collecting box, and the bottom of the brush is in close contact with the top of the base.
As a preferred embodiment, the protective shell is made of transparent plastic, and a plurality of insect inlet holes are formed outside the protective shell.
As a preferred embodiment, strike off the mechanism and include No. two motors, the top of No. two motor fixed mounting roof, the fixed cover has been connected with the screw rod on the output shaft of No. two motors, the bottom fixedly connected with gag lever post of roof, the scraper blade has been cup jointed in the outside activity of gag lever post.
As a preferred embodiment, the scraper is movably sleeved outside the screw, an internal thread is formed inside the scraper, and the internal thread of the scraper is matched with the external thread of the screw.
As a preferred embodiment, the pest killing mechanism comprises an electric network and a lead, the electric network is fixedly installed at the bottom of the top plate, and the electric network is electrically connected with an external circuit through the lead.
As a preferred embodiment, the mounting mechanism comprises a mounting plate and screws, the bottom of the mounting plate is fixedly provided with the trap lamp body, the outside of the mounting plate is matched with the top of the top plate, and the mounting plate is fixedly arranged on the top of the top plate through the screws.
In a preferred embodiment, the scraping means is located between the protective casing and the insecticidal means, and the scraping means is located directly above the brush.
Compared with the prior art, the utility model has the beneficial effects that:
according to the insect trapping lamp capable of automatically collecting the insect corpses, the motor, the rotating rod, the conveying pipe, the brush and the collecting box are arranged, the insect corpses killed by the insect trapping lamp can be collected, the corpses are conveyed to the collecting box through the conveying pipe, the situation that the environmental sanitation is affected due to the fact that the insect corpses are scattered around is avoided, and therefore the insect corpses can be conveniently and intensively treated;
according to the trap lamp capable of automatically collecting the insect corpses, the second motor, the power grid, the screw rod, the scraper and the limiting rod are arranged, when the insect corpses are adhered to the power grid, the screw rod drives the scraper to hang down the insects, the problem that the killed insects are adhered to the high-voltage power grid, manual cleaning is needed, time and labor are wasted is solved, and convenience is brought to the cleaning of the insects;
this automatic trap lamp of collecting insect corpse, through setting up the mounting panel, when the trap lamp body takes place to damage, dismantle the mounting panel, take out the mounting panel along with the trap lamp body to the maintenance of trap lamp body has brought the facility.
Drawings
FIG. 1 is a schematic front view of the structure of the present invention;
FIG. 2 is a front partial cross-sectional view of the structure of the present invention;
FIG. 3 is a three-dimensional view of the squeegee of the present invention.
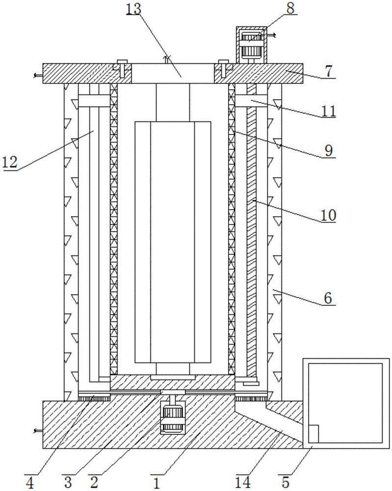
In the figure: 1. a base; 2. a first motor; 3. rotating the rod; 4. a brush; 5. a collection box; 6. a protective shell; 7. a top plate; 8. a second motor; 9. a power grid; 10. a screw; 11. a squeegee; 12. a limiting rod; 13. mounting a plate; 14. a delivery pipe.
Detailed Description
The present invention will be further described with reference to the following examples.
The following examples are intended to illustrate the utility model but are not intended to limit the scope of the utility model. The conditions in the embodiments can be further adjusted according to specific conditions, and simple modifications of the method of the present invention based on the concept of the present invention are within the scope of the claimed invention.
Referring to fig. 1 and 2, the utility model provides an insect attracting lamp for automatically collecting insect corpses, comprising a base 1, in order to conveniently perform centralized treatment on the insect corpses, a first motor 2 is fixedly installed inside the base 1, a rotary rod 3 is fixedly sleeved on an output shaft of the first motor 2, a brush 4 is fixedly installed at the bottom of the rotary rod 3, a conveying pipe 14 is fixedly sleeved inside the base 1, a collecting box 5 is fixedly connected to one side of the base 1, the top end of the conveying pipe 14 is positioned below the brush 4, the bottom end of the conveying pipe 14 penetrates and extends into the collecting box 5, the bottom of the brush 4 is in close contact with the top of the base 1, when the insect corpses fall to the top of the base 1, the first motor 2 is started, the output shaft of the first motor 2 drives the rotary rod 3 to rotate, so that the rotary rod 3 drives the brush 4 to clean the insect corpses on the top of the base 1, the corpse of the insects drops through the delivery pipe 14 to the inside of the collection tank 5, thereby facilitating the collective disposal of the corpse of the insects.
Referring to fig. 1, 2 and 3, in order to clean the dead body of the insect, a protective shell 6 is fixedly connected to the top of a base 1, the protective shell 6 is made of transparent plastic, a plurality of insect inlet holes are formed in the outer portion of the protective shell 6, a top plate 7 is fixedly connected to the top of the protective shell 6, an insect killing mechanism is fixedly installed at the bottom of the top plate 7, the insect killing mechanism comprises a power grid 9, the power grid 9 is fixedly installed at the bottom of the top plate 7, the power grid 9 is electrically connected with an external circuit, a scraping mechanism is located between the protective shell 6 and the insect killing mechanism, the scraping mechanism is located right above a brush 4, a scraping mechanism is fixedly installed at the bottom of the top plate 7, the scraping mechanism comprises a second motor 8, the second motor 8 is fixedly installed at the top of the top plate 7, a screw rod 10 is fixedly sleeved on an output shaft of the second motor 8, a limiting rod 12 is fixedly connected to the bottom of the top plate 7, a scraping plate 11 is movably sleeved outside the limiting rod 12, 11 activities of scraper blade cup joint in the outside of screw rod 10, the internal thread is seted up to the inside of scraper blade 11, the internal thread of scraper blade 11 and the external screw thread looks adaptation of screw rod 10, the circuit of switch-on moth-killing lamp body, make the insect advance to enter into the moth-killing lamp through the hole of protecting crust 6 inside, switch-on dropping of electric wire netting 9, hit the insect and kill, glue when too much insect in the outside of electric wire netting 9, start No. two motor 8, No. two motor 8's output shaft drives screw rod 10 and rotates, make screw rod 10 drive scraper blade 11 carry out the screw motion in the outside of screw rod 10, and then strike off the insect of electric wire netting 9 outside, the insect of having avoided killing glues on electric wire netting 9, need artifical clearance, very waste time and energy's problem, thereby the clearance for the insect has brought the facility.
Referring to fig. 2, in order to facilitate maintenance of the trap lamp body, the trap lamp body is fixedly mounted inside the top plate 7 through a mounting mechanism, the mounting mechanism includes a mounting plate 13, the trap lamp body is fixedly mounted at the bottom of the mounting plate 13, the outside of the mounting plate 13 is matched with the top of the top plate 7, the mounting plate 13 is fixedly mounted at the top of the top plate 7 through screws, when the trap lamp body is damaged, the screws at the top of the mounting plate 13 are taken down, the mounting plate 13 is taken out together with the trap lamp body, and therefore convenience is brought to maintenance of the trap lamp body.
The working principle and the using process of the utility model are as follows: firstly, a circuit of a trap lamp body is switched on, insects enter the trap lamp through holes of a protective shell 6, the electric network 9 is switched on to drop, the insects are killed, when too many insects are adhered to the outside of the electric network 9, a second motor 8 is started, an output shaft of the second motor 8 drives a screw rod 10 to rotate, the screw rod 10 drives a scraper 11 to perform threaded motion on the outside of the screw rod 10, then the insects on the outside of the electric network 9 are scraped, the problem that the killed insects are adhered to the electric network 9 and need to be manually cleaned is solved, time and labor are wasted, convenience is brought to cleaning of the insects, then when dead bodies of the insects fall to the top of a base 1, a first motor 2 is started, an output shaft of the first motor 2 drives a rotary rod 3 to rotate, and the rotary rod 3 drives a brush 4 to clean the dead bodies of the insects on the top of the base 1, the corpse of insect drops to the inside of collection box 5 through conveyer pipe 14, and then is convenient for carry out centralized processing to the corpse of insect, when the moth-killing lamp body takes place to damage at last, takes off the screw at mounting panel 13 top, takes out mounting panel 13 together with the moth-killing lamp body to the maintenance of moth-killing lamp body has brought the facility.
Although embodiments of the present invention have been shown and described, it will be appreciated by those skilled in the art that changes, modifications, substitutions and alterations can be made in these embodiments without departing from the principles and spirit of the utility model, the scope of which is defined in the appended claims and their equivalents.

Claims (8)

1.一种自动收集昆虫尸体的诱虫灯,包括底座(1),其特征在于:所述底座(1)的内部固定安装有一号电机(2),所述一号电机(2)的输出轴上固定套接有旋转杆(3),所述旋转杆(3)的底部固定安装有毛刷(4),所述底座(1)的内部固定套接有输送管(14),所述底座(1)的一侧固定连接有收集箱(5),所述底座(1)的顶部固定连接有防护壳(6),所述防护壳(6)的顶部固定连接有顶板(7),所述顶板(7)的底部固定安装有刮除机构,所述顶板(7)的底部固定安装有杀虫机构,所述顶板(7)的内部通过安装机构固定安装有诱虫灯本体。1. An insect trapping lamp for automatically collecting insect corpses, comprising a base (1), characterized in that: the interior of the base (1) is fixedly installed with a No. 1 motor (2), and the output of the No. 1 motor (2) is A rotating rod (3) is fixedly sleeved on the shaft, a brush (4) is fixedly installed at the bottom of the rotating rod (3), and a conveying pipe (14) is fixedly sleeved inside the base (1). A collection box (5) is fixedly connected to one side of the base (1), a protective shell (6) is fixedly connected to the top of the base (1), and a top plate (7) is fixedly connected to the top of the protective shell (6), A scraping mechanism is fixedly installed at the bottom of the top plate (7), an insecticidal mechanism is fixedly installed at the bottom of the top plate (7), and an insect trap lamp body is fixedly installed in the interior of the top plate (7) through the installation mechanism. 2.根据权利要求1所述的一种自动收集昆虫尸体的诱虫灯,其特征在于:所述输送管(14)的顶端位于毛刷(4)的下方,所述输送管(14)的底端贯穿并延伸至收集箱(5)的内部,所述毛刷(4)的底部与底座(1)的顶部紧密接触。2. An insect trapping lamp for automatically collecting insect carcasses according to claim 1, characterized in that: the top of the conveying pipe (14) is located below the brush (4), and the The bottom end penetrates and extends to the inside of the collection box (5), and the bottom of the brush (4) is in close contact with the top of the base (1). 3.根据权利要求1所述的一种自动收集昆虫尸体的诱虫灯,其特征在于:所述防护壳(6)为透明塑料材质,所述防护壳(6)的外部开设有若干个进虫孔。3. The insect trapping lamp for automatically collecting insect corpses according to claim 1, wherein the protective shell (6) is made of a transparent plastic material, and a number of inlets are provided on the outside of the protective shell (6). Wormhole. 4.根据权利要求1所述的一种自动收集昆虫尸体的诱虫灯,其特征在于:所述刮除机构包括二号电机(8),所述二号电机(8)固定安装顶板(7)的顶部,所述二号电机(8)的输出轴上固定套接有螺杆(10),所述顶板(7)的底部固定连接有限位杆(12),所述限位杆(12)的外部活动套接有刮板(11)。4. The insect trapping lamp for automatically collecting insect corpses according to claim 1, wherein the scraping mechanism comprises a No. 2 motor (8), and the No. 2 motor (8) is fixedly mounted on a top plate (7). ), a screw (10) is fixedly sleeved on the output shaft of the No. 2 motor (8), and a limit rod (12) is fixedly connected to the bottom of the top plate (7), and the limit rod (12) A scraper (11) is connected with the outer movable socket of the . 5.根据权利要求4所述的一种自动收集昆虫尸体的诱虫灯,其特征在于:所述刮板(11)活动套接在螺杆(10)的外部,所述刮板(11)的内部开设有内螺纹,所述刮板(11)的内螺纹与螺杆(10)的外螺纹相适配。5. An insect trapping lamp for automatically collecting insect corpses according to claim 4, characterized in that: the scraper (11) is movably sleeved on the outside of the screw (10), and the scraper (11) is An inner thread is provided inside, and the inner thread of the scraper (11) is matched with the outer thread of the screw (10). 6.根据权利要求1所述的一种自动收集昆虫尸体的诱虫灯,其特征在于:所述杀虫机构包括电网(9)和导线,所述电网(9)固定安装在顶板(7)的底部,所述电网(9)与外部电路通过导线电性连接。6. An insect trapping lamp for automatically collecting insect corpses according to claim 1, wherein the insecticidal mechanism comprises a power grid (9) and a wire, and the power grid (9) is fixedly installed on the top plate (7) The bottom of the grid (9) is electrically connected with the external circuit through wires. 7.根据权利要求1所述的一种自动收集昆虫尸体的诱虫灯,其特征在于:所述安装机构包括安装板(13)和螺钉,所述安装板(13)的底部固定安装有诱虫灯本体,所述安装板(13)的外部与顶板(7)的顶部相适配,所述安装板(13)通过螺钉固定安装在顶板(7)的顶部。7. An insect trapping lamp for automatically collecting insect carcasses according to claim 1, wherein the mounting mechanism comprises a mounting plate (13) and a screw, and the bottom of the mounting plate (13) is fixedly installed with a trapping plate (13). In the insect lamp body, the outside of the mounting plate (13) is adapted to the top of the top plate (7), and the mounting plate (13) is fixedly mounted on the top of the top plate (7) by screws. 8.根据权利要求1所述的一种自动收集昆虫尸体的诱虫灯,其特征在于:所述刮除机构位于防护壳(6)与杀虫机构之间,所述刮除机构位于毛刷(4)的正上方。8. An insect trapping lamp for automatically collecting insect carcasses according to claim 1, wherein the scraping mechanism is located between the protective shell (6) and the insect killing mechanism, and the scraping mechanism is located on the brush (4) just above.
CN202121945238.3U 2021-08-18 2021-08-18 Automatic trap lamp of collection insect corpse Expired - Fee Related CN216018657U (en)

Priority Applications (1)

Application Number Priority Date Filing Date Title
CN202121945238.3U CN216018657U (en) 2021-08-18 2021-08-18 Automatic trap lamp of collection insect corpse

Applications Claiming Priority (1)

Application Number Priority Date Filing Date Title
CN202121945238.3U CN216018657U (en) 2021-08-18 2021-08-18 Automatic trap lamp of collection insect corpse

Publications (1)

Publication Number Publication Date
CN216018657U true CN216018657U (en) 2022-03-15

Family

ID=80559459

Family Applications (1)

Application Number Title Priority Date Filing Date
CN202121945238.3U Expired - Fee Related CN216018657U (en) 2021-08-18 2021-08-18 Automatic trap lamp of collection insect corpse

Country Status (1)

Country Link
CN (1) CN216018657U (en)

Cited By (4)

* Cited by examiner, † Cited by third party
Publication number Priority date Publication date Assignee Title
CN114698618A (en) * 2022-04-09 2022-07-05 合肥九狮园林建设有限责任公司 Afforestation plant insecticidal maintenance system
CN115486422A (en) * 2022-09-28 2022-12-20 丽水市莲都区农业农村局 Improved pest trapper for paddy field
CN115569883A (en) * 2022-11-14 2023-01-06 南通弘厦纺织科技有限公司 Auxiliary lighting device for textile machinery
CN115885950A (en) * 2022-10-28 2023-04-04 南通驰晟光电科技有限公司 Energy-saving moth-killing lamp with adjustable brightness and cleaning device thereof

Cited By (5)

* Cited by examiner, † Cited by third party
Publication number Priority date Publication date Assignee Title
CN114698618A (en) * 2022-04-09 2022-07-05 合肥九狮园林建设有限责任公司 Afforestation plant insecticidal maintenance system
CN115486422A (en) * 2022-09-28 2022-12-20 丽水市莲都区农业农村局 Improved pest trapper for paddy field
CN115885950A (en) * 2022-10-28 2023-04-04 南通驰晟光电科技有限公司 Energy-saving moth-killing lamp with adjustable brightness and cleaning device thereof
CN115569883A (en) * 2022-11-14 2023-01-06 南通弘厦纺织科技有限公司 Auxiliary lighting device for textile machinery
CN115569883B (en) * 2022-11-14 2023-08-11 重庆皓途服饰有限公司 Auxiliary lighting device for textile machinery

Similar Documents

Publication Publication Date Title
CN216018657U (en) Automatic trap lamp of collection insect corpse
CN114794041A (en) Drosophila trapping device suitable for fruit tree pest control and use method thereof
CN114246166A (en) A kind of control method of plant diseases and insect pests
CN213486532U (en) An integrated insecticidal device with light lure and lure
CN111528200A (en) Intelligent insect expelling device
CN210519876U (en) Electric shock formula pest control device convenient to unload
CN220897673U (en) Greenhouse vegetable planting pest trapper
CN217389754U (en) A sick worm protection improvement device for eating sunflower is planted
CN213549220U (en) Strawberry insect pest is administered with environment-friendly light and is lured deinsectization device
CN212393651U (en) Insect attracting and collecting pipeline
CN211793888U (en) Pest expelling device of sweet pepper soilless culture case
CN222898109U (en) An insect killer lamp for citrus cultivation
CN223262169U (en) Insect catching device for pest control of fruit trees
CN220734128U (en) Pest trapping lamp with crushing function
CN222108720U (en) A new type of photovoltaic lighting device for greenhouse
CN219305820U (en) A biological pest control device
CN221468798U (en) Agricultural insect attracting device
CN219108526U (en) Pest trapping device for vegetable planting
CN220308177U (en) Pest trapping device for crop protection
CN213074142U (en) A insecticidal lamp at night for garden insect catches
CN214546734U (en) Livestock-raising is with kill mosquito device
CN221128560U (en) Self-cleaning outdoor insecticidal lamp
CN222171026U (en) Agricultural insect attracting device
CN220044645U (en) Insect prevention device for seedling cultivation
CN221864318U (en) Deinsectization device

Legal Events

Date Code Title Description
GR01 Patent grant
GR01 Patent grant
CF01 Termination of patent right due to non-payment of annual fee

Granted publication date: 20220315

CF01 Termination of patent right due to non-payment of annual fee