CN215982301U - COB fire emergency light source with indicator light - Google Patents

COB fire emergency light source with indicator light Download PDF

Info

Publication number
CN215982301U
CN215982301U CN202121923238.3U CN202121923238U CN215982301U CN 215982301 U CN215982301 U CN 215982301U CN 202121923238 U CN202121923238 U CN 202121923238U CN 215982301 U CN215982301 U CN 215982301U
Authority
CN
China
Prior art keywords
light source
cob
chip body
base plate
fixed
Prior art date
Legal status (The legal status is an assumption and is not a legal conclusion. Google has not performed a legal analysis and makes no representation as to the accuracy of the status listed.)
Expired - Fee Related
Application number
CN202121923238.3U
Other languages
Chinese (zh)
Inventor
吕永刚
Current Assignee (The listed assignees may be inaccurate. Google has not performed a legal analysis and makes no representation or warranty as to the accuracy of the list.)
Zhongshan Ruileiai Technology Co ltd
Original Assignee
Zhongshan Ruileiai Technology Co ltd
Priority date (The priority date is an assumption and is not a legal conclusion. Google has not performed a legal analysis and makes no representation as to the accuracy of the date listed.)
Filing date
Publication date
Application filed by Zhongshan Ruileiai Technology Co ltd filed Critical Zhongshan Ruileiai Technology Co ltd
Priority to CN202121923238.3U priority Critical patent/CN215982301U/en
Application granted granted Critical
Publication of CN215982301U publication Critical patent/CN215982301U/en
Expired - Fee Related legal-status Critical Current
Anticipated expiration legal-status Critical

Links

Images

Landscapes

  • Fastening Of Light Sources Or Lamp Holders (AREA)

Abstract

本实用新型公开了一种具有指示灯的COB消防应急光源,包括COB光源基板和设置在所述COB光源基板上的COB芯片体,所述COB芯片体上固定有指示光源,所述COB光源基板上固定有与所述COB芯片体电连接的电源焊接基点,所述COB光源基板上还固定有与所述指示光源电连接的控制焊接基点。本实用新型的结构设置合理,其将COB芯片体与指示光源有效的结合成一个整体,不但有利于降低安装成本,而且其通过分别的电源焊接基点及控制焊接基点进行连接,从而使二者照明相互独立,可以满足应急与指示需求,也方便进行电连接操作,使用平稳可靠,适用性强且实用性好。

Figure 202121923238

The utility model discloses a COB fire emergency light source with an indicator light, which comprises a COB light source substrate and a COB chip body arranged on the COB light source substrate, an indicating light source is fixed on the COB chip body, and the COB light source substrate A power source welding base electrically connected to the COB chip body is fixed thereon, and a control welding base electrically connected to the indicating light source is also fixed on the COB light source substrate. The structure of the utility model is reasonable, and it effectively combines the COB chip body and the indicator light source into a whole, which is not only beneficial to reduce the installation cost, but also connects through separate power source welding base points and control welding base points, so that the two are illuminated. Independent of each other, it can meet the needs of emergency and instruction, and it is also convenient for electrical connection operation. It is stable and reliable in use, and has strong applicability and practicability.

Figure 202121923238

Description

COB fire control emergency light source with pilot lamp
Technical Field
The utility model belongs to the technical field of fire-fighting emergency lamps, and particularly relates to a COB fire-fighting emergency light source with an indicator lamp.
Background
Fire emergency light is a common structure, it is mainly by the casing, fix emergency light source and lamp shade in the casing and constitute, its user demand that can satisfy general condition, but its function is comparatively limited, and when needs realize normal illumination, need additionally to increase illumination structure and the circuit structure that corresponds, it is the relatively independent structure with emergency light source, not only greatly increased the cost, but also can influence emergency light source's overall stationarity, the dismouting is also comparatively inconvenient simultaneously, so suitability and practicality receive the restriction.
Disclosure of Invention
The utility model aims to provide a COB fire-fighting emergency light source with an indicator light, which is reasonable in structural arrangement and high in applicability.
The technical scheme for realizing the purpose of the utility model is that the COB fire-fighting emergency light source with the indicator lamp comprises a COB light source substrate and a COB chip body arranged on the COB light source substrate, wherein an indicator light source is fixed on the COB chip body, a power supply welding base point electrically connected with the COB chip body is fixed on the COB light source substrate, and a control welding base point electrically connected with the indicator light source is also fixed on the COB light source substrate.
The indicating light source is a flickering light source, and the indicating light source flickers and lights when the control welding base point is controlled to weld the control lead.
Or, the indication light source may be a normally bright light source with different colors, and the indication light source lights up with different colors when the control welding base point is controlled to weld the control lead.
COB light source base plate is circular and has seted up two installation round holes, and two installation round holes are in COB light source base plate's diameter both ends.
The utility model has the positive effects that: the COB chip body and the indicating light source are effectively combined into a whole, so that the installation cost is reduced, the COB chip body and the indicating light source are connected through the power source welding base point and the control welding base point, the lighting of the COB chip body and the control welding base point is independent, the emergency and indicating requirements can be met, the electric connection operation is convenient, the use is stable and reliable, the applicability is high, and the practicability is good.
Drawings
In order that the present disclosure may be more readily and clearly understood, reference is now made to the following detailed description of the present disclosure taken in conjunction with the accompanying drawings, in which:
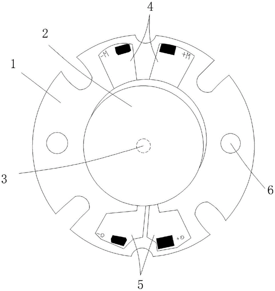
FIG. 1 is a schematic structural diagram of the present invention.
Detailed Description
(example 1)
Fig. 1 shows an embodiment of the present invention, wherein fig. 1 is a schematic structural diagram of the present invention.
See fig. 1, a COB fire control emergency light source with pilot lamp, include COB light source base plate 1 and set up COB chip body 2 on COB light source base plate 1, in this embodiment, the COB chip body is prior art's common chip body, be fixed with pilot light source 3 on the COB chip body, in this embodiment, the pilot light source is the same with the light source size on the COB chip body, only connects alone, makes the independent control of COB light source and the COB light source on the COB chip body, be fixed with on the COB light source base plate with power welding basic point 4 that the COB chip body electricity is connected, in the figure, for M-and M + show, still be fixed with on the COB light source base plate with control welding basic point 5 that the pilot light source electricity is connected is shown for G-and G + in the figure.
The indicating light source is a flickering light source, and the indicating light source flickers and lights when the control welding base point is controlled to weld the control lead. In a normal state, the indicating light source indicates by blinking.
In the actual use process, the indicating light source is a normally bright light source with different colors, and when the control welding base point is controlled to weld the control lead, the indicating light source is bright with different colors. In this embodiment, the color of the light source may be red, yellow, green, or the like, and different colors may be lit up when the light source is used, thereby achieving the purpose of indication.
COB light source base plate is circular and has seted up two installation round holes 6, and two installation round holes are in COB light source base plate's diameter both ends. The emergency lamp is provided with two mounting round holes, and can be fixed in an emergency lamp shell or on a circuit board through screws during mounting, so that the emergency lamp is convenient and reliable to mount.
The COB chip body and the indicating light source are effectively combined into a whole, so that the installation cost is reduced, the COB chip body and the indicating light source are connected through the power source welding base point and the control welding base point, the lighting of the COB chip body and the control welding base point is independent, the emergency and indicating requirements can be met, the electric connection operation is convenient, the use is stable and reliable, the applicability is high, and the practicability is good.
The standard parts used in the present embodiment can be purchased directly from the market, and the non-standard structural parts described in the specification can also be obtained directly by processing according to the common general knowledge of the prior art without any doubt, and the connection mode of the parts adopts the conventional means matured in the prior art, and the machines, parts and equipment adopt the conventional models in the prior art, so that the detailed description is not given here.
It should be understood that the above-described embodiments of the present invention are merely examples for clearly illustrating the present invention, and are not intended to limit the embodiments of the present invention. Other variations and modifications will be apparent to persons skilled in the art in light of the above description. And are neither required nor exhaustive of all embodiments. And such obvious changes and modifications which fall within the spirit of the utility model are deemed to be covered by the present invention.

Claims (4)

1. The utility model provides a COB fire control emergency light source with pilot lamp, includes COB light source base plate and sets up COB chip body on the COB light source base plate, its characterized in that: be fixed with the pilot light source on the COB chip body, be fixed with on the COB light source base plate with the power welding basic point that COB chip body electricity is connected, still be fixed with on the COB light source base plate with the control welding basic point that pilot light source electricity is connected.
2. The COB fire-fighting emergency light source with indicator light of claim 1, characterized in that: the indicating light source is a flickering light source, and the indicating light source flickers and lights when the control welding base point is controlled to weld the control lead.
3. The COB fire-fighting emergency light source with indicator light of claim 1, characterized in that: the indicating light source is a normally bright light source with different colors, and when the control welding base point is controlled to weld the control lead, the indicating light source is bright with different colors.
4. A COB fire emergency light source with indicator light according to claim 2 or claim 3, characterized in that: COB light source base plate is circular and has seted up two installation round holes, and two installation round holes are in COB light source base plate's diameter both ends.
CN202121923238.3U 2021-08-17 2021-08-17 COB fire emergency light source with indicator light Expired - Fee Related CN215982301U (en)

Priority Applications (1)

Application Number Priority Date Filing Date Title
CN202121923238.3U CN215982301U (en) 2021-08-17 2021-08-17 COB fire emergency light source with indicator light

Applications Claiming Priority (1)

Application Number Priority Date Filing Date Title
CN202121923238.3U CN215982301U (en) 2021-08-17 2021-08-17 COB fire emergency light source with indicator light

Publications (1)

Publication Number Publication Date
CN215982301U true CN215982301U (en) 2022-03-08

Family

ID=80580243

Family Applications (1)

Application Number Title Priority Date Filing Date
CN202121923238.3U Expired - Fee Related CN215982301U (en) 2021-08-17 2021-08-17 COB fire emergency light source with indicator light

Country Status (1)

Country Link
CN (1) CN215982301U (en)

Similar Documents

Publication Publication Date Title
CN202647542U (en) LED tube with conventional lighting function and emergency lighting function
CN206439648U (en) Intelligent LED emergency light
CN215982301U (en) COB fire emergency light source with indicator light
CN207962308U (en) A fire emergency luminous signboard with automatic detection function
CN209558203U (en) A kind of intelligent fire emergent identification lamp
CN208750583U (en) A waterproof fire emergency lighting fixture
CN221801711U (en) Lamp strip structure
CN208735589U (en) A kind of mounting structure of lamps and lanterns energy signal transmitting device separation
CN221811318U (en) Cabin bedside lamp
CN222718155U (en) Lighting induction alarm lamp for fire engineering
CN206771272U (en) A LED heating and cooling dimming lamp
CN207422042U (en) A kind of intelligent wireless emergency light
CN223460398U (en) Acousto-optic laminated waterproof warning lamp
CN223020057U (en) Indicator light for helicopter deck
CN219510671U (en) An induction type fire lamp
CN221684433U (en) A combined lamp for atmosphere lighting and accent lighting
CN221295786U (en) Elevator car emergency lighting camera
CN221257197U (en) Fan lamp capable of quickly replacing auxiliary light source
CN211605572U (en) Power line with prompting self-luminous function
CN222655202U (en) Anti-dazzle structure for parking lot monitoring camera
CN220061587U (en) Combined lamp
CN211902443U (en) Night light with USB output
CN220817669U (en) Portable emergency LED lamp
CN221927437U (en) A sign light capable of adjusting display content in real time
CN211119078U (en) L ED lamp

Legal Events

Date Code Title Description
GR01 Patent grant
GR01 Patent grant
CF01 Termination of patent right due to non-payment of annual fee

Granted publication date: 20220308

CF01 Termination of patent right due to non-payment of annual fee