CN215959914U - A device for arranging lead wires of an ECG monitor - Google Patents

A device for arranging lead wires of an ECG monitor Download PDF

Info

Publication number
CN215959914U
CN215959914U CN202120768441.1U CN202120768441U CN215959914U CN 215959914 U CN215959914 U CN 215959914U CN 202120768441 U CN202120768441 U CN 202120768441U CN 215959914 U CN215959914 U CN 215959914U
Authority
CN
China
Prior art keywords
wire
central shaft
lead wire
rotating wheel
lead
Prior art date
Legal status (The legal status is an assumption and is not a legal conclusion. Google has not performed a legal analysis and makes no representation as to the accuracy of the status listed.)
Expired - Fee Related
Application number
CN202120768441.1U
Other languages
Chinese (zh)
Inventor
周晓岚
Current Assignee (The listed assignees may be inaccurate. Google has not performed a legal analysis and makes no representation or warranty as to the accuracy of the list.)
First Peoples Hospital of Jiashan
Original Assignee
First Peoples Hospital of Jiashan
Priority date (The priority date is an assumption and is not a legal conclusion. Google has not performed a legal analysis and makes no representation as to the accuracy of the date listed.)
Filing date
Publication date
Application filed by First Peoples Hospital of Jiashan filed Critical First Peoples Hospital of Jiashan
Priority to CN202120768441.1U priority Critical patent/CN215959914U/en
Application granted granted Critical
Publication of CN215959914U publication Critical patent/CN215959914U/en
Expired - Fee Related legal-status Critical Current
Anticipated expiration legal-status Critical

Links

Images

Landscapes

  • Measurement And Recording Of Electrical Phenomena And Electrical Characteristics Of The Living Body (AREA)

Abstract

本实用新型公开一种心电监护仪导联线整理装置,包括支撑架,支撑架上设有若干导联线整理结构,导联线整理结构包括外盒,外盒内设有收线装置,收线装置包括中心轴,外盒上具有与中心轴对应的进线口,中心轴上转动设有转轮,导联线缠绕在转轮上,转轮与中心轴之间设有转动弹性结构,外盒的上端设有出线口,出线口处活动设有卡线结构,转轮的一侧设有第一导线孔,转轮缠绕导联线的一侧具有第二导线孔,第二导线孔与第一导线孔连通,若干导联线整理装置与不同的导联线一一对应,分别进行整理,使用时根据需求将导联线从导联线整理装置中拉出不同的长度,避免导联线全部裸露在外缠绕打结,提升了护士的工作效率,同时增加了美观性。

Figure 202120768441

The utility model discloses a lead wire arranging device for an electrocardiograph monitor, which comprises a support frame, a plurality of lead wire arranging structures are arranged on the supporting frame, the lead wire arranging structure comprises an outer box, and a wire take-up device is arranged in the outer box. The wire take-up device includes a central shaft, the outer box has a wire inlet corresponding to the central shaft, a runner is rotated on the central shaft, the lead wire is wound on the runner, and a rotating elastic structure is arranged between the runner and the central shaft , the upper end of the outer box is provided with a wire outlet, the wire outlet is movably provided with a wire clamping structure, one side of the runner is provided with a first wire hole, the side of the runner around the lead wire has a second wire hole, and the second wire The hole is connected to the first wire hole, and several lead wire arranging devices correspond to different lead wires one by one, and they are arranged separately. When using, pull the lead wires out of the lead wire arranging device to The lead wires are all exposed and twisted and knotted, which improves the work efficiency of nurses and increases the aesthetics.

Figure 202120768441

Description

ECG monitor line finishing device that leads
Technical Field
The utility model relates to the technical field of medical instruments, in particular to a lead wire finishing device of an ECG monitor.
Background
The electrocardiogram monitor is an auxiliary diagnostic device which combines the electrocardiogram monitoring technology and the mobile computing technology and carries out real-time dynamic monitoring and early warning on the abnormal changes of the electrocardiogram; is a method for timely finding and diagnosing arrhythmia and provides basis for early diagnosis and early treatment.
The existing clinical electrocardiogram monitor has disordered lead wires, takes longer time for arrangement, reduces the working efficiency and is not beautiful.
Disclosure of Invention
In order to overcome the defects in the prior art, the utility model provides a lead wire finishing device for an ECG monitor, each lead wire is finished through a wire collecting structure, the lead wires are pulled out by different lengths according to the requirements, and the winding and knotting among the different lead wires are avoided.
In order to achieve the technical effects, the utility model adopts the following scheme:
a lead wire arranging device of an ECG monitor comprises a support frame, a plurality of lead wire arranging structures are arranged on the support frame, the lead wire arranging structure comprises an outer box, a wire collecting device is arranged in the outer box and comprises a central shaft, the central shaft is fixedly arranged on one side wall of the inner wall of the outer box, the other side wall of the inner wall of the outer box is provided with a wire inlet, the wire inlet is coaxial with the central shaft, the central shaft is rotatably provided with a rotating wheel, the lead wire is wound on the rotating wheel, a rotary elastic structure is arranged between the rotating wheel and the central shaft, the upper end of the outer box is provided with a wire outlet, a wire clamping structure is movably arranged at the wire outlet, a first wire guide hole is arranged at one side of the rotating wheel, a second wire guide hole is arranged at one side of the rotating wheel, which is wound by the guide wire, the second wire hole is communicated with the first wire hole, and mounting structures are arranged on two sides of the support frame and used for being mounted on the ECG monitor.
The preferred technical scheme, the card line structure is including being located the intraoral removal piece of being qualified for the next round of competitions, the both sides of removing the piece are equipped with the draw-in groove respectively, the both sides of outlet are equipped with the picture peg corresponding with the draw-in groove, picture peg and draw-in groove phase-match, the picture peg inserts in corresponding draw-in groove, removes the piece and removes in the outlet through the picture peg, the one end fixed connection of second spring and outlet is passed through to the one end of removing the piece, the second spring is on a parallel with the moving direction setting that removes the piece, the upper surface protrusion that removes the piece is equipped with the ejector pad.
According to the preferable technical scheme, a drawer box is arranged on the support frame, a drawer is arranged in the drawer box, an electrode plate is placed in the drawer, a push plate is arranged in the drawer, and the push plate is fixedly connected with the inner wall of one side, away from a drawer opening, of the drawer through a first spring.
According to the preferable technical scheme, a wire groove is formed in the rotating wheel in a surrounding mode, and the second wire hole is located at the bottom of the wire groove.
The preferred technical scheme, elastic structure includes the coil spring, the coil spring cover establish with the center pin on, the one end and the center pin of coil spring are fixed, the other end and the runner of coil spring are fixed.
According to the preferred technical scheme, the elastic structure comprises a torsion spring, the torsion spring is sleeved on the central shaft, one end of the torsion spring is fixed with the central shaft, and the other end of the torsion spring is fixed with the rotating wheel.
According to the preferable technical scheme, the outer boxes are different in color, and the support frame is provided with the lead wire type identification.
According to the preferable technical scheme, the wire inlet is provided with a silica gel pad, and the silica gel pad is arranged around the side wall of the wire inlet.
Compared with the prior art, beneficial effect does:
the utility model has simple structure and convenient use, the plurality of lead wire arranging devices correspond to different lead wires one by one and are respectively arranged, and the lead wires are pulled out from the lead wire arranging devices by different lengths according to requirements when in use, thereby avoiding the lead wires from being completely exposed to be wound and knotted, improving the working efficiency of nurses and simultaneously increasing the aesthetic property.
Drawings
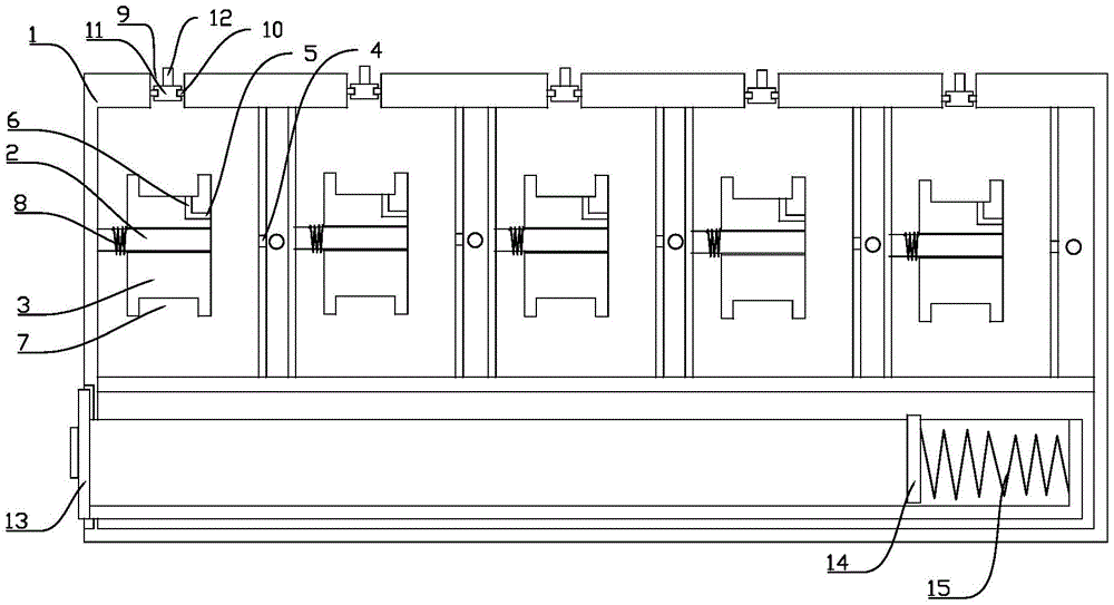
FIG. 1 is a schematic cross-sectional view of the present invention.
Reference numerals: 1. an outer box; 2. a central shaft; 3. a rotating wheel; 4. a wire inlet; 5. a first wire guide hole; 6. a second wire guide; 7. a wire slot; 8. a rotational elastic structure; 9. an outlet; 10. inserting plates; 11. moving the sheet; 12. a push block; 13. a drawer; 14. pushing the plate; 15. a first spring.
Detailed Description
The technical solutions in the embodiments of the present invention will be clearly and completely described below with reference to the drawings in the embodiments of the present invention, and it is obvious that the described embodiments are only a part of the embodiments of the present invention, and not all of the embodiments.
A lead wire arranging device of an ECG monitor comprises a support frame, wherein a plurality of lead wire arranging structures are arranged on the support frame, the plurality of lead wire arranging structures correspond to different lead wires one by one, the lead wires for the ECG monitor are three or five in the common condition, the lead wire arranging structures comprise an outer box 1, the outer box 1 is arranged on the support frame, a wire collecting device is arranged in the outer box 1, the lead wires are collected through a first device, the wire collecting device comprises a central shaft 2, the central shaft 2 is fixedly arranged on one side wall of the inner wall of the outer box 1, the other side wall of the inner wall of the outer box 1 is provided with a wire inlet 4, the wire inlet 4 is coaxial with the central shaft 2, a rotating wheel 3 is rotatably arranged on the central shaft 2, the rotating wheel 3 rotates on the central shaft 2 in a friction mode or the rotating wheel 3 is arranged on the central shaft 2 through a bearing, the lead wires are wound on the rotating wheel 3, a rotary elastic structure 8 is arranged between the rotating wheel 3 and the central shaft 2, when the lead wire is pulled out, the rotating wheel 3 rotates, the elastic structure compresses to store force, when the lead wire is released, the elastic structure resets to drive the rotating wheel 3 to rotate, the pulled lead wire is automatically retracted, the upper end of the outer box 1 is provided with a wire outlet 9, the lead wire is pulled out from the wire outlet 9, the wire outlet 9 is movably provided with a wire clamping structure, after the lead wire is pulled out by a required length, the lead wire is clamped out by the wire clamping structure to be fixed, the lead wire is prevented from retracting, one side of the rotating wheel 3 is provided with a first wire guide hole 5, one side of the rotating wheel 3, which is wound by the lead wire, is provided with a second wire guide hole 6, the second wire guide hole 6 is communicated with the first wire guide hole 5, the lead wire of the ECG monitor extends into the outer box 1 from the wire inlet 4 and sequentially passes through the first wire guide hole 5 and the second wire guide hole 6, then the wire is wound on the rotating wheel 3, one end of the lead wire far away from the ECG monitor stretches out of the outer box 1 from the wire outlet 9 under the natural state, and two sides of the support frame are provided with mounting structures for mounting on the ECG monitor.
Preferred technical scheme, card line structure is including the removal piece 11 that is located outlet 9, the both sides of removing piece 11 are equipped with the draw-in groove respectively, outlet 9's both sides are equipped with the picture peg 10 corresponding with the draw-in groove, picture peg 10 and draw-in groove phase-match, picture peg 10 inserts in corresponding draw-in groove, removes piece 11 and removes in outlet 9 through picture peg 10, the one end fixed connection of second spring and outlet 9 is passed through to the one end of removing piece 11, the second spring is on a parallel with the moving direction setting of removing piece 11, the upper surface protrusion of removing piece 11 is equipped with ejector pad 12, can promote through ejector pad 12 and remove piece 11, after the length that the lead wire pulled out the demand, removes piece 11 and relies on the elasticity promotion of second spring to compress tightly lead the line in outlet 9 department, avoids it to return.
According to the technical scheme, the drawer box is arranged on the support frame, the drawer 13 is arranged in the drawer box, the electrode plates are placed in the drawer 13, the push plate 14 is arranged in the drawer 13, the push plate 14 is fixedly connected with the inner wall of one side of the drawer opening in the drawer 13 through the first spring 15, the electrode plates are arranged in the drawer 13 in order, then the push plate 14 is pressed tightly, the electrode plates are prevented from being scattered in the drawer 13, and the electrode plates are connected with the lead wires and attached to different parts of a patient body.
According to the preferable technical scheme, a wire groove 7 is formed in the rotating wheel 3 around the rotating wheel 3, and the second wire hole 6 is located at the bottom of the wire groove 7.
The preferred technical scheme, elastic structure includes the coil spring, the coil spring cover establish with the center pin 2 on, the one end and the center pin 2 of coil spring are fixed, the other end and the runner 3 of coil spring are fixed.
According to the technical scheme, the elastic structure comprises a torsion spring, the torsion spring is sleeved on the central shaft 2, one end of the torsion spring is fixed to the central shaft 2, and the other end of the torsion spring is fixed to the rotating wheel 3.
According to the preferred technical scheme, the outer boxes 1 are different in color, the support frame is provided with the lead wire type marks, and lead wires in the outer boxes 1 with different colors on the upper surfaces of the lead wire type marks correspond to different parts on the body of a patient.
According to the preferable technical scheme, the wire inlet 4 is provided with the silica gel pad, the silica gel pad is arranged around the side wall of the wire inlet 4, when the rotating wheel 3 rotates, the lead wire at the wire inlet 4 can rotate along with the guide wire, friction can be generated between the lead wire and the wire inlet 4, and the silica gel pad is damaged by small friction.
In the description of the present invention, it is to be understood that the terms "upper", "lower", "top", "bottom", "inner", "outer", and the like, refer to the orientation or positional relationship as shown in the drawings, or as would be conventionally found in use of the products of the present invention, or as would be conventionally understood by one skilled in the art, and are used merely for convenience in describing and simplifying the utility model, and do not indicate or imply that the referenced device or element must have a particular orientation, be constructed in a particular orientation, and be operated, and thus should not be considered as limiting the utility model.
Furthermore, the terms "first", "second" and "first" are used for descriptive purposes only and are not to be construed as indicating or implying relative importance or implicitly indicating the number of technical features indicated. Thus, a feature defined as "first" or "second" may explicitly or implicitly include one or more of that feature. In the description of the present invention, "a plurality" means two or more unless specifically defined otherwise.
All other embodiments, which can be derived by a person skilled in the art from the embodiments given herein without making any creative effort, shall fall within the protection scope of the present invention.

Claims (8)

1. A lead wire arranging device of an ECG monitor is characterized by comprising a support frame, wherein a plurality of lead wire arranging structures are arranged on the support frame, each lead wire arranging structure comprises an outer box, a wire collecting device is arranged in the outer box, the wire collecting device comprises a central shaft, the central shaft is fixedly arranged on one side wall of the inner wall of the outer box, the other side wall of the inner wall of the outer box is provided with a wire inlet, the wire inlet and the central shaft are coaxially arranged, a rotating wheel is rotatably arranged on the central shaft, a lead wire is wound on the rotating wheel, a rotating elastic structure is arranged between the rotating wheel and the central shaft, the upper end of the outer box is provided with a wire outlet, a wire clamping structure is movably arranged at the wire outlet, a first wire guide hole is formed in one side of the rotating wheel, a second wire guide hole is formed in one side of the rotating wheel, which is wound on the lead wire, and is communicated with the first wire guide hole, and mounting structures are arranged on two sides of the support frame and used for being mounted on the ECG monitor.
2. The ECG monitor lead wire arranging device according to claim 1, wherein the wire clamping structure comprises a movable piece located in the wire outlet, two sides of the movable piece are respectively provided with a clamping groove, two sides of the wire outlet are provided with a plug board corresponding to the clamping grooves, the plug board is matched with the clamping grooves, the plug board is inserted into the corresponding clamping grooves, the movable piece moves in the wire outlet through the plug board, one end of the movable piece is fixedly connected with one end of the wire outlet through a second spring, the second spring is parallel to the moving direction of the movable piece, and the upper surface of the movable piece protrudes and is provided with a push block.
3. The ECG monitor lead wire arranging device according to claim 1, wherein a drawer box is arranged on the support frame, a drawer is arranged in the drawer box, the drawer is used for placing electrode plates, a push plate is arranged in the drawer, and the push plate is fixedly connected with the inner wall of the drawer, which is far away from the drawer opening, through a first spring.
4. The ECG monitor lead wire arranging device as claimed in claim 1, wherein a wire slot is formed on the rotating wheel around the rotating wheel, and the second wire hole is located at the bottom of the wire slot.
5. The ECG monitor lead wire organizing device of claim 1, wherein the elastic structure comprises a coil spring, the coil spring is sleeved on the central shaft, one end of the coil spring is fixed with the central shaft, and the other end of the coil spring is fixed with the rotating wheel.
6. The device as claimed in claim 1, wherein the elastic structure comprises a torsion spring, the torsion spring is sleeved on the central shaft, one end of the torsion spring is fixed to the central shaft, and the other end of the torsion spring is fixed to the rotating wheel.
7. The device as claimed in claim 1, wherein the plurality of outer boxes have different colors, and the support frame is provided with a type identifier of the lead wire.
8. The arrangement device for the lead wires of the ECG monitor according to claim 1, wherein the wire inlet is provided with a silica gel pad, and the silica gel pad is arranged around the side wall of the wire inlet.
CN202120768441.1U 2021-04-14 2021-04-14 A device for arranging lead wires of an ECG monitor Expired - Fee Related CN215959914U (en)

Priority Applications (1)

Application Number Priority Date Filing Date Title
CN202120768441.1U CN215959914U (en) 2021-04-14 2021-04-14 A device for arranging lead wires of an ECG monitor

Applications Claiming Priority (1)

Application Number Priority Date Filing Date Title
CN202120768441.1U CN215959914U (en) 2021-04-14 2021-04-14 A device for arranging lead wires of an ECG monitor

Publications (1)

Publication Number Publication Date
CN215959914U true CN215959914U (en) 2022-03-08

Family

ID=80567134

Family Applications (1)

Application Number Title Priority Date Filing Date
CN202120768441.1U Expired - Fee Related CN215959914U (en) 2021-04-14 2021-04-14 A device for arranging lead wires of an ECG monitor

Country Status (1)

Country Link
CN (1) CN215959914U (en)

Similar Documents

Publication Publication Date Title
CN212608791U (en) A new type of ECG monitor wire storage and grooming box
CN215078833U (en) Device for ultrasonic cardiogram examination
CN215959914U (en) A device for arranging lead wires of an ECG monitor
CN110477903B (en) Lead wire group for electrocardiograph easy to arrange
CN220655582U (en) Lead wire beam-gathering device
CN116763320A (en) A device for retracting and releasing lead wires of an electrocardiogram monitor
CN215839100U (en) Wire storage device for ECG monitor
CN211049348U (en) But automatic retraction's electrocardiograph is with line of leading
CN210480486U (en) Winding type electrocardiogram lead arranging device
CN215078674U (en) A retractable electrode wire clip device for electrocardiography
CN215384106U (en) Novel electrocardiogram lead wire fixing device
CN208065171U (en) A kind of electrocardiograph easy to use
CN208610835U (en) A kind of ECG lead wire winding box
CN210408415U (en) Electrocardiogram lead wire storage device
CN209172299U (en) An electrocardiographic monitor wire receiving device
CN215017666U (en) ECG monitor line storage device that leads
CN217659892U (en) An ECG monitoring wire storage device
CN215305957U (en) Improved electrocardiogram chest lead wire
CN223268149U (en) Electrocardiogram circuit storage box
CN214965725U (en) Electrocardiograph wire winding and unwinding equipment
CN217310329U (en) Electrocardiogram lead wire anti-winding device with cleaning function
CN222584511U (en) Electrocardiograph with lead wire combing mechanism
CN211484568U (en) Lead wire fixer for electrocardiograph
CN208610833U (en) An anti-dead knot ECG lead wire
CN221876105U (en) Instrument tube bundle carding device for severe patients

Legal Events

Date Code Title Description
GR01 Patent grant
GR01 Patent grant
CF01 Termination of patent right due to non-payment of annual fee
CF01 Termination of patent right due to non-payment of annual fee

Granted publication date: 20220308