CN215947277U - An environmental protection device for anaerobic treatment of kitchen waste - Google Patents
An environmental protection device for anaerobic treatment of kitchen waste Download PDFInfo
- Publication number
- CN215947277U CN215947277U CN202121645248.5U CN202121645248U CN215947277U CN 215947277 U CN215947277 U CN 215947277U CN 202121645248 U CN202121645248 U CN 202121645248U CN 215947277 U CN215947277 U CN 215947277U
- Authority
- CN
- China
- Prior art keywords
- motor
- transmission shaft
- shell
- support rod
- rod
- Prior art date
- Legal status (The legal status is an assumption and is not a legal conclusion. Google has not performed a legal analysis and makes no representation as to the accuracy of the status listed.)
- Active
Links
- 239000010806 kitchen waste Substances 0.000 title claims abstract description 9
- 230000007613 environmental effect Effects 0.000 title claims abstract description 8
- 230000005540 biological transmission Effects 0.000 claims abstract description 25
- 238000003756 stirring Methods 0.000 claims description 27
- 238000007790 scraping Methods 0.000 claims description 8
- 239000010813 municipal solid waste Substances 0.000 claims description 7
- XLYOFNOQVPJJNP-UHFFFAOYSA-N water Substances O XLYOFNOQVPJJNP-UHFFFAOYSA-N 0.000 claims description 6
- 239000010802 sludge Substances 0.000 claims description 3
- 239000000463 material Substances 0.000 abstract description 24
- 239000012535 impurity Substances 0.000 abstract description 10
- VNWKTOKETHGBQD-UHFFFAOYSA-N methane Chemical compound C VNWKTOKETHGBQD-UHFFFAOYSA-N 0.000 description 4
- 238000000034 method Methods 0.000 description 4
- 230000009471 action Effects 0.000 description 3
- 239000007788 liquid Substances 0.000 description 3
- 238000004519 manufacturing process Methods 0.000 description 3
- 230000001174 ascending effect Effects 0.000 description 2
- 238000004140 cleaning Methods 0.000 description 2
- 230000029087 digestion Effects 0.000 description 2
- 230000003647 oxidation Effects 0.000 description 2
- 238000007254 oxidation reaction Methods 0.000 description 2
- 230000008569 process Effects 0.000 description 2
- 230000004075 alteration Effects 0.000 description 1
- 230000009286 beneficial effect Effects 0.000 description 1
- 230000007547 defect Effects 0.000 description 1
- 230000000694 effects Effects 0.000 description 1
- 238000000855 fermentation Methods 0.000 description 1
- 230000004151 fermentation Effects 0.000 description 1
- 230000004048 modification Effects 0.000 description 1
- 238000012986 modification Methods 0.000 description 1
- 239000002994 raw material Substances 0.000 description 1
- 239000013049 sediment Substances 0.000 description 1
- 239000007787 solid Substances 0.000 description 1
- 238000006467 substitution reaction Methods 0.000 description 1
Images
Landscapes
- Mixers Of The Rotary Stirring Type (AREA)
Abstract
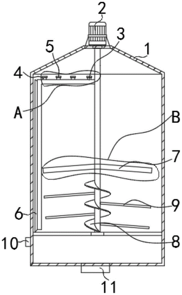
本实用新型涉及环保技术领域,且公开了一种厨余垃圾厌氧处理环保装置,包括壳体与电机,所述壳体的外部顶端设置有电机,所述电机的传输轴贯穿壳体的外部与壳体内腔底端活动套接,所述电机传输轴上固定连接支架杆的一端,所述支架杆的上表面与支撑座的下端固定连接,所述支撑座的上端与挂杆的下表面固定连接,所述支架杆的侧面与刮片的底面固定连接,通过电机传输轴的旋转,带动着支架杆的旋转,同时带动着在支架杆上的支撑座、挂杆与刮片的旋转,在物料进行搅拌时,内壁上面会残留杂质,利用挂杆与刮片对壳体内部的顶部和侧壁进行刮除,使其对壳体内部遗留的物料杂质进行清理,有效地避免了厌氧反应器的顶部因残留的杂质过多被顶毁的损害。
The utility model relates to the technical field of environmental protection, and discloses an environmental protection device for anaerobic treatment of kitchen waste, comprising a casing and a motor, the outer top of the casing is provided with a motor, and the transmission shaft of the motor penetrates the outside of the casing It is movably sleeved with the bottom end of the inner cavity of the housing, one end of the support rod is fixedly connected to the motor transmission shaft, the upper surface of the support rod is fixedly connected with the lower end of the support seat, and the upper end of the support seat is connected with the lower surface of the hanging rod Fixed connection, the side of the support rod is fixedly connected with the bottom surface of the scraper, the rotation of the motor transmission shaft drives the rotation of the support rod, and at the same time drives the rotation of the support seat, the hanging rod and the scraper on the support rod, When the material is stirred, impurities will remain on the inner wall. The top and side walls of the shell are scraped off by the hanging rod and scraper, so that the material impurities left in the shell can be cleaned up, which effectively avoids anaerobic conditions. The top of the reactor was damaged due to excessive residual impurities.
Description
Claims (5)
Priority Applications (1)
| Application Number | Priority Date | Filing Date | Title |
|---|---|---|---|
| CN202121645248.5U CN215947277U (en) | 2021-07-20 | 2021-07-20 | An environmental protection device for anaerobic treatment of kitchen waste |
Applications Claiming Priority (1)
| Application Number | Priority Date | Filing Date | Title |
|---|---|---|---|
| CN202121645248.5U CN215947277U (en) | 2021-07-20 | 2021-07-20 | An environmental protection device for anaerobic treatment of kitchen waste |
Publications (1)
| Publication Number | Publication Date |
|---|---|
| CN215947277U true CN215947277U (en) | 2022-03-04 |
Family
ID=80437409
Family Applications (1)
| Application Number | Title | Priority Date | Filing Date |
|---|---|---|---|
| CN202121645248.5U Active CN215947277U (en) | 2021-07-20 | 2021-07-20 | An environmental protection device for anaerobic treatment of kitchen waste |
Country Status (1)
| Country | Link |
|---|---|
| CN (1) | CN215947277U (en) |
-
2021
- 2021-07-20 CN CN202121645248.5U patent/CN215947277U/en active Active
Similar Documents
| Publication | Publication Date | Title |
|---|---|---|
| CN111604117A (en) | Industry is useless crushing and cleaning equipment admittedly | |
| CN218111379U (en) | Little plastic preprocessing device convenient to clearance soil | |
| CN215139763U (en) | Can avoid glass-lined reactor of adhesion inner wall | |
| CN215446416U (en) | Automatic blowdown system of steam boiler | |
| CN111715168A (en) | Scraping ring type fructose reaction kettle | |
| CN215947277U (en) | An environmental protection device for anaerobic treatment of kitchen waste | |
| CN221894747U (en) | A sewage sedimentation device for sewage sedimentation | |
| CN219596498U (en) | Raw material pretreatment device convenient to clean and used for UV glue production | |
| CN218637382U (en) | Adhesive stirring reaction kettle | |
| CN218154229U (en) | Sludge incinerator | |
| CN205953937U (en) | Gasifier with automatic dust removal device | |
| CN215743417U (en) | A liquid mixing reation kettle for smart production of balm | |
| CN208928069U (en) | A kind of coating apparatus has filtering function paint mixing tank | |
| CN215693497U (en) | Reactor for humic acid type sulfur-based compound fertilizer capable of improving production efficiency | |
| CN218752380U (en) | Solid-state organic fertilizer storage device | |
| CN220919003U (en) | Stirring device for vermicelli production | |
| CN223113012U (en) | Automatic slag discharge device for reactor | |
| CN222178222U (en) | Concrete unloader with prevent stifled mechanism | |
| CN223112917U (en) | Dust device is prevented to likepowder solid material | |
| CN222592363U (en) | A powder silo for a concrete mixing station | |
| CN220497287U (en) | Recovery plant of electrolytic aluminum waste residue | |
| CN222401451U (en) | A primary brine refining reaction tank | |
| CN219292355U (en) | Novel household garbage incineration fly ash washing device | |
| CN221062362U (en) | Raw material stirring device for olive chewable tablets | |
| CN221788943U (en) | Be used for environmental protection moulded coal to handle mixer |
Legal Events
| Date | Code | Title | Description |
|---|---|---|---|
| GR01 | Patent grant | ||
| GR01 | Patent grant | ||
| CP03 | Change of name, title or address | ||
| CP03 | Change of name, title or address |
Address after: 341000 10b-2, AVIC City office building, No. 1, Changzheng Avenue, Zhanggong District, Ganzhou City, Jiangxi Province Patentee after: Jiangxi Shanxi Environmental Protection Energy Group Co.,Ltd. Country or region after: China Address before: 341000 10b-2, AVIC City office building, No. 1, Changzheng Avenue, Zhanggong District, Ganzhou City, Jiangxi Province Patentee before: Jiangxi Shanxing Environment Group Co.,Ltd. Country or region before: China |
|
| PE01 | Entry into force of the registration of the contract for pledge of patent right | ||
| PE01 | Entry into force of the registration of the contract for pledge of patent right |
Denomination of utility model: An environmental protection device for anaerobic treatment of kitchen waste Granted publication date: 20220304 Pledgee: Ganzhou Bank Co.,Ltd. Jinyuan Sub branch Pledgor: Jiangxi Shanxi Environmental Protection Energy Group Co.,Ltd. Registration number: Y2025980005079 |
