CN215940050U - 一种土木建筑专用废物处理装置 - Google Patents
一种土木建筑专用废物处理装置 Download PDFInfo
- Publication number
- CN215940050U CN215940050U CN202121530219.4U CN202121530219U CN215940050U CN 215940050 U CN215940050 U CN 215940050U CN 202121530219 U CN202121530219 U CN 202121530219U CN 215940050 U CN215940050 U CN 215940050U
- Authority
- CN
- China
- Prior art keywords
- fixedly connected
- connecting block
- plate
- shell
- rotating shaft
- Prior art date
- Legal status (The legal status is an assumption and is not a legal conclusion. Google has not performed a legal analysis and makes no representation as to the accuracy of the status listed.)
- Expired - Fee Related
Links
- 239000002699 waste material Substances 0.000 title claims abstract description 54
- 238000010276 construction Methods 0.000 title claims abstract description 30
- 238000001125 extrusion Methods 0.000 claims description 8
- 238000007790 scraping Methods 0.000 claims description 3
- 239000004744 fabric Substances 0.000 abstract description 3
- 230000003014 reinforcing effect Effects 0.000 abstract 3
- 238000000926 separation method Methods 0.000 abstract 1
- 229910000831 Steel Inorganic materials 0.000 description 11
- 239000010959 steel Substances 0.000 description 11
- 239000010813 municipal solid waste Substances 0.000 description 9
- 239000002689 soil Substances 0.000 description 3
- 238000000034 method Methods 0.000 description 2
- 230000008569 process Effects 0.000 description 2
- 238000012545 processing Methods 0.000 description 2
- 230000004075 alteration Effects 0.000 description 1
- 230000008859 change Effects 0.000 description 1
- 230000006835 compression Effects 0.000 description 1
- 238000007906 compression Methods 0.000 description 1
- 230000007547 defect Effects 0.000 description 1
- -1 dregs Substances 0.000 description 1
- 239000003814 drug Substances 0.000 description 1
- 238000004519 manufacturing process Methods 0.000 description 1
- 238000012986 modification Methods 0.000 description 1
- 230000004048 modification Effects 0.000 description 1
- 238000002203 pretreatment Methods 0.000 description 1
- 238000011160 research Methods 0.000 description 1
- 238000005096 rolling process Methods 0.000 description 1
- 238000012216 screening Methods 0.000 description 1
- 239000010802 sludge Substances 0.000 description 1
- 238000006467 substitution reaction Methods 0.000 description 1
- XLYOFNOQVPJJNP-UHFFFAOYSA-N water Substances O XLYOFNOQVPJJNP-UHFFFAOYSA-N 0.000 description 1
Images
Landscapes
- Processing Of Solid Wastes (AREA)
Abstract
本实用新型涉及废物处理技术领域,具体为一种土木建筑专用废物处理装置,包括本体,所述本体的内部活动连接有伸缩杆,所述伸缩杆的输出端活动连接有支撑板,所述支撑板的一侧与本体转动连接,所述本体的一侧固定安装有伺服电机,所述伺服电机的输出端固定连接有连杆。本实用新型的优点在于:通过设置电磁铁,使用时,挤压板将废物预处理后电动推杆收缩,带动支撑板转动后倾斜,预处理后的建筑垃圾从支撑板滑入筛盒,废物中的废钢筋等被电磁铁吸附,伺服电机带动电磁铁转动,废钢筋等被刮板从电磁铁上刮下掉落在本体的一侧,渣土等经过筛网落在本体底部,对废钢筋和渣土进行了分离,使得可以将其回收再利用,节约了资源。
Description
技术领域
本实用新型涉及废物处理技术领域,特别是一种土木建筑专用废物处理装置。
背景技术
现在社会发展迅速,人口也在随之增长,人们需要的住所、生产、医学、军事、科研等,都离不开建筑物,新的建筑物建成,旧的建筑物拆除,在建设修缮或拆除建筑物的同时,也会产生很多的建筑垃圾;建筑垃圾是指建设、施工单位或个人对各类建筑物、构筑物、管网等进行建设、铺设或拆除、修缮过程中所产生的渣土、弃土、弃料、淤泥及其他废弃物;建筑垃圾会对水资源造成污染,也会影响空气质量,随意堆放的建筑垃圾还会造成安全隐患,就需要用到土木建筑专用废物处理装置。
现有的土木建筑专用废物处理装置,一般都是将建筑废物进行粉碎或压缩处理,不能对筛选出建筑垃圾中可以回收利用的垃圾,如渣土、废钢筋等,会造成一定的资源浪费,针对现有装置的缺点,本申请提供一种土木建筑专用垃圾处理装置,可以对大块的建筑垃圾进行预处理,压碎成较小的块状,方便之后进行粉碎处理,并将渣土和废钢筋这两种可回收利用的垃圾从中分离出来。
实用新型内容
本实用新型的目的在于克服现有技术的缺点,提供一种土木建筑专用废物处理装置。
本实用新型的目的通过以下技术方案来实现:一种土木建筑专用废物处理装置,包括本体,所述本体的内部活动连接有伸缩杆,所述伸缩杆的输出端活动连接有支撑板,所述支撑板的一侧与本体转动连接,所述本体的一侧固定安装有伺服电机,所述伺服电机的输出端固定连接有连杆,所述连杆固定连接电气旋转接头,所述电气旋转接头的一侧固定连接有电磁铁,所述本体内部的底部活动连接有筛盒,所述本体的底部固定连接有支撑腿;
所述本体包括外壳、第一连接块、第一转轴、连接孔、液压缸、挤压板、引导板、限位板、插槽、排轮、安装板和刮板,所述外壳内部的一侧固定连接有第一连接块,所述第一连接块的一侧活动连接有第一转轴,所述外壳内部的一侧开设有连接孔;
所述外壳内部的一侧固定安装有液压缸,所述液压缸的输出端固定连接有挤压板,所述外壳内部的一侧固定连接有引导板,所述外壳内部一侧的中部固定连接有限位板;
所述外壳一侧的底部开设有插槽,所述插槽的底部设置有排轮,所述外壳的一侧固定连接有安装板,所述外壳的一侧固定连接有刮板。
优选的,所述伸缩杆包括电动推杆、第二连接块、第一通孔、第三连接块和第二通孔,所述电动推杆的一端固定连接有第二连接块,所述第二连接块的一侧开设有第一通孔,所述电动推杆的输出端固定连接有第三连接块,所述第三连接块的一侧开设有第二通孔。
优选的,所述支撑板包括连接板、第二转轴、第四连接块和第三转轴,所述连接板的一侧固定连接有第二转轴,所述连接板的底部固定连接有第四连接块,所述第四连接块的一侧固定连接有第三转轴。
优选的,所述筛盒包括盒体、把手和筛网,所述盒体的一侧固定连接有把手,所述盒体的底部固定连接有筛网。
优选的,所述第一连接块通过第一转轴和第一通孔与第二连接块转动连接,所述第三连接块通过第二通孔和第三转轴与第四连接块转动连接,所述连接板通过第二转轴和连接孔与外壳转动连接。
优选的,所述盒体插接在插槽的内部,所述盒体搭接在排轮的顶部。
本实用新型具有以下优点:
1、该土木建筑专用废物处理装置,通过设置电磁铁,使用时,挤压板将废物预处理后电动推杆收缩,带动支撑板转动后倾斜,预处理后的废物从支撑板滑入筛盒,废物中的废钢筋等被电磁铁吸附,伺服电机带动电磁铁转动,废钢筋等被刮板从电磁铁上刮下掉落在本体的一侧,渣土等经过筛网落在本体底部,对废钢筋和渣土进行了分离,使得可以将其回收再利用,节约了资源;
2、该土木建筑专用废物处理装置,筛盒是插接在本体底部的,方便取出清理或更换,通过设置排轮,盒体搭接在排轮顶部,使得筛盒与本体之间变滑动摩擦为滚动摩擦,抽拉时更加方便省力。
附图说明
图1为本实用新型的结构示意图;
图2为本实用新型的平面剖视结构示意图;
图3为本实用新型的立体剖视结构示意图;
图4为本实用新型本体的剖视结构示意图;
图5为本实用新型伸缩杆的结构示意图;
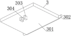
图6为本实用新型支撑板的结构示意图;
图7为本实用新型筛盒的结构示意图。
图中:1-本体,101-外壳,102-第一连接块,103-第一转轴,104-连接孔, 105-液压缸,106-挤压板,107-引导板,108-限位板,109-插槽,110-排轮,111-安装板,112-刮板,2-伸缩杆,201-电动推杆,202-第二连接块,203-第一通孔,204-第三连接块,205-第二通孔,3-支撑板,301-连接板,302-第二转轴,303-第四连接块,304-第三转轴,4-伺服电机,5-连杆,6-电气旋转接头, 7-电磁铁,8-筛盒,801-盒体,802-把手,803-筛网,9-支撑腿。
具体实施方式
下面结合附图对本实用新型做进一步的描述,但本实用新型的保护范围不局限于以下所述。
如图1-3所示,一种土木建筑专用废物处理装置,它包括本体1,本体1 的内部活动连接有伸缩杆2,伸缩杆2的输出端活动连接有支撑板3,支撑板 3的一侧与本体1转动连接,本体1的一侧固定安装有伺服电机4,伺服电机 4的输出端固定连接有连杆5,本体1上开设有孔,连杆5通过孔与本体1转动连接,连杆5固定连接电气旋转接头6,通过设置电气旋转接6,使得电磁铁7在转动时也能保持通电,电气旋转接头6的一侧固定连接有电磁铁7,电气旋转接头6和电磁铁均为现有设备,本申请并未对其结构进行改变,故只表示其外形,本体1内部的底部活动连接有筛盒8,本体1的底部固定连接有支撑腿9,支撑腿9为四个,分别位于本体1底部的四角;
如图4所示,本体1包括外壳101、第一连接块102、第一转轴103、连接孔104、液压缸105、挤压板106、引导板107、限位板108、插槽109、排轮110、安装板111和刮板112,外壳101内部的一侧固定连接有第一连接块 102,第一连接块102的一侧活动连接有第一转轴103,外壳101内部的一侧开设有连接孔104;
外壳101内部的一侧固定安装有液压缸105,液压缸105为现有设备,本申请并未对其结构进行改变,故至表示其外形,液压缸105的输出端固定连接有挤压板106,液压缸105和挤压板106均为两个,沿外壳101的中线对称分布在外壳101的内部,挤压板106与建筑垃圾接触的一面上设置有多个凸块,方便将垃圾压碎成小块,进行预处理,外壳101内部的一侧固定连接有引导板107,外壳101内部一侧的中部固定连接有限位板108;
外壳101一侧的底部开设有插槽109,插槽109的底部设置有排轮110,外壳101的一侧固定连接有安装板111,外壳101的一侧固定连接有刮板112。
作为本实用新型一种优选技术方案,如图5所示,伸缩杆2包括电动推杆201、第二连接块202、第一通孔203、第三连接块204和第二通孔205,电动推杆201的一端固定连接有第二连接块202,电动推杆201为现有设备,本申请并未对其内部构造进行改变,故只表示其外形,第二连接块202的一侧开设有第一通孔203,电动推杆201的输出端固定连接有第三连接块204,第三连接块204的一侧开设有第二通孔205。
作为本实用新型一种优选技术方案,如图6所示,支撑板3包括连接板 301、第二转轴302、第四连接块303和第三转轴304,连接板301的一侧固定连接有第二转轴302,连接板301的底部固定连接有第四连接块303,第四连接块303的一侧固定连接有第三转轴304。
作为本实用新型一种优选技术方案,如图7所示,筛盒8包括盒体801、把手802和筛网803,盒体801的一侧固定连接有把手802,盒体801的底部固定连接有筛网803。
作为本实用新型一种优选技术方案,如图2和图3所示,第一连接块102 通过第一转轴103和第一通孔203与第二连接块202转动连接,第三连接块 204通过第二通孔205和第三转轴304与第四连接块303转动连接,连接板 301通过第二转轴302和连接孔104与外壳101转动连接。
作为本实用新型一种优选技术方案,如图1和图2所示,盒体801插接在插槽109的内部,盒体801搭接在排轮110的顶部。
本实用新型的工作过程如下:使用时,将该装置与市政电路连接,将建筑垃圾从本体1顶部倒入,建筑垃圾经过引导板107落在支撑板3顶部,启动液压缸105,液压缸105多次带动挤压板106对建筑垃圾进行压碎预处理,启动电动推杆201,伸缩杆2收缩,带动支撑板3转动,限位板108对支撑板 3进行限位,预处理后的建筑垃圾顺倾斜的支撑板3落入筛盒8,在垃圾滑落时,启动电磁铁7和伺服电机4,伺服电机4带动电磁铁7转动,建筑垃圾中的废钢筋被电磁铁7吸附,当吸附在电磁铁7上的废钢筋随电磁铁7转动到刮板112处时,刮板112将吸附在电磁铁7上的废钢筋刮下,废钢筋掉落在本体1的一侧,建筑垃圾中的渣土经过筛网803落在本体1的底部,小块的建筑垃圾被阻拦在筛盒8中,完成对建筑垃圾的预处理并将废钢筋和渣土从垃圾中分离出来。
尽管已经示出和描述了本实用新型的实施例,对于本领域的普通技术人员而言,可以理解在不脱离本实用新型的原理和精神的情况下可以对这些实施例进行多种变化、修改、替换和变型,本实用新型的范围由所附权利要求及其等同物限定。
Claims (6)
1.一种土木建筑专用废物处理装置,其特征在于:包括本体(1),所述本体(1)的内部活动连接有伸缩杆(2),所述伸缩杆(2)的输出端活动连接有支撑板(3),所述支撑板(3)的一侧与本体(1)转动连接,所述本体(1)的一侧固定安装有伺服电机(4),所述伺服电机(4)的输出端固定连接有连杆(5),所述连杆(5)固定连接电气旋转接头(6),所述电气旋转接头(6)的一侧固定连接有电磁铁(7),所述本体(1)内部的底部活动连接有筛盒(8),所述本体(1)的底部固定连接有支撑腿(9);
所述本体(1)包括外壳(101)、第一连接块(102)、第一转轴(103)、连接孔(104)、液压缸(105)、挤压板(106)、引导板(107)、限位板(108)、插槽(109)、排轮(110)、安装板(111)和刮板(112),所述外壳(101)内部的一侧固定连接有第一连接块(102),所述第一连接块(102)的一侧活动连接有第一转轴(103),所述外壳(101)内部的一侧开设有连接孔(104);
所述外壳(101)内部的一侧固定安装有液压缸(105),所述液压缸(105)的输出端固定连接有挤压板(106),所述外壳(101)内部的一侧固定连接有引导板(107),所述外壳(101)内部一侧的中部固定连接有限位板(108);
所述外壳(101)一侧的底部开设有插槽(109),所述插槽(109)的底部设置有排轮(110),所述外壳(101)的一侧固定连接有安装板(111),所述外壳(101)的一侧固定连接有刮板(112)。
2.根据权利要求1所述的一种土木建筑专用废物处理装置,其特征在于:所述伸缩杆(2)包括电动推杆(201)、第二连接块(202)、第一通孔(203)、第三连接块(204)和第二通孔(205),所述电动推杆(201)的一端固定连接有第二连接块(202),所述第二连接块(202)的一侧开设有第一通孔(203),所述电动推杆(201)的输出端固定连接有第三连接块(204),所述第三连接块(204)的一侧开设有第二通孔(205)。
3.根据权利要求2所述的一种土木建筑专用废物处理装置,其特征在于:所述支撑板(3)包括连接板(301)、第二转轴(302)、第四连接块(303)和第三转轴(304),所述连接板(301)的一侧固定连接有第二转轴(302),所述连接板(301)的底部固定连接有第四连接块(303),所述第四连接块(303)的一侧固定连接有第三转轴(304)。
4.根据权利要求1所述的一种土木建筑专用废物处理装置,其特征在于:所述筛盒(8)包括盒体(801)、把手(802)和筛网(803),所述盒体(801)的一侧固定连接有把手(802),所述盒体(801)的底部固定连接有筛网(803)。
5.根据权利要求3所述的一种土木建筑专用废物处理装置,其特征在于:所述第一连接块(102)通过第一转轴(103)和第一通孔(203)与第二连接块(202)转动连接,所述第三连接块(204)通过第二通孔(205)和第三转轴(304)与第四连接块(303)转动连接,所述连接板(301)通过第二转轴(302)和连接孔(104)与外壳(101)转动连接。
6.根据权利要求4所述的一种土木建筑专用废物处理装置,其特征在于:所述盒体(801)插接在插槽(109)的内部,所述盒体(801)搭接在排轮(110)的顶部。
Priority Applications (1)
| Application Number | Priority Date | Filing Date | Title |
|---|---|---|---|
| CN202121530219.4U CN215940050U (zh) | 2021-07-06 | 2021-07-06 | 一种土木建筑专用废物处理装置 |
Applications Claiming Priority (1)
| Application Number | Priority Date | Filing Date | Title |
|---|---|---|---|
| CN202121530219.4U CN215940050U (zh) | 2021-07-06 | 2021-07-06 | 一种土木建筑专用废物处理装置 |
Publications (1)
| Publication Number | Publication Date |
|---|---|
| CN215940050U true CN215940050U (zh) | 2022-03-04 |
Family
ID=80436679
Family Applications (1)
| Application Number | Title | Priority Date | Filing Date |
|---|---|---|---|
| CN202121530219.4U Expired - Fee Related CN215940050U (zh) | 2021-07-06 | 2021-07-06 | 一种土木建筑专用废物处理装置 |
Country Status (1)
| Country | Link |
|---|---|
| CN (1) | CN215940050U (zh) |
-
2021
- 2021-07-06 CN CN202121530219.4U patent/CN215940050U/zh not_active Expired - Fee Related
Similar Documents
| Publication | Publication Date | Title |
|---|---|---|
| CN211190350U (zh) | 一种建筑废弃物再生用破碎筛分一体装置 | |
| CN117101832A (zh) | 一种废弃混凝土回收用破碎装置 | |
| CN215940050U (zh) | 一种土木建筑专用废物处理装置 | |
| CN113145270A (zh) | 一种用于建筑垃圾处理的建筑垃圾回收粉碎装置 | |
| CN109894186B (zh) | 一种建筑垃圾回收粉碎处理设备及使用方法 | |
| CN217368555U (zh) | 一种建筑垃圾粉碎处理装置 | |
| CN217068978U (zh) | 一种废料粉碎回收装置 | |
| CN213222314U (zh) | 一种建筑工地用废品预处理装置 | |
| CN114011521A (zh) | 一种用于建筑施工现场垃圾清理辅助装置 | |
| CN214916456U (zh) | 一种绿色节能的建筑垃圾处理装置 | |
| CN220554707U (zh) | 一种房屋建筑工程施工垃圾处理装置 | |
| CN206444667U (zh) | 一种高效建筑垃圾破碎机 | |
| CN117884209A (zh) | 一种建筑垃圾可循环利用的装置 | |
| CN212702179U (zh) | 一种建筑用建筑垃圾粉碎装置 | |
| CN213377141U (zh) | 一种土木工程建筑废料处置装置 | |
| CN212441360U (zh) | 一种用于建筑垃圾的筛选及粉碎的一体化装置 | |
| CN217222301U (zh) | 一种垃圾滚筒筛分机 | |
| CN212441575U (zh) | 一种废弃构筑物的粉碎分选设备 | |
| CN212576382U (zh) | 一种用于垃圾处理装置 | |
| CN216844702U (zh) | 一种环保型市政用垃圾焚烧装置 | |
| CN216125729U (zh) | 一种筛选效果好的建筑垃圾分筛装置 | |
| CN221386633U (zh) | 一种建筑垃圾用粉碎装置 | |
| CN208449563U (zh) | 一种环保材料生产粉碎装置 | |
| CN216173119U (zh) | 一种土木建筑工程施工废料环保处理装置 | |
| CN216236402U (zh) | 一种应用于污水处理厂除臭系统的中水回用装置 |
Legal Events
| Date | Code | Title | Description |
|---|---|---|---|
| GR01 | Patent grant | ||
| GR01 | Patent grant | ||
| CF01 | Termination of patent right due to non-payment of annual fee |
Granted publication date: 20220304 |
|
| CF01 | Termination of patent right due to non-payment of annual fee |